Приказ ФАС РФ от 04.12.2007 N 413

"Об утверждении Административного регламента Федеральной антимонопольной службы по исполнению государственной функции по осуществлению контроля за деятельностью администратора торговой системы оптового рынка электрической энергии (мощности)"
Редакция от 04.12.2007 — Документ утратил силу, см. «Приказ ФАС РФ от 26.06.2012 N 418»

Зарегистрировано в Минюсте РФ 18 января 2008 г. N 10912


ФЕДЕРАЛЬНАЯ АНТИМОНОПОЛЬНАЯ СЛУЖБА

ПРИКАЗ
от 4 декабря 2007 г. N 413

ОБ УТВЕРЖДЕНИИ АДМИНИСТРАТИВНОГО РЕГЛАМЕНТА ФЕДЕРАЛЬНОЙ АНТИМОНОПОЛЬНОЙ СЛУЖБЫ ПО ИСПОЛНЕНИЮ ГОСУДАРСТВЕННОЙ ФУНКЦИИ ПО ОСУЩЕСТВЛЕНИЮ КОНТРОЛЯ ЗА ДЕЯТЕЛЬНОСТЬЮ АДМИНИСТРАТОРА ТОРГОВОЙ СИСТЕМЫ ОПТОВОГО РЫНКА ЭЛЕКТРИЧЕСКОЙ ЭНЕРГИИ (МОЩНОСТИ)

На основании пунктом 7 Порядка разработки и утверждения административных регламентов исполнения государственных функций и административных регламентов предоставления государственных услуг, утвержденного Постановлением Правительства Российской Федерации от 11 ноября 2005 г. N 679 "О порядке разработки и утверждения административных регламентов исполнения государственных функций и административных регламентов предоставления государственных услуг" (Собрание законодательства Российской Федерации, 2005, N 47, ст. 4933), и в соответствии с пунктом 5.3.1.7 Положения о Федеральной антимонопольной службе, утвержденного Постановлением Правительства Российской Федерации от 30 июня 2004 г. N 331 (Собрание законодательства Российской Федерации, 2004, N 31, ст. 3259; 2006, N 45, ст. 4706, N 49 (II ч.), ст. 5223; 2007, N 7, ст. 903) приказываю:

Нормы пункта 7 старой редакции Порядка, утвержденного Постановлением Правительства РФ от 11.11.2005 N 679 утратили силу. Аналогичные нормы содержатся в пункте 9 Порядка в редакции Постановления Правительства РФ от 29.11.2007 N 813

1. Утвердить прилагаемый административный регламент Федеральной антимонопольной службы по исполнению государственной функции по осуществлению контроля за деятельностью администратора торговой системы оптового рынка электрической энергии (мощности).

2. Направить настоящий Приказ на государственную регистрацию в Министерство юстиции Российской Федерации.

3. Контроль исполнения настоящего Приказа оставляю за собой.

Заместитель руководителя
А.Н.ГОЛОМОЛЗИН

Приложение
к Приказу ФАС России
от 04.12.2007 N 413

АДМИНИСТРАТИВНЫЙ РЕГЛАМЕНТ
ФЕДЕРАЛЬНОЙ АНТИМОНОПОЛЬНОЙ СЛУЖБЫ ПО ИСПОЛНЕНИЮ ГОСУДАРСТВЕННОЙ ФУНКЦИИ ПО ОСУЩЕСТВЛЕНИЮ ГОСУДАРСТВЕННОГО КОНТРОЛЯ ЗА ДЕЯТЕЛЬНОСТЬЮ АДМИНИСТРАТОРА ТОРГОВОЙ СИСТЕМЫ ОПТОВОГО РЫНКА ЭЛЕКТРИЧЕСКОЙ ЭНЕРГИИ (МОЩНОСТИ)

I. Общие положения

1.1. Настоящий Административный регламент Федеральной антимонопольной службы по исполнению государственной функции по обеспечению государственного контроля за деятельностью администратора торговой системы оптового рынка электрической энергии (мощности) (далее - Регламент) определяет сроки и последовательность действий (административных процедур) Федеральной антимонопольной службы (далее - ФАС России), порядок взаимодействия между структурными подразделениями ФАС России, а также порядок взаимодействия ФАС России с другими федеральными органами исполнительной власти и иными организациями при осуществлении полномочий по обеспечению государственного контроля за деятельностью администратора торговой системы оптового рынка электрической энергии (мощности).

1.2. Исполнение государственной функции по обеспечению государственного контроля за деятельностью администратора торговой системы оптового рынка электрической энергии (мощности) осуществляется в соответствии с:

1.3. Федеральным законом от 26 марта 2003 г. N 35-ФЗ "Об электроэнергетике" (Собрание законодательства Российской Федерации, 2003, N 13, ст. 1177; 2004, N 35, ст. 3607; 2005, N 1 (часть I), ст. 37; 2006, N 52 (часть I), ст. 5498);

1.4. Федеральным законом от 26 марта 2003 г. N 36-ФЗ "Об особенностях функционирования электроэнергетики в переходный период и о внесении изменений в некоторые законодательные акты Российской Федерации и признании утратившими силу некоторых законодательных актов Российской Федерации в связи с принятием Федерального закона "Об электроэнергетике" (Собрание законодательства Российской Федерации, 2003, N 13, ст. 1178; 2005, N 1 (часть I), ст. 4; 2006, N 17 (часть I), ст. 1783; 2007, N 7, ст. 834);

1.5. Постановлением Правительства Российской Федерации от 24 октября 2003 г. N 643 "О правилах оптового рынка электрической энергии (мощности) переходного периода" (Собрание законодательства Российской Федерации, 2003, N 44, ст. 4312; 2005, N 7, ст. 560; 2005, N 8, ст. 658; 2005, N 17, ст. 1554; 2005, N 43, ст. 4401; 2005, N 46, ст. 4677; 2005, N 47, ст. 4930; 2006, N 36, ст. 3835; 2007, N 1 (часть II), ст. 282; 2007, N 16, ст. 1909);

1.6. Постановлением Правительства Российской Федерации от 27 декабря 2004 г. N 861 "Об утверждении Правил недискриминационного доступа к услугам по передаче электрической энергии и оказания этих услуг, Правил недискриминационного доступа к услугам по оперативно-диспетчерскому управлению в электроэнергетике и оказания этих услуг, Правил недискриминационного доступа к услугам администратора торговой системы оптового рынка и оказания этих услуг и Правил технологического присоединения энергопринимающих устройств (энергетических установок) юридических и физических лиц к электрическим сетям" (Собрание законодательства Российской Федерации, 2004, N 52 (часть II), ст. 5525; 2006, N 37, ст. 3876; 2007, N 14, ст. 1687);

1.7. Постановлением Правительства Российской Федерации от 21 января 2004 г. N 24 "Об утверждении стандартов раскрытия информации субъектами оптового и розничных рынков электрической энергии" (Собрание законодательства Российской Федерации, 2004, N 4, ст. 282; 2005, N 7, ст. 560);

1.8. Постановлением Правительства Российской Федерации от 30 июня 2004 года N 331 "Об утверждении положения о Федеральной антимонопольной службе" (Собрание законодательства Российской Федерации, 2004, N 31, ст. 3259; 2006, N 45, ст. 4706; N 49, ст. 5223; 2007, N 7, ст. 903);

1.9. порядками проведения анализа эффективности функционирования оптового рынка электрической энергии (мощности);

1.10. Приказом Федеральной антимонопольной службы от 29 сентября 2005 г. N 224 "Об утверждении Правил рассмотрения заявлений об оспаривании отказа в предоставлении информации, предусмотренной стандартами раскрытия информации субъектами оптового и розничных рынков электрической энергии (Бюллетень нормативных актов федеральных органов исполнительной власти, 2005, N 50 (зарегистрировано в Минюсте РФ 02.12.2005 N 7226));

1.11. Государственную функцию по обеспечению государственного контроля за деятельностью администратора торговой системы оптового рынка электрической энергии (мощности) исполняет ФАС России.

II. Требования к порядку исполнения ФАС России государственной функции

Порядок информирования об исполнении ФАС России государственной функции

2.1. Сведения о месте нахождения, телефоны для справок, адрес Интернет-сайта ФАС России содержатся в Приложении N 1 к настоящему Регламенту, а также на официальном Интернет-сайте ФАС России (www.fas.gov.ru).

2.2. Сведения о графике приема заявлений и обращений ФАС России содержатся в Приложении N 2 к настоящему Регламенту.

2.3. Информация о процедуре исполнения ФАС России государственной функции размещается:

на официальном Интернет-сайте ФАС России;

в средствах массовой информации;

на информационных стендах ФАС России и в раздаточных информационных материалах (брошюрах, буклетах и т.п.).

2.4. На информационном стенде, размещаемом в помещении (общественной приемной, при входе) ФАС России, должна содержаться следующая информация:

почтовый адрес ФАС России, график (режим) его работы, номера телефонов, по которым можно получить необходимую информацию, адрес официального Интернет-сайта и электронной почты ФАС России;

перечень документов и сведений, представляемых хозяйствующими субъектами в ФАС России, необходимых ФАС России для исполнения государственной функции;

порядок получения консультаций по процедуре исполнения государственной функции.

Порядок получения консультаций (справок) об исполнении ФАС России государственной функции

2.5. Консультации по процедуре исполнения государственной функции предоставляются:

по письменным обращениям;

по телефону;

по электронной почте.

2.6. Письменные обращения рассматриваются ФАС России в срок, не превышающий 30 календарных дней со дня регистрации обращения.

В исключительных случаях, а также в случае необходимости запроса дополнительной информации у государственного органа, органа местного самоуправления или должностного лица антимонопольный орган может продлить срок рассмотрения обращения, но не более чем на 30 дней, о чем уведомляет лицо, обратившееся в ФАС России. Запросить дополнительную информацию необходимо в течение 15 дней с момента получения обращения.

2.7. При консультировании по телефону работники ФАС России предоставляют информацию по следующим вопросам:

- о входящих номерах, под которыми зарегистрированы в системе делопроизводства заявления и прилагающиеся к ним материалы;

- сведения о нормативных правовых актах, на основании которых ФАС России осуществляет государственную функцию;

- требования к заверению документов и сведений;

- о необходимости представления дополнительных документов и сведений;

- о месте размещения на официальном Интернет-сайте ФАС России справочных материалов по вопросам исполнения государственной функции.

Консультирование по иным вопросам осуществляется только на основании письменного обращения.

2.8. При консультировании по электронной почте (при ее наличии) по вопросам, перечень которых установлен пунктом 2.7 настоящего Регламента, ответ направляется на электронный адрес лица, обратившегося за консультацией, в срок, не превышающий 7 рабочих дней с момента поступления обращения.

2.9. Информация о процедуре исполнения государственной функции предоставляется на безвозмездной основе.

Результат исполнения ФАС России государственной функции

2.10. Результатом исполнения государственной функции являются решения, принимаемые ФАС России согласно пунктам 3.7, 3.13, 3.28 Регламента.

III. Административные процедуры

3.1. ФАС России осуществляет контроль за деятельностью администратора торговой системы оптового рынка электрической энергии (мощности) (далее - НП "АТС") путем наложения вето на решение органов управления НП "АТС" при обнаружении в материалах, представляемых в ФАС России к заседанию органов управления НП "АТС", положений, не соответствующих антимонопольному законодательству и (или) нормативно-правовым актам, регулирующим отношения в сфере электроэнергетики, а также возбуждения дел о нарушении антимонопольного законодательства НП "АТС".

Порядок наложения вето на решения органов управления администратора торговой системы оптового рынка электрической энергии (мощности)

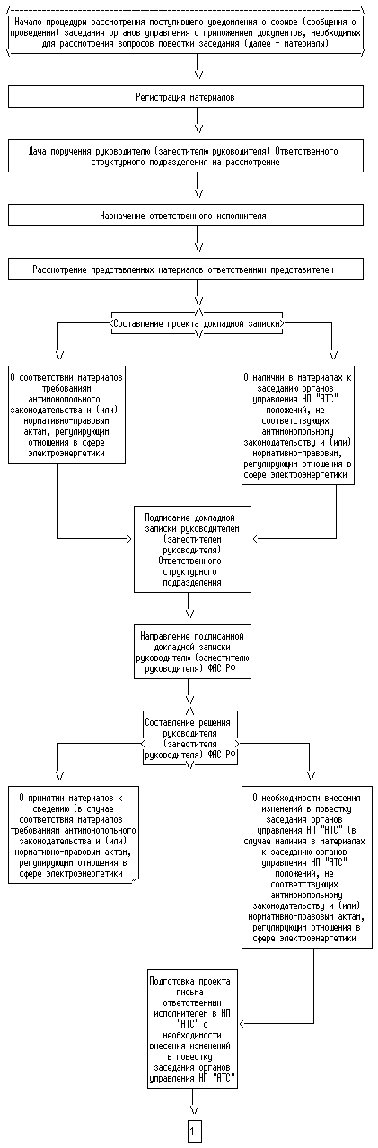
3.2. Не позднее 10 (десяти) календарных дней до даты проведения заседания органов управления НП "АТС" представляет в ФАС России уведомление о созыве (сообщение о проведении) заседания органов управления с приложением документов, необходимых для рассмотрения вопросов повестки заседания (далее - материалы).

3.3. При поступлении в ФАС России материалов к заседанию органов управления НП "АТС" руководитель (заместитель руководителя) ФАС России в течение одного рабочего дня с даты их регистрации дает поручение руководителю Управления по контролю топливно-энергетического комплекса (далее - Ответственного структурного подразделения) провести их рассмотрение.

3.4. Руководитель Ответственного структурного подразделения в течение одного рабочего дня с даты получения им указанного в п. 3.3 поручения назначает исполнителя, ответственного за рассмотрение материалов к заседанию органа управления НП "АТС".

3.5. Исполнитель в течение пяти дней рассматривает поступившие материалы к заседанию органа управления НП "АТС" на предмет соответствия их требованиям антимонопольного законодательства и (или) нормативно-правовым актам, регулирующим отношения в сфере электроэнергетики.

3.6. По итогам рассмотрения материалов исполнитель осуществляет подготовку одного из следующих проектов докладной записки:

а) о соответствии материалов требованиям антимонопольного законодательства и (или) нормативно-правовым актам, регулирующим отношения в сфере электроэнергетики;

б) о наличии в материалах к заседанию органов управления НП "АТС" положений, не соответствующих антимонопольному законодательству и (или) нормативно-правовым актам, регулирующим отношения в сфере электроэнергетики.

Докладная записка подписывается руководителем (заместителем руководителя) Ответственного структурного подразделения.

Докладная записка направляется руководителю (заместителю руководителя) ФАС России не позднее одного рабочего дня до заседания органа управления НП "АТС".

3.7. Руководитель (заместитель руководителя) ФАС России на основании представленной докладной записки в течение одного дня с даты поступления докладной записки принимает следующие решения:

а) о принятии материалов к сведению (в случае соответствия материалов требованиям антимонопольного законодательства и (или) нормативно-правовым актам, регулирующим отношения в сфере электроэнергетики);

б) о необходимости внесения изменений в повестку заседания органов управления НП "АТС" (в случае наличия в материалах к заседанию органов управления НП "АТС" положений, не соответствующих антимонопольному законодательству и (или) нормативно-правовым актам, регулирующим отношения в сфере электроэнергетики).

3.8. Исполнитель в течение одного дня подготавливает проект письма в НП "АТС" о необходимости внесения изменений в повестку заседания органов управления НП "АТС" и направляет руководителю (заместителю руководителя) ФАС России для подписания.

Руководитель (заместитель руководителя) ФАС России в течение одного дня подписывает письмо о необходимости внесения изменений в повестку дня заседания органов управления НП "АТС".

3.9. НП "АТС" направляет в ФАС России протокол заседания органа управления НП "АТС" в течение 15 (пятнадцати) дней с даты проведения заседания органа управления НП "АТС".

3.10. Исполнитель, осуществляющий рассмотрение материалов к заседанию органов управления НП "АТС", рассматривает протокол заседания органа управления НП "АТС" в течение трех дней с даты его поступления в ФАС России.

3.11. В случае принятия на заседании органа управления НП "АТС" решения, не соответствующего антимонопольному законодательству и (или) нормативно-правовым актам, регулирующим отношения в сфере электроэнергетики, исполнитель осуществляет подготовку докладной записки о необходимости применения права вето в отношении данного решения, а также проекта решения о наложении вето на решение органа управления НП "АТС".

Докладная записка о необходимости применения права вето в отношении данного решения, а также проекта решения о наложении вето на решение органа управления НП "АТС" подписывается руководителем (заместителем руководителя) Ответственного структурного подразделения.

3.12. Докладная записка о необходимости применения права вето с проектом решения о наложении вето на решение органа управления НП "АТС" подается руководителю (заместителю руководителя) ФАС России руководителем Ответственного структурного подразделения не позднее семи рабочих дней со дня поступления в ФАС России протокола заседания органа управления НП "АТС", на котором было принято указанное в пункте 3.11 настоящего Регламента решение.

3.13. Руководитель (заместитель руководителя) ФАС России принимает решение о необходимости применения права вето на решение органа управления НП "АТС" и подписывает проект решения, указанного в Приложении N 7 в двухдневный срок со дня его поступления на подпись, после чего решение ФАС России о наложении вето на решение органа управления НП "АТС" направляется в орган управления НП "АТС" немедленно.

3.13.1. Описание последовательности административных действий по исполнению государственной функции приводится в Приложении N 8 к Регламенту.

Возбуждение и рассмотрение дел о нарушении администратором торговой системы оптового рынка электрической энергии (мощности) антимонопольного законодательства

3.14. Основанием для возбуждения и рассмотрения дела о нарушении администратором торговой системы оптового рынка электрической энергии (мощности) антимонопольного законодательства является:

- данные отчета, представляемые НП "АТС", ежемесячно до 10-го числа месяца, следующего за отчетным, в ФАС России (далее - отчет);

- поступающие из государственных органов, органов местного самоуправления материалы, указывающие на наличие признаков нарушения антимонопольного законодательства (далее - материалы);

- поступающие от юридических и физических лиц заявления, указывающие на наличие признаков нарушения антимонопольного законодательства (далее - заявления);

- сообщения средства массовой информации (далее - сообщения СМИ), указывающие на наличие признаков нарушения антимонопольного законодательства;

- обнаружение ФАС России, в том числе в результате проводимых проверок, признаков нарушения антимонопольного законодательства.

3.15. Ежеквартально до 10-го числа месяца, следующего за отчетным, НП "АТС" направляет в ФАС России отчет о своей деятельности (на магнитном носителе в формате Microsoft Word) и на бумажном носителе, подписанный лицом, имеющим право на осуществление деятельности от имени организатора торговли без доверенности, либо лицом, специально уполномоченным на подписание отчета на основании доверенности.

3.16. Отчет должен содержать исчерпывающую информацию о:

1) лицах, подавших документы в НП "АТС" для заключения договора о присоединении к торговой системе оптового рынка;

2) о заключенных договорах о присоединении к торговой системе оптового рынка;

3.17. Одновременно с представлением указанного отчета НП "АТС" представляются сведения о нарушениях участниками оптового рынка электрической энергии (мощности), подлежащих рассмотрению НП "АТС" в пределах его компетенции в соответствии с действующим законодательством, за исключением сведений о случаях манипулирования ценами.

Рассмотрение заявлений, материалов, возбуждение и рассмотрение дела о нарушении антимонопольного законодательства

3.18. ФАС России рассматривает отчеты, заявления и (или) материалы в срок, не превышающий одного месяца со дня их регистрации в ФАС России. ФАС России может продлить срок их рассмотрения, но не более чем на два месяца в целях:

а) сбора дополнительных доказательств;

б) анализа дополнительных доказательств.

О продлении срока рассмотрения заявления ФАС России уведомляет в письменной форме Заявителя.

Возбуждение и рассмотрение дел о нарушении антимонопольного законодательства осуществляется ФАС России в соответствии с нормативными правовыми актами ФАС России, определяющими порядок подготовки и ведения дел о нарушениях антимонопольного законодательства ФАС России, и инструкцией по делопроизводству ФАС России.

Порядок обжалования действий (бездействия) ФАС России (должностных лиц ФАС России)

3.19. Заявители вправе обжаловать действия (бездействие) должностных лиц ФАС России.

3.20. Нарушения настоящего Регламента должностными лицами обжалуются в соответствующий Антимонопольный орган.

3.21. Жалоба на действия (бездействие) должностных лиц ФАС России подается в письменном виде согласно Приложению N 3 к настоящему Регламенту.

В подтверждение своих доводов заявитель может приложить к жалобе документы, обосновывающие его требования.

3.22. Поступившая жалоба рассматривается ФАС России в течение тридцати дней со дня ее регистрации.

3.23. Срок рассмотрения жалобы может быть продлен в случае принятия руководителем ФАС России решения о необходимости проведения проверки по жалобе, запроса дополнительной информации, но не более чем на тридцать дней.

Решение о продлении рассмотрения жалобы сообщается заявителю в письменном виде с указанием причин продления согласно Приложению N 4 к настоящему Регламенту.

3.24. Решение по жалобе на действие (бездействие) должностного лица ФАС России принимает руководитель соответствующего ФАС России.

3.25. В рассмотрении жалобы может быть отказано в случаях:

- рассмотрения данной жалобы судом или арбитражным судом либо наличия вынесенного судом или арбитражным судом решения по ней;

- жалобы заявителя по тому же предмету и основанию, которые ранее уже рассматривались ФАС России и по которым было вынесено решение в установленном порядке.

3.26. Решение об отказе в рассмотрении жалобы принимается в течение десяти дней со дня ее регистрации (образец решения об отказе в рассмотрении жалобы приведен в Приложении N 5 к настоящему Регламенту).

Отказ в рассмотрении жалобы не лишает заявителя права вновь обратиться в ФАС России с жалобой после устранения обстоятельств, послуживших основанием для отказа, в пределах сроков, установленных для подачи жалобы.

3.27. При рассмотрении жалобы руководитель ФАС России принимает во внимание, в том числе:

- документы, представленные заявителем;

- материалы и объяснения, представленные должностным лицом;

- информацию о заявителе, находящуюся в информационных ресурсах ФАС России;

- результаты исследований, проверок.

3.28. По результатам рассмотрения жалобы на действие (бездействие) должностного лица ФАС России руководитель ФАС России принимает одно из следующих решений:

- признает действие (бездействие) должностного лица ФАС России соответствующими настоящему Регламенту и отказывает в удовлетворении жалобы;

- признает действие (бездействие) должностного лица ФАС России несоответствующим настоящему Регламенту полностью или частично и принимает решение об удовлетворении жалобы полностью или частично.

3.29. Решение руководителя ФАС России оформляется в письменном виде согласно Приложению N 6 к настоящему Регламенту.

Копия решения направляется заявителю в течение трех рабочих дней.

3.30. В случае удовлетворения жалобы полностью или частично руководитель ФАС России определяет меры, которые должны быть приняты в целях устранения нарушений.

3.31. Действия по исполнению решения руководителя ФАС России должны быть совершены в течение десяти дней со дня принятия решения по жалобе, если в решении не установлен иной срок для их совершения.

IV. Контроль за совершением действий при исполнении государственной функции и принятии решений

4.1. Формами контроля за соблюдением исполнения административной процедуры являются:

б) проводимые в установленном порядке проверки ведения делопроизводства;

б) проведение в установленном порядке контрольных проверок.

В электронном документе нумерация пунктов соответствует официальному источнику.

Проверки могут быть плановыми (осуществляться на основании полугодовых или годовых планов работы ФАС России) и внеплановыми. При проведении проверки могут рассматриваться все вопросы, связанные с исполнением государственной функции (комплексные проверки), или по конкретному обращению заявителя.

Проверки полноты и качества исполнения государственной функции осуществляются на основании индивидуальных правовых актов (приказов) ФАС России.

В целях осуществления контроля за совершением действий при исполнении государственной функции и принятии решений руководителю ФАС России представляются справки о результатах исполнения государственной функции.

Текущий контроль за соблюдением последовательности действий, определенных административными процедурами по исполнению государственной функции, и принятием решений специалистами осуществляется должностными лицами ФАС России, ответственными за организацию работы по исполнению государственной функции.

Перечень должностных лиц, осуществляющих текущий контроль, устанавливается индивидуальными правовыми актами (приказами) ФАС России.

Периодичность осуществления текущего контроля устанавливается руководителем ФАС России.

Текущий контроль за соблюдением последовательности действий, определенных административной процедурой по исполнению государственной функции, и принятием решений исполнителем и руководителем ответственного структурного подразделения осуществляется заместителем руководителя ФАС России.

Текущий контроль за принятием решений заместителем руководителя ФАС России осуществляется руководителем ФАС России.

По результатам проведенных проверок в случае выявления нарушений прав заявителей виновные лица привлекаются к ответственности в соответствии с законодательством Российской Федерации.

4.2. Руководитель (заместитель руководителя) ФАС России несет персональную ответственность за несвоевременное принятие решения при рассмотрении дела о нарушении антимонопольного законодательства и при осуществлении государственного контроля.

Руководитель (заместитель руководителя) Ответственного структурного подразделения несет персональную ответственность за несвоевременное и (или) ненадлежащее выполнение административных действий, предусмотренных настоящим Регламентом.

Ответственный исполнитель несет персональную ответственность за соблюдение сроков подготовки документов.

Приложение N 1
к Регламенту

ФЕДЕРАЛЬНАЯ АНТИМОНОПОЛЬНАЯ СЛУЖБА

Садовая Кудринская, 11, Москва, Д-242, ГСП-5, 123995

E-mail: delo@fas.gov.ru

Телефон для справок:

(495) 252-76-53 (общественная приемная), факс - (495) 254-83-00

Группа входящей корреспонденции - (495) 252-71-31

Группа исходящей корреспонденции - (495) 252-76-52

Приложение N 2
к Регламенту

ГРАФИК (РЕЖИМ) ПРИЕМА ЗАЯВЛЕНИЙ И ОБРАЩЕНИЙ ФАС РОССИИ

День недели Часы работы
Понедельник - четверг 10.00 - 17.00
Пятница 10.00 - 16.45

Приложение N 3
к Регламенту

образец
 
                              ЖАЛОБА
           на действия (бездействие) должностного лица
                            ФАС России
 
    Исх. от ____________ N ____                   Наименование
                                                  антимонопольного
                                                  органа
 
                              Жалоба
 
    * '     Полное    наименование   юридического   лица,   Ф.И.О.
индивидуального предпринимателя: _________________________________
    *      Местонахождение   юридического   лица   индивидуального
предпринимателя (фактический адрес): _____________________________
    Телефон: _____________________________________________________
    Адрес электронной почты ______________________________________
    Код учета: ИНН _______________________________________________
    * Ф.И.О. руководителя юридического лица ______________________
    * на действия (бездействие):
__________________________________________________________________
           должность, ФИО должностного лица ФАС России
 
    * Существо жалобы: ___________________________________________
                         (краткое изложение обжалуемых действий
                                    (бездействия),
указать
__________________________________________________________________
    основания, по которым лицо, подающее жалобу, не согласно
__________________________________________________________________
  с действием (бездействием), со ссылками на пункты регламента)
__________________________________________________________________
__________________________________________________________________
__________________________________________________________________
 
    Перечень прилагаемой документации
 
                                     М.П. ________________________
                                           (подпись руководителя
                                             юридического лица,
                                              индивидуального
                                              предпринимателя)
 

   Поля, отмеченные звездочкой (*), обязательны для заполнения.
 
 
 

Приложение N 4
к Регламенту

образец
 
                                     Бланк ФАС России
 
                                     Наименование Заявителя: _____
                                     _____________________________
                                     Почтовый адрес Заявителя: ___
                                     _____________________________
                                     _____________________________
 
                            ИЗВЕЩЕНИЕ
              о продлении срока рассмотрения жалобы
 
Настоящим    сообщаю,    что    в    соответствии   с   п.    3.23
административного регламента Федеральной антимонопольной службы по
исполнению  государственной  функции  по осуществлению контроля за
деятельностью   администратора  торговой  системы  оптового  рынка
электрической энергии (мощности) принято решение о продлении срока
рассмотрения   жалобы,   зарегистрированной от ________ N ___,  по
следующей причине(-ам):
__________________________________________________________________
                        (указание причин)
 
    Подпись руководителя ФАС России
 
 
 

Приложение N 5
к Регламенту

образец
 
                                     Бланк ФАС России
 
                                     Наименование заявителя: _____
                                     _____________________________
                                     Почтовый адрес заявителя: ___
                                     _____________________________
                                     _____________________________
 
                              ОТКАЗ
                      в рассмотрении жалобы
 
    В   соответствии   п.   3.26    Административного   регламента
Федеральной  антимонопольной  службы по исполнению государственной
функции  по осуществлению контроля за деятельностью администратора
торговой  системы  оптового рынка электрической энергии (мощности)
ФАС России отказывает в рассмотрении жалобы, зарегистрированной от
_______ N ___ по следующим основаниям ____________________________
 
    Подпись руководителя
    ФАС России             _______________________________________
 
 
 

Приложение N 6
к Регламенту

образец
 
Исх. от ________ N ____
 
                             РЕШЕНИЕ
               по жалобе на действия (бездействие)
                   должностного лица ФАС России
 
    Наименование   органа   или   должность,  фамилия  и  инициалы
должностного лица органа, принявшего решение по жалобе: __________
    Наименование  юридического  лица  или  Ф.И.О.  индивидуального
предпринимателя, обратившегося с жалобой
    Номер   жалобы,    дата   и    место     принятия     решения:
__________________________________________________________________
__________________________________________________________________
__________________________________________________________________
    Изложение жалобы по существу:
__________________________________________________________________
__________________________________________________________________
__________________________________________________________________
__________________________________________________________________
    Изложение возражений, объяснений заявителя:
__________________________________________________________________
__________________________________________________________________
__________________________________________________________________
__________________________________________________________________
__________________________________________________________________
 
                           УСТАНОВЛЕНО:
 
    Фактические   и   иные   обстоятельства   дела,  установленные
должностным лицом, рассматривающим жалобу:
__________________________________________________________________
__________________________________________________________________
__________________________________________________________________
__________________________________________________________________
__________________________________________________________________
__________________________________________________________________
    Доказательства,  на  которых  основаны  выводы  по результатам
рассмотрения жалобы:
__________________________________________________________________
__________________________________________________________________
__________________________________________________________________
__________________________________________________________________
__________________________________________________________________
    Законы    и   иные   нормативные   правовые   акты,   которыми
руководствовалось должностное лицо при принятии решения, и мотивы,
по которым должностное лицо не применило законы и иные нормативные
правовые акты, на которые ссылался заявитель
__________________________________________________________________
__________________________________________________________________
__________________________________________________________________
    На    основании    изложенного,    руководствуясь    п.   3.28
Административного регламента Федеральной антимонопольной службы по
исполнению  государственной  функции  по осуществлению контроля за
деятельностью   администратора  торговой  системы  оптового  рынка
электрической энергии (мощности)
 
    РЕШЕНО:
    1. ___________________________________________________________
          (решение, принятое в отношении обжалованного действия
          (бездействия), признано правомерным или неправомерным
            полностью или частично или отменено полностью или
                                частично)
    2. ___________________________________________________________
         (решение, принятое по существу жалобы, - удовлетворена
               или не удовлетворена полностью или частично)
    3. ___________________________________________________________
         (решение либо меры, которые необходимо принять в целях
        устранения допущенных нарушений, если они не были приняты
                     до вынесения решения по жалобе)
 
    Настоящее   решение   может  быть  обжаловано  в  суд  либо  в
арбитражный суд.
 
    Копия настоящего решения направлена по адресу ________________
__________________________________________________________________
        (должность лица уполномоченного органа, (подпись)
        (инициалы, фамилия), принявшего решение по жалобе)
 
 
 

Приложение N 7
к Регламенту

образец
 
                             РЕШЕНИЕ
       ФАС России о наложении ВЕТО на решение (акт) органа
       управления администратора торговой системы оптового
              рынка электрической энергии (мощности)
 
Исх. от ___________ N ____
 
    Наименование   органа   или   должность,  фамилия  и  инициалы
должностного лица органа, принявшего решение по жалобе: __________
 
    Наименование  решения  (акта) органа управления администратора
торговой  системы  оптового рынка электрической энергии (мощности)
(далее - решение (акт))
__________________________________________________________________
__________________________________________________________________
 
    Изложение сути нарушения:
__________________________________________________________________
__________________________________________________________________
__________________________________________________________________
__________________________________________________________________
 
                           УСТАНОВЛЕНО:
 
    Фактические   и   иные   обстоятельства   дела,  установленные
должностным лицом, рассматривающим решение (акт):
__________________________________________________________________
__________________________________________________________________
__________________________________________________________________
__________________________________________________________________
__________________________________________________________________
__________________________________________________________________
__________________________________________________________________
    Доказательства,  на  которых  основаны  выводы  по результатам
рассмотрения решения (акта):
__________________________________________________________________
__________________________________________________________________
__________________________________________________________________
    Законы    и   иные   нормативные   правовые   акты,   которыми
руководствовалось должностное лицо при принятии решения, и мотивы,
по которым должностное лицо не применило законы и иные нормативные
правовые акты, на которые ссылался заявитель
__________________________________________________________________
__________________________________________________________________
__________________________________________________________________
    На    основании    изложенного,    руководствуясь    п.   3.13
Административного регламента Федеральной антимонопольной службы по
исполнению  государственной  функции  по осуществлению контроля за
деятельностью  администратора  торговой  системы   оптового  рынка
электрической энергии (мощности),
 
                             РЕШЕНО:
 
    1. Наложить ВЕТО на решение (акт) ____________________________
__________________________________________________________________
__________________________________________________________________
    2.  Включить  в  повестку  дня  вопрос, подлежащий включению в
повестку  дня  очередного  или  внеочередного собрания (заседания)
органов  управления администратора торговой системы оптового рынка
электрической энергии (мощности)
__________________________________________________________________
__________________________________________________________________
 
 
 

Приложение N 8
к Регламенту

АДМИНИСТРАТИВНЫЕ ДЕЙСТВИЯ ФАС РОССИИ ПО ИСПОЛНЕНИЮ ГОСУДАРСТВЕННОЙ ФУНКЦИИ ПО ОСУЩЕСТВЛЕНИЮ КОНТРОЛЯ И НАДЗОРА ЗА ДЕЯТЕЛЬНОСТЬЮ АДМИНИСТРАТОРА ТОРГОВОЙ СИСТЕМЫ ОПТОВОГО РЫНКА ЭЛЕКТРИЧЕСКОЙ ЭНЕРГИИ (МОЩНОСТИ)

Принятие решения о наложении вето на решение органов управления НП "АТС" в связи с несоответствием решения органов управления НП "АТС" требованиям антимонопольного законодательства

Наименование административного действия Основания для осуществления административного действия Работник ФАС России (должностное лицо), ответственное за выполнение административного действия Максимальный срок выполнения административного действия Критерии принятия решения Способ фиксации результата Результат действия и порядок передачи результатов
Прием и регистрация уведомления о созыве (сообщения о проведении) заседания органов управления НП "АТС" и прилагаемых к нему документов, необходимых для рассмотрения вопросов повестки дня заседания (далее Материалы) Предоставление органом управления НП "АТС" Материалов в ФАС РФ Работник ФАС России 1 рабочий день Критерием приема Материалов является соблюдение не менее чем 10дневного срока до дня проведения заседания органов управления НП "АТС" Регистрация Материалов Внесение информации о Материалах, входящего номера и даты в соответствующую информационную базу.
Направление Материалов руководителю (заместителю руководителя) ФАС России для дачи поручения руководителю Управления по контролю топливно-энергетического комплекса (далее - Ответственного структурного подразделения) о рассмотрении Материалов
Дача поручения руководителю Ответственного структурного подразделения о рассмотрении Материалов (пункт 3.4 Регламента) Поступление документов руководителю Ответственного структурного подразделения о рассмотрении Материалов для назначения ответственного исполнителя Руководитель Ответственного структурного подразделения назначает одного из работников ответственным исполнителем 1 рабочий день Руководитель Ответственного структурного подразделения принимает решение о назначении ответственного исполнителя Руководитель Ответственного структурного подразделения ставит резолюцию о назначении ответственного исполнителя Ответственный исполнитель получает Материалы
Рассмотрение поступивших Материалов (п. 3.5 Регламента) Поступление Материалов ответственному исполнителю Ответственный исполнитель Руководитель (заместитель руководителя) ФАС России 5 дней Соответствие материалов требованиям антимонопольного законодательства и/или нормативно-правовым актам, регулирующим отношения в сфере электроэнергетики Проект докладной записки:
а) о соответствии Материалов требованиям антимонопольного законодательства и (или) нормативно-правовым актам, регулирующим отношения в сфере электроэнергетики;
б) о наличии в Материалах положений, не соответствующих антимонопольному законодательству и (или) нормативно-правовым актам, регулирующим отношения в сфере электроэнергетики
Направление докладной записки руководителю (заместителю руководителя) Ответственного структурного подразделения для подписания
Подписание докладной записки руководителем (заместителем руководителя) Ответственного структурного подразделения (пункт 3.6 Регламента) Поступление докладной записки руководителю (заместителю) Ответственного структурного подразделения Руководитель (заместитель руководителя) Ответственного структурного подразделения В день поступления Критерием является соблюдение не менее чем 1дневного срока до дня проведения заседания органов управления НП "АТС" Подписанная докладная записка Направление подписанной докладной записки руководителю (заместителю руководителя) ФАС России
Рассмотрение докладной записки руководителем (заместителем руководителя) ФАС России (пункт 3.7 Регламента) Поступление докладной записки руководителю (заместителю руководителя) ФАС России Руководитель (заместитель руководителя) ФАС России 1 день Критерием являются данные, содержащиеся в докладной записке Принятие одного из следующих решений:
а) о принятии Материалов к сведению (в случае соответствия Материалов требованиям антимонопольного законодательства и (или) нормативно-правовым актам, регулирующим отношения в сфере электроэнергетики);
б) о необходимости внесения изменений в повестку заседания органов управления НП "АТС" (в случае наличия в Материалах к заседанию органов управления НП "АТС" положений, не соответствующих антимонопольному законодательству и (или) нормативно-правовым актам, регулирующим отношения в сфере электроэнергетики)
Направление Решения ответственному исполнителю
Подготовка проекта письма о необходимости внесения изменений в повестку заседания органов управления НП "АТС" (пункт 3.8 Регламента) Поступление решения руководителя (заместителя руководителя) ФАС России о необходимости внесения изменений в повестку заседания органов управления НП "АТС" Ответственный исполнитель 1 день Наличие в Материалах к заседанию органов управления НП "АТС" положений, не соответствующих антимонопольному законодательству и (или) нормативно-правовым актам, регулирующим отношения в сфере электроэнергетики Проект письма органам управления НП "АТС" Проект письма органам управления НП "АТС" передается руководителю (заместителю руководителя) ФАС России для подписания
Подписание письма о необходимости внесения изменений в повестку заседания органов управления НП "АТС" (пункт 3.8 Регламента) Поступление проекта письма о необходимости внесения изменений в повестку заседания органов управления НП "АТС" Руководитель (заместитель руководителя) ФАС России 1 день Наличие готового проекта письма о необходимости внесения изменений в повестку заседания органов управления НП "АТС" Руководитель (заместитель руководителя) ФАС России ставит подпись на проекте письма о необходимости внесения изменений в повестку заседания органов управления НП "АТС" Направление подписанного письма органам управления НП "АТС"
Направление в ФАС России протокола заседания органа управления НП "АТС" (пункт 3.9 Регламента) Наличие соответствующим образом оформленного протокола заседания органа управления НП "АТС" Орган управления НП "АТС" Не позднее 15 дней с момента заседания органа управления НП "АТС" Состоявшееся заседание органа управления НП "АТС" Протокол заседания органа управления НП "АТС" Направление протокола ответственному исполнителю, осуществляющему рассмотрение Материалов
Рассмотрение протокола заседания органа управления НП "АТС" (пункты 3.10 - 3.11 Регламента) Поступление соответствующим образом оформленного протокола заседания органа управления НП "АТС" Ответственный исполнитель, осуществляющий рассмотрение Материалов, руководитель (заместитель руководителя) Ответственного структурного подразделения 3 дня Принятие на заседании органа управления НП "АТС" решения, не соответствующего антимонопольному законодательству и (или) нормативно-правовым актам, регулирующим отношения в сфере электроэнергетики Подготовка докладной записки о необходимости применения права вето в отношении данного решения, а также проекта решения о наложении вето на решение органа управления НП "АТС", подписание докладной записки руководителем (заместителем руководителя) Ответственного структурного подразделения Направление докладной записки о необходимости применения права вето в отношении данного решения, а также проекта решения о наложении вето на решение органа управления НП "АТС" руководителю (заместителю руководителя) ФАС России
Подача докладной записки о необходимости применения права вето в отношении решения органа управления НП "АТС", а также проекта решения о наложении вето на данное решение руководителем (заместителем руководителя) Ответственного структурного подразделения (пункт 3.12 Регламента) Подготовка докладной записки о необходимости применения права вето в отношении решения органа управления НП "АТС", а также проекта решения о наложении вето на данное решение руководителем (заместителем руководителя) ответственным исполнителем Ответственный исполнитель Руководитель (заместитель руководителя) Ответственного структурного подразделения Не позднее 7 рабочих дней со дня поступления в ФАС России протокола заседания органа управления НП "АТС" Наличие в протоколе заседания органа управления НП "АТС" сведений, не соответствующих антимонопольному законодательству и (или) нормативно-правовым актам, регулирующим отношения в сфере электроэнергетики Подписанная руководителем (заместителем руководителя) Ответственного структурного подразделения докладная записка о необходимости применения права вето в отношении решения органа управления НП "АТС", а также проекта решения о наложении вето на данное решение Направление руководителю (заместителю руководителя) ФАС России докладной записки о необходимости применения права вето в отношении решения органа управления НП "АТС", а также проекта решения о наложении вето на данное решение
Принятие решения руководителем (заместителем руководителя) ФАС России решения о применения права вето в отношении решения органа управления НП "АТС" (пункт 3.13 Регламента) Поступление докладной записки о необходимости применения права вето в отношении решения органа управления НП "АТС", а также проекта решения о наложении вето на данное решение Руководитель (заместитель руководителя) ФАС России 2 дня Несоответствие решения органа управления НП "АТС" антимонопольному законодательству и (или) нормативно-правовым актам, регулирующим отношения в сфере электроэнергетики Решение о наложении вето на решение органа управления НП "АТС" Информирование органа управления НП "АТС" о наложении вето на его решение

Приложение N 9
к Регламенту

БЛОК-СХЕМЫ
АДМИНИСТРАТИВНЫХ ПРОЦЕДУР ПО ИСПОЛНЕНИЮ ГОСУДАРСТВЕННОЙ ФУНКЦИИ ПО ОСУЩЕСТВЛЕНИЮ КОНТРОЛЯ И НАДЗОРА ЗА ДЕЯТЕЛЬНОСТЬЮ АДМИНИСТРАТОРА ТОРГОВОЙ СИСТЕМЫ ОПТОВОГО РЫНКА ЭЛЕКТРИЧЕСКОЙ ЭНЕРГИИ (МОЩНОСТИ)

1. Условные обозначения

1. Блок-схема по принятию решения ФАС РФ о наложении вето на решение органа управления НП "АТС"

В электронном документе нумерация разделов соответствует официальному источнику

2. Блок-схема рассмотрения сообщения о нарушении НП "АТС" антимонопольного законодательства