Приказ ФНС РФ от 20.12.2010 N ММВ-7-6/741@

"О порядке разработки проектов новых форм налоговых деклараций (расчетов) и иных документов, служащих основанием для исчисления и уплаты налогов и сборов, порядков их заполнения и форматов представления их в электронном виде"
Редакция от 18.03.2014 — Документ утратил силу, см. «Приказ ФНС РФ от 06.07.2017 N ММВ-7-17/535@»
Показать изменения

ФЕДЕРАЛЬНАЯ НАЛОГОВАЯ СЛУЖБА

ПРИКАЗ
от 20 декабря 2010 г. N ММВ-7-6/741@

О ПОРЯДКЕ РАЗРАБОТКИ ПРОЕКТОВ НОВЫХ ФОРМ НАЛОГОВЫХ ДЕКЛАРАЦИЙ (РАСЧЕТОВ) И ИНЫХ ДОКУМЕНТОВ, СЛУЖАЩИХ ОСНОВАНИЕМ ДЛЯ ИСЧИСЛЕНИЯ И УПЛАТЫ НАЛОГОВ И СБОРОВ, ПОРЯДКОВ ИХ ЗАПОЛНЕНИЯ И ФОРМАТОВ ПРЕДСТАВЛЕНИЯ ИХ В ЭЛЕКТРОННОМ ВИДЕ

(в ред. Приказа ФНС РФ от 18.03.2014 N ММВ-7-6/87@)

На основании Федерального закона от 27.07.2010 N 229-ФЗ "О внесении изменений в часть первую и часть вторую Налогового кодекса Российской Федерации и некоторые другие законодательные акты Российской Федерации, а также о признании утратившими силу отдельных законодательных актов (положений законодательных актов) Российской Федерации в связи с урегулированием задолженности по уплате налогов, сборов, пеней и штрафов и некоторых иных вопросов налогового администрирования" и с изменением порядка утверждения форм налоговых деклараций (расчетов), порядков их заполнения и форматов представления их в электронном виде, в соответствии с пунктом 7 статьи 80 Налогового кодекса Российской Федерации приказываю:

1. Утвердить Регламент разработки в ФНС России проектов форм налоговых деклараций (расчетов) и иных документов, служащих основанием для исчисления и уплаты налогов и сборов, порядков их заполнения и форматов представления их в электронном виде (далее - Регламент) согласно приложению N 1 к настоящему приказу.

2. Утвердить Единые требования к формам налоговых деклараций (расчетов) и иных документов, служащих основанием для исчисления и уплаты налогов и сборов и порядков заполнения (далее - Единые требования), согласно приложению N 2 к настоящему приказу.

3. Признать утратившими силу приказ ФНС России от 24.01.2008 N ММ-3-13/20@ "О порядке разработки проектов новых форм налоговых деклараций (расчетов) и иных документов, служащих основанием для исчисления и уплаты налогов и сборов".

4. Контроль за исполнением настоящего приказа возложить на заместителя руководителя Федеральной налоговой службы Н.Е. Мельникова.

Руководитель
Федеральной налоговой службы
М.В.МИШУСТИН

Приложение 1
к приказу ФНС России
от ________ N ________

РЕГЛАМЕНТ
РАЗРАБОТКИ И ВВОДА В ДЕЙСТВИЕ ФОРМ НАЛОГОВЫХ ДЕКЛАРАЦИЙ (РАСЧЕТОВ) И ИНЫХ ДОКУМЕНТОВ, СЛУЖАЩИХ ОСНОВАНИЕМ ДЛЯ ИСЧИСЛЕНИЯ И УПЛАТЫ НАЛОГОВ И СБОРОВ, ПОРЯДКОВ ИХ ЗАПОЛНЕНИЯ И ФОРМАТОВ ПРЕДСТАВЛЕНИЯ ИХ В ЭЛЕКТРОННОМ ВИДЕ

(в ред. Приказа ФНС РФ от 18.03.2014 N ММВ-7-6/87@)

1. Настоящий Регламент устанавливает процедуру разработки (изменения), согласования и направления на согласование в Минфин России проектов приказов по утверждению форм, порядков заполнения и форматов представления в электронном виде налоговых деклараций (расчетов) и иных документов, предусмотренных законодательством Российской Федерации о налогах и сборах и являющихся основанием для исчисления и уплаты налогов и сборов (далее - формы, порядки и форматы).

2. При вводе в действие новых форм (внесении изменений и дополнений в действующие) считать обязательным наличие следующих документов:

- формы налоговой декларации (расчета);

- порядка заполнения налоговой декларации (расчета);

- формата представления налоговой декларации (расчета) в электронном виде;

- документа, содержащего контрольные соотношения, в том числе с информацией, полученной из внешних источников (далее - контрольные соотношения).

3. Сроки разработки и согласования проектов форм, порядков и форматов налоговых деклараций (расчетов) с учетом предполагаемых сроков их согласования Минфином России и вступления в силу должны обеспечивать ввод их в действие с начала очередного календарного года. Исключения допускаются в связи с изменением законодательства о налогах и сборах.

4. Управление налогообложения юридических лиц и Управление налогообложения имущества и доходов физических лиц (далее - подразделение-инициатор) направляет в Управление информационных технологий и ФГУП "ГНИВЦ ФНС России" макеты форм налоговых деклараций в редакторе Microsoft Word или EXCEL с пояснениями (размерность и обязательность показателей, описание обязательности представления отдельных листов формы, возможность повторения отдельных листов или групп листов формы, требования по их заполнению). (в ред. Приказа ФНС РФ от 18.03.2014 N ММВ-7-6/87@)

5. ФГУП "ГНИВЦ ФНС России" в десятидневный срок с дня получения вышеуказанных макетов форм разрабатывает проекты форм, отвечающие утвержденным Единым требованиям, и высылает их подразделению-инициатору и в Управление информационных технологий на согласование. (в ред. Приказа ФНС РФ от 18.03.2014 N ММВ-7-6/87@)

6. Подразделение-инициатор в месячный срок после получения из ФГУП "ГНИВЦ ФНС России" проекта формы разрабатывает порядок ее заполнения. Показатели, выбираемые из справочников и имеющие коды, должны представляться в декларациях только значениями кодов. Состав справочников должен быть представлен в порядке заполнения формы декларации. Актуализация справочников осуществляется установленным порядком. Форма налоговой декларации (расчета) или иного документа, представляемого налогоплательщиком в налоговый орган, должна содержать минимум пояснений и разъяснений. Все необходимые сведения для правильного заполнения формы документа налогоплательщиком должны быть изложены в порядке заполнения формы декларации.

7. Разработанные проекты форм и порядков их заполнения в трехдневный срок направляются в Управление информационных технологий и ФГУП "ГНИВЦ ФНС России" для разработки проектов форматов представления налоговых деклараций в электронном виде. (в ред. Приказа ФНС РФ от 18.03.2014 N ММВ-7-6/87@)

8. ФГУП ГНИВЦ ФНС России в месячный срок со дня получения проектов форм и порядков разрабатывает формат представления в электронном виде налоговых деклараций (расчетов) и направляет на согласование Подразделению-инициатору и Управлению информационных технологий. (в ред. Приказа ФНС РФ от 18.03.2014 N ММВ-7-6/87@)

9. Подразделение-инициатор после рассмотрения форматов разрабатывает проект приказа ФНС России об утверждении форм, порядков и форматов (далее - приказ) и в трехнедельный срок согласовывает его с ФГУП "ГНИВЦ ФНС России" и со структурными подразделениями центрального аппарата ФНС России.

9.1. Рассмотрение предложений по внесению изменений в проект приказа производится в трехнедельный срок, с момента представления предложений.

9.2. Внесение изменений в формат в случае изменения формы (порядка) производится ФГУП ГНИВЦ ФНС России в двухнедельный срок, после получения доработанного проекта формы (порядка).

10. Согласованный проект приказа в трехдневный срок направляется Подразделением-инициатором:

- на согласование в Минфин России;

- в Управление информационных технологий и ФГУП "ГНИВЦ ФНС России" для разработки программного обеспечения по формированию, передаче, приему и вводу налоговых деклараций, а также шаблонов ввода и шаблонов печати указанных документов. Разработка программного обеспечения по формированию, передаче, приему и вводу налоговых деклараций, а также шаблонов ввода и шаблонов печати указанных документов выполняется в месячный срок с даты получения согласованного проекта приказа. (в ред. Приказа ФНС РФ от 18.03.2014 N ММВ-7-6/87@)

10.1. В случае возврата из Минфина России проекта приказа с замечаниями и предложениями для их рассмотрения и согласования повторяется процедура, предусмотренная пунктами 8 - 10 настоящего регламента.

11. Подразделение-инициатор в месячный срок с даты утверждения приказа ФНС России об утверждении формы, порядка и форматов разрабатывает проект контрольных соотношений и направляет их на согласование в Управление информационных технологий, ФГУП "ГНИВЦ ФНС России" и Контрольное управление. (в ред. Приказа ФНС РФ от 18.03.2014 N ММВ-7-6/87@)

12. ФГУП ГНИВЦ ФНС России в месячный срок после исполнения подразделением-инициатором пункта 11 настоящего Регламента осуществляет доработку программного обеспечения по обработке налоговых документов с учетом проектов контрольных соотношений.

13. Начиная со следующего дня после получения ФНС России информации о дате государственной регистрации Минюстом России.

13.1. Подразделение-инициатор:

13.1.1. В двухдневный срок уведомляет Управление информационных технологий и ФГУП "ГНИВЦ ФНС России" о дате и номере государственной регистрации приказа, с приложением утвержденных документов (приказ ФНС России, формы, порядки, форматы); (в ред. Приказа ФНС РФ от 18.03.2014 N ММВ-7-6/87@)

13.1.2. В двухнедельный срок утверждает контрольные соотношения и направляет их в адрес управлений ФНС России по субъектам Российской Федерации, Управления информационных технологий и ФГУП "ГНИВЦ ФНС России" для применения и реализации в программных комплексах. (в ред. Приказа ФНС РФ от 18.03.2014 N ММВ-7-6/87@)

13.2. Управление информационных технологий и ФГУП "ГНИВЦ ФНС России", начиная со следующего дня после исполнения подразделением-инициатором пункта 13.1.1 настоящего Регламента, обеспечивают: (в ред. Приказа ФНС РФ от 18.03.2014 N ММВ-7-6/87@)

13.2.2. В недельный срок - доработку и размещение на сайте ФНС России шаблона печати (бланка) налоговой декларации (расчета), доработку шаблонов ввода и распознавания для ввода вышеуказанных документов в АИС Налог-ЦОД;

13.2.3. В пятидневный срок - актуализацию реестра постраничных кодов форм налоговых деклараций и иных документов, служащих основанием для исчисления и уплаты налогов и сборов;

13.2.4. В пятидневный срок доработку шаблонов ввода налоговых документов в базу данных АИС "Налог" местного уровня;

13.2.5. В двухдневный срок актуализацию Справочника периодов применения форматов представления в электронном виде налоговых деклараций, расчетов и иных документов, служащих основанием для исчисления и уплаты налогов и сборов (СППФД), утвержденного приказом ФНС России от 24.12.2007 N ММ-3-13/693@;

13.2.6. В двухнедельный срок доработку, тестирование и размещение в Фонде алгоритмов и программ ФНС России программных средств, обеспечивающих формирование, прием, передачу и ввод налоговых деклараций (расчетов);

13.2.7. В двухнедельный срок после исполнения подразделением-инициатором пункта 13.1.2 - доработку, тестирование и размещение в ФАП ФНС России программных средств, обеспечивающих камеральную налоговую проверку налоговых деклараций (расчетов);

13.3. Управление информационных технологий начиная со следующего дня после исполнения подразделением-инициатором пункта 13.1.2 настоящего Регламента в трехдневный срок обеспечивает размещение на сайте ФНС России контрольных соотношений к налоговым декларациям (расчетам). (в ред. Приказа ФНС РФ от 18.03.2014 N ММВ-7-6/87@)

14. Данная процедура распространяется и на разработку (изменение) иных форм документов, предусмотренных законодательством Российской Федерации о налогах и сборах и являющихся основанием для исчисления и уплаты налогов и сборов.

Приложение 2
к приказу ФНС России
от ________ 2010 г. N ________

ЕДИНЫЕ ТРЕБОВАНИЯ
ДЛЯ РАЗРАБОТКИ ФОРМ НАЛОГОВЫХ ДЕКЛАРАЦИЙ И ИНЫХ ДОКУМЕНТОВ, СЛУЖАЩИХ ОСНОВАНИЕМ ДЛЯ ИСЧИСЛЕНИЯ И УПЛАТЫ НАЛОГОВ И СБОРОВ И ПОРЯДКОВ ИХ ЗАПОЛНЕНИЯ

(в ред. Приказа ФНС РФ от 18.03.2014 N ММВ-7-6/87@)

1. Общие требования для разработки форм налоговых деклараций (расчетов) <1>

<1> Данные требования распространяются и на иные документы, предусмотренные законодательством Российской Федерации о налогах и сборах и являющимися основанием для исчисления и уплаты сборов.

Формы налоговых деклараций (расчетов) (далее - деклараций) должны быть удобны для восприятия их человеком, а расположение реквизитов должно обеспечивать как удобство их заполнения вручную, так и возможность автоматизированной обработки (сканирования).

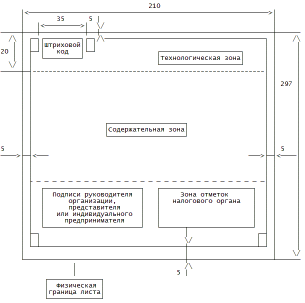
Реквизиты налоговой декларации должны размещаться в трех зонах каждого листа формы: технологической, содержательной и оформляющей. Форма налоговой декларации может содержать несколько листов. При этом первый лист формы декларации является ее титульным листом.

Технологическая зона стандартна для всех листов декларации и располагается в верхней части листа. Она содержит: уникальный код листа в виде линейного штрих кода на основе символики EAN; данные, идентифицирующие налогоплательщика (ИНН и КПП для юридического лица или ИНН для физического лица); номер страницы налогового документа. Кроме того, в технологической зоне должно быть предусмотрено свободное поле для проставления регистрационного номера листа документа.

Состав информации в содержательной части листов декларации определяется конкретной формой налоговой декларации.

Состав информации в содержательной части титульного листа, как правило, стандартен для всех налоговых деклараций и должен содержать следующую информацию: вид налоговой декларации, дату подтверждения достоверности и полноты сведений, указанных в декларации; налоговый период, за который она представлена; основные учетные данные налогоплательщика; раздел для заполнения работником налогового органа и т.п.

Состав информации в содержательной части иных листов налоговой декларации должен содержать:

- разделы с информацией о суммах налога, подлежащих к уплате в бюджет по данным налогоплательщика (с разбивкой по кодам бюджетной классификации и, с учетом специфики исчисления и уплаты конкретного вида налога, по кодам ОКАТО), а также основные показатели, используемые для исчисления налога и формирования статистической отчетности налоговых органов;

- приложения, содержащие дополнительные данные об отдельных показателях, используемых при исчислении налога (при необходимости).

В оформляющей зоне листов формы декларации размещаются:

- для титульного листа:

- личная подпись должностного лица или физического лица, подтверждающего достоверность и полноту представленных в данной декларации сведений, и ее расшифровка; место для печати. Например:

Достоверность и полноту сведений, указанных в настоящей декларации (расчете), подтверждаю:  
                                                       
    1 - налогоплательщик (плательщик сборов), налоговый агент  
    2 - представитель налогоплательщика (плательщика сборов), налогового агента  
                                                       
                                                     
                                                       
                                                     
                                                       
                                                     
                                                       
      (фамилия, имя, отчество полностью)        
                                                       
                                                     
                                                       
                                                     
                                                       
                                                     
                                                       
      (наименование организации - представителя налогоплательщика (плательщика сборов), налогового агента)        
                                                       
    Подпись                     Дата     .     .            
      МП                                
                                                       
      Наименование документа, подтверждающего полномочия представителя        
                                                       
                                                     
                                                       
                                                     
                                                       

- отметки налогового органа;

- для иного листа - дата и личная подпись должностного лица или физического лица, подтверждающая достоверность и полноту представленных на данном листе сведений, например:

Достоверность и полноту сведений, указанных на данной странице, подтверждаю:  
      (подпись)       (дата)  
                 

Расположение реквизитов и зон листов налоговой декларации приведено в Приложении 1.

Формы деклараций (расчетов) должны быть оптимизированы по составу показателей, в число которых не должны включаться:

- дублирующие и промежуточные расчетные показатели, а также не используемые при проведении камеральных проверок или формировании статистической отчетности налоговых органов;

- данные, не подлежащие вводу в базы данных АИС "Налог".

Показатели, выбираемые из справочников и имеющие коды, должны представляться в декларациях только значениями кодов. Состав справочников должен быть представлен в порядке заполнения формы декларации. Актуализация справочников осуществляется установленным порядком.

Форма налоговой декларации (расчета) или иного документа, представляемого налогоплательщиком в налоговый орган, должна содержать минимум пояснений и разъяснений. Все необходимые сведения для правильного заполнения формы документа налогоплательщиком должны быть изложены в порядке заполнения формы декларации.

Печать элементов форм выполняется черным цветом.

В формах не должны использоваться обрамляющие оформительские рамки. Разделительные линии должны использовать только при необходимости.

Листы формы декларации (расчета) должны располагаться на одной стороне листа с ориентацией типа "Книга". Формат листа: A4 (210 мм x 297 мм). Размеры полей: 5 мм.

На каждый лист формы должны быть нанесены реперные маркеры в виде четырех черных квадратов размером 5 мм на 5 мм. Реперные маркеры должны располагаться на листе в специально отведенных местах. Черные квадраты должны иметь следующие координаты левого верхнего угла от верхнего левого угла листа в ориентации "Книга" в миллиметрах (сверху; слева): 5 x 5; 5 x 45; 287 x 5; 287 x 200.

Каждое поле показателя в форме декларации должно иметь достаточный размер для записи его значения. Это поле должно быть разделено на знакоместа (клетки для размещения одного символа). Стандартный размер знакоместа 5 x 6 мм. Знакоместа размещаются в пунктирных рамках без зазора между символами. Для обрамления знакомест показателей используется растровая линия - линия, состоящая из точек толщиной не более 0,25 мм.

Печать значений показателей должна выполняться шрифтом Courier New высотой 16 - 18 пунктов с разрешением в 5 пунктов.

Таблицы в форме не должны содержать разделительных линий. Для каждого показателя таблицы выделяются отдельные поля с выделенными знакоместами.

2. Требования для разработки титульного листа формы декларации (расчета) и порядка его заполнения

Титульный лист должен содержать все необходимые показатели, характеризующие налогоплательщика. В конкретных декларациях состав показателей может использоваться не в полном объеме. При представлении налоговой декларации ссылка на приказ, утверждающий форму налоговой декларации, может не указываться.

При разработке титульного листа необходимо наличие следующих полей:

- Идентификационный номер налогоплательщика (ИНН);

- Код причины постановки на учет (КПП) для организаций;

- Наименование организации, а для индивидуального предпринимателя фамилия, имя и отчество (полностью, без сокращений, в соответствии с документом, удостоверяющим личность);

- Номер корректировки (для исходной - 0) декларации;

- Код, определяющий налоговый (отчетный) период, за который представлена декларация, в соответствии со справочником, приведенным в п. 4.1 настоящих Единых требований;

- Отчетный год, за который подается декларация;

- Код налогового органа, в который представляется декларация;

- Код вида места представления в соответствии со справочником, представленным в п. 4.2 настоящих Единых требований;

- Код формы реорганизации (ликвидации) в соответствии со справочником, представленным в п. 4.4 настоящих Единых требований;

- ИНН/КПП реорганизованной (ликвидированной) организации (обособленного подразделения);

- Код вида экономической деятельности по классификатору ОКВЭД;

- Количество страниц, на которых представлена налоговая декларация;

- Количество листов подтверждающих документов или их копий, приложенных к декларации.

Зона подтверждения достоверности и полноты сведений, указанных в Декларации, должна содержать поля:

а) числовое, принимающее следующие значения:

1 - если документ представлен налогоплательщиком (плательщиком сбора, налоговым агентом);

2 - если документ представлен представителем налогоплательщика (плательщика сбора, налогового агента);

б) фамилия, имя, отчество полностью;

в) наименование организации - представителя налогоплательщика;

г) подпись;

д) дата подписания в числовом формате _ _. _ _. _ _ _ _;

е) место печати (МП);

ж) наименование документа, подтверждающего полномочия представителя.

Раздел "Заполняется работником налогового органа" (зона отметок налогового органа) содержит сведения о представлении налоговой декларации (код способа и вида представления; количество страниц декларации; количество листов подтверждающих документов или их копий, приложенных к декларации; дату представления; номер конверта, в котором получена декларация; фамилию и инициалы имени и отчества работника налогового органа, принявшего декларацию; его подпись). Регистрационный номер декларации проставляется с правой стороны Технологической зоны.

Код способа и вида представления выбирается должностным лицом налогового органа из справочника, представленного в пункте 4.3 настоящих Единых требований.

3. Общие требования для разработки порядка заполнения декларации

Подготовка декларации (расчета) осуществляется только в виде утвержденной машиноориентированной формы, предназначенной для заполнения вручную либо печати на принтере.

Порядок заполнения декларации (расчета) должен содержать сведения о недопущении:

- исправления ошибок с помощью корректирующего или иного аналогичного средства;

- двусторонней печати декларации (расчета) на бумажном носителе;

- скрепления листов декларации (расчета), приводящие к порче бумажного носителя.

Каждому показателю декларации (расчета) в утвержденной машиноориентированной форме соответствует одно поле, состоящее из определенного количества знакомест. В каждом поле указывается только один показатель.

Исключение составляют показатели, значением которых являются дата, правильная или десятичная дроби. Для правильной или десятичной дроби в утвержденной машиноориентированной форме соответствуют два поля, разделенные либо знаком "/" ("косая черта"), либо знаком "." ("точка") соответственно. Первое поле соответствует числителю правильной дроби (целой части десятичной дроби), второе - знаменателю правильной дроби (дробной части десятичной дроби). Для указания даты используются по порядку три поля: день (поле из двух знакомест), месяц (поле из двух знакомест) и год (поле из четырех знакомест), разделенные знаком "точка".

Страницы декларации (расчета) должны иметь сквозную нумерацию, начиная с титульного листа, вне зависимости от наличия (отсутствия) и количества заполняемых разделов, приложений к декларации. Порядковый номер страницы записывается в определенном для нумерации поле слева направо, начиная с первого (левого) знакоместа.

Поля декларации (расчета) предназначены для заполнения значениями текстовых, кодовых показателей слева направо, начиная с первого (левого) знакоместа. При использовании программного обеспечения для заполнения полей декларации (расчета) значения числовых показателей выравниваются по правому (последнему) знакоместу.

Под поле показателя "Код по ОКТМО" (Общероссийскому классификатору территорий муниципальных образований) отводится одиннадцать знакомест. В случае, если код ОКТМО имеет восемь знаков, свободные знакоместа справа от значения кода не подлежат заполнению дополнительными символами (заполняются прочерками). Например, для восьмизначного кода ОКТМО 12445698 в поле "Код по ОКТМО" указывается одиннадцатизначное значение "12445698---". (в ред. Приказа ФНС РФ от 18.03.2014 N ММВ-7-6/87@)

Все стоимостные показатели принимают значения в полных рублях. Значения показателей менее 50 копеек отбрасываются, а 50 копеек и более округляются до полного рубля.

При подготовке декларации (расчета) с использованием программного обеспечения при распечатке на принтере допускается отсутствие обрамления знакомест и прочерков для незаполненных знакомест. Расположение и размеры значений реквизитов не должны изменяться. Печать знаков должна выполняться шрифтом Courier New высотой 16 - 18 пунктов.

Особенности ручного заполнения формы декларации.

При заполнении полей бланка декларации должны использоваться чернила черного, фиолетового или синего цвета.

Заполнение полей декларации (расчета) значениями текстовых, числовых, кодовых показателей осуществляется слева направо, начиная с первого (левого) знакоместа. Заполнение текстовых полей бланка декларации осуществляется заглавными печатными символами.

В случае отсутствия какого-либо показателя, во всех знакоместах соответствующего поля проставляется прочерк. Прочерк представляет собой прямую линию, проведенную посередине знакомест по всей длине поля.

В случае, если для указания какого-либо показателя не требуется заполнения всех знакомест соответствующего поля, в незаполненных знакоместах в правой части поля проставляется прочерк. Например: при указании десятичного идентификационного номера налогоплательщика (далее - ИНН) организации "5024002119" в поле ИНН из двенадцати знакомест показатель заполняется следующим образом: "5024002119-".

Дробные числовые показатели заполняются аналогично правилам заполнения целых числовых показателей. В случае, если знакомест для указания дробной части больше, чем цифр, то в свободных знакоместах соответствующего поля ставится прочерк. Например: если показатель имеет значение "1234356.234", то он записывается в двух полях по десять знакомест каждое следующим образом: "1234356--" в первом поле, знак "." или "/" между полями и "234--" во втором поле.

4. Справочники, используемые при разработке порядка заполнения титульного листа

4.1. Справочник кодов, определяющих налоговый (отчетный) период

(в ред. Приказа ФНС РФ от 18.03.2014 N ММВ-7-6/87@)

Код Налоговый (отчетный) период
Раздел 1. Коды для документов, составляемых за налоговый период - месяц
01 январь
02 февраль
03 март
04 апрель
05 май
06 июнь
07 июль
08 август
09 сентябрь
10 октябрь
11 ноябрь
12 декабрь
Раздел 2. Коды для документов, составляемых за налоговый период - квартал
21 1 квартал
22 2 квартал
23 3 квартал
24 4 квартал
Раздел 3. Код для документов, составляемых только за налоговый период - календарный год
34 год
Раздел 4. Коды для документов, составляемых нарастающим итогом с начала года:
4.1. Коды для документов за отчетные периоды квартал, полугодие, девять месяцев и налоговый период - календарный год
21 1 квартал
31 полугодие
33 девять месяцев
34 год
4.2. Коды для документов с отчетными периодами месяц, два месяца, три месяца и т.д. и налоговый период - календарный год
35 один месяц
36 два месяца
37 три месяца
38 четыре месяца
39 пять месяцев
40 шесть месяцев
41 семь месяцев
42 восемь месяцев
43 девять месяцев
44 десять месяцев
45 одиннадцать месяцев
46 год
Раздел 5. Коды для документов, составляемых по консолидированной группе налогоплательщиков
5.1. Коды для документов, составляемых за отчетные периоды квартал, полугодие, девять месяцев и налоговый период - календарный год
13 1 квартал
14 полугодие
15 девять месяцев
16 год
5.2. Коды для документов, составляемых за отчетные периоды: месяц, два месяца, три месяца и т.д. и налоговый период - календарный год
57 один месяц
58 два месяца
59 три месяца
60 четыре месяца
61 пять месяцев
62 шесть месяцев
63 семь месяцев
64 восемь месяцев
65 девять месяцев
66 десять месяцев
67 одиннадцать месяцев
68 год
Раздел 6. Коды для документов, составляемых ответственным управляющим товарищем по договору инвестиционного товарищества
25 1 квартал
26 2 квартал
27 3 квартал
28 4 квартал
Раздел 7. Коды для документов, составляемых при реорганизации (ликвидации) организаций
7.1. Коды для документов, составляемых нарастающим итогом с начала года:
50 последний налоговый период (если иные коды не предусмотрены порядками заполнения налоговых деклараций)
51 1 квартал
52 полугодие
53 9 месяцев
90 год
7.2. Коды для документов, составляемых за квартал или месяц
51 1 квартал
54 2 квартал
55 3 квартал
56 4 квартал
71 за январь
72 за февраль
73 за март
74 за апрель
75 за май
76 за июнь
77 за июль
78 за август
79 за сентябрь
80 за октябрь
81 за ноябрь
82 за декабрь
Раздел 8. Иные коды
95 последний налоговый период при переходе на иной режим налогообложения
96 последний налоговый период при прекращении предпринимательской деятельности
99 иное

4.2. Справочник кодов вида места представления декларации

Код Наименование
111 По месту жительства физического лица
112 По месту жительства физического лица, не признаваемого индивидуальным предпринимателем
113 По месту жительства физического лица, получавшего доходы от налоговых агентов
114 По месту жительства прочего физического лица
115 По месту постановки физического лица на учет в качестве налогоплательщика
116 По месту постановки индивидуального предпринимателя на учет в качестве налогоплательщика
120 По месту жительства индивидуального предпринимателя
121 По месту жительства частного адвоката
122 По месту жительства частного нотариуса (занимающегося частной практикой)
123 По месту учета индивидуального предпринимателя
124 По месту жительства члена (главы) крестьянского (фермерского) хозяйства
125 По месту жительства адвоката
126 По месту жительства нотариуса
130 По месту ведения деятельности иностранных граждан и лиц без гражданства
131 По месту пребывания иностранных граждан и лиц без гражданства
210 По месту нахождения российской организации
211 По месту постановки российской организации на учет в качестве налогоплательщика
212 По месту учета российской организации
213 По месту учета в качестве крупнейшего налогоплательщика
214 По месту нахождения российской организации, не являющейся крупнейшим налогоплательщиком
215 По месту нахождения правопреемника, не являющегося крупнейшим налогоплательщиком
216 По месту учета правопреемника, являющегося крупнейшим налогоплательщиком
217 По месту учета правопреемника, не являющегося крупнейшим налогоплательщиком
219 По месту учета крупнейшего налогоплательщика - иностранной организации
220 По месту нахождения обособленного подразделения российской организации
221 По месту нахождения обособленного подразделения, имеющего отдельный баланс
222 По месту учета обособленного подразделения
223 По месту нахождения (учета) российской организации при предоставлении декларации по ликвидированному обособленному подразделению
224 По месту нахождения обособленного подразделения реорганизованной организации
231 По месту нахождения налогового агента - организации
232 По месту нахождения налогового агента - отделения иностранной организации
233 По месту нахождения налогового агента - физического лица
241 По месту нахождения имущества иностранной организации, имеющей имущество, относящееся к отделению иностранной организации
242 По месту нахождения имущества иностранной организации, имеющей иное недвижимое имущество
243 По месту нахождения имущества иностранной организации, имеющей иное движимое имущество
244 По месту нахождения имущества иностранной организации, имеющей иное недвижимое и движимое имущество (если отмечено по кодам 242 и 243)
245 По месту осуществления деятельности иностранной организации через постоянное представительство
250 По месту нахождения участка недр, представленного на условиях СРП
260 По месту нахождения транспортного средства
270 По месту нахождения земельного участка
280 По месту нахождения недвижимости
281 По месту нахождения объекта недвижимого имущества
282 По месту учета недвижимого имущества
290 По иному месту нахождения
291 По месту нахождения иного лица
310 По месту осуществления деятельности российской организации
320 По месту осуществления деятельности индивидуального предпринимателя
331 По месту осуществления деятельности иностранной организации через отделение иностранной организации
332 По месту осуществления деятельности иностранной организации через иную организацию
333 По месту осуществления деятельности иностранной организации через физическое лицо
334 По месту осуществления деятельности иностранной организации через физическое лицо
400 По месту постановки на учет налогоплательщика
410 По месту постановки на учет в качестве налогоплательщика - российской организации
420 По месту постановки на учет в качестве налогоплательщика - физического лица
500 По иному месту учета организации в налоговом органе
501 По месту учета - иное
600 По месту установки объекта налогообложения
720 Физическим лицом, зарегистрированным в качестве индивидуального предпринимателя
730 Нотариусом, занимающимся частной практикой
740 Адвокатом, учредившим адвокатский кабинет
750 Иностранным физическим лицом
760 Иным физическим лицом
770 Главой крестьянского (фермерского) хозяйства

4.3. Справочник кодов, определяющих способ и вид представления декларации (расчета)

Код Наименование
01 На бумажном носителе (по почте)
02 На бумажном носителе (лично)
03 На бумажном носителе с дублированием на съемном носителе (лично)
04 По телекоммуникационным каналам связи с ЭЦП
05 Другое
08 На бумажном носителе с дублированием на съемном носителе (по почте)
09 На бумажном носителе с использованием штрих кода (лично)
10 На бумажном носителе с использованием штрих кода (по почте)

4.4. Справочник кодов, определяющих способ формы реорганизации (ликвидации) организации (обособленного подразделения)

Код Наименование
1 Преобразование
2 Слияние
3 Разделение
4 Выделение
5 Присоединение
6 Разделение с одновременным присоединением
7 Выделение с одновременным присоединением
0 Ликвидация

5. Описание структуры уникального кода листа формы налоговой декларации (расчета)

Каждому листу формы налоговой декларации (расчета) присваивается уникальный код. При изменении формы налоговой декларации (расчета) должно производиться изменение версии документа и, следовательно, каждому листу должен быть присвоен новый код.

Структура кода следующая:

НННФФЛЛК, где:

ННН - код формы декларации в соответствии с Приложением 2;

ФФ - номер версии формы декларации (расчета);

ЛЛ - номер листа в форме;

К - контрольная цифра, определяется на основе ниже описанного алгоритма.

Для удобства автоматизированной обработки код листа форм налоговых деклараций (расчетов) должен отображаться в отведенном месте в верхнем левом углу декларации в виде линейного штрих кода на основе символики EAN.

Алгоритм расчета контрольной цифры проиллюстрирован на примере кода 9990101.

Складываются цифры, стоящие на четных позициях, затем на нечетных позициях:

Далее складывается результат сложения цифр на четных позициях, помноженный на три, и результат сложения цифр на нечетных позициях:

(20 x 3) + 9 = 69

Контрольное число представляет собой разницу между окончательной суммой (69) и ближайшим к ней наибольшим числом, кратным десяти (в данном случае - 70):

70 - 69 = 1.

Полученная разница и соответствует контрольной цифре 1. Полный код будет выглядеть следующим образом - 99901011.

Таблица 1. Алгоритм вычисления контрольной цифры

Номер позиции 8 7 6 5 4 3 2 1
Значение 9 9 9 0 1 0 1 1
Четные 9 + 9 + 1 + 1 =20
Нечетные   9 + 0 + 0   =9

Приложение 1

Расположение реквизитов и зон титульного листа налоговой декларации

Расположение реквизитов и зон листа (кроме титульного) налоговой декларации

Приложение 2

КОДЫ ФОРМ НАЛОГОВЫХ ДЕКЛАРАЦИЙ (РАСЧЕТОВ) И ИНЫХ ДОКУМЕНТОВ

Код Наименование формы КНД
002 Налоговая декларация по налогу на прибыль организаций 1151006
003 Налоговая декларация по налогу на добавленную стоимость 1151001
505 Налоговая декларация по акцизам на табачные изделия 1151074
506 Налоговая декларация по акцизам на подакцизные товары, за исключением табачных изделий 1151084
006 Налоговая декларация по налогу на имущество организаций (налоговый расчет по авансовому платежу) 1152001
008 Налоговая декларация по единому социальному налогу для налогоплательщиков, производящих выплаты физическим лицам 1151046
009 Расчет авансовых платежей по единому социальному налогу для налогоплательщиков, производящих выплаты физическим лицам 1151050
010 Налоговая декларации по налогу на добычу полезных ископаемых 1151054
011 Расчет авансовых платежей по страховым взносам на обязательное пенсионное страхование для лиц, производящих выплаты физическим лицам 1151058
012 Справка о суммах единого социального налога, начисленных и уплаченных за истекший налоговый период коллегией адвокатов (ее учреждением) за адвоката 1151061
014 Налоговая декларации по налогу на прибыль иностранных организаций 1151038
016 Налоговый расчет (информация) о суммах выплаченных иностранным организациям доходов и удержанных налогов 1151056
017 Расчет регулярных платежей за пользование недрами 1151026
018 Налоговая декларация по единому сельскохозяйственному налогу 1151059
019 Налоговая декларации о доходах, полученных российской организацией от источников за пределами Российской Федерации 1151024
021 Налоговая декларация по налогу на игорный бизнес 1152011
023 Бухгалтерский баланс (форма 1) 0710001
024 Отчет о прибылях и убытках (форма 2) 0710002
025 Отчет об изменениях капитала (форма 3) 0710003
026 Бухгалтерский отчет о движении денежных средств (форма 4) 0710004
027 Приложение к бухгалтерскому балансу (форма 5) 0710005
028 Отчет о целевом использовании полученных средств (форма 6) 0710006
029 Налоговая декларация по единому налогу на вмененный доход для отдельных видов деятельности 1152016
030 Налоговая декларация по единому налогу, уплачиваемому в связи с применением упрощенной системы налогообложения 1152017
031 Налоговая декларация по единому социальному налогу для индивидуальных предпринимателей, глав крестьянских (фермерских) хозяйств, адвокатов 1151063
032 Налоговая декларации (Заявление) о предполагаемом доходе, подлежащем обложению единым социальным налогом, для индивидуальных предпринимателей (включая применяющих упрощенную систему налогообложения), глав крестьянских (фермерских) хозяйств 1151073
033 Налоговая декларация по налогу на доходы физических лиц (форма 3-НДФЛ) 1151020
034 Налоговая декларация по налогу на доходы физических лиц (форма 4-НДФЛ) 1151021
035 Декларация по страховым взносам на обязательное пенсионное страхование для лиц, производящих выплаты физическим лицам 1151065
038 Оборотная ведомость по счетам бухгалтерского учета кредитной организации (форма 0409101) 0409101
039 Отчет о прибылях и убытках кредитной организации (форма 0409102) 0409102
040 Бухгалтерский баланс страховой организации (форма N 1-страховщик) 0711001
041 Отчет о прибылях и убытках страховой организации (форма N 2-страховщик) 0711002
042 Отчет о прибылях и убытках страховой медицинской организации по обязательному медицинскому страхованию (Форма N 2а-страховщик) 0711102
043 Отчет об изменениях капитала страховой организации (Форма N 3-страховщик) 0711003
044 Отчет о движении денежных средств страховой организации (Форма N 4-страховщик) 0711004
045 Отчет о движении денежных средств страховой медицинской организации по обязательному медицинскому страхованию (Форма N 4а-страховщик) 0711104
046 Приложение к бухгалтерскому балансу страховой организации (Форма N 5-страховщик) 0711005
054 Налоговая декларация по транспортному налогу 1152004
069 Сведения о полученных лицензиях (разрешениях) на пользование объектами водных биологических ресурсов, суммах сбора за пользование объектами водных биологических ресурсов, подлежащих уплате в виде разового и регулярных взносов 1110011
070 Налоговая декларация по косвенным налогам (налогу на добавленную стоимость и акцизам) при ввозе товаров на территорию Российской Федерации с территории Республики Беларусь 1151075
071 Заявка на федеральные специальные марки для маркировки алкогольной продукции организацией - производителем алкогольной продукции 1111033
072 Сведения о полученных лицензиях (разрешениях) на пользование объектами животного мира, суммах сбора за пользование объектами животного мира, подлежащих уплате, и суммах фактически уплаченного сбора 1110012
073 Налоговая декларация по водному налогу 1151072
074 Налоговый расчет по авансовым платежам по земельному налогу 1153003
075 Налоговая декларация по земельному налогу 1153005
076 Данные об исчисленных суммах единого социального налога с доходов адвокатов 1151081
077 Налоговый расчет по авансовым платежам по транспортному налогу 1152027
078 Налоговая декларация по налогу на прибыль организаций при выполнении соглашений о разделе продукции 1151082
079 Отчета о прибылях и убытках 0409192
080 Оборотная ведомость по счетам кредитной организации 0409191
081 Ведомость оборотов по отражению событий после отчетной даты 0409199
082 Сведения о среднесписочной численности работников за предшествующий календарный год 1110018
083 Единая (упрощенная) налоговая декларация 1151085
084 Налоговая декларация по налогу на имущество организаций 1152026
085 Налоговый расчет по авансовому платежу по налогу на имущество организаций 1152028
088 Бухгалтерский баланс кредитной организации (публикуемая форма) 0409806
089 Отчет о прибылях и убытках кредитной организации (публикуемая форма) 0409807
090 Отчет о движении денежных средств кредитной организации (публикуемая форма) 0409814
092 Заявление на получение патента на право применения упрощенной системы налогообложения на основе патента (форма N 26.2.П-1) 1150010
 
 
В связи с утратой силы Приказа ФНС РФ от 31.08.2005 N САЭ-3-22/417, следует руководствоваться принятым взамен Приказом ФНС РФ от 27.12.2012 N ММВ-7-3/1014@
 
 
093 Рекомендуемая форма N 26.2-3 "Уведомление об отказе от применения упрощенной системы налогообложения" 1150002
094 Рекомендуемая форма N 26.2-2 "Сообщение об утрате права на применение упрощенной системы налогообложения" 1150003
101 Рекомендуемая форма N 26.1-1 "Заявление о переходе на систему налогообложения для сельскохозяйственных товаропроизводителей" 1150007
102 Рекомендуемая форма N 26.1-2 "Сообщение об утрате права на применение системы налогообложения для сельскохозяйственных товаропроизводителей" 1150015
103 Рекомендуемая форма N 26.1-3 "Уведомление об отказе от применения системы налогообложения для сельскохозяйственных товаропроизводителей" 1150008
104 Сведения о количестве объектов водных биологических ресурсов, подлежащих изъятию из среды их обитания в качестве разрешенного прилова на основании разрешения на добычу (вылов) водных биологических ресурсов, суммах, подлежащих уплате в виде единовременного взноса 1110022
106 Рекомендуемая форма N 26.2-6 "Уведомление об изменении объекта налогообложения" 1150016
107 Налоговая декларация по косвенным налогам (налогу на добавленную стоимость и акцизам) при импорте товаров на территорию Российской Федерации с территории государств - членов таможенного союза 1151088
399 Справка о доходах физического лица (форма 2-НДФЛ) 1151078