Решение Коллегии Евразийской экономической комиссии от 24.12.2025 N 140

"О внесении изменений в Решение Коллегии Евразийской экономической комиссии от 25 октября 2016 г. N 122"
Редакция от 24.12.2025 — Действует с 25.01.2026

КОЛЛЕГИЯ ЕВРАЗИЙСКОЙ ЭКОНОМИЧЕСКОЙ КОМИССИИ

РЕШЕНИЕ

от 24 декабря 2025 г. N 140

О ВНЕСЕНИИ ИЗМЕНЕНИЙ В РЕШЕНИЕ КОЛЛЕГИИ ЕВРАЗИЙСКОЙ ЭКОНОМИЧЕСКОЙ КОМИССИИ ОТ 25 ОКТЯБРЯ 2016 Г. N 122

В соответствии с пунктом 30 Протокола об информационно­коммуникационных технологиях и информационном взаимодействии в рамках Евразийского экономического союза (приложение N 3 к Договору о Евразийском экономическом союзе от 29 мая 2014 года) Коллегия Евразийской экономической комиссии решила:

1. Внести в Решение Коллегии Евразийской экономической комиссии от 25 октября 2016 г. N 122 "О технологических документах, регламентирующих информационное взаимодействие при реализации средствами интегрированной информационной системы Евразийского экономического союза общего процесса "Формирование, ведение и использование единого реестра зарегистрированных лекарственных средств Евразийского экономического союза" изменения согласно приложению.

2. Настоящее Решение вступает в силу по истечении 30 календарных дней с даты его официального опубликования.

Председатель Коллегии
Евразийской экономической комиссии
Б. САГИНТАЕВ

ПРИЛОЖЕНИЕ

к Решению Коллегии

Евразийской экономической комиссии

от 24 декабря 2025 г. N 140

ИЗМЕНЕНИЯ, ВНОСИМЫЕ В РЕШЕНИЕ КОЛЛЕГИИ ЕВРАЗИЙСКОЙ ЭКОНОМИЧЕСКОЙ КОМИССИИ ОТ 25 ОКТЯБРЯ 2016 Г. N 122

1. Правила информационного взаимодействия при реализации средствами интегрированной информационной системы Евразийского экономического союза общего процесса "Формирование, ведение и использование единого реестра зарегистрированных лекарственных средств Евразийского экономического союза", утвержденные указанным Решением, изложить в следующей редакции:

"Утверждены

Решением Коллегии

Евразийской экономической комиссии

от 25 октября 2016 г. N 122

(в редакции Решения Коллегии

Евразийской экономической комиссии

от 24 декабря 2025 г. N 140)

ПРАВИЛА ИНФОРМАЦИОННОГО ВЗАИМОДЕЙСТВИЯ ПРИ РЕАЛИЗАЦИИ СРЕДСТВАМИ ИНТЕГРИРОВАННОЙ ИНФОРМАЦИОННОЙ СИСТЕМЫ ЕВРАЗИЙСКОГО ЭКОНОМИЧЕСКОГО СОЮЗА ОБЩЕГО ПРОЦЕССА "ФОРМИРОВАНИЕ, ВЕДЕНИЕ И ИСПОЛЬЗОВАНИЕ ЕДИНОГО РЕЕСТРА ЗАРЕГИСТРИРОВАННЫХ ЛЕКАРСТВЕННЫХ СРЕДСТВ ЕВРАЗИЙСКОГО ЭКОНОМИЧЕСКОГО СОЮЗА"

I. Общие положения

1. Настоящие Правила разработаны в соответствии со следующими международными договорами и актами, составляющими право Евразийского экономического союза (далее - Союз):

Договор о Евразийском экономическом союзе от 29 мая 2014 года;

Соглашение о единых принципах и правилах обращения лекарственных средств в рамках Евразийского экономического союза от 23 декабря 2014 года;

Решение Совета Евразийской экономической комиссии от 3 ноября 2016 г. N 78 "О Правилах регистрации и экспертизы лекарственных средств для медицинского применения" (далее - Правила регистрации);

Решение Совета Евразийской экономической комиссии от 3 ноября 2016 г. N 84 "О порядках формирования и ведения единого реестра зарегистрированных лекарственных средств Евразийского экономического союза и информационных баз данных в сфере обращения лекарственных средств" (далее - Порядок ведения единого реестра);

Решение Коллегии Евразийской экономической комиссии от 6 ноября 2014 г. N 200 "О технологических документах, регламентирующих информационное взаимодействие при реализации средствами интегрированной информационной системы внешней и взаимной торговли общих процессов";

Решение Коллегии Евразийской экономической комиссии от 27 января 2015 г. N 5 "Об утверждении Правил электронного обмена данными в интегрированной информационной системе внешней и взаимной торговли";

Решение Коллегии Евразийской экономической комиссии от 14 апреля 2015 г. N 29 "О перечне общих процессов в рамках Евразийского экономического союза и внесении изменения в Решение Коллегии Евразийской экономической комиссии от 19 августа 2014 г. N 132";

Решение Коллегии Евразийской экономической комиссии от 9 июня 2015 г. N 63 "О Методике анализа, оптимизации, гармонизации и описания общих процессов в рамках Евразийского экономического союза";

Решение Коллегии Евразийской экономической комиссии от 28 сентября 2015 г. N 125 "Об утверждении Положения об обмене электронными документами при трансграничном взаимодействии органов государственной власти государств - членов Евразийского экономического союза между собой и с Евразийской экономической комиссией";

Решение Коллегии Евразийской экономической комиссии от 30 июня 2017 г. N 79 "О Требованиях к электронному виду заявлений и документов регистрационного досье, представляемых при осуществлении регистрации и экспертизы лекарственных препаратов для медицинского применения".

II. Область применения

2. Настоящие Правила разработаны в целях определения порядка и условий информационного взаимодействия между участниками общего процесса "Формирование, ведение и использование единого реестра зарегистрированных лекарственных средств Евразийского экономического союза" (далее - общий процесс), включая описание процедур, выполняемых в рамках этого общего процесса.

3. Настоящие Правила применяются участниками общего процесса при контроле за порядком выполнения процедур и операций в рамках общего процесса, а также при проектировании, разработке и доработке компонентов информационных систем, обеспечивающих реализацию общего процесса.

III. Основные понятия

4. Для целей настоящих Правил используются понятия, которые означают следующее:

"авторизация" - предоставление определенному участнику общего процесса прав на выполнение определенных действий;

"единая информационная база данных лекарственных препаратов Союза, находящихся в процессе регистрации" (далее - единая база данных) - информационный ресурс, содержащий сведения о лекарственных средствах, находящихся в процессе регистрации в соответствии с Правилами регистрации;

"регистрационное дело" - совокупность документов, сформированных уполномоченными органами государств - членов Союза либо по их запросу в процессе осуществления процедур, связанных с регистрацией и экспертизой лекарственного препарата;

"сведения о регистрации лекарственного препарата" - совокупность сведений о номере и статусе обработки заявления на проведение процедур, связанных с регистрацией и экспертизой лекарственного препарата, о составе документов регистрационного дела и регистрационного досье лекарственного препарата, а также о выданном регистрационном удостоверении лекарственного препарата.

Понятия "группа процедур общего процесса", "информационный объект общего процесса", "исполнитель", "операция общего процесса", "процедура общего процесса" и "участник общего процесса", используемые в настоящих Правилах, применяются в значениях, определенных Методикой анализа, оптимизации, гармонизации и описания общих процессов в рамках Евразийского экономического союза, утвержденной Решением Коллегии Евразийской экономической комиссии от 9 июня 2015 г. N 63.

Понятия "государство признания", "единый реестр зарегистрированных лекарственных средств Союза", "регистрационное досье", "регистрационное удостоверение лекарственного препарата" и "референтное государство", используемые в настоящих Правилах, применяются в значениях, определенных информационным справочником понятий (терминов), применяемых в рамках Союза в сфере обращения лекарственных средств, утверждаемым Евразийской экономической комиссией.

IV. Основные сведения об общем процессе

5. Полное наименование общего процесса: "Формирование, ведение и использование единого реестра зарегистрированных лекарственных средств Евразийского экономического союза".

6. Кодовое обозначение общего процесса: P.MM.01, версия 1.3.0.

1. Цель и задачи общего процесса

7. Целью общего процесса является создание предпосылок для снижения издержек, связанных с обменом информацией о разрешенных к применению (зарегистрированных) лекарственных препаратах.

8. Для достижения цели общего процесса необходимо решить следующие задачи:

а) создать в рамках интегрированной информационной системы Евразийского экономического союза (далее - интегрированная система) информационный ресурс, единый реестр зарегистрированных лекарственных средств Союза (далее - единый реестр), содержащий сведения о выданных регистрационных удостоверениях зарегистрированных лекарственных препаратов (далее - регистрационное удостоверение);

б) обеспечить возможность получения уполномоченными органами государств - членов Союза (далее - уполномоченный орган государства-члена) актуальной, полной и достоверной информации, находящейся в едином реестре средствами интегрированной системы;

в) обеспечить возможность получения заинтересованными лицами и сотрудниками Евразийской экономической комиссии (далее - Комиссия) актуальной, полной и достоверной информации, содержащейся в едином реестре, средствами информационного портала Союза;

г) обеспечить использование уполномоченными органами государств-членов единой системы нормативно-справочной информации Союза (далее - ЕС НСИ).

2. Участники общего процесса

9. Перечень участников общего процесса приведен в таблице 1.

Таблица 1

Перечень участников общего процесса

Кодовое обозначениеНаименованиеОписание
123
P.ACT.001Комиссияорган Союза, обеспечивающий доступ к сведениям единого реестра и единой базы данных на информационном портале Союза;
получает сведения от уполномоченных органов государств-членов и обновляет единый реестр и единую базу данных;
представляет по запросам заинтересованных органов государств-членов сведения единого реестра и единой базы данных через интегрированную систему;
получает от уполномоченных органов государств-членов сведения (документы) из регистрационного дела или регистрационного досье по запросу в рамках процедур урегулирования разногласий при регистрации лекарственного препарата
P.MM.01.ACT.001уполномоченный орган государства-членауполномоченный на осуществление регистрации лекарственных препаратов орган государственной власти государства-члена или уполномоченная им экспертная организация, который представляет в Комиссию сведения о зарегистрированных лекарственных препаратах, сведения о лекарственных препаратах, находящихся в процессе регистрации для размещения в единой базе данных и сведения о заявлениях на проведение процедур, связанных с регистрацией и экспертизой лекарственных препаратов, представляет по запросу заинтересованных органов и Комиссии сведения регистрационных досье и регистрационных дел лекарственных средств
P.MM.01.ACT.002уполномоченный орган референтного государствауполномоченный орган государства-члена, который осуществляет рассмотрение поданного заявления, экспертизу регистрационного дела или регистрационного досье, подготовку и представление сведений экспертного отчета об оценке безопасности, эффективности и качества для согласования, направление уведомления об изменении сведений о регистрации лекарственного препарата в уполномоченный орган государства признания, представление сведений заявления на проведение процедур регистрации лекарственного препарата в уполномоченный орган государства признания
P.MM.01.ACT.003уполномоченный орган государства признанияуполномоченный орган государства-члена, который осуществляет рассмотрение заявления на проведение процедур, связанных с регистрацией и экспертизой лекарственного препарата, получает уведомление об изменении сведений о регистрации лекарственного препарата, формирует и направляет в уполномоченный орган референтного государства уведомление о возможности рассмотрения заявления на проведение процедур, связанных с регистрацией и экспертизой лекарственного препарата, проводит экспертизу лекарственного препарата с использованием материалов регистрационного дела и (или) регистрационного досье, осуществляет рассмотрение экспертного отчета об оценке безопасности, эффективности и качества, представляет решение о признании (непризнании) экспертного отчета или замечания в отношении экспертного отчета об оценке безопасности, эффективности и качества
P.MM.01.ACT.004уполномоченный орган, отменивший регистрационное удостоверениеуполномоченный орган государства-члена, принявший решение об отмене регистрации лекарственного препарата на территории государства-члена
P.MM.01.ACT.005уполномоченный орган, уведомляемый об отмене регистрационного удостоверенияуполномоченный орган государства-члена, который получает уведомление об отмене регистрации лекарственного препарата уполномоченным органом другого государства-члена
P.MM.01.ACT.006заинтересованное лицоюридическое или физическое лицо, которое запрашивает сведения из единого реестра на информационном портале Союза.
В качестве заинтересованного лица могут выступать как субъекты обращения лекарственных средств, так и заинтересованные органы государственной власти
P.MM.01.ACT.007заинтересованный орган государства-членагосударственный орган (организация) государства-члена (в том числе уполномоченный орган государства-члена), запрашивающий и получающий сведения из единого реестра и (или) единой базы данных, а также сведения и документы, содержащиеся у уполномоченного органа государства-члена в регистрационном деле или регистрационном досье

3. Структура общего процесса

10. Общий процесс представляет собой совокупность процедур, сгруппированных по своему назначению:

а) процедуры формирования и ведения единого реестра;

б) процедуры направления сведений о регистрации лекарственного препарата и рассмотрения сведений о заявлении на проведение процедур регистрации лекарственного препарата;

в) процедуры получения сведений из единого реестра;

г) процедуры взаимодействия с Комиссией при рассмотрении заявления;

д) процедуры получения сведений и документов из регистрационного дела или регистрационного досье;

е) процедуры уведомления об отмене регистрационного удостоверения;

ж) процедуры ведения переписки в отношении регистрационного дела или регистрационного досье;

з) процедуры формирования и ведения единой базы данных.

11. При выполнении процедур общего процесса осуществляется:

формирование единого реестра на основании представляемых уполномоченными органами государств-членов в Комиссию сведений о зарегистрированных лекарственных препаратах;

предоставление доступа заинтересованным органам государств-членов к сведениям единого реестра, а также к сведениям о лекарственных препаратах, находящимся на этапе регистрации;

представление сведений о заявлениях на проведение процедур, связанных с регистрацией и экспертизой лекарственного препарата, предусмотренных Правилами регистрации (далее - сведения о заявлениях);

формирование единой базы данных на основании представляемых уполномоченными органами государств-членов в Комиссию сведений о заявлениях;

обмен сведениями о регистрирующихся лекарственных препаратах между уполномоченными органами государств-членов средствами интегрированной системы;

представление доступа к сведениям единого реестра на информационном портале Союза для заинтересованных лиц.

При выполнении уполномоченными органами государств-членов процедур регистрации, подтверждения регистрации (перерегистрации), внесения изменений в регистрационное досье или процедур, связанных с регистрацией лекарственного препарата, установленных Правилами регистрации (далее - процедуры регистрации), осуществляется формирование единого реестра за счет выполнения ими следующих процедур общего процесса, включенных в группу процедур формирования и ведения единого реестра:

включение сведений в единый реестр;

изменение сведений, содержащихся в едином реестре;

направление сведений о подлежащем размещению в едином реестре документе.

При рассмотрении уполномоченными органами государств-членов заявлений на проведение процедур регистрации лекарственного препарата, а также при изменении состава документов регистрационного дела или регистрационного досье на лекарственный препарат выполняются следующие процедуры общего процесса, включенные в группу процедур направления сведений о регистрации лекарственного препарата и рассмотрения сведений о заявлении на проведение процедур регистрации лекарственного препарата:

направление сведений о заявлении на проведение процедур регистрации лекарственного препарата;

уведомление о возможности рассмотрения заявления на проведение процедур регистрации лекарственного препарата;

уведомление об изменении сведений о регистрации лекарственного препарата.

При представлении сведений единого реестра заинтересованным органам государств-членов выполняются следующие процедуры общего процесса, включенные в группу процедур получения сведений из единого реестра:

получение информации о дате и времени обновления единого реестра;

получение актуальных сведений из единого реестра;

получение измененных сведений из единого реестра;

получение сведений о регистрации лекарственного препарата из единого реестра;

получение сведений о размещенном в едином реестре документе.

При возникновении необходимости получения Комиссией сведений и документов, содержащихся в регистрационном деле или регистрационном досье, при урегулировании разногласий на экспертном комитете по лекарственным средствам при Комиссии (далее - экспертный комитет), а также при необходимости получения и направления иных сведений выполняются следующие процедуры общего процесса, включенные в группу процедур взаимодействия с Комиссией при рассмотрении заявления:

получение порядкового номера регистрационного удостоверения;

получение Комиссией сведений из регистрационного дела или регистрационного досье;

направление заключения о невозможности признания экспертного отчета;

получение Комиссией документа из регистрационного дела или регистрационного досье;

направление сведений о рассмотрении заявления.

Уникальный регистрационный номер заявления присваивается средствами интегрированной системы и возвращается уполномоченному органу референтного государства в рамках выполнения процедуры "Направление сведений о рассмотрении заявления" (P.MM.01.PRC.023). Уникальный регистрационный номер заявления присваивается средствами интегрированной системы и возвращается уполномоченному органу государства признания в рамках выполнения процедуры "Направление сведений о рассмотрении заявления" (P.MM.01.PRC.023) только при внесении изменений в регистрационное досье зарегистрированного лекарственного препарата без привлечения уполномоченного органа референтного государства в случаях, предусмотренных Правилами регистрации (пункт 2.1.5 Приложения N 19 Правил регистрации в редакции Решения Совета Комиссии от 29 мая 2024 г. N 43).

При возникновении необходимости получения заинтересованным органом государства-члена сведений и документов, содержащихся в регистрационном деле или регистрационном досье, выполняются следующие процедуры общего процесса, включенные в группу процедур получения сведений и документов из регистрационного дела или регистрационного досье:

получение сведений из регистрационного дела или регистрационного досье;

получение документа из регистрационного дела или регистрационного досье.

При принятии решения об отмене регистрационного удостоверения в случаях, предусмотренных Правилами регистрации, выполняется процедура общего процесса "Направление уведомления об отмене регистрационного удостоверения" (P.MM.01.PRC.013), включенная в группу процедур уведомления об отмене регистрационного удостоверения.

В рамках рассмотрения уполномоченными органами государств признания экспертного отчета об оценке безопасности, эффективности и качества (далее - экспертный отчет), оформленного уполномоченным органом референтного государства по результатам экспертизы лекарственного препарата, в том числе, при принятии решения о признании (непризнании) экспертного отчета, а также при необходимости направления вопросов и (или) замечаний в отношении документов регистрационного дела или регистрационного досье выполняются следующие процедуры общего процесса, включенные в группу процедур ведения переписки в отношении регистрационного дела или регистрационного досье:

направление экспертного отчета;

направление замечаний в отношении документов регистрационного дела или регистрационного досье;

направление решения о признании (непризнании) экспертного отчета.

Представляемые уполномоченными органами государств-членов в электронном виде документы регистрационного досье или регистрационного дела в формате *.pdf должны содержать текстовый слой.

Уникальным идентификатором документа является UUID (universally unique identifier), рассчитанный в соответствии с ISO/IEC 9834-8 по версии 5 (name-based version + SHA-1 hash), где в качестве идентификатора пространства имен (name space identifier) использован "nil UUID" (00000000-0000-0000-0000-000000000000), а в качестве имени (name) использована контрольная сумма, определенная по файлу документа алгоритмом SHA-1.

Передаваемые о регистрационном досье сведения должны содержать информацию по всем документам всех версий (последовательностях) электронного регистрационного досье, в том числе должны содержать xml-документы, полученные от заявителя.

Сведения, передаваемые о документе регистрационного досье, должны содержать известные отправителю реквизиты "Последовательность представления досье" и "Атрибут операции". При передаче сведений о документе регистрационного дела реквизит "Последовательность представления досье" указывается в соответствии с известной отправителю версией досье, по которой составлен этот документ регистрационного дела, а реквизит "Атрибут операции" не заполняется.

При формировании единой базы данных и представлении по запросу сведений из единой базы данных, выполняются следующие процедуры, входящие в группу процедур формирования и ведения единой базы данных:

включение сведений в единую базу данных;

изменение сведений, содержащихся в единой базе данных;

исключение сведений из единой базы данных;

получение информации о дате и времени обновления единой базы данных;

получение актуальных сведений из единой базы данных;

получение измененных сведений из единой базы данных.

12. Приведенное описание структуры общего процесса представлено на рисунке 1.

Рис. 1. Структура общего процесса

13. Порядок выполнения процедур общего процесса, сгруппированных по своему назначению, включая детализированное описание операций, приведен в разделе VIII настоящих Правил.

14. Для каждой группы процедур приводится общая схема, демонстрирующая связи между процедурами общего процесса и порядок их выполнения. Общая схема процедур построена с использованием графической нотации UML (унифицированный язык моделирования - Unified Modeling Language) и снабжена текстовым описанием.

4. Группа процедур "Процедуры формирования и ведения единого реестра" (P.MM.01.PGR.001)

15. Выполнение процедур формирования и ведения единого реестра осуществляется при направлении уполномоченным органом государства-члена сведений для включения в единый реестр или их актуализации в едином реестре.

При выполнении процедур формирования и ведения единого реестра уполномоченный орган государства-члена формирует и представляет в Комиссию сведения в соответствии с Порядком ведения единого реестра.

Представление сведений осуществляется в соответствии с Регламентом информационного взаимодействия между уполномоченными органами государств-членов и Евразийской экономической комиссией при реализации средствами интегрированной информационной системы Евразийского экономического союза общего процесса "Формирование, ведение и использование единого реестра зарегистрированных лекарственных средств Евразийского экономического союза", утвержденным Решением Коллегии Евразийской экономической комиссии от 25 октября 2016 г. N 122 (далее - Регламент информационного взаимодействия между уполномоченными органами государств-членов и Комиссией). Формат и структура представляемых сведений должны соответствовать Описанию форматов и структур электронных документов и сведений, используемых для реализации средствами интегрированной информационной системы Евразийского экономического союза общего процесса "Формирование, ведение и использование единого реестра зарегистрированных лекарственных средств Евразийского экономического союза", утвержденному Решением Коллегии Евразийской экономической комиссии от 25 октября 2016 г. N 122 (далее - Описание форматов и структур электронных документов и сведений).

При принятии решения о регистрации нового лекарственного препарата уполномоченными органами государств-членов выполняется процедура "Включение сведений в единый реестр" (P.MM.01.PRC.001).

При изменении сведений о зарегистрированном лекарственном препарате выполняется процедура "Изменение сведений, содержащихся в едином реестре" (P.MM.01.PRC.002).

При необходимости передачи в единый реестр сведений о документе, подлежащем размещению в едином реестре, в том числе после выполнения процедур "Включение сведений в единый реестр" (P.MM.01.PRC.001) и "Изменение сведений, содержащихся в едином реестре" (P.MM.01.PRC.002), а также в случае внесения изменений в один из размещенных в едином реестре документов выполняется процедура "Направление сведений о подлежащем размещению в едином реестре документе" (P.MM.01.PRC.019).

16. Приведенное описание группы процедур "Процедуры формирования и ведения единого реестра" (P.MM.01.PGR.001) представлено на рисунке 2.

Рис. 2. Общая схема группы процедур "Процедуры формирования и ведения единого реестра" (P.MM.01.PGR.001)

17. Перечень процедур общего процесса, входящих в группу процедур "Процедуры формирования и ведения единого реестра" (P.MM.01.PGR.001), приведен в таблице 2.

Таблица 2

Перечень процедур общего процесса, входящих в группу процедур "Процедуры формирования и ведения единого реестра" (P.MM.01.PGR.001)

Кодовое обозначениеНаименованиеОписание
123
P.MM.01.PRC.001включение сведений в единый реестрпроцедура предназначена для формирования и представления уполномоченным органом государства-члена в Комиссию сведений о новом зарегистрированном лекарственном препарате
P.MM.01.PRC.002изменение сведений, содержащихся в едином реестрепроцедура предназначена для формирования и представления уполномоченным органом государства-члена в Комиссию измененных сведений о зарегистрированном лекарственном препарате для актуализации единого реестра
P.MM.01.PRC.019направление сведений о подлежащем размещению в едином реестре документепроцедура предназначена для формирования и представления уполномоченным органом государства-члена в Комиссию сведений о подлежащем размещению в едином реестре документе

5. Группа процедур "Процедуры направления сведений о регистрации лекарственного препарата и рассмотрения сведений о заявлении на проведение процедур регистрации лекарственного препарата" (P.MM.01.PGR.002)

18. Процедуры направления сведений о регистрации лекарственного препарата и рассмотрения сведений о заявлении на проведение процедур регистрации лекарственного препарата выполняются при осуществлении процедур регистрации лекарственного препарата в государствах признания.

Представление сведений осуществляется в соответствии с Регламентом информационного взаимодействия между уполномоченными органами государств-членов при реализации средствами интегрированной информационной системы Евразийского экономического союза общего процесса "Формирование, ведение и использование единого реестра зарегистрированных лекарственных средств Евразийского экономического союза", утвержденным Решением Коллегии Евразийской экономической комиссии от 25 октября 2016 г. N 122 (далее - Регламент информационного взаимодействия между уполномоченными органами государств-членов).

При получении уполномоченным органом референтного государства заявления на проведение процедур регистрации лекарственного препарата, в том числе в государствах признания, выполняется процедура "Направление сведений о заявлении на проведение процедур регистрации лекарственного препарата" (P.MM.01.PRC.004).

В случае рассмотрения или невозможности рассмотрения уполномоченным органом государства признания заявления на проведение процедур регистрации лекарственного препарата по результатам проверки полноты и (или) корректности представленных документов, а также в случае выявления нарушений, связанных с оплатой сбора (пошлины), выполняется процедура "Уведомление о возможности рассмотрения заявления на проведение процедур регистрации лекарственного препарата" (P.MM.01.PRC.005).

При непредставлении заявителем запрошенных документов в установленный срок при выполнении процедур регистрации, иных случаях, предусмотренных Правилами регистрации, для уведомления об этом уполномоченного органа государства признания уполномоченным органом референтного государства, а также при изменении состава документов регистрационного досье или регистрационного дела выполняется процедура "Уведомление об изменении сведений о регистрации лекарственного препарата" (P.MM.01.PRC.006).

19. Приведенное описание группы процедур "Процедуры направления сведений о регистрации лекарственного препарата и рассмотрения сведений о заявлении на проведение процедур регистрации лекарственного препарата" (P.MM.01.PGR.002) представлено на рисунке 3.

Рис. 3. Общая схема группы процедур "Процедуры направления сведений о регистрации лекарственного препарата и рассмотрения сведений о заявлении на проведение процедур регистрации лекарственного препарата" (P.MM.01.PGR.002)

20. Перечень процедур общего процесса, входящих в группу процедур "Процедуры направления сведений о регистрации лекарственного препарата и рассмотрения сведений о заявлении на проведение процедур регистрации лекарственного препарата" (P.MM.01.PGR.002), приведен в таблице 3.

Таблица 3

Перечень процедур общего процесса, входящих в группу процедур "Процедуры направления сведений о регистрации лекарственного препарата и рассмотрения сведений о заявлении на проведение процедур регистрации лекарственного препарата" (P.MM.01.PGR.002)

Кодовое обозначениеНаименованиеОписание
123
P.MM.01.PRC.004направление сведений о заявлении на проведение процедур регистрации лекарственного препаратапроцедура предназначена для направления уполномоченным органом референтного государства уполномоченному органу государства признания заявления на проведение процедур регистрации лекарственного препарата
P.MM.01.PRC.005уведомление о возможности рассмотрения заявления на проведение процедур регистрации лекарственного препаратапроцедура предназначена для направления уполномоченным органом государства признания уполномоченному органу референтного государства уведомления о возможности или невозможности рассмотрения заявления на проведение процедур регистрации лекарственного препарата
P.MM.01.PRC.006уведомление об изменении сведений о регистрации лекарственного препаратапроцедура предназначена для направления уполномоченным органом референтного государства уполномоченному органу государства признания уведомления об изменении сведений о регистрации лекарственного препарата

6. Группа процедур "Процедуры получения сведений из единого реестра" (P.MM.01.PGR.003)

21. Процедуры получения заинтересованными органами государств-членов сведений, содержащихся в едином реестре, выполняются при получении соответствующего запроса от информационных систем заинтересованных органов государств-членов.

В рамках выполнения процедур получения заинтересованными органами государств-членов сведений, содержащихся в едином реестре, обрабатываются следующие виды запросов, поступающих от информационных систем заинтересованных органов государств-членов:

запрос информации о дате и времени обновления единого реестра;

запрос актуальных сведений из единого реестра;

запрос измененных сведений из единого реестра;

запрос сведений о регистрации лекарственного препарата;

запрос сведений о размещенном в едином реестре документе.

запрос информации о дате и времени обновления единого реестра выполняется заинтересованным органом государства-члена в целях оценки необходимости синхронизации имеющихся в его информационном ресурсе сведений о зарегистрированных лекарственных препаратах со сведениями, содержащимися в едином реестре и хранящимися в Комиссии. При осуществлении запроса выполняется процедура "Получение информации о дате и времени обновления единого реестра" (P.MM.01.PRC.007).

Запрос сведений из единого реестра выполняется с целью получения заинтересованным органом государства-члена актуальных сведений о зарегистрированных лекарственных препаратах. В зависимости от условий запроса актуальные сведения из единого реестра представляются по всем государствам или по конкретному государству, представившему сведения в единый реестр. Запрос сведений из единого реестра может осуществляться как на текущую дату, так и по состоянию на дату, указанную в запросе. При осуществлении запроса выполняется процедура "Получение актуальных сведений из единого реестра" (P.MM.01.PRC.008).

Запрос информации об изменениях, внесенных в единый реестр, выполняется с целью получения заинтересованным органом государства-члена измененных сведений о зарегистрированных лекарственных препаратах. При запросе информации об изменениях, внесенных в единый реестр, представляются сведения, которые были добавлены в единый реестр, а также сведения, в которые были внесены изменения начиная с момента, указанного в запросе, до момента выполнения этого запроса (или до момента, указанного в запросе). В зависимости от условий запроса измененные сведения из единого реестра представляются по всем государствам или по конкретному государству, представившему измененные сведения в единый реестр. При осуществлении запроса выполняется процедура "Получение измененных сведений из единого реестра" (P.MM.01.PRC.009).

Для получения заинтересованным органом государства-члена сведений о регистрации лекарственного препарата по конкретному номеру заявления или порядковому номеру регистрационного удостоверения выполняется процедура "Получение сведений о регистрации лекарственного препарата из единого реестра" (P.MM.01.PRC.017).

Для получения заинтересованным органом государства-члена сведений о документе регистрационного досье или регистрационного дела, размещенном в едином реестре, выполняется процедура "Получение сведений о размещенном в едином реестре документе" (P.MM.01.PRC.018).

22. Приведенное описание группы процедур "Процедуры получения сведений из единого реестра" (P.MM.01.PGR.003) представлено на рисунке 4.

Рис. 4. Общая схема группы процедур "Процедуры получения сведений из единого реестра" (P.MM.01.PGR.003)

23. Перечень процедур общего процесса, входящих в группу процедур "Процедуры получения сведений из единого реестра" (P.MM.01.PGR.003), приведен в таблице 4.

Таблица 4

Перечень процедур общего процесса, входящих в группу процедур "Процедуры получения сведений из единого реестра" (P.MM.01.PGR.003)

Кодовое обозначениеНаименованиеОписание
123
P.MM.01.PRC.007получение информации о дате и времени обновления единого реестрапроцедура предназначена для представления Комиссией информации о дате и времени обновления единого реестра по запросам от информационных систем заинтересованных органов государств-членов
P.MM.01.PRC.008получение актуальных сведений из единого реестрапроцедура предназначена для представления Комиссией актуальных сведений из единого реестра по запросам от информационных систем заинтересованных органов государств-членов
P.MM.01.PRC.009получение измененных сведений из единого реестрапроцедура предназначена для представления Комиссией измененных сведений из единого реестра по запросам от информационных систем заинтересованных органов государств-членов
P.MM.01.PRC.017получение сведений о регистрации лекарственного препарата из единого реестрапроцедура предназначена для представления Комиссией сведений о регистрации лекарственного препарата по запросам от информационных систем заинтересованных органов государств-членов
P.MM.01.PRC.018получение сведений о размещенном в едином реестре документепроцедура предназначена для представления Комиссией сведений о размещенном в едином реестре документе по запросам от информационных систем заинтересованных органов государств-членов

7. Группа процедур "Процедуры взаимодействия с Комиссией при рассмотрении заявления" (P.MM.01.PGR.004)

24. Процедуры взаимодействия с Комиссией при рассмотрении заявлений выполняются в случаях, предусмотренных Правилами регистрации.

Процедура "Направление сведений о рассмотрении заявления" (P.MM.01.PRC.023) выполняется:

а) в случае поступления нового заявления в уполномоченный орган государства-члена. Уполномоченный орган референтного государства в случае успешного выполнения процедуры получает ответное сообщение с присвоенным средствами интегрированной системы уникальным регистрационным номером заявления, который сообщается заявителю. Уполномоченный орган государства признания получает ответное сообщение с присвоенным средствами интегрированной системы уникальным регистрационным номером заявления только при внесении изменений в регистрационное досье зарегистрированного лекарственного препарата без привлечения уполномоченного органа референтного государства в случаях, предусмотренных Правилами регистрации (пункт 2.1.5 Приложения N 19 Правил регистрации в редакции Решения Совета Комиссии от 29 мая 2024 г. N 43);

б) для передачи в Комиссию сведений:

об изменении этапа рассмотрения регистрационного досье лекарственного препарата;

о фактах подготовки экспертных заключений уполномоченных органов государств-членов, подготовленных в соответствии с Правилами регистрации, включая протоколы лабораторных испытаний;

о фактах направления запросов и получения ответов на них:

запросы уполномоченных органов государств-членов о представлении дополнительных сведений, направленные заявителю при выполнении процедур регистрации;

запросы уполномоченных органов государств признания, направленные в уполномоченный орган референтного государства.

При принятии решения о регистрации лекарственного препарата уполномоченным органом референтного государства выполняется процедура "Получение порядкового номера регистрационного удостоверения" (P.MM.01.PRC.010). После получения уникального порядкового номера регистрационного удостоверения уполномоченный орган референтного государства выполняет процедуру "Включение сведений в единый реестр" (P.MM.01.PRC.001) из группы процедур "Процедуры формирования и ведения общего единого реестра" (P.MM.01.PGR.001) с целью включения и опубликования сведений о зарегистрированном лекарственном препарате, в том числе об уникальном номере регистрационного удостоверения, в едином реестре. Уполномоченный орган референтного государства информирует уполномоченный орган государства признания о регистрации лекарственного препарата (в том числе передает сведения о порядковом номере регистрационного удостоверения) путем выполнения процедуры "Уведомление об изменении сведений о регистрации лекарственного препарата" (P.MM.01.PRC.006) из группы процедур "Процедуры направления сведений о регистрации лекарственного препарата и рассмотрения сведений о заявлении на проведение процедур регистрации лекарственного препарата" (P.MM.01.PGR.002). Уполномоченный орган государства признания может получить сведения о порядковом номере регистрационного удостоверения также путем выполнения процедуры "Получение измененных сведений из единого реестра" (P.MM.01.PRC.009) или "Получение актуальных сведений из единого реестра" (P.MM.01.PRC.008) из группы процедур "Процедуры получения сведений из единого реестра" (P.MM.01.PGR.003).

В случае невозможности признания уполномоченным органом государства признания экспертного отчета, оформленного уполномоченным органом референтного государства, выполняется процедура "Направление заключения о невозможности признания экспертного отчета" (P.MM.01.PRC.020). В случае необходимости получения Комиссией сведений и документов регистрационного дела или регистрационного досье при урегулировании разногласий на экспертном комитете выполняются процедуры "Получение Комиссией сведений из регистрационного дела или регистрационного досье" (P.MM.01.PRC.011) и "Получение Комиссией документа из регистрационного дела или регистрационного досье" (P.MM.01.PRC.021).

25. Приведенное описание группы процедур "Процедуры взаимодействия с Комиссией при рассмотрении заявления" (P.MM.01.PGR.004) представлено на рисунке 5.

Рис. 5. Общая схема группы процедур "Процедуры взаимодействия с Комиссией при рассмотрении заявления" (P.MM.01.PGR.004)

26. Перечень процедур общего процесса, входящих в группу процедур "Процедуры взаимодействия с Комиссией при рассмотрении заявления" (P.MM.01.PGR.004), приведен в таблице 5.

Таблица 5

Перечень процедур общего процесса, входящих в группу процедур "Процедуры взаимодействия с Комиссией при рассмотрении заявления" (P.MM.01.PGR.004)

Кодовое обозначениеНаименованиеОписание
123
P.MM.01.PRC.010получение порядкового номера регистрационного удостоверенияпроцедура предназначена для представления Комиссией очередного уникального номера регистрационного удостоверения по запросу от информационной системы уполномоченного органа референтного государства
P.MM.01.PRC.011получение Комиссией сведений из регистрационного дела или регистрационного досьепроцедура предназначена для представления уполномоченным органом референтного государства сведений из регистрационного дела или регистрационного досье по запросу Комиссии
P.MM.01.PRC.020направление заключения о невозможности признания экспертного отчетапроцедура предназначена для формирования и представления уполномоченным органом государства признания в Комиссию заключения о невозможности признания экспертного отчета
P.MM.01.PRC.021получение Комиссией документа из регистрационного дела или регистрационного досьепроцедура предназначена для представления уполномоченным органом референтного государства документа из регистрационного дела или регистрационного досье по запросу Комиссии
P.MM.01.PRC.023направление сведений о рассмотрении заявленияпроцедура предназначена для формирования уникального регистрационного номера заявления, а также для представления уполномоченным органом государства-члена в Комиссию сведений о прохождении процедур регистрации

8. Группа процедур "Процедуры получения сведений и документов из регистрационного дела или регистрационного досье" (P.MM.01.PGR.005)

27. Процедуры получения сведений и документов из регистрационного дела или регистрационного досье, выполняются в случаях, предусмотренных Порядком ведения единого реестра.

В случае возникновения необходимости получения сведений и документов регистрационного дела или регистрационного досье выполняются процедуры "Получение сведений из регистрационного дела или регистрационного досье" (P.MM.01.PRC.012) и "Получение документа из регистрационного дела или регистрационного досье" (P.MM.01.PRC.022).

28. Приведенное описание группы процедур "Процедуры получения сведений и документов из регистрационного дела или регистрационного досье" (P.MM.01.PGR.005) представлено на рисунке 6.

Рис. 6. Общая схема группы процедур "Процедуры получения сведений и документов из регистрационного дела или регистрационного досье" (P.MM.01.PGR.005)

29. Перечень процедур общего процесса, входящих в группу процедур "Процедуры получения сведений и документов из регистрационного дела или регистрационного досье" (P.MM.01.PGR.005), приведен в таблице 6.

Таблица 6

Перечень процедур общего процесса, входящих в группу процедур "Процедуры получения сведений и документов из регистрационного дела или регистрационного досье" (P.MM.01.PGR.005)

Кодовое обозначениеНаименованиеОписание
123
P.MM.01.PRC.012получение сведений из регистрационного дела или регистрационного досьепроцедура предназначена для представления уполномоченным органом государства-члена сведений из регистрационного дела или регистрационного досье по запросу заинтересованного органа государства-члена
P.MM.01.PRC.022получение документа из регистрационного дела или регистрационного досьепроцедура предназначена для представления уполномоченным органом государства-члена документа из регистрационного дела или регистрационного досье по запросу заинтересованного органа государства-члена

9. Группа процедур "Процедуры уведомления об отмене регистрационного удостоверения" (P.MM.01.PGR.006)

30. Процедура "Направление уведомления об отмене регистрационного удостоверения" (P.MM.01.PRC.013) выполняется при принятии уполномоченным органом государства-члена решения об отмене регистрационного удостоверения в случаях, предусмотренных Правилами регистрации.

31. Приведенное описание группы процедур "Процедуры уведомления об отмене регистрационного удостоверения" (P.MM.01.PGR.006) представлено на рисунке 7.

Рис. 7. Общая схема группы процедур "Процедуры уведомления об отмене регистрационного удостоверения" (P.MM.01.PGR.006)

32. Перечень процедур общего процесса, входящих в группу процедур "Процедуры уведомления об отмене регистрационного удостоверения" (P.MM.01.PGR.006), приведен в таблице 7.

Таблица 7

Перечень процедур общего процесса, входящих в группу процедур "Процедуры уведомления об отмене регистрационного удостоверения" (P.MM.01.PGR.006)

Кодовое обозначениеНаименованиеОписание
123
P.MM.01.PRC.013направление уведомления об отмене регистрационного удостоверенияпроцедура предназначена для направления уведомления об отмене регистрационного удостоверения уполномоченным органом, отменившим регистрационное удостоверение, уполномоченному органу, уведомляемому об отмене регистрационного удостоверения

10. Группа процедур "Процедуры ведения переписки в отношении регистрационного дела или регистрационного досье" (P.MM.01.PGR.007)

33. Процедуры ведения переписки в отношении регистрационного дела или регистрационного досье выполняются после оформления экспертного отчета по результатам экспертизы лекарственного препарата уполномоченным органом референтного государства, при согласовании экспертного отчета государствами признания, а также при осуществлении переписки между уполномоченным органом государства признания и уполномоченным органом референтного государства при выполнении процедур регистрации или в период действия регистрационного удостоверения.

После завершения оформления экспертного отчета уполномоченным органом референтного государства выполняется процедура "Направление экспертного отчета" (P.MM.01.PRC.014).

В случае наличия у уполномоченного органа государства признания замечаний в отношении документов регистрационного дела или регистрационного досье, в том числе, при необходимости направления запроса заявителю, выполняется процедура "Направление замечаний в отношении документов регистрационного дела или регистрационного досье" (P.MM.01.PRC.015).

В случае принятия уполномоченным органом государства признания решения о признании (непризнании) экспертного отчета выполняется процедура "Направление решения о признании (непризнании) экспертного отчета" (P.MM.01.PRC.016).

34. Приведенное описание группы процедур "Процедуры ведения переписки в отношении регистрационного дела или регистрационного досье" (P.MM.01.PGR.007) представлено на рисунке 8.

Рис. 8. Общая схема группы процедур "Процедуры ведения переписки в отношении регистрационного дела или регистрационного досье" (P.MM.01.PGR.007)

35. Перечень процедур общего процесса, входящих в группу процедур "Процедуры ведения переписки в отношении регистрационного дела или регистрационного досье" (P.MM.01.PGR.007), приведен в таблице 8.

Таблица 8

Перечень процедур общего процесса, входящих в группу процедур "Процедуры ведения переписки в отношении регистрационного дела или регистрационного досье" (P.MM.01.PGR.007)

Кодовое обозначениеНаименованиеОписание
123
P.MM.01.PRC.014направление экспертного отчетапроцедура предназначена для направления уполномоченным органом референтного государства уполномоченному органу государства признания сведений о подготовленном экспертном отчете, составленном по результатам экспертизы лекарственного препарата
P.MM.01.PRC.015направление замечаний в отношении документов регистрационного дела или регистрационного досьепроцедура предназначена для представления уполномоченным органом государства признания в уполномоченный орган референтного государства сведений о направленных заявителю запросах о представлении дополнительных сведений, а также для направления замечаний в отношении документов регистрационного дела или регистрационного досье при выполнении процедур регистрации
P.MM.01.PRC.016направление решения о признании (непризнании) экспертного отчетапроцедура предназначена для представления уполномоченным органом государства признания в уполномоченный орган референтного государства сведений решения о признании (непризнании) экспертного отчета

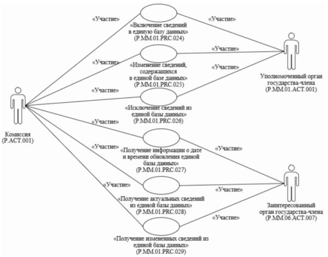
11. Группа процедур "Процедуры формирования и ведения единой базы данных" (P.MM.01.PGR.008)

36. Выполнение процедур формирования и ведения единой базы данных осуществляется при направлении уполномоченным органом государства-члена сведений для включения в единую базу данных, их актуализации, запросе и представлении сведений из единой базы данных.

Представление сведений осуществляется в соответствии с Регламентом информационного взаимодействия между уполномоченными органами государств-членов и Евразийской экономической комиссией при реализации средствами интегрированной информационной системы Евразийского экономического союза общего процесса "Формирование, ведение и использование единого реестра зарегистрированных лекарственных средств Евразийского экономического союза", утвержденным Решением Коллегии Евразийской экономической комиссии от 25 октября 2016 г. N 122 (далее - Регламент информационного взаимодействия между уполномоченными органами государств-членов и Комиссией). Формат и структура представляемых сведений должны соответствовать Описанию форматов и структур электронных документов и сведений, используемых для реализации средствами интегрированной информационной системы Евразийского экономического союза общего процесса "Формирование, ведение и использование единого реестра зарегистрированных лекарственных средств Евразийского экономического союза", утвержденному Решением Коллегии Евразийской экономической комиссии от 25 октября 2016 г. N 122 (далее - Описание форматов и структур электронных документов и сведений).

После получения уникального регистрационного номера заявления на проведение процедур регистрации лекарственного препарата, полученном при выполнении процедуры "Направление сведений о рассмотрении заявления" (P.MM.01.PRC.023), уполномоченными органами государств-членов выполняется процедура "Включение сведений в единую базу данных" (P.MM.01.PRC.024).

При изменении сведений о заявлении на проведение процедур регистрации лекарственного препарата уполномоченным органом государства-члена выполняется процедура "Изменение сведений, содержащихся в единой базе данных" (P.MM.01.PRC.025).

При необходимости передачи в единую базу данных сведений о подлежащем исключению заявлении на проведение процедур регистрации лекарственного препарата, рассмотрение которого прекращено в связи с нарушениями Правил регистрации или в связи с отзывом заявителем, уполномоченным органом государства-члена выполняется процедура "Исключение сведений из единой базы данных" (P.MM.01.PRC.026).

В целях оценки необходимости синхронизации имеющихся в информационном ресурсе заинтересованного органа сведений о заявлениях на проведение процедур регистрации лекарственного препарата со сведениями, содержащимися в единой базе данных и хранящимися в Комиссии, заинтересованным органом государства-члена выполняется процедура "Получение информации о дате и времени обновления единой базы данных" (P.MM.01.PRC.027).

С целью получения актуальных сведений из единой базы данных заинтересованным органом государства-члена выполняется процедура "Получение актуальных сведений из единой базы данных" (P.MM.01.PRC.028). В зависимости от условий запроса актуальные сведения из единой базы данных представляются по всем государствам или по конкретному государству, представившему сведения в единую базу данных. Запрос сведений из единой базы данных может осуществляться как на текущую дату, так и по состоянию на дату, указанную в запросе.

С целью получения информации об изменениях, внесенных в единую базу данных, заинтересованным органом государства-члена выполняется процедура "Получение измененных сведений из единой базы данных" (P.MM.01.PRC.029). При запросе информации об изменениях, внесенных в единую базу данных, представляются сведения, которые были добавлены в единую базу данных, а также сведения, в которые были внесены изменения начиная с момента, указанного в запросе, до момента выполнения этого запроса (или до момента, указанного в запросе). В зависимости от условий запроса измененные сведения из единой базы данных представляются по всем государствам или по конкретному государству, представившему измененные сведения в единую базу данных.

37. Приведенное описание группы процедур "Процедуры формирования и ведения единой базы данных" (P.MM.01.PGR.008) представлено на рисунке 9.

Рис. 9. Общая схема группы процедур "Процедуры формирования и ведения единой базы данных" (P.MM.01.PGR.008)

38. Перечень процедур общего процесса, входящих в группу процедур "Процедуры формирования и ведения единой базы данных" (P.MM.01.PGR.008), приведен в таблице 9.

Таблица 9

Перечень процедур общего процесса, входящих в группу процедур "Процедуры формирования и ведения единой базы данных" (P.MM.01.PGR.008)

Кодовое обозначениеНаименованиеОписание
123
P.MM.01.PRC.024включение сведений в единую базу данныхпроцедура предназначена для формирования и представления уполномоченным органом государства-члена в Комиссию подлежащих размещению в единой базе данных сведений о новом заявлении на проведение процедур регистрации лекарственного препарата
P.MM.01.PRC.025изменение сведений, содержащихся в единой базе данныхпроцедура предназначена для формирования и представления уполномоченным органом государства-члена в Комиссию подлежащих размещению в единой базе данных измененных сведений о заявлении на проведение процедур регистрации лекарственного препарата
P.MM.01.PRC.026исключение сведений из единой базы данныхпроцедура предназначена для формирования и представления уполномоченным органом государства-члена в Комиссию подлежащих исключению из единой базы данных сведений о заявлении на проведение процедур регистрации лекарственного препарата
P.MM.01.PRC.027получение информации о дате и времени обновления единой базы данныхпроцедура предназначена для представления Комиссией информации о дате и времени обновления единой базы данных по запросам от информационных систем заинтересованных органов государств-членов
P.MM.01.PRC.028получение актуальных сведений из единой базы данныхпроцедура предназначена для представления Комиссией актуальных сведений из единой базы данных по запросам от информационных систем заинтересованных органов государств-членов
P.MM.01.PRC.029получение измененных сведений из единой базы данныхпроцедура предназначена для представления Комиссией измененных сведений из единой базы данных по запросам от информационных систем заинтересованных органов государств-членов

V. Информационные объекты общего процесса

39. Перечень информационных объектов, сведения о которых или из которых передаются в процессе информационного взаимодействия между участниками общего процесса, приведен в таблице 10.

Таблица 10

Перечень информационных объектов

Кодовое обозначениеНаименованиеОписание
123
P.MM.01.BEN.001единый реестринформационный ресурс, содержащий сведения о лекарственных средствах, зарегистрированных в соответствии с Правилами регистрации
P.MM.01.BEN.002заявлениесведения заявления на выполнение процедур регистрации
P.MM.01.BEN.003экспертный отчетсведения экспертного отчета, оформленного уполномоченным органом референтного государства, а также заключения о возможности признания (непризнания) экспертного отчета, оформленного уполномоченным органом государства признания
P.MM.01.BEN.004сведения регистрационного досье или деласведения и документы, содержащиеся в регистрационном досье и регистрационном деле
P.MM.01.BEN.005единая база данныхинформационный ресурс, содержащий сведения о лекарственных средствах, находящихся в процессе регистрации в соответствии с Правилами регистрации

VI. Ответственность участников общего процесса

40. Привлечение к дисциплинарной ответственности за несоблюдение требований, направленных на обеспечение своевременности и полноты передачи сведений, участвующих в информационном взаимодействии должностных лиц и сотрудников Комиссии осуществляется в соответствии с Договором о Евразийском экономическом союзе от 29 мая 2014 года, иными международными договорами и актами, составляющими право Союза, а должностных лиц и сотрудников уполномоченных органов государств-членов - в соответствии с законодательством государств-членов.

VII. Справочники и классификаторы общего процесса

41. Перечень справочников и классификаторов общего процесса приведен в таблице 11.

Таблица 11

Перечень справочников и классификаторов общего процесса

Кодовое обозначениеНаименованиеТипОписание
1234
P.CLS.001классификатор стран мираклассификаторсодержит перечень наименований стран и соответствующие им коды (применяется в соответствии с Решением Комиссии Таможенного союза от 20 сентября 2010 г. N 378), код классификатора в ЕС НСИ "2021"
P.CLS.008перечень видов средств (каналов) связисправочниксодержит перечень кодов и наименований видов средств (каналов) связи (применяется в соответствии с Решением Коллегии Комиссии от 6 декабря 2022 г. N 192), код справочника в ЕС НСИ "1041"
P.CLS.024классификатор языковклассификаторсодержит перечень наименований языков и их коды в соответствии со стандартом ISO 639-1 (применяется в соответствии с Решением Коллегии Комиссии от 10 сентября 2019 г. N 152), код классификатора в ЕС НСИ "2055"
P.CLS.026справочник органов Евразийского экономического союза, органов государственной власти и управления государств - членов Евразийского экономического союза, а также уполномоченных ими организацийсправочниксодержит перечень наименований органов Союза, органов государственной власти и управления государств-членов, а также уполномоченных ими организаций и соответствующие им коды
P.CLS.038справочник международных непатентованных наименований лекарственных средствсправочниксодержит перечень кодов и международных непатентованных наименований лекарственных средств (применяется в соответствии с Решением Коллегии Комиссии от 10 мая 2018 г. N 71), код справочника в ЕС НСИ "1016"
P.CLS.039классификатор единиц измерения дозировки и концентрации действующих веществ в составе лекарственных препаратовклассификаторсодержит перечень кодов и наименований единиц измерения, используемых в фармакологии для количественного выражения дозировки и концентрации действующих веществ (применяется в соответствии с Решением Коллегии Комиссии от 7 сентября 2018 г. N 150), код классификатора в ЕС НСИ "2044"
P.CLS.041номенклатура лекарственных формклассификаторсодержит перечень кодов и наименований лекарственных форм (применяется в соответствии с Решением Коллегии Комиссии от 17 сентября 2019 г. N 158), код классификатора в ЕС НСИ "2057"
P.CLS.044классификатор комплектующих средств упаковки лекарственных препаратовклассификаторсодержит перечень кодов и наименований комплектующих средств, содержащихся во вторичной (потребительской) упаковке лекарственного средства (применяется в соответствии с Решением Коллегии Комиссии от 8 октября 2019 г. N 171), код классификатора в ЕС НСИ "2059"
P.CLS.046классификатор лекарственного растительного сырьяклассификаторсодержит перечень кодов и наименований лекарственного растительного сырья (применяется в соответствии с Решением Коллегии Комиссии от 16 апреля 2019 г. N 59), код классификатора в ЕС НСИ "2047"
P.CLS.048перечень видов адресасправочниксодержит перечень кодов и наименований видов адреса (применяется в соответствии с Решением Коллегии Комиссии от 14 января 2025 г. N 8), код классификатора в ЕС НСИ "1066"
P.CLS.053справочник результатов обработки электронных документов и сведенийсправочниксодержит перечень кодов и наименований результатов обработки электронных документов и сведений
P.CLS.054классификатор организационно-правовых формклассификаторсодержит перечень кодов и наименований организационно-правовых форм (применяется в соответствии с Решением Коллегии Комиссии от 2 апреля 2019 г. N 54), код классификатора в ЕС НСИ "2049"
P.CLS.055справочник форматов данныхсправочниксодержит перечень кодов и наименований форматов данных, присвоенных Администрацией адресного пространства Интернет
P.CLS.068справочник методов идентификации хозяйствующих субъектов при их государственной регистрации в государствах - членах Евразийского экономического союзасправочниксодержит перечень кодов и наименований методов идентификации хозяйствующих субъектов при их государственной регистрации в государствах-членах (применяется в соответствии с Решением Коллегии Комиссии от 10 марта 2020 г. N 34), код справочника в ЕС НСИ "1033"
P.CLS.069классификатор видов первичных упаковок лекарственных средствклассификаторсодержит перечень кодов и наименований видов первичных упаковок лекарственных средств (применяется в соответствии с Решением Коллегии Комиссии от 15 января 2019 г. N 5), код классификатора в ЕС НСИ "2045"
P.CLS.099классификатор единиц измерения и счета Евразийского экономического союзаклассификаторсодержит перечень кодов, в том числе в соответствии с международными и региональными стандартами, наименований, условных обозначений единиц измерения и счета (применяется в соответствии с Решением Коллегии Комиссии от 27 октября 2020 г. N 145), код классификатора в ЕС НСИ "2064"
P.CLS.109справочник группировочных, общепринятых и химических наименований лекарственных средствсправочниксодержит перечень кодов группировочных, общепринятых и химических наименований лекарственных средств (применяется в соответствии с Рекомендациями Коллегии Комиссии от 23 апреля 2019 г. N 13)
P.CLS.110справочник вспомогательных веществ, используемых при производстве лекарственных средствсправочниксодержит перечень кодов и наименований вспомогательных веществ, используемых при производстве лекарственных средств (применяется в соответствии с Решением Коллегии Комиссии от 11 июня 2019 г. N 95), код справочника в ЕС НСИ "1019"
P.CLS.111справочник функциональных назначений вспомогательных веществ, используемых при производстве лекарственных средствсправочниксодержит перечень кодов и наименований функциональных назначений вспомогательных веществ, входящих в состав лекарственных средств (применяется в соответствии с Решением Коллегии Комиссии от 18 июня 2019 г. N 103), код справочника в ЕС НСИ "1020"
P.CLS.112справочник наименований гомеопатического материаласправочниксодержит перечень кодов и наименований гомеопатического материала
P.CLS.113классификатор видов вторичных (потребительских) упаковок лекарственных средствклассификаторсодержит перечень кодов и наименований видов вторичных (потребительских) упаковок лекарственных средств (применяется в соответствии с Решением Коллегии Комиссии от 15 января 2019 г. N 6), код классификатора в ЕС НСИ "2046"
P.CLS.138перечень видов единиц выражения состава лекарственных препаратовсправочниксодержит перечень кодов и наименований видов единиц выражения состава лекарственных препаратов
P.CLS.139перечень типов величины дозировки (концентрации) лекарственных препаратовсправочниксодержит перечень кодов и наименований типов величины дозировки (концентрации) лекарственных препаратов
P.MM.01.CLS.001анатомо-терапевтический химический классификатор лекарственных средствклассификаторсодержит перечень кодов и наименований действующих веществ, входящих в состав лекарственных средств, утвержденных Всемирной организацией здравоохранения (применяется в соответствии с Решением Коллегии Комиссии от 10 апреля 2018 г. N 50), код классификатора в ЕС НСИ "2039"
P.MM.01.CLS.002классификатор видов документов регистрационного досье лекарственного препаратаклассификаторсодержит перечень кодов и наименований видов документов регистрационного досье на лекарственный препарат (применяется в соответствии с Решением Коллегии Комиссии от 17 сентября 2019 г. N 159), код классификатора в ЕС НСИ "2058"
P.MM.01.CLS.003классификатор видов документов регистрационного дела лекарственного препаратаклассификаторсодержит перечень кодов и наименований видов документов регистрационного дела лекарственного препарата (применяется в соответствии с Решением Коллегии Комиссии от 24 апреля 2018 г. N 64), код классификатора в ЕС НСИ "2040"
P.MM.01.CLS.004перечень этапов (стадий) производства лекарственных средствсправочниксодержит перечень кодов и наименований видов этапов производства лекарственных средств (применяется в соответствии с Решением Коллегии Комиссии от 7 сентября 2018 г. N 149), код справочника в ЕС НСИ "1018"
P.MM.01.CLS.005справочник структурных элементов регистрационного досье лекарственного препаратасправочниксодержит перечень кодов и наименований структурных элементов регистрационного досье лекарственного препарата (применяется в соответствии с Решением Коллегии Комиссии от 17 сентября 2019 г. N 159), код справочника в ЕС НСИ "1030"
P.MM.01.CLS.007классификатор типов изменений регистрационного досье лекарственного препаратаклассификаторсодержит перечень кодов и наименований типов изменений регистрационного досье лекарственного препарата (применяется в соответствии с Решением Коллегии Комиссии от 24 апреля 2018 г. N 65), код классификатора в ЕС НСИ "2041"
P.MM.01.CLS.008справочник этапов рассмотрения заявления на регистрацию лекарственного препаратасправочниксодержит перечень кодов и наименований этапов рассмотрения заявления на регистрацию лекарственного препарата
P.MM.01.CLS.009справочник типов особой процедуры регистрации лекарственного препарата (с установлением пострегистрационных мер)справочниксодержит перечень кодов и наименований типов особой процедуры регистрации лекарственного препарата (с установлением пострегистрационных мер)
P.MM.01.CLS.010перечень особых условий и пострегистрационных мер в качестве условия регистрациисправочниксодержит перечень кодов и наименований особых условий и пострегистрационных мер в качестве условия регистрации
P.MM.01.CLS.011справочник статусов регистрационного удостоверениясправочниксодержит перечень кодов и наименований статусов регистрационного удостоверения
P.MM.01.CLS.012справочник видов особых условий регистрации лекарственного препаратасправочниксодержит перечень кодов и наименований видов особых условий регистрации лекарственного препарата
P.MM.01.CLS.013справочник видов атрибутов операции, выполняемой над документом регистрационного досьесправочниксодержит перечень кодов и наименований видов атрибутов операции, выполняемой над документом регистрационного досье
P.MM.01.CLS.014справочник ролей государства-члена при регистрации лекарственного препаратасправочниксодержит перечень кодов и наименований ролей государства-члена при регистрации лекарственного препарата
P.MM.01.CLS.015справочник видов макетов упаковки лекарственного препаратасправочниксодержит перечень кодов и наименований видов макетов упаковки лекарственного препарата
P.MM.01.CLS.016справочник видов процедур регистрациисправочниксодержит перечень кодов и наименований видов процедур регистрации
P.MM.01.CLS.017справочник степеней измельченности сырьевой части растительного ингредиента лекарственного препаратасправочниксодержит перечень кодов и наименований степеней измельченности сырьевой части растительного ингредиента лекарственного препарата
P.MM.01.CLS.019справочник функций ингредиентов в составе лекарственного препаратасправочниксодержит перечень кодов и наименований функций ингредиентов в составе лекарственного препарата
P.MM.01.CLS.021справочник дополнительных признаков лекарственного препаратасправочниксодержит перечень кодов и наименований дополнительных признаков лекарственного препарата
P.MM.01.CLS.022справочник видов регистрируемого лекарственного препаратасправочниксодержит перечень кодов и наименований видов регистрируемого лекарственного препарата
P.MM.01.CLS.023справочник статусов орфанного лекарственного препаратасправочниксодержит перечень кодов и наименований статусов орфанного лекарственного препарата
P.MM.01.CLS.024справочник видов элементов документов регистрационного дела или регистрационного досье на лекарственный препаратсправочниксодержит перечень кодов и наименований видов элементов документов регистрационного дела или регистрационного досье на лекарственный препарат
P.MM.01.CLS.025перечень причин невозможности рассмотрения заявлений на проведение процедур, связанных с регистрацией и экспертизой лекарственного препаратасправочниксодержит перечень кодов и наименований причин невозможности рассмотрения заявлений на проведение процедур, связанных с регистрацией и экспертизой лекарственного препарата
P.MM.01.CLS.026справочник видов заявлений на выполнение процедур, связанных с регистрацией лекарственного препаратасправочниксодержит перечень кодов и наименований видов заявлений на выполнение процедур, связанных с регистрацией лекарственного препарата
P.MM.01.CLS.027справочник причин отмены регистрационного удостоверениясправочниксодержит перечень кодов и наименований причин отмены регистрационного удостоверения

VIII. Процедуры общего процесса

1. Процедуры формирования и ведения единого реестра (P.MM.01.PGR.001)

Процедура "Включение сведений в единый реестр" (P.MM.01.PRC.001)

42. Схема выполнения процедуры "Включение сведений в единый реестр" (P.MM.01.PRC.001) представлена на рисунке 10.

Рис. 10. Схема выполнения процедуры "Включение сведений в единый реестр" (P.MM.01.PRC.001)

43. Процедура "Включение сведений в единый реестр" (P.MM.01.PRC.001) выполняется при представлении уполномоченным органом государства-члена сведений о регистрации нового препарата для формирования единого реестра.

44. Первой выполняется операция "Представление сведений для включения в единый реестр" (P.MM.01.OPR.001), по результатам выполнения которой уполномоченным органом государства-члена формируются и представляются в Комиссию сведения о новом препарате, включаемом в единый реестр.

45. При поступлении в Комиссию сведений о препарате, включаемом в единый реестр, выполняется операция "Прием и обработка сведений о препарате, включаемом в единый реестр" (P.MM.01.OPR.002), по результатам выполнения которой сведения о препарате включаются в единый реестр, а уполномоченному органу государства-члена направляется уведомление о результатах обработки полученных сведений.

46. При поступлении в уполномоченный орган государства-члена уведомления о результатах обработки полученных сведений, выполняется операция "Получение уведомления о результатах обработки полученных сведений" (P.MM.01.OPR.003), по результатам выполнения которой осуществляются прием и обработка уведомления о результатах обработки полученных сведений.

47. Выполняется операция "Опубликование сведений в едином реестре" (P.MM.01.OPR.067), по результатам выполнения которой сведения, включенные в единый реестр, опубликовываются на информационном портале Союза.

48. Результатом выполнения процедуры "Включение сведений в единый реестр" (P.MM.01.PRC.001) является включение сведений о препарате в единый реестр, получение уполномоченным органом государства-члена уведомления о результатах обработки полученных сведений.

49. Перечень операций общего процесса, выполняемых в рамках процедуры "Включение сведений в единый реестр" (P.MM.01.PRC.001), приведен в таблице 12.

Таблица 12

Перечень операций общего процесса, выполняемых в рамках процедуры "Включение сведений в единый реестр" (P.MM.01.PRC.001)

Кодовое обозначениеНаименованиеОписание
123
P.MM.01.OPR.001представление сведений для включения в единый реестрприведено в таблице 13 настоящих Правил
P.MM.01.OPR.002прием и обработка сведений о препарате, включаемом в единый реестрприведено в таблице 14 настоящих Правил
P.MM.01.OPR.003получение уведомления о результатах обработки полученных сведенийприведено в таблице 15 настоящих Правил
P.MM.01.OPR.067опубликование сведений в едином реестреприведено в таблице 16 настоящих Правил

Таблица 13

Описание операции "Представление сведений для включения в единый реестр" (P.MM.01.OPR.001)

N п/пОбозначение элементаОписание
123
1Кодовое обозначениеP.MM.01.OPR.001
2Наименование операциипредставление сведений для включения в единый реестр
3Исполнительуполномоченный орган государства-члена
4Условия выполнениявыполняется при представлении уполномоченным органом государства-члена сведений о препарате для формирования единого реестра
5Ограниченияформат и структура представляемых сведений должны соответствовать Описанию форматов и структур электронных документов и сведений
6Описание операцииисполнитель формирует сообщение, содержащее предназначенные для передачи в Комиссию сведения о препарате, включаемом в единый реестр, в соответствии с Регламентом информационного взаимодействия между уполномоченными органами государств-членов и Комиссией
7Результатысведения о препарате для включения в единый реестр переданы в Комиссию

Таблица 14

Описание операции "Прием и обработка сведений о препарате, включаемом в единый реестр" (P.MM.01.OPR.002)

N п/пОбозначение элементаОписание
123
1Кодовое обозначениеP.MM.01.OPR.002
2Наименование операцииприем и обработка сведений о препарате, включаемом в единый реестр
3ИсполнительКомиссия
4Условия выполнениявыполняется при получении Комиссией сведений о препарате (операция "Представление сведений для включения в единый реестр" (P.MM.01.OPR.001))
5Ограниченияформат и структура представляемых сведений должны соответствовать Описанию форматов и структур электронных документов и сведений. Требуется авторизация, сведения представляются только уполномоченными органами государств-членов. Реквизиты электронного документа (сведений) должны соответствовать требованиям, предусмотренным Регламентом информационного взаимодействия между уполномоченными органами государств-членов и Комиссией
6Описание операцииисполнитель принимает сведения о препарате и проверяет их в соответствии с Регламентом информационного взаимодействия между уполномоченными органами государств-членов и Комиссией.
В случае успешного выполнения проверки исполнитель осуществляет включение сведений о препарате в единый реестр, заполняя дату и время их обновления. Исполнитель формирует и направляет в соответствии с Регламентом информационного взаимодействия между уполномоченными органами государств-членов и Комиссией уполномоченному органу государства-члена уведомление о результатах обработки полученных сведений
7Результатысведения о препарате, включаемом в единый реестр, обработаны, уведомление о результатах обработки сведений направлено в уполномоченный орган государства-члена

Таблица 15

Описание операции "Получение уведомления о результатах обработки полученных сведений" (P.MM.01.OPR.003)

N п/пОбозначение элементаОписание
123
1Кодовое обозначениеP.MM.01.OPR.003
2Наименование операцииполучение уведомления о результатах обработки полученных сведений
3Исполнительуполномоченный орган государства-члена
4Условия выполнениявыполняется при получении уполномоченным органом государства-члена уведомления о результатах обработки сведений (операция "Прием и обработка сведений о препарате, включаемом в единый реестр" (P.MM.01.OPR.002))
5Ограниченияформат и структура представляемых сведений должны соответствовать Описанию форматов и структур электронных документов и сведений
6Описание операцииисполнитель осуществляет прием уведомления о результатах обработки сведений в соответствии с Регламентом информационного взаимодействия между уполномоченными органами государств-членов и Комиссией
7Результатыуведомление о результатах обработки сведений получено

Таблица 16

Описание операции "Опубликование сведений в едином реестре" (P.MM.01.OPR.067)

N п/пОбозначение элементаОписание
123
1Кодовое обозначениеP.MM.01.OPR.067
2Наименование операцииопубликование сведений в едином реестре
3ИсполнительКомиссия
4Условия выполнениявыполняется после включения сведений в единый реестр (операция "Прием и обработка сведений о препарате, включаемом в единый реестр" (P.MM.01.OPR.002))
5Ограничениясведения опубликовываются в объеме, предусмотренном Порядком ведения единого реестра
6Описание операцииисполнитель обеспечивает опубликование обновленного единого реестра на информационном портале Союза
7Результатыобновленный единый реестр опубликован на информационном портале Союза

Процедура "Изменение сведений, содержащихся в едином реестре" (P.MM.01.PRC.002)

50. Схема выполнения процедуры "Изменение сведений, содержащихся в едином реестре" (P.MM.01.PRC.002) представлена на рисунке 11.

Рис. 11. Схема выполнения процедуры "Изменение сведений, содержащихся в едином реестре" (P.MM.01.PRC.002)

51. Процедура "Изменение сведений, содержащихся в едином реестре" (P.MM.01.PRC.002) выполняется при изменении сведений о зарегистрированном лекарственном препарате.

52. Первой выполняется операция "Представление сведений для внесения изменений в единый реестр" (P.MM.01.OPR.004), по результатам выполнения которой уполномоченным органом государства-члена формируются и представляются в Комиссию сведения для внесения изменений в единый реестр.

53. При поступлении в Комиссию сведений для внесения изменений в единый реестр выполняется операция "Прием и обработка сведений для внесения изменений в единый реестр" (P.MM.01.OPR.005), по результатам выполнения которой соответствующие сведения обновляются в едином реестре. Уведомление о внесении изменений в единый реестр передается в уполномоченный орган государства-члена.

54. При поступлении в уполномоченный орган государства-члена уведомления о внесении изменений в единый реестр выполняется операция "Получение уведомления о результатах внесения изменений в единый реестр" (P.MM.01.OPR.006), по результатам выполнения которой осуществляются прием и обработка указанного уведомления.

55. Выполняется операция "Опубликование сведений в едином реестре" (P.MM.01.OPR.008), по результатам выполнения которой обновленные сведения, подлежащие включению в единый реестр, опубликовываются на информационном портале Союза.

56. Результатом выполнения процедуры "Изменение сведений, содержащихся в едином реестре" (P.MM.01.PRC.002) является внесение измененных сведений о регистрации лекарственных препаратов в единый реестр и опубликование измененных сведений единого реестра на информационном портале Союза.

57. Перечень операций общего процесса, выполняемых в рамках процедуры "Изменение сведений, содержащихся в едином реестре" (P.MM.01.PRC.002), приведен в таблице 17.

Таблица 17

Перечень операций общего процесса, выполняемых в рамках процедуры "Изменение сведений, содержащихся в едином реестре" (P.MM.01.PRC.002)

Кодовое обозначениеНаименованиеОписание
123
P.MM.01.OPR.004представление сведений для внесения изменений в единый реестрприведено в таблице 18 настоящих Правил
P.MM.01.OPR.005прием и обработка сведений для внесения изменений в единый реестрприведено в таблице 19 настоящих Правил
P.MM.01.OPR.006получение уведомления о результатах внесения изменений в единый реестрприведено в таблице 20 настоящих Правил
P.MM.01.OPR.008опубликование сведений в едином реестреприведено в таблице 21 настоящих Правил

Таблица 18

Описание операции "Представление сведений для внесения изменений в единый реестр" (P.MM.01.OPR.004)

N п/пОбозначение элементаОписание
123
1Кодовое обозначениеP.MM.01.OPR.004
2Наименование операциипредставление сведений для внесения изменений в единый реестр
3Исполнительуполномоченный орган государства-члена
4Условия выполнениявыполняется уполномоченным органом государства-члена при внесении изменений в единый реестр
5Ограниченияформат и структура представляемых сведений должны соответствовать Описанию форматов и структур электронных документов и сведений
6Описание операцииисполнитель формирует сведения для внесения изменений в единый реестр в соответствии с Регламентом информационного взаимодействия между уполномоченными органами государств-членов и Комиссией
7Результатысведения для внесения изменений в единый реестр направлены в Комиссию

Таблица 19

Описание операции "Прием и обработка сведений для внесения изменений в единый реестр" (P.MM.01.OPR.005)

N п/пОбозначение элементаОписание
123
1Кодовое обозначениеP.MM.01.OPR.005
2Наименование операцииприем и обработка сведений для внесения изменений в единый реестр
3ИсполнительКомиссия
4Условия выполнениявыполняется при получении Комиссией сведений для внесения изменений в единый реестр (операция "Представление сведений для внесения изменений в единый реестр" (P.MM.01.OPR.004))
5Ограниченияформат и структура представляемых сведений должны соответствовать Описанию форматов и структур электронных документов и сведений. Требуется авторизация, сведения представляются только уполномоченными органами государств-членов. Реквизиты электронного документа (сведений) должны соответствовать требованиям, предусмотренным Регламентом информационного взаимодействия между уполномоченными органами государств-членов и Комиссией
6Описание операцииисполнитель принимает сведения для внесения изменений и проверяет их в соответствии с Регламентом информационного взаимодействия между уполномоченными органами государств-членов и Комиссией. В случае успешного выполнения проверки исполнитель заполняет дату и время окончания действия хранящихся в Комиссии сведений значением даты и времени начала действия полученных актуальных сведений. В результате изменяемые сведения сохраняются для обеспечения возможности просмотра истории изменений и становятся недоступными для дальнейшей обработки. Полученные актуальные сведения исполнитель вносит в единый реестр, фиксирует дату и время обновления сведений, формирует и направляет уполномоченному органу государства-члена уведомление со значением кода результата обработки, соответствующим изменению сведений, в соответствии с Регламентом информационного взаимодействия между уполномоченными органами государств-членов и Комиссией
7Результатысведения для внесения изменений в единый реестр обработаны, уведомление о внесении изменений в единый реестр направлено в уполномоченный орган государства-члена

Таблица 20

Описание операции "Получение уведомления о результатах внесения изменений в единый реестр" (P.MM.01.OPR.006)

N п/пОбозначение элементаОписание
123
1Кодовое обозначениеP.MM.01.OPR.006
2Наименование операцииполучение уведомления о результатах внесения изменений в единый реестр
3Исполнительуполномоченный орган государства-члена
4Условия выполнениявыполняется при получении уполномоченным органом государства-члена уведомления о внесении изменений в единый реестр (операция "Прием и обработка сведений для внесения изменений в единый реестр" (P.MM.01.OPR.005))
5Ограниченияформат и структура уведомления должны соответствовать Описанию форматов и структур электронных документов и сведений
6Описание операцииисполнитель осуществляет прием уведомления в соответствии с Регламентом информационного взаимодействия между уполномоченными органами государств-членов и Комиссией
7Результатыуведомление о внесении изменений в единый реестр получено

Таблица 21

Описание операции "Опубликование сведений в едином реестре" (P.MM.01.OPR.008)

N п/пОбозначение элементаОписание
123
1Кодовое обозначениеP.MM.01.OPR.008
2Наименование операцииопубликование сведений в едином реестре
3ИсполнительКомиссия
4Условия выполнениявыполняется после изменения сведений в едином реестре (операция "Прием и обработка сведений для внесения изменений в единый реестр" (P.MM.01.OPR.005))
5Ограничениясведения опубликовываются в объеме, предусмотренном Порядком ведения единого реестра
6Описание операцииисполнитель обеспечивает опубликование обновленного единого реестра на информационном портале Союза
7Результатыобновленный единый реестр опубликован на информационном портале Союза

Процедура "Направление сведений о подлежащем размещению в едином реестре документе" (P.MM.01.PRC.019)

58. Схема выполнения процедуры "Направление сведений о подлежащем размещению в едином реестре документе" (P.MM.01.PRC.019) представлена на рисунке 12.

Рис. 12. Схема выполнения процедуры "Направление сведений о подлежащем размещению в едином реестре документе" (P.MM.01.PRC.019)

59. Процедура "Направление сведений о подлежащем размещению в едином реестре документе" (P.MM.01.PRC.019) выполняется при необходимости передачи в единый реестр сведений о документе, подлежащем размещению в едином реестре, в том числе после выполнения процедур "Включение сведений в единый реестр" (P.MM.01.PRC.001) и "Изменение сведений, содержащихся в едином реестре" (P.MM.01.PRC.002), после передачи сведений о выданном регистрационном удостоверении, а также в случае необходимости технической корректировки одного из размещаемых в едином реестре документов.

60. Первой выполняется операция "Направление сведений о подлежащем размещению в едином реестре документе" (P.MM.01.OPR.055), по результатам выполнения которой уполномоченным органом государства-члена формируются и представляются в Комиссию сведения о подлежащем размещению в едином реестре документе.

61. При поступлении в Комиссию сведений о подлежащем размещению в едином реестре документе, выполняется операция "Получение сведений о подлежащем размещению в едином реестре документе" (P.MM.01.OPR.056), по результатам выполнения которой Комиссия получает сведения о подлежащем размещению в едином реестре документе от уполномоченного органа государства-члена и направляет ему уведомление о результатах обработки полученных сведений.

62. При поступлении в уполномоченный орган государства-члена уведомления о результатах обработки полученных сведений выполняется операция "Получение и обработка уведомления о результатах обработки сведений о подлежащем размещению в едином реестре документе" (P.MM.01.OPR.057).

63. Результатом выполнения процедуры "Направление сведений о подлежащем размещению в едином реестре документе" (P.MM.01.PRC.019) является включение в единый реестр сведений о подлежащем размещению в едином реестре документе.

64. Перечень операций общего процесса, выполняемых в рамках процедуры "Направление сведений о подлежащем размещению в едином реестре документе" (P.MM.01.PRC.019), приведен в таблице 22.

Таблица 22

Перечень операций общего процесса, выполняемых в рамках процедуры "Направление сведений о подлежащем размещению в едином реестре документе" (P.MM.01.PRC.019)

Кодовое обозначениеНаименованиеОписание
123
P.MM.01.OPR.055направление сведений о подлежащем размещению в едином реестре документеприведено в таблице 23 настоящих Правил
P.MM.01.OPR.056получение сведений о подлежащем размещению в едином реестре документеприведено в таблице 24 настоящих Правил
P.MM.01.OPR.057получение и обработка уведомления о результатах обработки сведений о подлежащем размещению в едином реестре документеприведено в таблице 25 настоящих Правил

Таблица 23

Описание операции "Направление сведений о подлежащем размещению в едином реестре документе" (P.MM.01.OPR.055)

N п/пОбозначение элементаОписание
123
1Кодовое обозначениеP.MM.01.OPR.055
2Наименование операциинаправление сведений о подлежащем размещению в едином реестре документе
3Исполнительуполномоченный орган государства-члена
4Условия выполнениявыполняется при необходимости передачи сведений о документе, подлежащем размещению в едином реестре, в том числе после выполнения процедур "Включение сведений в единый реестр" (P.MM.01.PRC.001) и "Изменение сведений, содержащихся в едином реестре" (P.MM.01.PRC.002), а также в случае внесения изменений в один из размещенных в едином реестре документов
5Ограниченияформат и структура направляемых сведений должны соответствовать Описанию форматов и структур электронных документов и сведений
6Описание операцииисполнитель формирует сведения о подлежащем размещению в едином реестре документе, предназначенные для передачи в Комиссию в соответствии с Регламентом информационного взаимодействия между уполномоченными органами государств-членов и Комиссией, и направляет их в Комиссию
7Результатысведения о подлежащем размещению в едином реестре документе направлены в Комиссию

Таблица 24

Описание операции "Получение сведений о подлежащем размещению в едином реестре документе" (P.MM.01.OPR.056)

N п/пОбозначение элементаОписание
123
1Кодовое обозначениеP.MM.01.OPR.056
2Наименование операцииполучение сведений о подлежащем размещению в едином реестре документе
3ИсполнительКомиссия
4Условия выполнениявыполняется при получении исполнителем сведений о подлежащем размещению в едином реестре документе (операция "Направление сведений о подлежащем размещению в едином реестре документе" (P.MM.01.OPR.055))
5Ограниченияформат и структура представляемых сведений должны соответствовать Описанию форматов и структур электронных документов и сведений. Требуется авторизация, сведения представляются только уполномоченными органами государств-членов. Реквизиты электронного документа (сведений) должны соответствовать требованиям, предусмотренным Регламентом информационного взаимодействия между уполномоченными органами государств-членов и Комиссией
6Описание операцииисполнитель принимает сведения о подлежащем размещению в едином реестре документе, выполняет их обработку в соответствии с Регламентом информационного взаимодействия между уполномоченными органами государств-членов и Комиссией, и направляет в уполномоченный орган государства-члена уведомление о результатах обработки
7Результатыобработаны сведения о подлежащем размещению в едином реестре документе, уведомление о результатах обработки сведений направлено в уполномоченный орган государства-члена

Таблица 25

Описание операции "Получение и обработка уведомления о результатах обработки сведений о подлежащем размещению в едином реестре документе" (P.MM.01.OPR.057)

N п/пОбозначение элементаОписание
123
1Кодовое обозначениеP.MM.01.OPR.057
2Наименование операцииполучение и обработка уведомления о результатах обработки сведений о подлежащем размещению в едином реестре документе
3Исполнительуполномоченный орган государства-члена
4Условия выполнениявыполняется при получении исполнителем уведомления о результатах обработки сведений (операция "Получение сведений о подлежащем размещению в едином реестре документе" (P.MM.01.OPR.056))
5Ограниченияформат и структура представляемых сведений должны соответствовать Описанию форматов и структур электронных документов и сведений
6Описание операцииисполнитель получает уведомление о результатах обработки сведений о подлежащем размещению в едином реестре документе, в соответствии с Регламентом информационного взаимодействия между уполномоченными органами государств-членов и Комиссией
7Результатыуведомление о результатах обработки сведений о подлежащем размещению в едином реестре документе получено

2. Процедуры направления сведений о регистрации лекарственного препарата и рассмотрения сведений о заявлении на проведение процедур регистрации лекарственного препарата (P.MM.01.PGR.002)

Процедура "Направление сведений о заявлении на проведение процедур регистрации лекарственного препарата" (P.MM.01.PRC.004)

65. Схема выполнения процедуры "Направление сведений о заявлении на проведение процедур регистрации лекарственного препарата" (P.MM.01.PRC.004) представлена на рисунке 13.

Рис. 13. Схема выполнения процедуры "Направление сведений о заявлении на проведение процедур регистрации лекарственного препарата" (P.MM.01.PRC.004)

66. Процедура "Направление сведений о заявлении на проведение процедур регистрации лекарственного препарата" (P.MM.01.PRC.004) выполняется уполномоченным органом референтного государства при направлении заявления на проведение процедур регистрации лекарственного препарата уполномоченному органу государства признания.

67. Первой выполняется операция "Представление сведений о заявлении" (P.MM.01.OPR.012), по результатам выполнения которой уполномоченным органом референтного государства формируются и представляются в уполномоченный орган государства признания сведения о заявлении на проведение процедур регистрации лекарственного препарата.

68. При получении уполномоченным органом государства признания сведений о заявлении на проведение процедур регистрации лекарственного препарата выполняется операция "Прием и обработка сведений о заявлении" (P.MM.01.OPR.013), по результатам выполнения которой уполномоченным органом государства признания принимаются сведения о заявлении на проведение процедур регистрации лекарственного препарата, формируется и направляется в уполномоченный орган референтного государства уведомление о результатах обработки сведений о заявлении на проведение процедур регистрации лекарственного препарата.

69. При получении уполномоченным органом референтного государства уведомления о результатах обработки сведений о заявлении на проведение процедур регистрации лекарственного препарата выполняется операция "Получение уведомления о результатах обработки сведений о заявлении" (P.MM.01.OPR.014).

70. Результатом выполнения процедуры "Направление сведений о заявлении на проведение процедур регистрации лекарственного препарата" (P.MM.01.PRC.004) является получение уполномоченным органом государства признания заявления на проведение процедур регистрации лекарственного препарата, а также получение уполномоченным органом референтного государства уведомления о результатах обработки сведений о заявлении на проведение процедур регистрации лекарственного препарата.

71. Перечень операций общего процесса, выполняемых в рамках процедуры "Направление сведений о заявлении на проведение процедур регистрации лекарственного препарата" (P.MM.01.PRC.004), приведен в таблице 26.

Таблица 26

Перечень операций общего процесса, выполняемых в рамках процедуры "Направление сведений о заявлении на проведение процедур регистрации лекарственного препарата" (P.MM.01.PRC.004)

Кодовое обозначениеНаименованиеОписание
123
P.MM.01.OPR.012представление сведений о заявленииприведено в таблице 27 настоящих Правил
P.MM.01.OPR.013прием и обработка сведений о заявленииприведено в таблице 28 настоящих Правил
P.MM.01.OPR.014получение уведомления о результатах обработки сведений о заявленииприведено в таблице 29 настоящих Правил

Таблица 27

Описание операции "Представление сведений о заявлении" (P.MM.01.OPR.012)

N п/пОбозначение элементаОписание
123
1Кодовое обозначениеP.MM.01.OPR.012
2Наименование операциипредставление сведений о заявлении
3Исполнительуполномоченный орган референтного государства
4Условия выполнениявыполняется уполномоченным органом референтного государства при направлении сведений о заявлении на проведение процедур регистрации лекарственного препарата
5Ограниченияформат и структура представляемых сведений должны соответствовать Описанию форматов и структур электронных документов и сведений
6Описание операцииисполнитель формирует сведения о заявлении на проведение процедур регистрации лекарственного препарата и направляет их в уполномоченный орган государства признания в соответствии с Регламентом информационного взаимодействия между уполномоченными органами государств-членов
7Результатыуполномоченному органу государства признания направлены сведения о заявлении на проведение процедур регистрации лекарственного препарата

Таблица 28

Описание операции "Прием и обработка сведений о заявлении" (P.MM.01.OPR.013)

N п/пОбозначение элементаОписание
123
1Кодовое обозначениеP.MM.01.OPR.013
2Наименование операцииприем и обработка сведений о заявлении
3Исполнительуполномоченный орган государства признания
4Условия выполнениявыполняется при получении уполномоченным органом государства признания сведений о заявлении на проведение процедур регистрации лекарственного препарата (операция "Представление сведений о заявлении" (P.MM.01.OPR.012))
5Ограниченияформат и структура представляемых сведений должны соответствовать Описанию форматов и структур электронных документов и сведений. Требуется авторизация, сведения представляются только уполномоченными органами государств-членов. Реквизиты электронного документа (сведений) должны соответствовать требованиям, предусмотренным Регламентом информационного взаимодействия между уполномоченными органами государств-членов
6Описание операцииисполнитель принимает сведения о заявлении на проведение процедур регистрации лекарственного препарата и проверяет их в соответствии с Регламентом информационного взаимодействия между уполномоченными органами государств-членов. В случае успешного выполнения проверки направляет уведомление о результатах обработки сведений о заявлении на проведение процедур регистрации лекарственного препарата в уполномоченный орган референтного государства в соответствии с Регламентом информационного взаимодействия между уполномоченными органами государств-членов
7Результатыуполномоченным органом государства признания получены сведения о заявлении на проведение процедур регистрации лекарственного препарата

Таблица 29

Описание операции "Получение уведомления о результатах обработки сведений о заявлении" (P.MM.01.OPR.014)

N п/пОбозначение элементаОписание
123
1Кодовое обозначениеP.MM.01.OPR.014
2Наименование операцииполучение уведомления о результатах обработки сведений о заявлении
3Исполнительуполномоченный орган референтного государства
4Условия выполнениявыполняется при получении уполномоченным органом референтного государства уведомления о результатах обработки сведений о заявлении на проведение процедур регистрации лекарственного препарата (операция "Прием и обработка сведений о заявлении" (P.MM.01.OPR.013))
5Ограниченияформат и структура уведомления должны соответствовать Описанию форматов и структур электронных документов и сведений
6Описание операцииисполнитель получает уведомление о приеме и обработке сведений о заявлении на проведение процедур регистрации лекарственного препарата в соответствии с Регламентом информационного взаимодействия между уполномоченными органами государств-членов
7Результатыуведомление о результатах обработки сведений о заявлении на проведение процедур регистрации лекарственного препарата получено

Процедура "Уведомление о возможности рассмотрения заявления на проведение процедур регистрации лекарственного препарата" (P.MM.01.PRC.005)

72. Схема выполнения процедуры "Уведомление о возможности рассмотрения заявления на проведение процедур регистрации лекарственного препарата" (P.MM.01.PRC.005) представлена на рисунке 14.

Рис. 14. Схема выполнения процедуры "Уведомление о возможности рассмотрения заявления на проведение процедур регистрации лекарственного препарата" (P.MM.01.PRC.005)

73. Процедура "Уведомление о возможности рассмотрения заявления на проведение процедур регистрации лекарственного препарата" (P.MM.01.PRC.005) выполняется уполномоченным органом государства признания в случае поступления для рассмотрения заявления на проведение процедур регистрации лекарственного препарата или выявления нарушений при проведении проверки полноты и (или) корректности представленных документов, а также в случае выявления нарушений, связанных с оплатой сбора (пошлины).

74. Первой выполняется операция "Представление уведомления о возможности рассмотрения заявления" (P.MM.01.OPR.015), по результатам выполнения которой уполномоченным органом государства признания формируется и представляется в уполномоченный орган референтного государства уведомление о возможности рассмотрения заявления на проведение процедур регистрации лекарственного препарата.

75. При получении уполномоченным органом референтного государства уведомления о возможности рассмотрения заявления на проведение процедур регистрации лекарственного препарата выполняется операция "Прием и обработка уведомления о возможности рассмотрения заявления" (P.MM.01.OPR.016), по результатам выполнения которой уполномоченным органом референтного государства принимается уведомление о возможности рассмотрения заявления на проведение процедур регистрации лекарственного препарата, формируется и направляется в уполномоченный орган государства признания уведомление о результатах обработки уведомления о возможности рассмотрения заявления на проведение процедур регистрации лекарственного препарата.

76. При получении уполномоченным органом государства признания уведомления о результатах обработки уведомления о возможности рассмотрения заявления на проведение процедур регистрации лекарственного препарата выполняется операция "Получение уведомления о результатах обработки сведений о возможности рассмотрения заявления" (P.MM.01.OPR.017).

77. Результатом выполнения процедуры "Уведомление о возможности рассмотрения заявления на проведение процедур регистрации лекарственного препарата" (P.MM.01.PRC.005) является получение уполномоченным органом государства признания уведомления о результатах обработки сведений о возможности рассмотрения заявления на проведение процедур регистрации лекарственного препарата.

78. Перечень операций общего процесса, выполняемых в рамках процедуры "Уведомление о возможности рассмотрения заявления на проведение процедур регистрации лекарственного препарата" (P.MM.01.PRC.005), приведен в таблице 30.

Таблица 30

Перечень операций общего процесса, выполняемых в рамках процедуры "Уведомление о возможности рассмотрения заявления на проведение процедур регистрации лекарственного препарата" (P.MM.01.PRC.005)

Кодовое обозначениеНаименованиеОписание
123
P.MM.01.OPR.015представление уведомления о возможности рассмотрения заявленияприведено в таблице 31 настоящих Правил
P.MM.01.OPR.016прием и обработка уведомления о возможности рассмотрения заявленияприведено в таблице 32 настоящих Правил
P.MM.01.OPR.017получение уведомления о результатах обработки сведений о возможности рассмотрения заявленияприведено в таблице 33 настоящих Правил

Таблица 31

Описание операции "Представление уведомления о возможности рассмотрения заявления" (P.MM.01.OPR.015)

N п/пОбозначение элементаОписание
123
1Кодовое обозначениеP.MM.01.OPR.015
2Наименование операциипредставление уведомления о возможности рассмотрения заявления
3Исполнительуполномоченный орган государства признания
4Условия выполнениявыполняется уполномоченным органом государства признания в случае:
поступления для рассмотрения заявления на проведение процедур регистрации лекарственного препарата;
выявления нарушений при проведении проверки полноты и (или) корректности представленных документов, а также в случае выявления нарушений, связанных с оплатой сбора (пошлины)
5Ограниченияформат и структура представляемых сведений должны соответствовать Описанию форматов и структур электронных документов и сведений
6Описание операцииисполнитель формирует уведомление о возможности рассмотрения заявления на проведение процедур регистрации лекарственного препарата и направляет его в уполномоченный орган референтного государства в соответствии с Регламентом информационного взаимодействия между уполномоченными органами государств-членов
7Результатыуполномоченному органу референтного государства направлено уведомление о возможности рассмотрения заявления на проведение процедур регистрации лекарственного препарата

Таблица 32

Описание операции "Прием и обработка уведомления о возможности рассмотрения заявления" (P.MM.01.OPR.016)

N п/пОбозначение элементаОписание
123
1Кодовое обозначениеP.MM.01.OPR.016
2Наименование операцииприем и обработка уведомления о возможности рассмотрения заявления
3Исполнительуполномоченный орган референтного государства
4Условия выполнениявыполняется при получении уполномоченным органом референтного государства уведомления о возможности рассмотрения заявления на проведение процедур регистрации лекарственного препарата (операция "Представление уведомления о возможности рассмотрения заявления" (P.MM.01.OPR.015))
5Ограниченияформат и структура представляемых сведений должны соответствовать Описанию форматов и структур электронных документов и сведений. Требуется авторизация, сведения представляются только уполномоченными органами государств-членов. Реквизиты электронного документа (сведений) должны соответствовать требованиям, предусмотренным Регламентом информационного взаимодействия между уполномоченными органами государств-членов
6Описание операцииисполнитель принимает уведомление о возможности рассмотрения заявления на проведение процедур регистрации лекарственного препарата и выполняет проверку в соответствии с Регламентом информационного взаимодействия между уполномоченными органами государств-членов.
В случае успешного выполнения проверки формирует и направляет уведомление о результатах обработки сведений о возможности рассмотрения заявления на проведение процедур регистрации лекарственного препарата в уполномоченный орган государства признания в соответствии с Регламентом информационного взаимодействия между уполномоченными органами государств-членов
7Результатыуведомление о возможности рассмотрения заявления на проведение процедур регистрации лекарственного препарата получено

Таблица 33

Описание операции "Получение уведомления о результатах обработки сведений о возможности рассмотрения заявления" (P.MM.01.OPR.017)

N п/пОбозначение элементаОписание
123
1Кодовое обозначениеP.MM.01.OPR.017
2Наименование операцииполучение уведомления о результатах обработки сведений о возможности рассмотрения заявления
3Исполнительуполномоченный орган государства признания
4Условия выполнениявыполняется при получении уполномоченным органом государства признания уведомления о результатах обработки сведений о возможности рассмотрения заявления на проведение процедур регистрации лекарственного препарата (операция "Прием и обработка уведомления о возможности рассмотрения заявления" (P.MM.01.OPR.016))
5Ограниченияформат и структура уведомления должны соответствовать Описанию форматов и структур электронных документов и сведений
6Описание операцииисполнитель получает уведомление о результатах обработки сведений о возможности рассмотрения заявления на проведение процедур регистрации лекарственного препарата в соответствии с Регламентом информационного взаимодействия между уполномоченными органами государств-членов
7Результатыуполномоченным органом государства признания получено уведомление о результатах обработки сведений о возможности рассмотрения заявления на проведение процедур регистрации лекарственного препарата

Процедура "Уведомление об изменении сведений о регистрации лекарственного препарата" (P.MM.01.PRC.006)

79. Схема выполнения процедуры "Уведомление об изменении сведений о регистрации лекарственного препарата" (P.MM.01.PRC.006) представлена на рисунке 15.

Рис. 15. Схема выполнения процедуры "Уведомление об изменении сведений о регистрации лекарственного препарата" (P.MM.01.PRC.006)

80. Процедура "Уведомление об изменении сведений о регистрации лекарственного препарата" (P.MM.01.PRC.006) выполняется уполномоченным органом референтного государства при непредставлении заявителем запрошенных документов в установленный срок при выполнении процедур регистрации, иных случаях, предусмотренных Правилами регистрации, в отношении необходимости уведомления уполномоченного органа государства признания уполномоченным органом референтного государства, а также при изменении состава документов регистрационного досье или регистрационного дела.

81. Первой выполняется операция "Направление уведомления об изменении сведений о регистрации лекарственного препарата" (P.MM.01.OPR.018), по результатам выполнения которой уполномоченным органом референтного государства формируется и представляется в уполномоченный орган государства признания уведомление об изменении сведений о регистрации лекарственного препарата.

82. При получении уполномоченным органом государства признания уведомления об изменении сведений о регистрации лекарственного препарата выполняется операция "Получение уведомления об изменении сведений о регистрации лекарственного препарата" (P.MM.01.OPR.019), по результатам выполнения которой уполномоченным органом государства признания принимается уведомление об изменении сведений о регистрации лекарственного препарата.

83. Результатом выполнения процедуры "Уведомление об изменении сведений о регистрации лекарственного препарата" (P.MM.01.PRC.006) является получение уполномоченным органом государства признания уведомления об изменении сведений о регистрации лекарственного препарата.

84. Перечень операций общего процесса, выполняемых в рамках процедуры "Уведомление об изменении сведений о регистрации лекарственного препарата" (P.MM.01.PRC.006), приведен в таблице 34.

Таблица 34

Перечень операций общего процесса, выполняемых в рамках процедуры "Уведомление об изменении сведений о регистрации лекарственного препарата" (P.MM.01.PRC.006)

Кодовое обозначениеНаименованиеОписание
123
P.MM.01.OPR.018направление уведомления об изменении сведений о регистрации лекарственного препаратаприведено в таблице 35 настоящих Правил
P.MM.01.OPR.019получение уведомления об изменении сведений о регистрации лекарственного препаратаприведено в таблице 36 настоящих Правил

Таблица 35

Описание операции "Направление уведомления об изменении сведений о регистрации лекарственного препарата" (P.MM.01.OPR.018)

N п/пОбозначение элементаОписание
123
1Кодовое обозначениеP.MM.01.OPR.018
2Наименование операциинаправление уведомления об изменении сведений о регистрации лекарственного препарата
3Исполнительуполномоченный орган референтного государства
4Условия выполнениявыполняется уполномоченным органом референтного государства при непредставлении заявителем запрошенных документов в установленный срок при выполнении процедур регистрации, иных случаях, предусмотренных Правилами регистрации, в случае необходимости уведомления уполномоченного органа государства признания уполномоченным органом референтного государства, а также при изменении состава документов регистрационного досье или регистрационного дела
5Ограниченияформат и структура представляемых сведений должны соответствовать Описанию форматов и структур электронных документов и сведений
6Описание операцииисполнитель формирует уведомление об изменении сведений о регистрации лекарственного препарата и направляет его в уполномоченный орган государства признания в соответствии с Регламентом информационного взаимодействия между уполномоченными органами государств-членов.
В случае принятия решения о прекращении процедур регистрации лекарственного препарата в уведомлении указывается причина прекращения процедур регистрации.
В случае изменения состава документов регистрационного дела или регистрационного досье в уведомлении указывается вид изменившегося документа регистрационного дела или регистрационного досье, а также номер заявления или порядковый номер регистрационного удостоверения
7Результатыуполномоченному органу государства признания направлено уведомление об изменении сведений о регистрации лекарственного препарата

Таблица 36

Описание операции "Получение уведомления об изменении сведений о регистрации лекарственного препарата" (P.MM.01.OPR.019)

N п/пОбозначение элементаОписание
123
1Кодовое обозначениеP.MM.01.OPR.019
2Наименование операцииполучение уведомления об изменении сведений о регистрации лекарственного препарата
3Исполнительуполномоченный орган государства признания
4Условия выполнениявыполняется при получении уполномоченным органом государства признания уведомления об изменении сведений о регистрации лекарственного препарата (операция "Направление уведомления об изменении сведений о регистрации лекарственного препарата" (P.MM.01.OPR.018))
5Ограниченияформат и структура представляемых сведений должны соответствовать Описанию форматов и структур электронных документов и сведений. Требуется авторизация, сведения представляются только уполномоченными органами государств-членов
6Описание операцииисполнитель получает уведомление об изменении сведений о регистрации лекарственного препарата в соответствии с Регламентом информационного взаимодействия между уполномоченными органами государств-членов
7Результатыуведомление об изменении сведений о регистрации лекарственного препарата получено

3. Процедуры получения сведений из единого реестра (P.MM.01.PGR.003)

Процедура "Получение информации о дате и времени обновления единого реестра" (P.MM.01.PRC.007)

85. Схема выполнения процедуры "Получение информации о дате и времени обновления единого реестра" (P.MM.01.PRC.007) представлена на рисунке 16.

Рис. 16. Схема выполнения процедуры "Получение информации о дате и времени обновления единого реестра" (P.MM.01.PRC.007)

86. Процедура "Получение информации о дате и времени обновления единого реестра" (P.MM.01.PRC.007) выполняется заинтересованным органом государства-члена при возникновении необходимости получения информации о дате и времени обновления единого реестра.

87. Первой выполняется операция "Запрос информации о дате и времени обновления единого реестра" (P.MM.01.OPR.020), по результатам выполнения которой заинтересованным органом государства-члена формируется и направляется в Комиссию запрос на представление информации о дате и времени обновления единого реестра.

88. При поступлении в Комиссию запроса на представление информации о дате и времени обновления единого реестра выполняется операция "Подготовка и представление информации о дате и времени обновления единого реестра" (P.MM.01.OPR.021), по результатам выполнения которой Комиссией формируется и представляется в заинтересованный орган государства-члена информация о дате и времени обновления единого реестра.

89. При поступлении в заинтересованный орган государства-члена информации о дате и времени обновления единого реестра выполняется операция "Прием и обработка информации о дате и времени обновления единого реестра" (P.MM.01.OPR.022).

90. Результатом выполнения процедуры "Получение информации о дате и времени обновления единого реестра" (P.MM.01.PRC.007) является получение заинтересованным органом государства-члена информации о дате и времени обновления единого реестра.

91. Перечень операций общего процесса, выполняемых в рамках процедуры "Получение информации о дате и времени обновления единого реестра" (P.MM.01.PRC.007), приведен в таблице 37.

Таблица 37

Перечень операций общего процесса, выполняемых в рамках процедуры "Получение информации о дате и времени обновления единого реестра" (P.MM.01.PRC.007)

Кодовое обозначениеНаименованиеОписание
123
P.MM.01.OPR.020запрос информации о дате и времени обновления единого реестраприведено в таблице 38 настоящих Правил
P.MM.01.OPR.021подготовка и представление информации о дате и времени обновления единого реестраприведено в таблице 39 настоящих Правил
P.MM.01.OPR.022прием и обработка информации о дате и времени обновления единого реестраприведено в таблице 40 настоящих Правил

Таблица 38

Описание операции "Запрос информации о дате и времени обновления единого реестра" (P.MM.01.OPR.020)

N п/пОбозначение элементаОписание
123
1Кодовое обозначениеP.MM.01.OPR.020
2Наименование операциизапрос информации о дате и времени обновления единого реестра
3Исполнительзаинтересованный орган государства-члена
4Условия выполнениявыполняется при возникновении необходимости получения заинтересованным органом государства-члена информации о дате и времени обновления единого реестра
5Ограниченияформат и структура представляемых сведений должны соответствовать Описанию форматов и структур электронных документов и сведений
6Описание операцииисполнитель направляет в Комиссию запрос на представление информации о дате и времени обновления единого реестра в соответствии с Регламентом информационного взаимодействия между уполномоченными органами государств-членов и Комиссией
7Результатызаинтересованным органом государства-члена направлен запрос на представление информации о дате и времени обновления единого реестра

Таблица 39

Описание операции "Подготовка и представление информации о дате и времени обновления единого реестра" (P.MM.01.OPR.021)

N п/пОбозначение элементаОписание
123
1Кодовое обозначениеP.MM.01.OPR.021
2Наименование операцииподготовка и представление информации о дате и времени обновления единого реестра
3ИсполнительКомиссия
4Условия выполнениявыполняется при получении Комиссией запроса на представление информации о дате и времени обновления единого реестра (операция "Запрос информации о дате и времени обновления единого реестра" (P.MM.01.OPR.020))
5Ограниченияформат и структура представляемых сведений должны соответствовать Описанию форматов и структур электронных документов и сведений. Требуется авторизация, сведения запрашиваются только заинтересованными органами государств-членов
6Описание операцииисполнитель выполняет проверку полученного запроса в соответствии с Регламентом информационного взаимодействия между уполномоченными органами государств-членов и Комиссией. В случае успешного выполнения проверки исполнитель направляет ответ на запрос в соответствии с Регламентом информационного взаимодействия между уполномоченными органами государств-членов и Комиссией
7Результатыинформация о дате и времени обновления единого реестра представлена заинтересованному органу государства-члена

Таблица 40

Описание операции "Прием и обработка информации о дате и времени обновления единого реестра" (P.MM.01.OPR.022)

N п/пОбозначение элементаОписание
123
1Кодовое обозначениеP.MM.01.OPR.022
2Наименование операцииприем и обработка информации о дате и времени обновления единого реестра
3Исполнительзаинтересованный орган государства-члена
4Условия выполнениявыполняется при представлении Комиссией информации о дате и времени обновления единого реестра (операция "Подготовка и представление информации о дате и времени обновления единого реестра" (P.MM.01.OPR.021))
5Ограниченияформат и структура представляемых сведений должны соответствовать Описанию форматов и структур электронных документов и сведений
6Описание операцииисполнитель выполняет проверку полученной информации о дате и времени обновления единого реестра в соответствии с Регламентом информационного взаимодействия между уполномоченными органами государств-членов и Комиссией
7Результатызаинтересованным органом государства-члена получена информация о дате и времени обновления единого реестра

Процедура "Получение актуальных сведений из единого реестра" (P.MM.01.PRC.008)

92. Схема выполнения процедуры "Получение актуальных сведений из единого реестра" (P.MM.01.PRC.008) представлена на рисунке 17.

Рис. 17. Схема выполнения процедуры "Получение актуальных сведений из единого реестра" (P.MM.01.PRC.008)

93. Процедура "Получение актуальных сведений из единого реестра" (P.MM.01.PRC.008) выполняется заинтересованным органом государства-члена при возникновении необходимости получения актуальных сведений из единого реестра.

94. Первой выполняется операция "Запрос актуальных сведений из единого реестра" (P.MM.01.OPR.023), по результатам выполнения которой заинтересованным органом государства-члена формируется и направляется в Комиссию запрос на представление актуальных сведений из единого реестра.

95. При поступлении в Комиссию запроса на представление актуальных сведений из единого реестра выполняется операция "Подготовка и представление актуальных сведений из единого реестра" (P.MM.01.OPR.024), по результатам выполнения которой Комиссией формируются и представляются в заинтересованный орган государства-члена актуальные сведения из единого реестра или уведомление о невозможности представления сведений, удовлетворяющих параметрам запроса.

96. При поступлении в заинтересованный орган государства-члена актуальных сведений из единого реестра или уведомления о невозможности представления сведений, удовлетворяющих параметрам запроса, выполняется операция "Прием и обработка актуальных сведений из единого реестра" (P.MM.01.OPR.025).

97. Результатом выполнения процедуры "Получение актуальных сведений из единого реестра" (P.MM.01.PRC.008) является получение заинтересованным органом государства-члена актуальных сведений из единого реестра или уведомления о невозможности представления сведений, удовлетворяющих параметрам запроса.

98. Перечень операций общего процесса, выполняемых в рамках процедуры "Получение актуальных сведений из единого реестра" (P.MM.01.PRC.008), приведен в таблице 41.

Таблица 41

Перечень операций общего процесса, выполняемых в рамках процедуры "Получение актуальных сведений из единого реестра" (P.MM.01.PRC.008)

Кодовое обозначениеНаименованиеОписание
123
P.MM.01.OPR.023запрос актуальных сведений из единого реестраприведено в таблице 42 настоящих Правил
P.MM.01.OPR.024подготовка и представление актуальных сведений из единого реестраприведено в таблице 43 настоящих Правил
P.MM.01.OPR.025прием и обработка актуальных сведений из единого реестраприведено в таблице 44 настоящих Правил

Таблица 42

Описание операции "Запрос актуальных сведений из единого реестра" (P.MM.01.OPR.023)

N п/пОбозначение элементаОписание
123
1Кодовое обозначениеP.MM.01.OPR.023
2Наименование операциизапрос актуальных сведений из единого реестра
3Исполнительзаинтересованный орган государства-члена
4Условия выполнениявыполняется при возникновении необходимости получения заинтересованным органом государства-члена актуальных сведений из единого реестра
5Ограниченияформат и структура запроса сведений должны соответствовать Описанию форматов и структур электронных документов и сведений
6Описание операцииисполнитель направляет в Комиссию запрос на представление актуальных сведений из единого реестра в соответствии с Регламентом информационного взаимодействия между уполномоченными органами государств-членов и Комиссией.
Исполнитель запрашивает актуальные сведения по всем государствам или по конкретному государству, указав в запросе код страны.
В запросе в реквизите "Дата и время обновления" указываются дата и время, на которые необходимо представить актуальные сведения. Если дата и время не указаны, то представляются сведения из единого реестра, актуальные на текущий момент.
В запросе может быть указана "Начальная дата и время", тогда в ответ будут включены только актуальные сведения, записанные в единый реестр после указанного момента.
В запросе может быть указана "Конечная дата и время", тогда в ответ будут включены только актуальные сведения, записанные в единый реестр до указанного момента.
В запросе может быть указана "Начальная дата и время" и "Конечная дата и время", тогда в ответ будут включены только актуальные сведения, записанные в единый реестр в указанный период.
Если в запросе не указаны "Начальная дата и время" и "Конечная дата и время", то ответ будет содержать все актуальные сведения
7Результатызаинтересованным органом государства-члена направлен запрос на представление актуальных сведений из единого реестра

Таблица 43

Описание операции "Подготовка и представление актуальных сведений из единого реестра" (P.MM.01.OPR.024)

N п/пОбозначение элементаОписание
123
1Кодовое обозначениеP.MM.01.OPR.024
2Наименование операцииподготовка и представление актуальных сведений из единого реестра
3ИсполнительКомиссия
4Условия выполнениявыполняется при получении Комиссией запроса на представление актуальных сведений из единого реестра (операция "Запрос актуальных сведений из единого реестра" (P.MM.01.OPR.023))
5Ограниченияформат и структура запроса и представляемых сведений должны соответствовать Описанию форматов и структур электронных документов и сведений. Требуется авторизация, сведения запрашиваются только заинтересованными органами государств-членов
6Описание операцииисполнитель выполняет проверку полученного запроса в соответствии с Регламентом информационного взаимодействия между уполномоченными органами государств-членов и Комиссией.
В случае успешного выполнения проверки исполнитель направляет ответ на запрос в соответствии с Регламентом информационного взаимодействия между уполномоченными органами государств-членов и Комиссией, в котором могут быть направлены сообщения:
со сведениями из единого реестра;
с уведомлением о невозможности представления сведений, удовлетворяющих параметрам запроса.
В случае если уведомление о невозможности представления сведений, удовлетворяющих параметрам запроса, формируется в связи с отсутствием в едином реестре сведений, удовлетворяющих параметрам запроса, в уведомлении указывается код результата обработки сведений, соответствующий отсутствию запрашиваемых сведений.
В случае если уведомление о невозможности представления сведений, удовлетворяющих параметрам запроса, формируется в связи с превышением запрошенными сведениями допустимого объема, в уведомлении указывается код результата обработки сведений, соответствующий невозможности представления запрашиваемых сведений, а реквизит "Описание" заполняется значением "превышение запрошенными сведениями допустимого объема"; заинтересованный орган государства-члена может разбить свой запрос на два (или более) новых запроса, указав в них дополнительные условия (например, код государства и/или начальную дату и время и/или конечную дату и время размещения сведений в реестре) таким образом, чтобы запрошенные сведения по каждому новому запросу не превышали допустимый объем и в совокупности соответствовали сведениям, сформированным в ответ на первоначальный запрос.
В ответных сообщениях представляются актуальные сведения из единого реестра на дату, указанную в запросе, то есть сведения, для которых начальная дата меньше указанной в запросе, а конечная дата больше указанной в запросе либо не задана.
В случае если в запросе указан код страны, то в ответном сообщении будут направлены сведения, представленные в единый реестр указанным государством
7Результатызаинтересованному органу государства-члена представлены актуальные сведения из единого реестра или уведомление о невозможности представления сведений, удовлетворяющих параметрам запроса

Таблица 44

Описание операции "Прием и обработка актуальных сведений из единого реестра" (P.MM.01.OPR.025)

N п/пОбозначение элементаОписание
123
1Кодовое обозначениеP.MM.01.OPR.025
2Наименование операцииприем и обработка актуальных сведений из единого реестра
3Исполнительзаинтересованный орган государства-члена
4Условия выполнениявыполняется при представлении Комиссией актуальных сведений из единого реестра или уведомления о невозможности представления сведений, удовлетворяющих параметрам запроса (операция "Подготовка и представление актуальных сведений из единого реестра" (P.MM.01.OPR.024))
5Ограниченияформат и структура представляемых сведений должны соответствовать Описанию форматов и структур электронных документов и сведений
6Описание операцииисполнитель выполняет проверку полученных сведений в соответствии с Регламентом информационного взаимодействия между уполномоченными органами государств-членов и Комиссией
7Результатыактуальные сведения из единого реестра или уведомление о невозможности представления сведений, удовлетворяющих параметрам запроса, получены

Процедура "Получение измененных сведений из единого реестра" (P.MM.01.PRC.009)

99. Схема выполнения процедуры "Получение измененных сведений из единого реестра" (P.MM.01.PRC.009) представлена на рисунке 18.

Рис. 18. Схема выполнения процедуры "Получение измененных сведений из единого реестра" (P.MM.01.PRC.009)

100. Процедура "Получение измененных сведений из единого реестра" (P.MM.01.PRC.009) выполняется заинтересованным органом государства-члена при возникновении необходимости получения измененных сведений из единого реестра.

101. Первой выполняется операция "Запрос измененных сведений из единого реестра" (P.MM.01.OPR.026), по результатам выполнения которой заинтересованным органом государства-члена формируется и направляется в Комиссию запрос на представление измененных сведений из единого реестра.

102. При поступлении в Комиссию запроса на представление измененных сведений из единого реестра выполняется операция "Подготовка и представление измененных сведений из единого реестра" (P.MM.01.OPR.027), по результатам выполнения которой Комиссией формируются и представляются в заинтересованный орган государства-члена измененные сведения из единого реестра или уведомление о невозможности представления сведений, удовлетворяющих параметрам запроса.

103. При поступлении в заинтересованный орган государства-члена измененных сведений из единого реестра или уведомления о невозможности представления сведений, удовлетворяющих параметрам запроса, выполняется операция "Прием и обработка измененных сведений из единого реестра" (P.MM.01.OPR.028).

104. Результатом выполнения процедуры "Получение измененных сведений из единого реестра" (P.MM.01.PRC.009) является получение заинтересованным органом государства-члена измененных сведений из единого реестра или уведомления о невозможности представления сведений, удовлетворяющих параметрам запроса.

105. Перечень операций общего процесса, выполняемых в рамках процедуры "Получение измененных сведений из единого реестра" (P.MM.01.PRC.009), приведен в таблице 45.

Таблица 45

Перечень операций общего процесса, выполняемых в рамках процедуры "Получение измененных сведений из единого реестра" (P.MM.01.PRC.009)

Кодовое обозначениеНаименованиеОписание
123
P.MM.01.OPR.026запрос измененных сведений из единого реестраприведено в таблице 46 настоящих Правил
P.MM.01.OPR.027подготовка и представление измененных сведений из единого реестраприведено в таблице 47 настоящих Правил
P.MM.01.OPR.028прием и обработка измененных сведений из единого реестраприведено в таблице 48 настоящих Правил

Таблица 46

Описание операции "Запрос измененных сведений из единого реестра" (P.MM.01.OPR.026)

N п/пОбозначение элементаОписание
123
1Кодовое обозначениеP.MM.01.OPR.026
2Наименование операциизапрос измененных сведений из единого реестра
3Исполнительзаинтересованный орган государства-члена
4Условия выполнениявыполняется при возникновении необходимости получения заинтересованным органом государства-члена измененных сведений из единого реестра
5Ограниченияформат и структура запроса сведений должны соответствовать Описанию форматов и структур электронных документов и сведений
6Описание операцииисполнитель направляет в Комиссию запрос на представление измененных сведений из единого реестра, начиная с даты и времени, указанных в запросе, в соответствии с Регламентом информационного взаимодействия между уполномоченными органами государств-членов и Комиссией. При необходимости представления сведений, добавленных или измененных в едином реестре в течение определенного периода времени, в запросе указывается соответствующий период времени. Для запроса измененных сведений единого реестра в полном объеме начальная и конечная дата и время не заполняются.
При возникновении необходимости запроса измененных сведений по конкретному государству в запросе указывается код страны. Для получения сведений по всем государствам код страны в запросе не указывается
7Результатызаинтересованным органом государства-члена направлен запрос на представление измененных сведений из единого реестра

Таблица 47

Описание операции "Подготовка и представление измененных сведений из единого реестра" (P.MM.01.OPR.027)

N п/пОбозначение элементаОписание
123
1Кодовое обозначениеP.MM.01.OPR.027
2Наименование операцииподготовка и представление измененных сведений из единого реестра
3ИсполнительКомиссия
4Условия выполнениявыполняется при получении Комиссией запроса на представление измененных сведений из единого реестра (операция "Запрос измененных сведений из единого реестра" (P.MM.01.OPR.026))
5Ограниченияформат и структура запроса и представляемых сведений должны соответствовать Описанию форматов и структур электронных документов и сведений. Требуется авторизация, сведения запрашиваются только заинтересованными органами государств-членов
6Описание операцииисполнитель выполняет проверку полученного запроса в соответствии с Регламентом информационного взаимодействия между уполномоченными органами государств-членов и Комиссией.
В случае успешного выполнения проверки исполнитель направляет ответ на запрос в соответствии с Регламентом информационного взаимодействия между уполномоченными органами государств-членов и Комиссией.
В ответ на запрос могут быть направлены сообщения: с добавленными и измененными сведениями из единого реестра, за период или начиная с даты и времени обновления, указанных в запросе; с уведомлением о невозможности представления сведений, удовлетворяющих параметрам запроса.
В случае если уведомление о невозможности представления сведений, удовлетворяющих параметрам запроса, формируется в связи с отсутствием в едином реестре сведений, удовлетворяющих параметрам запроса, в уведомлении указывается код результата обработки сведений, соответствующий отсутствию запрашиваемых сведений.
В случае если уведомление о невозможности представления сведений, удовлетворяющих параметрам запроса, формируется в связи с превышением запрошенными сведениями допустимого объема, в уведомлении указывается код результата обработки сведений, соответствующий невозможности представления запрашиваемых сведений, а реквизит "Описание" заполняется значением "превышение запрошенными сведениями допустимого объема"; заинтересованный орган государства-члена может разбить свой запрос на два (или более) новых запроса, указав в них дополнительные условия (например, код государства и/или начальную дату и время и/или конечную дату и время изменения сведений в реестре) таким образом, чтобы запрошенные сведения по каждому новому запросу не превышали допустимый объем и в совокупности соответствовали сведениям, сформированным в ответ на первоначальный запрос.
В случае если период времени изменения сведений в запросе не указан, представляются все сведения из единого реестра с историей их изменений.
В ответном сообщении измененные сведения из единого реестра представляются по всем государствам или по конкретному государству, представившему сведения в единый реестр. В результате выполнения запроса сведения из единого реестра представляются с учетом истории изменений
7Результатызаинтересованному органу государства-члена представлены измененные сведения из единого реестра или уведомление о невозможности представления сведений, удовлетворяющих параметрам запроса

Таблица 48

Описание операции "Прием и обработка измененных сведений из единого реестра" (P.MM.01.OPR.028)

N п/пОбозначение элементаОписание
123
1Кодовое обозначениеP.MM.01.OPR.028
2Наименование операцииприем и обработка измененных сведений из единого реестра
3Исполнительзаинтересованный орган государства-члена
4Условия выполнениявыполняется при получении заинтересованным органом государства-члена измененных сведений из единого реестра или уведомления о невозможности представления сведений, удовлетворяющих параметрам запроса (операция "Подготовка и представление измененных сведений из единого реестра" (P.MM.01.OPR.027))
5Ограниченияформат и структура представляемых сведений должны соответствовать Описанию форматов и структур электронных документов и сведений
6Описание операцииисполнитель выполняет проверку полученных сведений в соответствии с Регламентом информационного взаимодействия между уполномоченными органами государств-членов и Комиссией
7Результатызаинтересованным органом государства-члена получены измененные сведения из единого реестра или уведомление о невозможности представления сведений, удовлетворяющих параметрам запроса

Процедура "Получение сведений о регистрации лекарственного препарата из единого реестра" (P.MM.01.PRC.017)

106. Схема выполнения процедуры "Получение сведений о регистрации лекарственного препарата из единого реестра" (P.MM.01.PRC.017) представлена на рисунке 19.

Рис. 19. Схема выполнения процедуры "Получение сведений о регистрации лекарственного препарата из единого реестра" (P.MM.01.PRC.017)

107. Процедура "Получение сведений о регистрации лекарственного препарата из единого реестра" (P.MM.01.PRC.017) выполняется заинтересованным органом государства-члена при возникновении необходимости получения сведений о регистрации лекарственного средства по конкретному номеру заявления или порядковому номеру регистрационного удостоверения.

108. Первой выполняется операция "Запрос сведений о регистрации лекарственного средства" (P.MM.01.OPR.049), по результатам выполнения которой заинтересованным органом государства-члена формируется и направляется в Комиссию запрос о представлении сведений о регистрации лекарственного средства с указанием номера заявления или порядкового номера регистрационного удостоверения.

109. При поступлении в Комиссию запроса о представлении сведений о регистрации лекарственного средства выполняется операция "Представление сведений о регистрации лекарственного средства" (P.MM.01.OPR.050), по результатам выполнения которой Комиссией формируются и представляются в заинтересованный орган государства-члена сведения о регистрации лекарственного средства или уведомление об отсутствии сведений, удовлетворяющих параметрам запроса.

110. При поступлении в заинтересованный орган государства-члена сведений о регистрации лекарственного средства или уведомления об отсутствии сведений, удовлетворяющих параметрам запроса, выполняется операция "Получение и обработка сведений о регистрации лекарственного средства" (P.MM.01.OPR.051).

111. Результатом выполнения процедуры "Получение сведений о регистрации лекарственного препарата из единого реестра" (P.MM.01.PRC.017) является получение заинтересованным органом государства-члена сведений о регистрации лекарственного средства или уведомления об отсутствии сведений, удовлетворяющих параметрам запроса.

112. Перечень операций общего процесса, выполняемых в рамках процедуры "Получение сведений о регистрации лекарственного препарата из единого реестра" (P.MM.01.PRC.017), приведен в таблице 49.

Таблица 49

Перечень операций общего процесса, выполняемых в рамках процедуры "Получение сведений о регистрации лекарственного препарата из единого реестра" (P.MM.01.PRC.017)

Кодовое обозначениеНаименованиеОписание
123
P.MM.01.OPR.049запрос сведений о регистрации лекарственного средстваприведено в таблице 50 настоящих Правил
P.MM.01.OPR.050представление сведений о регистрации лекарственного средстваприведено в таблице 51 настоящих Правил
P.MM.01.OPR.051получение и обработка сведений о регистрации лекарственного средстваприведено в таблице 52 настоящих Правил

Таблица 50

Описание операции "Запрос сведений о регистрации лекарственного средства" (P.MM.01.OPR.049)

N п/пОбозначение элементаОписание
123
1Кодовое обозначениеP.MM.01.OPR.049
2Наименование операциизапрос сведений о регистрации лекарственного средства
3Исполнительзаинтересованный орган государства-члена
4Условия выполнениявыполняется для получения сведений о регистрации лекарственного средства по номеру заявления или порядковому номеру регистрационного удостоверения
5Ограниченияформат и структура запроса сведений должны соответствовать Описанию форматов и структур электронных документов и сведений
6Описание операцииисполнитель формирует и направляет в Комиссию запрос о представлении сведений о регистрации лекарственного средства в соответствии с Регламентом информационного взаимодействия между уполномоченными органами государств-членов и Комиссией. В запросе указывается номер заявления или порядковый номер регистрационного удостоверения
7Результатызаинтересованным органом государства-члена направлен в Комиссию запрос на представление сведений о регистрации лекарственного средств

Таблица 51

Описание операции "Представление сведений о регистрации лекарственного средства" (P.MM.01.OPR.050)

N п/пОбозначение элементаОписание
123
1Кодовое обозначениеP.MM.01.OPR.050
2Наименование операциипредставление сведений о регистрации лекарственного средства
3ИсполнительКомиссия
4Условия выполнениявыполняется при получении Комиссией запроса на представление сведений о регистрации лекарственного средства (операция "Запрос сведений о регистрации лекарственного средства" (P.MM.01.OPR.049))
5Ограниченияформат и структура запроса и представляемых сведений должны соответствовать Описанию форматов и структур электронных документов и сведений. Требуется авторизация, сведения запрашиваются только заинтересованными органами государств-членов
6Описание операцииисполнитель выполняет проверку полученного запроса в соответствии с Регламентом информационного взаимодействия между уполномоченными органами государств-членов и Комиссией.
В случае успешного выполнения проверки исполнитель направляет ответ на запрос в соответствии с Регламентом информационного взаимодействия между уполномоченными органами государств-членов и Комиссией, в котором может быть направлено сообщение со сведениями о регистрации лекарственного средства или уведомление об отсутствии сведений, удовлетворяющих параметрам запроса
7Результатызаинтересованному органу государства-члена представлены сведения о регистрации лекарственного средства или уведомление об отсутствии сведений, удовлетворяющих параметрам запроса

Таблица 52

Описание операции "Получение и обработка сведений о регистрации лекарственного средства" (P.MM.01.OPR.051)

N п/пОбозначение элементаОписание
123
1Кодовое обозначениеP.MM.01.OPR.051
2Наименование операцииполучение и обработка сведений о регистрации лекарственного средства
3Исполнительзаинтересованный орган государства-члена
4Условия выполнениявыполняется при представлении Комиссией сведений о регистрации лекарственного средства или уведомления об отсутствии сведений, удовлетворяющих параметрам запроса (операция "Представление сведений о регистрации лекарственного средства" (P.MM.01.OPR.050))
5Ограниченияформат и структура представляемых сведений должны соответствовать Описанию форматов и структур электронных документов и сведений
6Описание операцииисполнитель получает и выполняет обработку сведений о регистрации лекарственного средства в соответствии с Регламентом информационного взаимодействия между уполномоченными органами государств-членов и Комиссией
7Результатысведения о регистрации лекарственного средства или уведомление об отсутствии сведений, удовлетворяющих параметрам запроса, получены

Процедура "Получение сведений о размещенном в едином реестре документе" (P.MM.01.PRC.018)

113. Схема выполнения процедуры "Получение сведений о размещенном в едином реестре документе" (P.MM.01.PRC.018) представлена на рисунке 20.

Рис. 20. Схема выполнения процедуры "Получение сведений о размещенном в едином реестре документе" (P.MM.01.PRC.018)

114. Процедура "Получение сведений о размещенном в едином реестре документе" (P.MM.01.PRC.018) выполняется заинтересованным органом государства-члена при возникновении необходимости получения сведений о размещенном в едином реестре документе, в том числе после выполнения процедур "Получение актуальных сведений из единого реестра" (P.MM.01.PRC.008), "Получение измененных сведений из единого реестра" (P.MM.01.PRC.009) или "Получение сведений о регистрации лекарственного препарата из единого реестра" (P.MM.01.PRC.017).

115. Первой выполняется операция "Запрос сведений о размещенном в едином реестре документе" (P.MM.01.OPR.052), по результатам выполнения которой заинтересованным органом государства-члена формируется и направляется в Комиссию запрос о представлении сведений.

116. При поступлении в Комиссию запроса о представлении сведений о размещенном в едином реестре документе выполняется операция "Представление сведений о размещенном в едином реестре документе" (P.MM.01.OPR.053), по результатам выполнения которой Комиссией формируются и представляются в заинтересованный орган государства-члена сведения о размещенном в едином реестре документе или уведомление о невозможности представления сведений, удовлетворяющих параметрам запроса.

117. При поступлении в заинтересованный орган государства-члена сведений о размещенном в едином реестре документе или уведомления о невозможности представления сведений, удовлетворяющих параметрам запроса, выполняется операция "Прием и обработка сведений о размещенном в едином реестре документе" (P.MM.01.OPR.054).

118. Результатом выполнения процедуры "Получение сведений о размещенном в едином реестре документе" (P.MM.01.PRC.018) является получение заинтересованным органом государства-члена сведений о размещенном в едином реестре документе или уведомления о невозможности представления сведений, удовлетворяющих параметрам запроса.

119. Перечень операций общего процесса, выполняемых в рамках процедуры "Получение сведений о размещенном в едином реестре документе" (P.MM.01.PRC.018), приведен в таблице 53.

Таблица 53

Перечень операций общего процесса, выполняемых в рамках процедуры "Получение сведений о размещенном в едином реестре документе" (P.MM.01.PRC.018)

Кодовое обозначениеНаименованиеОписание
123
P.MM.01.OPR.052запрос сведений о размещенном в едином реестре документеприведено в таблице 54 настоящих Правил
P.MM.01.OPR.053представление сведений о размещенном в едином реестре документеприведено в таблице 55 настоящих Правил
P.MM.01.OPR.054прием и обработка сведений о размещенном в едином реестре документеприведено в таблице 56 настоящих Правил

Таблица 54

Описание операции "Запрос сведений о размещенном в едином реестре документе" (P.MM.01.OPR.052)

N п/пОбозначение элементаОписание
123
1Кодовое обозначениеP.MM.01.OPR.052
2Наименование операциизапрос сведений о размещенном в едином реестре документе
3Исполнительзаинтересованный орган государства-члена
4Условия выполнениявыполняется при возникновении необходимости получения заинтересованным органом государства-члена сведений о размещенном в едином реестре документе
5Ограниченияформат и структура запроса сведений должны соответствовать Описанию форматов и структур электронных документов и сведений
6Описание операцииисполнитель направляет в Комиссию запрос о представлении сведений о размещенном в едином реестре документе в соответствии с Регламентом информационного взаимодействия между уполномоченными органами государств-членов и Комиссией.
В запросе указывается уникальный идентификатор документа
7Результатызаинтересованным органом государства-члена направлен запрос в Комиссию на представление сведений о размещенном в едином реестре документе

Таблица 55

Описание операции "Представление сведений о размещенном в едином реестре документе" (P.MM.01.OPR.053)

N п/пОбозначение элементаОписание
123
1Кодовое обозначениеP.MM.01.OPR.053
2Наименование операциипредставление сведений о размещенном в едином реестре документе
3ИсполнительКомиссия
4Условия выполнениявыполняется при получении Комиссией запроса на представление сведений из о размещенном в едином реестре документе (операция "Запрос сведений о размещенном в едином реестре документе" (P.MM.01.OPR.052))
5Ограниченияформат и структура запроса и представляемых сведений должны соответствовать Описанию форматов и структур электронных документов и сведений. Требуется авторизация, сведения запрашиваются только заинтересованными органами государств-членов
6Описание операцииисполнитель выполняет проверку полученного запроса в соответствии с Регламентом информационного взаимодействия между уполномоченными органами государств-членов и Комиссией.
В случае успешного выполнения проверки исполнитель направляет ответ на запрос в соответствии с Регламентом информационного взаимодействия между уполномоченными органами государств-членов и Комиссией, в котором могут быть направлены сообщения:
со сведениями о размещенном в едином реестре документе;
или с уведомлением о невозможности представления сведений, удовлетворяющих параметрам запроса.
В случае если уведомление о невозможности представления сведений, удовлетворяющих параметрам запроса, формируется в связи с отсутствием в едином реестре сведений, удовлетворяющих параметрам запроса, в уведомлении указывается код результата обработки сведений, соответствующий отсутствию запрашиваемых сведений.
В случае если уведомление о невозможности представления сведений, удовлетворяющих параметрам запроса, формируется в связи с отсутствием у заинтересованного органа государства-члена права получения запрошенного документа, в уведомлении указывается код результата обработки сведений, соответствующий невозможности представления запрашиваемых сведений, а реквизит "Описание" заполняется значением "отсутствует право получения запрошенных сведений"
7Результатызаинтересованному органу государства-члена представлены сведения о размещенном в едином реестре документе или уведомление о невозможности представления сведений, удовлетворяющих параметрам запроса

Таблица 56

Описание операции "Прием и обработка сведений о размещенном в едином реестре документе" (P.MM.01.OPR.054)

N п/пОбозначение элементаОписание
123
1Кодовое обозначениеP.MM.01.OPR.054
2Наименование операцииприем и обработка сведений о размещенном в едином реестре документе
3Исполнительзаинтересованный орган государства-члена
4Условия выполнениявыполняется при представлении Комиссией сведений о размещенном в едином реестре документе или уведомления о невозможности представления сведений, удовлетворяющих параметрам запроса (операция "Представление сведений о размещенном в едином реестре документе" (P.MM.01.OPR.053))
5Ограниченияформат и структура представляемых сведений должны соответствовать Описанию форматов и структур электронных документов и сведений
6Описание операцииисполнитель получает и выполняет обработку сведений в соответствии с Регламентом информационного взаимодействия между уполномоченными органами государств-членов и Комиссией
7Результатысведения о размещенном в едином реестре документе или уведомление о невозможности представления сведений, удовлетворяющих параметрам запроса, получены

4. Процедуры взаимодействия с Комиссией при рассмотрении заявления (P.MM.01.PGR.004)

Процедура "Получение порядкового номера регистрационного удостоверения" (P.MM.01.PRC.010)

120. Схема выполнения процедуры "Получение порядкового номера регистрационного удостоверения" (P.MM.01.PRC.010) представлена на рисунке 21.

Рис. 21. Схема выполнения процедуры "Получение порядкового номера регистрационного удостоверения" (P.MM.01.PRC.010)

121. Процедура "Получение порядкового номера регистрационного удостоверения" (P.MM.01.PRC.010) выполняется уполномоченным органом референтного государства при принятии положительного решения о регистрации лекарственного препарата.

122. Первой выполняется операция "Запрос порядкового номера регистрационного удостоверения" (P.MM.01.OPR.029), по результатам выполнения которой уполномоченным органом референтного государства формируется и направляется в Комиссию запрос на представление порядкового номера регистрационного удостоверения.

123. При получении Комиссией запроса на представление порядкового номера регистрационного удостоверения выполняется операция "Подготовка и представление порядкового номера регистрационного удостоверения" (P.MM.01.OPR.030), по результатам выполнения которой Комиссия направляет порядковый номер регистрационного удостоверения уполномоченному органу референтного государства.

124. При получении уполномоченным органом референтного государства порядкового номера регистрационного удостоверения выполняется операция "Прием и обработка порядкового номера регистрационного удостоверения" (P.MM.01.OPR.031), по результатам выполнения которой уполномоченный орган референтного государства получает порядковый номер регистрационного удостоверения.

125. Результатом выполнения процедуры "Получение порядкового номера регистрационного удостоверения" (P.MM.01.PRC.010) является получение уполномоченным органом референтного государства порядкового номера регистрационного удостоверения.

126. Перечень операций общего процесса, выполняемых в рамках процедуры "Получение порядкового номера регистрационного удостоверения" (P.MM.01.PRC.010), приведен в таблице 57.

Таблица 57

Перечень операций общего процесса, выполняемых в рамках процедуры "Получение порядкового номера регистрационного удостоверения" (P.MM.01.PRC.010)

Кодовое обозначениеНаименованиеОписание
123
P.MM.01.OPR.029запрос порядкового номера регистрационного удостоверенияприведено в таблице 58 настоящих Правил
P.MM.01.OPR.030подготовка и представление порядкового номера регистрационного удостоверенияприведено в таблице 59 настоящих Правил
P.MM.01.OPR.031прием и обработка порядкового номера регистрационного удостоверенияприведено в таблице 60 настоящих Правил

Таблица 58

Описание операции "Запрос порядкового номера регистрационного удостоверения" (P.MM.01.OPR.029)

N п/пОбозначение элементаОписание
123
1Кодовое обозначениеP.MM.01.OPR.029
2Наименование операциизапрос порядкового номера регистрационного удостоверения
3Исполнительуполномоченный орган референтного государства
4Условия выполнениявыполняется при принятии исполнителем решения о регистрации лекарственного препарата
5Ограниченияформат и структура запроса сведений должны соответствовать Описанию форматов и структур электронных документов и сведений
6Описание операцииисполнитель направляет в Комиссию запрос на представление порядкового номера регистрационного удостоверения в соответствии с Регламентом информационного взаимодействия между уполномоченными органами государств-членов и Комиссией
7Результатыуполномоченным органом референтного государства направлен запрос на представление порядкового номера регистрационного удостоверения

Таблица 59

Описание операции "Подготовка и представление порядкового номера регистрационного удостоверения" (P.MM.01.OPR.030)

N п/пОбозначение элементаОписание
123
1Кодовое обозначениеP.MM.01.OPR.030
2Наименование операцииподготовка и представление порядкового номера регистрационного удостоверения
3ИсполнительКомиссия
4Условия выполнениявыполняется при получении исполнителем запроса на представление порядкового номера регистрационного удостоверения (операция "Запрос порядкового номера регистрационного удостоверения" (P.MM.01.OPR.029))
5Ограниченияформат и структура представляемых сведений должны соответствовать Описанию форматов и структур электронных документов и сведений. Требуется авторизация, сведения запрашиваются только уполномоченными органами государств-членов. Реквизиты электронного документа (сведений) должны соответствовать требованиям, предусмотренным Регламентом информационного взаимодействия между уполномоченными органами государств-членов и Комиссией
6Описание операцииисполнитель выполняет проверку полученного запроса на представление порядкового номера регистрационного удостоверения в соответствии с Регламентом информационного взаимодействия между уполномоченными органами государств-членов и Комиссией.
В случае успешного выполнения проверки исполнитель направляет ответ на запрос порядкового номера регистрационного удостоверения в соответствии с Регламентом информационного взаимодействия между уполномоченными органами государств-членов и Комиссией
7Результатыуполномоченному органу референтного государства представлен порядковый номер регистрационного удостоверения

Таблица 60

Описание операции "Прием и обработка порядкового номера регистрационного удостоверения" (P.MM.01.OPR.031)

N п/пОбозначение элементаОписание
123
1Кодовое обозначениеP.MM.01.OPR.031
2Наименование операцииприем и обработка порядкового номера регистрационного удостоверения
3Исполнительуполномоченный орган референтного государства
4Условия выполнениявыполняется при представлении порядкового номера регистрационного удостоверения (операция "Подготовка и представление порядкового номера регистрационного удостоверения" (P.MM.01.OPR.030))
5Ограниченияформат и структура представляемых сведений должны соответствовать Описанию форматов и структур электронных документов и сведений
6Описание операцииисполнитель выполняет проверку полученных сведений в соответствии с Регламентом информационного взаимодействия между уполномоченными органами государств-членов и Комиссией
7Результатыуполномоченным органом референтного государства получен порядковый номер регистрационного удостоверения

Процедура "Получение Комиссией сведений из регистрационного дела или регистрационного досье" (P.MM.01.PRC.011)

127. Схема выполнения процедуры "Получение Комиссией сведений из регистрационного дела или регистрационного досье" (P.MM.01.PRC.011) представлена на рисунке 22.

Рис. 22. Схема выполнения процедуры "Получение Комиссией сведений из регистрационного дела или регистрационного досье" (P.MM.01.PRC.011)

128. Процедура "Получение Комиссией сведений из регистрационного дела или регистрационного досье" (P.MM.01.PRC.011) выполняется при возникновении необходимости получения Комиссией сведений из регистрационного дела или регистрационного досье при урегулировании разногласий в случае невозможности признания экспертного отчета государством признания на экспертном комитете.

129. Первой выполняется операция "Запрос Комиссией сведений из регистрационного дела или регистрационного досье" (P.MM.01.OPR.032), по результатам выполнения которой Комиссией формируется и направляется в уполномоченный орган государства-члена запрос на представление сведений из регистрационного дела или регистрационного досье.

130. При поступлении в уполномоченный орган государства-члена запроса на представление сведений из регистрационного дела или регистрационного досье выполняется операция "Подготовка и представление в Комиссию сведений из регистрационного дела или регистрационного досье" (P.MM.01.OPR.033), по результатам выполнения которой уполномоченным органом государства-члена формируются и представляются в Комиссию сведения из регистрационного дела или регистрационного досье, или уведомление об отсутствии сведений, удовлетворяющих параметрам запроса.

131. При поступлении в Комиссию сведений из регистрационного дела или регистрационного досье или уведомления об отсутствии сведений, удовлетворяющих параметрам запроса, выполняется операция "Прием и обработка Комиссией сведений из регистрационного дела или регистрационного досье" (P.MM.01.OPR.034).

132. Результатом выполнения процедуры "Получение Комиссией сведений из регистрационного дела или регистрационного досье" (P.MM.01.PRC.011) является получение Комиссией сведений из регистрационного дела или регистрационного досье или уведомления об отсутствии сведений, удовлетворяющих параметрам запроса.

133. Перечень операций общего процесса, выполняемых в рамках процедуры "Получение Комиссией сведений из регистрационного дела или регистрационного досье" (P.MM.01.PRC.011), приведен в таблице 61.

Таблица 61

Перечень операций общего процесса, выполняемых в рамках процедуры "Получение Комиссией сведений из регистрационного дела или регистрационного досье" (P.MM.01.PRC.011)

Кодовое обозначениеНаименованиеОписание
123
P.MM.01.OPR.032запрос Комиссией сведений из регистрационного дела или регистрационного досьеприведено в таблице 62 настоящих Правил
P.MM.01.OPR.033подготовка и представление в Комиссию сведений из регистрационного дела или регистрационного досьеприведено в таблице 63 настоящих Правил
P.MM.01.OPR.034прием и обработка Комиссией сведений из регистрационного дела или регистрационного досьеприведено в таблице 64 настоящих Правил

Таблица 62

Описание операции "Запрос Комиссией сведений из регистрационного дела или регистрационного досье" (P.MM.01.OPR.032)

N п/пОбозначение элементаОписание
123
1Кодовое обозначениеP.MM.01.OPR.032
2Наименование операциизапрос Комиссией сведений из регистрационного дела или регистрационного досье
3ИсполнительКомиссия
4Условия выполнениявыполняется Комиссией при возникновении необходимости получения сведений из регистрационного дела или регистрационного досье
5Ограниченияформат и структура запроса сведений должны соответствовать Описанию форматов и структур электронных документов и сведений
6Описание операцииисполнитель направляет в уполномоченный орган государства-члена запрос на представление сведений из регистрационного дела или регистрационного досье в соответствии с Регламентом информационного взаимодействия между уполномоченными органами государств-членов и Комиссией
7Результатыуполномоченному органу государства-члена направлен запрос на представление сведений из регистрационного дела или регистрационного досье

Таблица 63

Описание операции "Подготовка и представление в Комиссию сведений из регистрационного дела или регистрационного досье" (P.MM.01.OPR.033)

N п/пОбозначение элементаОписание
123
1Кодовое обозначениеP.MM.01.OPR.033
2Наименование операцииподготовка и представление в Комиссию сведений из регистрационного дела или регистрационного досье
3Исполнительуполномоченный орган государства-члена
4Условия выполнениявыполняется при получении уполномоченным органом государства-члена запроса на представление сведений из регистрационного дела или регистрационного досье (операция "Запрос Комиссией сведений из регистрационного дела или регистрационного досье" (P.MM.01.OPR.032))
5Ограниченияформат и структура представляемых сведений должны соответствовать Описанию форматов и структур электронных документов и сведений. Требуется авторизация, сведения представляются только уполномоченными органами государств-членов. Реквизиты электронного документа (сведений) должны соответствовать требованиям, предусмотренным Регламентом информационного взаимодействия между уполномоченными органами государств-членов и Комиссией
6Описание операцииисполнитель выполняет проверку полученного запроса в соответствии с Регламентом информационного взаимодействия между уполномоченными органами государств-членов и Комиссией. В случае успешного выполнения проверки исполнитель направляет ответ на запрос со сведениями из регистрационного дела или регистрационного досье или уведомление об отсутствии сведений, удовлетворяющих параметрам запроса, со значением кода результата обработки, соответствующим отсутствию сведений, в соответствии с Регламентом информационного взаимодействия между уполномоченными органами государств-членов и Комиссией
7Результатысведения из регистрационного дела или регистрационного досье или уведомление об отсутствии сведений, удовлетворяющих параметрам запроса, направлены в Комиссию

Таблица 64

Описание операции "Прием и обработка Комиссией сведений из регистрационного дела или регистрационного досье" (P.MM.01.OPR.034)

N п/пОбозначение элементаОписание
123
1Кодовое обозначениеP.MM.01.OPR.034
2Наименование операцииприем и обработка Комиссией сведений из регистрационного дела или регистрационного досье
3ИсполнительКомиссия
4Условия выполнениявыполняется при представлении в Комиссию сведений из регистрационного дела или регистрационного досье или уведомления об отсутствии сведений, удовлетворяющих параметрам запроса (операция "Подготовка и представление в Комиссию сведений из регистрационного дела или регистрационного досье" (P.MM.01.OPR.033))
5Ограниченияформат и структура представляемых сведений должны соответствовать Описанию форматов и структур электронных документов и сведений
6Описание операцииисполнитель получает сведения из регистрационного дела или регистрационного досье, либо уведомление об отсутствии сведений, удовлетворяющих параметрам запроса, в соответствии с Регламентом информационного взаимодействия между уполномоченными органами государств-членов и Комиссией
7Результатысведения из регистрационного дела или регистрационного досье или уведомление об отсутствии сведений, удовлетворяющих параметрам запроса, получены Комиссией

Процедура "Направление заключения о невозможности признания экспертного отчета" (P.MM.01.PRC.020)

134. Схема выполнения процедуры "Направление заключения о невозможности признания экспертного отчета" (P.MM.01.PRC.020) представлена на рисунке 23.

Рис. 23. Схема выполнения процедуры "Направление заключения о невозможности признания экспертного отчета" (P.MM.01.PRC.020)

135. Процедура "Направление заключения о невозможности признания экспертного отчета" (P.MM.01.PRC.020) выполняется в случае невозможности признания уполномоченным органом государства признания экспертного отчета, подготовленного экспертной организацией референтного государства.

136. Первой выполняется операция "Направление заключения о невозможности признания экспертного отчета" (P.MM.01.OPR.058), по результатам выполнения которой уполномоченным органом государства признания формируется и представляется в Комиссию заключение о невозможности признания экспертного отчета.

137. При поступлении в Комиссию заключения о невозможности признания экспертного отчета выполняется операция "Получение заключения о невозможности признания экспертного отчета" (P.MM.01.OPR.059), по результатам выполнения которой Комиссия получает заключение о невозможности признания экспертного отчета от уполномоченного органа государства признания и направляет ему уведомление о результатах обработки полученного заключения.

138. При поступлении в уполномоченный орган государства признания уведомления о результатах обработки полученного заключения выполняется операция "Получение и обработка уведомления о результатах обработки заключения о невозможности признания экспертного отчета" (P.MM.01.OPR.060).

139. Результатом выполнения процедуры "Направление заключения о невозможности признания экспертного отчета" (P.MM.01.PRC.020) является получение Комиссией заключения о невозможности признания экспертного отчета.

140. Перечень операций общего процесса, выполняемых в рамках процедуры "Направление заключения о невозможности признания экспертного отчета" (P.MM.01.PRC.020), приведен в таблице 65.

Таблица 65

Перечень операций общего процесса, выполняемых в рамках процедуры "Направление заключения о невозможности признания экспертного отчета" (P.MM.01.PRC.020)

Кодовое обозначениеНаименованиеОписание
123
P.MM.01.OPR.058направление заключения о невозможности признания экспертного отчетаприведено в таблице 66 настоящих Правил
P.MM.01.OPR.059получение заключения о невозможности признания экспертного отчетаприведено в таблице 67 настоящих Правил
P.MM.01.OPR.060получение и обработка уведомления о результатах обработки заключения о невозможности признания экспертного отчетаприведено в таблице 68 настоящих Правил

Таблица 66

Описание операции "Направление заключения о невозможности признания экспертного отчета" (P.MM.01.OPR.058)

N п/пОбозначение элементаОписание
123
1Кодовое обозначениеP.MM.01.OPR.058
2Наименование операциинаправление заключения о невозможности признания экспертного отчета
3Исполнительуполномоченный орган государства признания
4Условия выполнениявыполняется в случае невозможности признания уполномоченным органом государства признания экспертного отчета, подготовленного экспертной организацией референтного государства
5Ограниченияформат и структура направляемых сведений должны соответствовать Описанию форматов и структур электронных документов и сведений
6Описание операцииисполнитель формирует заключение о невозможности признания экспертного отчета, предназначенное для передачи в Комиссию в соответствии с Регламентом информационного взаимодействия между уполномоченными органами государств-членов и Комиссией, и направляет его в Комиссию
7Результатызаключение о невозможности признания экспертного отчета направлено в Комиссию

Таблица 67

Описание операции "Получение заключения о невозможности признания экспертного отчета" (P.MM.01.OPR.059)

N п/пОбозначение элементаОписание
123
1Кодовое обозначениеP.MM.01.OPR.059
2Наименование операцииполучение заключения о невозможности признания экспертного отчета
3ИсполнительКомиссия
4Условия выполнениявыполняется при направлении уполномоченным органом государства признания заключения о невозможности признания экспертного отчета (операция "Направление заключения о невозможности признания экспертного отчета" (P.MM.01.OPR.058))
5Ограниченияформат и структура представляемых сведений должны соответствовать Описанию форматов и структур электронных документов и сведений. Требуется авторизация, сведения представляются только уполномоченными органами государств-членов. Реквизиты электронного документа (сведений) должны соответствовать требованиям, предусмотренным Регламентом информационного взаимодействия между уполномоченными органами государств-членов и Комиссией
6Описание операцииисполнитель принимает заключение о невозможности признания экспертного отчета, выполняет его обработку в соответствии с Регламентом информационного взаимодействия между уполномоченными органами государств-членов и Комиссией, и направляет в уполномоченный орган государства признания уведомление о результатах обработки
7Результатызаключение о невозможности признания экспертного отчета обработано, уведомление о результатах обработки направлено в уполномоченный орган государства признания

Таблица 68

Описание операции "Получение и обработка уведомления о результатах обработки заключения о невозможности признания экспертного отчета" (P.MM.01.OPR.060)

N п/пОбозначение элементаОписание
123
1Кодовое обозначениеP.MM.01.OPR.060
2Наименование операцииполучение и обработка уведомления о результатах обработки заключения о невозможности признания экспертного отчета
3Исполнительуполномоченный орган государства признания
4Условия выполнениявыполняется при получении исполнителем сообщения, содержащего сведения о результатах обработки заключения о невозможности признания экспертного отчета (операция "Получение заключения о невозможности признания экспертного отчета" (P.MM.01.OPR.059))
5Ограниченияформат и структура представляемых сведений должны соответствовать Описанию форматов и структур электронных документов и сведений
6Описание операцииисполнитель получает уведомление о результатах обработки заключения о невозможности признания экспертного отчета в соответствии с Регламентом информационного взаимодействия между уполномоченными органами государств-членов и Комиссией
7Результатыполучено уведомление о результатах обработки заключения о невозможности признания экспертного отчета

Процедура "Получение Комиссией документа из регистрационного дела или регистрационного досье" (P.MM.01.PRC.021)

141. Схема выполнения процедуры "Получение Комиссией документа из регистрационного дела или регистрационного досье" (P.MM.01.PRC.021) представлена на рисунке 24.

Рис. 24. Схема выполнения процедуры "Получение Комиссией документа из регистрационного дела или регистрационного досье" (P.MM.01.PRC.021)

142. Процедура "Получение Комиссией документа из регистрационного дела или регистрационного досье" (P.MM.01.PRC.021) выполняется при необходимости получения Комиссией документа из регистрационного дела или регистрационного досье, в том числе после выполнения процедуры "Получение Комиссией сведений из регистрационного дела или регистрационного досье" (P.MM.01.PRC.011).

143. Первой выполняется операция "Запрос Комиссией документа из регистрационного дела или регистрационного досье" (P.MM.01.OPR.061), по результатам выполнения которой Комиссией формируется и направляется в уполномоченный орган государства-члена запрос на представление документа из регистрационного дела или регистрационного досье.

144. При поступлении в уполномоченный орган государства-члена запроса на представление документа из регистрационного дела или регистрационного досье выполняется операция "Подготовка и представление в Комиссию документа из регистрационного дела или регистрационного досье" (P.MM.01.OPR.062), по результатам выполнения которой уполномоченным органом государства-члена формируется и представляется в Комиссию документ из регистрационного дела или регистрационного досье, или уведомление об отсутствии сведений, удовлетворяющих параметрам запроса.

145. При поступлении в Комиссию документа из регистрационного дела или регистрационного досье или уведомления об отсутствии сведений, удовлетворяющих параметрам запроса, выполняется операция "Прием и обработка Комиссией документа из регистрационного дела или регистрационного досье" (P.MM.01.OPR.063).

146. Результатом выполнения процедуры "Получение Комиссией документа из регистрационного дела или регистрационного досье" (P.MM.01.PRC.021) является получение Комиссией документа из регистрационного дела или регистрационного досье или уведомления об отсутствии сведений, удовлетворяющих параметрам запроса.

147. Перечень операций общего процесса, выполняемых в рамках процедуры "Получение Комиссией документа из регистрационного дела или регистрационного досье" (P.MM.01.PRC.021), приведен в таблице 69.

Таблица 69

Перечень операций общего процесса, выполняемых в рамках процедуры "Получение Комиссией документа из регистрационного дела или регистрационного досье" (P.MM.01.PRC.021)

Кодовое обозначениеНаименованиеОписание
123
P.MM.01.OPR.061запрос Комиссией документа из регистрационного дела или регистрационного досьеприведено в таблице 70 настоящих Правил
P.MM.01.OPR.062подготовка и представление в Комиссию документа из регистрационного дела или регистрационного досьеприведено в таблице 71 настоящих Правил
P.MM.01.OPR.063прием и обработка Комиссией документа из регистрационного дела или регистрационного досьеприведено в таблице 72 настоящих Правил

Таблица 70

Описание операции "Запрос Комиссией документа из регистрационного дела или регистрационного досье" (P.MM.01.OPR.061)

N п/пОбозначение элементаОписание
123
1Кодовое обозначениеP.MM.01.OPR.061
2Наименование операциизапрос Комиссией документа из регистрационного дела или регистрационного досье
3ИсполнительКомиссия
4Условия выполнениявыполняется Комиссией при необходимости получения документа из регистрационного дела или регистрационного досье
5Ограниченияформат и структура запроса сведений должны соответствовать Описанию форматов и структур электронных документов и сведений
6Описание операцииисполнитель направляет в уполномоченный орган государства-члена запрос на представление документа из регистрационного дела или регистрационного досье в соответствии с Регламентом информационного взаимодействия между уполномоченными органами государств-членов и Комиссией
7Результатыуполномоченному органу государства-члена направлен запрос на представление документа из регистрационного дела или регистрационного досье

Таблица 71

Описание операции "Подготовка и представление в Комиссию документа из регистрационного дела или регистрационного досье" (P.MM.01.OPR.062)

N п/пОбозначение элементаОписание
123
1Кодовое обозначениеP.MM.01.OPR.062
2Наименование операцииподготовка и представление в Комиссию документа из регистрационного дела или регистрационного досье
3Исполнительуполномоченный орган государства-члена
4Условия выполнениявыполняется при получении уполномоченным органом государства-члена запроса на представление документа из регистрационного дела или регистрационного досье (операция "Запрос Комиссией документа из регистрационного дела или регистрационного досье" (P.MM.01.OPR.061))
5Ограниченияформат и структура представляемых сведений должны соответствовать Описанию форматов и структур электронных документов и сведений. Требуется авторизация, сведения представляются только уполномоченными органами государств-членов. Реквизиты электронного документа (сведений) должны соответствовать требованиям, предусмотренным Регламентом информационного взаимодействия между уполномоченными органами государств-членов и Комиссией
6Описание операцииисполнитель выполняет проверку полученного запроса в соответствии с Регламентом информационного взаимодействия между уполномоченными органами государств-членов и Комиссией.
В случае успешного выполнения проверки исполнитель направляет ответ на запрос с документом из регистрационного дела или регистрационного досье или уведомление об отсутствии сведений, удовлетворяющих параметрам запроса, со значением кода результата обработки, соответствующим отсутствию сведений, в соответствии с Регламентом информационного взаимодействия между уполномоченными органами государств-членов и Комиссией
7Результатыдокумент из регистрационного дела или регистрационного досье или уведомление об отсутствии сведений, удовлетворяющих параметрам запроса, направлены в Комиссию

Таблица 72

Описание операции "Прием и обработка Комиссией документа из регистрационного дела или регистрационного досье" (P.MM.01.OPR.063)

N п/пОбозначение элементаОписание
123
1Кодовое обозначениеP.MM.01.OPR.063
2Наименование операцииприем и обработка Комиссией документа из регистрационного дела или регистрационного досье
3ИсполнительКомиссия
4Условия выполнениявыполняется при представлении в Комиссию документа из регистрационного дела или регистрационного досье или уведомления об отсутствии сведений, удовлетворяющих параметрам запроса (операция "Подготовка и представление в Комиссию документа из регистрационного дела или регистрационного досье" (P.MM.01.OPR.062))
5Ограниченияформат и структура представляемых сведений должны соответствовать Описанию форматов и структур электронных документов и сведений
6Описание операцииисполнитель получает документ из регистрационного дела или регистрационного досье, либо уведомление об отсутствии сведений, удовлетворяющих параметрам запроса, в соответствии с Регламентом информационного взаимодействия между уполномоченными органами государств-членов и Комиссией
7Результатыдокумент из регистрационного дела или регистрационного досье или уведомление об отсутствии сведений, удовлетворяющих параметрам запроса, получены Комиссией

Процедура "Направление сведений о рассмотрении заявления" (P.MM.01.PRC.023)

148. Схема выполнения процедуры "Направление сведений о рассмотрении заявления" (P.MM.01.PRC.023) представлена на рисунке 25.

Рис. 25. Схема выполнения процедуры "Направление сведений о рассмотрении заявления" (P.MM.01.PRC.023)

149. Процедура "Направление сведений о рассмотрении заявления" (P.MM.01.PRC.023) выполняется при представлении уполномоченным органом государства-члена сведений о рассмотрении заявления в Комиссию.

150. Первой выполняется операция "Направление сведений о рассмотрении заявления" (P.MM.01.OPR.068), по результатам выполнения которой уполномоченным органом государства-члена формируются и представляются в Комиссию сведения о рассмотрении заявления. При представлении сведений о поступлении нового заявления уполномоченный орган референтного государства не указывает регистрационный номер заявления. При представлении сведений о поступлении нового заявления уполномоченный орган государства признания не указывает номер заявления только при внесении изменений в регистрационное досье зарегистрированного лекарственного препарата без привлечения уполномоченного органа референтного государства в случаях, предусмотренных Правилами регистрации (пункт 2.1.5 Приложения N 19 Правил регистрации в редакции Решения Совета Комиссии от 29 мая 2024 г. N 43).

151. При поступлении в Комиссию сведений о рассмотрении заявления выполняется операция "Получение и обработка сведений о рассмотрении заявления" (P.MM.01.OPR.069).

При получении Комиссией сведений о поступлении нового заявления в уполномоченный орган референтного государства формируется уникальный регистрационный номер заявления. Сообщение, содержащее сведения об уникальном регистрационном номере, присвоенном заявлению, передается в уполномоченный орган референтного государства.

При получении Комиссией сведений о поступлении нового заявления в уполномоченный орган государства признания уникальный регистрационный номер заявления формируется и передается в уполномоченный орган государства признания только при внесении изменений в регистрационное досье зарегистрированного лекарственного препарата без привлечения уполномоченного органа референтного государства в случаях, предусмотренных Правилами регистрации (пункт 2.1.5 Приложения N 19 Правил регистрации в редакции Решения Совета Комиссии от 29 мая 2024 г. N 43).

При получении Комиссией сведений о рассмотрении заявления в иных случаях в ответ направляется уведомление о результатах обработки полученных сведений.

152. При поступлении в уполномоченный орган государства-члена сообщения, содержащего сведения об уникальном регистрационном номере, присвоенном заявлению, или уведомления о результатах обработки полученных сведений, выполняется операция "Получение сообщения, содержащего сведения об уникальном регистрационном номере, присвоенном заявлению, или уведомления о результатах обработки полученных сведений" (P.MM.01.OPR.070), по результатам выполнения которой осуществляются прием и обработка сообщения, содержащего сведения об уникальном регистрационном номере, присвоенном заявлению, или уведомления о результатах обработки полученных сведений.

153. Результатом выполнения процедуры "Направление сведений о рассмотрении заявления" (P.MM.01.PRC.023) является получение сведений о рассмотрении заявления Комиссией, получение уполномоченным органом государства-члена сообщения, содержащего уникальный регистрационный номер, присвоенный заявлению, или получение уполномоченным органом государства-члена уведомления о результатах обработки полученных сведений.

154. Перечень операций общего процесса, выполняемых в рамках процедуры "Направление сведений о рассмотрении заявления" (P.MM.01.PRC.023), приведен в таблице 73.

Таблица 73

Перечень операций общего процесса, выполняемых в рамках процедуры "Направление сведений о рассмотрении заявления" (P.MM.01.PRC.023)

Кодовое обозначениеНаименованиеОписание
123
P.MM.01.OPR.068направление сведений о рассмотрении заявленияприведено в таблице 74 настоящих Правил
P.MM.01.OPR.069получение и обработка сведений о рассмотрении заявленияприведено в таблице 75 настоящих Правил
P.MM.01.OPR.070получение сообщения, содержащего сведения об уникальном регистрационном номере, присвоенном заявлению, или уведомления о результатах обработки полученных сведенийприведено в таблице 76 настоящих Правил

Таблица 74

Описание операции "Направление сведений о рассмотрении заявления" (P.MM.01.OPR.068)

N п/пОбозначение элементаОписание
123
1Кодовое обозначениеP.MM.01.OPR.068
2Наименование операциинаправление сведений о рассмотрении заявления
3Исполнительуполномоченный орган государства-члена
4Условия выполнениявыполняется при представлении уполномоченным органом государства-члена сведений о рассмотрении заявления
5Ограниченияформат и структура представляемых сведений должны соответствовать Описанию форматов и структур электронных документов и сведений
6Описание операцииисполнитель формирует сообщение, содержащее предназначенные для передачи в Комиссию сведения о рассмотрении заявления, в соответствии с Регламентом информационного взаимодействия между уполномоченными органами государств-членов и Комиссией
7Результатысведения о рассмотрении заявления переданы в Комиссию

Таблица 75

Описание операции "Получение и обработка сведений о рассмотрении заявления" (P.MM.01.OPR.069)

N п/пОбозначение элементаОписание
123
1Кодовое обозначениеP.MM.01.OPR.069
2Наименование операцииполучение и обработка сведений о рассмотрении заявления
3ИсполнительКомиссия
4Условия выполнениявыполняется при получении Комиссией сведений о рассмотрении заявления (операция "Направление сведений о рассмотрении заявления" (P.MM.01.OPR.068))
5Ограниченияформат и структура представляемых сведений должны соответствовать Описанию форматов и структур электронных документов и сведений. Требуется авторизация, сведения представляются только уполномоченными органами государств-членов. Реквизиты электронного документа (сведений) должны соответствовать требованиям, предусмотренным Регламентом информационного взаимодействия между уполномоченными органами государств-членов и Комиссией
6Описание операцииисполнитель принимает сведения о рассмотрении заявления и проверяет их в соответствии с Регламентом информационного взаимодействия между уполномоченными органами государств-членов и Комиссией.
При получении Комиссией сведений о поступлении нового заявления в уполномоченный орган референтного государства исполнитель формирует и направляет в соответствии с Регламентом информационного взаимодействия между уполномоченными органами государств-членов и Комиссией уполномоченному органу референтного государства сообщение, содержащее сведения об уникальном регистрационном номере, присвоенном заявлению.
При получении Комиссией сведений о поступлении нового заявления в уполномоченный орган государства признания исполнитель формирует и направляет в соответствии с Регламентом информационного взаимодействия между уполномоченными органами государств-членов и Комиссией уполномоченному органу государства признания сообщение, содержащее сведения об уникальном регистрационном номере, присвоенном заявлению, только при внесении изменений в регистрационное досье зарегистрированного лекарственного препарата без привлечения уполномоченного органа референтного государства в случаях, предусмотренных Правилами регистрации.
При получении Комиссией сведений о рассмотрении заявления в иных случаях исполнитель формирует и направляет в соответствии с Регламентом информационного взаимодействия между уполномоченными органами государств-членов и Комиссией уполномоченному органу государства-члена уведомление о результатах обработки полученных сведений
7Результатысведения о рассмотрении заявления обработаны, сообщение, содержащее сведения об уникальном регистрационном номере, присвоенном заявлению, или уведомление о результатах обработки сведений направлено в уполномоченный орган государства-члена

Таблица 76

Описание операции "Получение сообщения, содержащего сведения об уникальном регистрационном номере, присвоенном заявлению, или уведомления о результатах обработки полученных сведений" (P.MM.01.OPR.070)

N п/пОбозначение элементаОписание
123
1Кодовое обозначениеP.MM.01.OPR.070
2Наименование операцииполучение сообщения, содержащего сведения об уникальном регистрационном номере, присвоенном заявлению, или уведомления о результатах обработки полученных сведений
3Исполнительуполномоченный орган государства-члена
4Условия выполнениявыполняется при получении уполномоченным органом государства-члена сообщения, содержащего сведения об уникальном регистрационном номере, присвоенном заявлению или уведомления о результатах обработки сведений (операция "Получение и обработка сведений о рассмотрении заявления" (P.MM.01.OPR.069))
5Ограниченияформат и структура представляемых сведений должны соответствовать Описанию форматов и структур электронных документов и сведений
6Описание операцииисполнитель осуществляет прием сообщения, содержащего сведения об уникальном регистрационном номере, присвоенном заявлению, или уведомления о результатах обработки сведений в соответствии с Регламентом информационного взаимодействия между уполномоченными органами государств-членов и Комиссией
7Результатысообщение, содержащее сведения об уникальном регистрационном номере, присвоенном заявлению, или уведомление о результатах обработки сведений получено

5. Процедуры получения сведений и документов из регистрационного дела или регистрационного досье (P.MM.01.PGR.005)

Процедура "Получение сведений из регистрационного дела или регистрационного досье" (P.MM.01.PRC.012)

155. Схема выполнения процедуры "Получение сведений из регистрационного дела или регистрационного досье" (P.MM.01.PRC.012) представлена на рисунке 26.

Рис. 26. Схема выполнения процедуры "Получение сведений из регистрационного дела или регистрационного досье" (P.MM.01.PRC.012)

156. Процедура "Получение сведений из регистрационного дела или регистрационного досье" (P.MM.01.PRC.012) выполняется при возникновении необходимости получения заинтересованным органом государства-члена сведений из регистрационного дела или регистрационного досье.

157. Первой выполняется операция "Запрос сведений из регистрационного дела или регистрационного досье" (P.MM.01.OPR.035), по результатам выполнения которой заинтересованным органом государства-члена формируется и направляется в уполномоченный орган государства-члена запрос на представление сведений из регистрационного дела или регистрационного досье.

158. При поступлении в уполномоченный орган государства-члена запроса на представление сведений из регистрационного дела или регистрационного досье выполняется операция "Подготовка и представление сведений из регистрационного дела или регистрационного досье" (P.MM.01.OPR.036), по результатам выполнения которой уполномоченным органом государства-члена формируются и представляются сведения из регистрационного дела или регистрационного досье.

159. При поступлении в заинтересованный орган государства-члена сведений из регистрационного дела или регистрационного досье выполняется операция "Прием и обработка сведений из регистрационного дела или регистрационного досье" (P.MM.01.OPR.037).

160. Результатом выполнения процедуры "Получение сведений из регистрационного дела или регистрационного досье" (P.MM.01.PRC.012) является получение сведений из регистрационного дела или регистрационного досье заинтересованным органом государства-члена.

161. Перечень операций общего процесса, выполняемых в рамках процедуры "Получение сведений из регистрационного дела или регистрационного досье" (P.MM.01.PRC.012), приведен в таблице 77.

Таблица 77

Перечень операций общего процесса, выполняемых в рамках процедуры "Получение сведений из регистрационного дела или регистрационного досье" (P.MM.01.PRC.012)

Кодовое обозначениеНаименованиеОписание
123
P.MM.01.OPR.035запрос сведений из регистрационного дела или регистрационного досьеприведено в таблице 78 настоящих Правил
P.MM.01.OPR.036подготовка и представление сведений из регистрационного дела или регистрационного досьеприведено в таблице 79 настоящих Правил
P.MM.01.OPR.037прием и обработка сведений из регистрационного дела или регистрационного досьеприведено в таблице 80 настоящих Правил

Таблица 78

Описание операции "Запрос сведений из регистрационного дела или регистрационного досье" (P.MM.01.OPR.035)

N п/пОбозначение элементаОписание
123
1Кодовое обозначениеP.MM.01.OPR.035
2Наименование операциизапрос сведений из регистрационного дела или регистрационного досье
3Исполнительзаинтересованный орган государства-члена
4Условия выполнениявыполняется при возникновении необходимости получения заинтересованным органом государства-члена сведений из регистрационного дела или регистрационного досье
5Ограниченияформат и структура запроса сведений должны соответствовать Описанию форматов и структур электронных документов и сведений
6Описание операцииисполнитель направляет в уполномоченный орган государства-члена запрос на представление сведений из регистрационного дела или регистрационного досье в соответствии с Регламентом информационного взаимодействия между уполномоченными органами государств-членов
7Результатыуполномоченному органу государства-члена направлен запрос на представление сведений из регистрационного дела или регистрационного досье

Таблица 79

Описание операции "Подготовка и представление сведений из регистрационного дела или регистрационного досье" (P.MM.01.OPR.036)

N п/пОбозначение элементаОписание
123
1Кодовое обозначениеP.MM.01.OPR.036
2Наименование операцииподготовка и представление сведений из регистрационного дела или регистрационного досье
3Исполнительуполномоченный орган государства-члена
4Условия выполнениявыполняется при получении уполномоченным органом государства-члена запроса на представление сведений из регистрационного дела или регистрационного досье (операция "Запрос сведений из регистрационного дела или регистрационного досье" (P.MM.01.OPR.035))
5Ограниченияформат и структура представляемых сведений должны соответствовать Описанию форматов и структур электронных документов и сведений. Требуется авторизация, сведения запрашиваются только заинтересованными органами государств-членов. Реквизиты электронного документа (сведений) должны соответствовать требованиям, предусмотренным Регламентом информационного взаимодействия между уполномоченными органами государств-членов
6Описание операцииисполнитель выполняет проверку полученного запроса в соответствии с Регламентом информационного взаимодействия между уполномоченными органами государств-членов.
В случае успешного выполнения проверки исполнитель направляет ответ на запрос со сведениями из регистрационного дела или регистрационного досье или уведомление о невозможности представления сведений, удовлетворяющих параметрам запроса, в соответствии с Регламентом информационного взаимодействия между уполномоченными органами государств-членов.
В случае если уведомление о невозможности представления сведений, удовлетворяющих параметрам запроса, формируется в связи с отсутствием у исполнителя сведений, удовлетворяющих параметрам запроса, в уведомлении указывается код результата обработки сведений, соответствующий отсутствию запрашиваемых сведений.
В случае если уведомление о невозможности представления сведений, удовлетворяющих параметрам запроса, формируется в связи с отсутствием у заинтересованного органа государства-члена права получения запрошенных сведений, в уведомлении указывается код результата обработки сведений, соответствующий невозможности представления запрашиваемых сведений, а реквизит "Описание" заполняется значением "отсутствует право получения запрошенных сведений"
7Результатысведения из регистрационного дела или регистрационного досье или уведомление о невозможности представления сведений, удовлетворяющих параметрам запроса, направлены в заинтересованный орган государства-члена

Таблица 80

Описание операции "Прием и обработка сведений из регистрационного дела или регистрационного досье" (P.MM.01.OPR.037)

N п/пОбозначение элементаОписание
123
1Кодовое обозначениеP.MM.01.OPR.037
2Наименование операцииприем и обработка сведений из регистрационного дела или регистрационного досье
3Исполнительзаинтересованный орган государства-члена
4Условия выполнениявыполняется при представлении заинтересованному органу государства-члена сведений из регистрационного дела или регистрационного досье или уведомления о невозможности представления сведений, удовлетворяющих параметрам запроса (операция "Подготовка и представление сведений из регистрационного дела или регистрационного досье" (P.MM.01.OPR.036))
5Ограниченияформат и структура представляемых сведений должны соответствовать Описанию форматов и структур электронных документов и сведений
6Описание операцииисполнитель получает сведения из регистрационного дела или регистрационного досье или уведомление о невозможности представления сведений, удовлетворяющих параметрам запроса, в соответствии с Регламентом информационного взаимодействия между уполномоченными органами государств-членов
7Результатызаинтересованным органом государства-члена получены сведения из регистрационного дела или регистрационного досье или уведомление о невозможности представления сведений

Процедура "Получение документа из регистрационного дела или регистрационного досье" (P.MM.01.PRC.022)

162. Схема выполнения процедуры "Получение документа из регистрационного дела или регистрационного досье" (P.MM.01.PRC.022) представлена на рисунке 27.

Рис. 27. Схема выполнения процедуры "Получение документа из регистрационного дела или регистрационного досье" (P.MM.01.PRC.022)

163. Процедура "Получение документа из регистрационного дела или регистрационного досье" (P.MM.01.PRC.022) выполняется при необходимости получения заинтересованным органом государства-члена документа из регистрационного дела или регистрационного досье, в том числе после выполнения процедуры "Получение сведений из регистрационного дела или регистрационного досье" (P.MM.01.PRC.012).

164. Первой выполняется операция "Запрос документа из регистрационного дела или регистрационного досье" (P.MM.01.OPR.064), по результатам выполнения которой заинтересованным органом государства-члена формируется и направляется в уполномоченный орган государства-члена запрос на представление документа из регистрационного дела или регистрационного досье.

165. При поступлении в уполномоченный орган государства-члена запроса на представление документа из регистрационного дела или регистрационного досье выполняется операция "Подготовка и представление документа из регистрационного дела или регистрационного досье" (P.MM.01.OPR.065), по результатам выполнения которой уполномоченным органом государства-члена формируется и представляется документ из регистрационного дела или регистрационного досье.

166. При поступлении в заинтересованный орган государства-члена документа из регистрационного дела или регистрационного досье выполняется операция "Прием и обработка документа из регистрационного дела или регистрационного досье" (P.MM.01.OPR.066).

167. Результатом выполнения процедуры "Получение документа из регистрационного дела или регистрационного досье" (P.MM.01.PRC.022) является получение документа из регистрационного дела или регистрационного досье заинтересованным органом государства-члена.

168. Перечень операций общего процесса, выполняемых в рамках процедуры "Получение документа из регистрационного дела или регистрационного досье" (P.MM.01.PRC.022), приведен в таблице 81.

Таблица 81

Перечень операций общего процесса, выполняемых в рамках процедуры "Получение документа из регистрационного дела или регистрационного досье" (P.MM.01.PRC.022)

Кодовое обозначениеНаименованиеОписание
123
P.MM.01.OPR.064запрос документа из регистрационного дела или регистрационного досьеприведено в таблице 82 настоящих Правил
P.MM.01.OPR.065подготовка и представление документа из регистрационного дела или регистрационного досьеприведено в таблице 83 настоящих Правил
P.MM.01.OPR.066прием и обработка документа из регистрационного дела или регистрационного досьеприведено в таблице 84 настоящих Правил

Таблица 82

Описание операции "Запрос документа из регистрационного дела или регистрационного досье" (P.MM.01.OPR.064)

N п/пОбозначение элементаОписание
123
1Кодовое обозначениеP.MM.01.OPR.064
2Наименование операциизапрос документа из регистрационного дела или регистрационного досье
3Исполнительзаинтересованный орган государства-члена
4Условия выполнениявыполняется при необходимости получения заинтересованным органом государства-члена документа из регистрационного дела или регистрационного досье
5Ограниченияформат и структура запроса должны соответствовать Описанию форматов и структур электронных документов и сведений
6Описание операцииисполнитель направляет в уполномоченный орган государства-члена запрос на представление документа из регистрационного дела или регистрационного досье в соответствии с Регламентом информационного взаимодействия между уполномоченными органами государств-членов
7Результатыуполномоченному органу государства-члена направлен запрос на представление документа из регистрационного дела или регистрационного досье

Таблица 83

Описание операции "Подготовка и представление документа из регистрационного дела или регистрационного досье" (P.MM.01.OPR.065)

N п/пОбозначение элементаОписание
123
1Кодовое обозначениеP.MM.01.OPR.065
2Наименование операцииподготовка и представление документа из регистрационного дела или регистрационного досье
3Исполнительуполномоченный орган государства-члена
4Условия выполнениявыполняется при получении уполномоченным органом государства-члена запроса на представление документа из регистрационного дела или регистрационного досье (операция "Запрос документа из регистрационного дела или регистрационного досье" (P.MM.01.OPR.064))
5Ограниченияформат и структура представляемых сведений должны соответствовать Описанию форматов и структур электронных документов и сведений. Требуется авторизация, сведения запрашиваются только заинтересованными органами государств-членов. Реквизиты электронного документа (сведений) должны соответствовать требованиям, предусмотренным Регламентом информационного взаимодействия между уполномоченными органами государств-членов
6Описание операцииисполнитель выполняет проверку полученного запроса в соответствии с Регламентом информационного взаимодействия между уполномоченными органами государств-членов.
В случае успешного выполнения проверки исполнитель направляет ответ на запрос с документом из регистрационного дела или регистрационного досье или уведомление о невозможности представления сведений, удовлетворяющих параметрам запроса, в соответствии с Регламентом информационного взаимодействия между уполномоченными органами государств-членов.
В случае если уведомление о невозможности представления сведений, удовлетворяющих параметрам запроса, формируется в связи с отсутствием у исполнителя сведений, удовлетворяющих параметрам запроса, в уведомлении указывается код результата обработки сведений, соответствующий отсутствию запрашиваемых сведений.
В случае если уведомление о невозможности представления сведений, удовлетворяющих параметрам запроса, формируется в связи с отсутствием у заинтересованного органа государства-члена права получения запрошенных сведений, в уведомлении указывается код результата обработки сведений, соответствующий невозможности представления запрашиваемых сведений, а реквизит "Описание" заполняется значением "отсутствует право получения запрошенных сведений"
7Результатыдокумент из регистрационного дела или регистрационного досье или уведомление о невозможности представления сведений, удовлетворяющих параметрам запроса, направлены в заинтересованный орган государства-члена

Таблица 84

Описание операции "Прием и обработка документа из регистрационного дела или регистрационного досье" (P.MM.01.OPR.066)

N п/пОбозначение элементаОписание
123
1Кодовое обозначениеP.MM.01.OPR.066
2Наименование операцииприем и обработка документа из регистрационного дела или регистрационного досье
3Исполнительзаинтересованный орган государства-члена
4Условия выполнениявыполняется при представлении заинтересованному органу государства-члена документа из регистрационного дела или регистрационного досье или уведомления о невозможности представления сведений, удовлетворяющих параметрам запроса (операция "Подготовка и представление документа из регистрационного дела или регистрационного досье" (P.MM.01.OPR.065))
5Ограниченияформат и структура представляемых сведений должны соответствовать Описанию форматов и структур электронных документов и сведений
6Описание операцииисполнитель получает документ из регистрационного дела или регистрационного досье или уведомление о невозможности представления сведений, удовлетворяющих параметрам запроса, в соответствии с Регламентом информационного взаимодействия между уполномоченными органами государств-членов
7Результатызаинтересованным органом государства-члена получен документ из регистрационного дела или регистрационного досье или уведомление о невозможности представления сведений

6. Процедуры уведомления об отмене регистрационного удостоверения (P.MM.01.PGR.006)

Процедура "Направление уведомления об отмене регистрационного удостоверения" (P.MM.01.PRC.013)

169. Схема выполнения процедуры "Направление уведомления об отмене регистрационного удостоверения" (P.MM.01.PRC.013) представлена на рисунке 28.

Рис. 28. Схема выполнения процедуры "Направление уведомления об отмене регистрационного удостоверения" (P.MM.01.PRC.013)

170. Процедура "Направление уведомления об отмене регистрационного удостоверения" (P.MM.01.PRC.013) выполняется уполномоченным органом, отменившим регистрационное удостоверение.

171. Первой выполняется операция "Направление уведомления об отмене регистрационного удостоверения" (P.MM.01.OPR.038), по результатам выполнения которой уполномоченным органом формируется и направляется уведомление об отмене регистрационного удостоверения в уполномоченный орган, уведомляемый об отмене регистрационного удостоверения.

172. Уполномоченным органом, уведомляемым об отмене регистрационного удостоверения, выполняется операция "Получение уведомления об отмене регистрационного удостоверения" (P.MM.01.OPR.039).

173. Результатом выполнения процедуры "Направление уведомления об отмене регистрационного удостоверения" (P.MM.01.PRC.013) является получение уполномоченным органом уведомления об отмене регистрационного удостоверения.

174. Перечень операций общего процесса, выполняемых в рамках процедуры "Направление уведомления об отмене регистрационного удостоверения" (P.MM.01.PRC.013), приведен в таблице 85.

Таблица 85

Перечень операций общего процесса, выполняемых в рамках процедуры "Направление уведомления об отмене регистрационного удостоверения" (P.MM.01.PRC.013)

Кодовое обозначениеНаименованиеОписание
123
P.MM.01.OPR.038направление уведомления об отмене регистрационного удостоверенияприведено в таблице 86 настоящих Правил
P.MM.01.OPR.039получение уведомления об отмене регистрационного удостоверенияприведено в таблице 87 настоящих Правил

Таблица 86

Описание операции "Направление уведомления об отмене регистрационного удостоверения" (P.MM.01.OPR.038)

N п/пОбозначение элементаОписание
123
1Кодовое обозначениеP.MM.01.OPR.038
2Наименование операциинаправление уведомления об отмене регистрационного удостоверения
3Исполнительуполномоченный орган, отменивший регистрационное удостоверение
4Условия выполнениявыполняется при отмене регистрационного удостоверения
5Ограниченияформат и структура представляемых сведений должны соответствовать Описанию форматов и структур электронных документов и сведений
6Описание операцииисполнитель направляет уведомление об отмене регистрационного удостоверения в уполномоченный орган, уведомляемый об отмене регистрационного удостоверения, в соответствии с Регламентом информационного взаимодействия между уполномоченными органами государств-членов.
В уведомлении указывается порядковый номер регистрационного удостоверения
7Результатыуполномоченному органу направлено уведомление об отмене регистрационного удостоверения

Таблица 87

Описание операции "Получение уведомления об отмене регистрационного удостоверения" (P.MM.01.OPR.039)

N п/пОбозначение элементаОписание
123
1Кодовое обозначениеP.MM.01.OPR.039
2Наименование операцииполучение уведомления об отмене регистрационного удостоверения
3Исполнительуполномоченный орган, уведомляемый об отмене регистрационного удостоверения
4Условия выполнениявыполняется при получении уведомления об отмене регистрационного удостоверения (операция "Направление уведомления об отмене регистрационного удостоверения" (P.MM.01.OPR.038))
5Ограниченияформат и структура представляемых сведений должны соответствовать Описанию форматов и структур электронных документов и сведений. Требуется авторизация, сведения представляются только уполномоченными органами государств-членов
6Описание операцииисполнитель получает уведомление об отмене регистрационного удостоверения в соответствии с Регламентом информационного взаимодействия между уполномоченными органами государств-членов
7Результатыуполномоченным органом получено уведомление об отмене регистрационного удостоверения

7. Процедуры ведения переписки в отношении регистрационного дела или регистрационного досье (P.MM.01.PGR.007)

Процедура "Направление экспертного отчета" (P.MM.01.PRC.014)

175. Схема выполнения процедуры "Направление экспертного отчета" (P.MM.01.PRC.014) представлена на рисунке 29.

Рис. 29. Схема выполнения процедуры "Направление экспертного отчета" (P.MM.01.PRC.014)

176. Процедура "Направление экспертного отчета" (P.MM.01.PRC.014) выполняется уполномоченным органом референтного государства после подготовки экспертного отчета.

177. Первой выполняется операция "Представление сведений экспертного отчета" (P.MM.01.OPR.040), по результатам выполнения которой уполномоченным органом референтного государства формируются и представляются в уполномоченный орган государства признания сведения экспертного отчета.

178. При получении уполномоченным органом государства признания сведений экспертного отчета выполняется операция "Прием и обработка сведений экспертного отчета" (P.MM.01.OPR.041), по результатам выполнения которой уполномоченным органом государства признания принимаются сведения экспертного отчета, формируется и направляется в уполномоченный орган референтного государства уведомление о результатах обработки сведений экспертного отчета.

179. При получении уполномоченным органом референтного государства уведомления о результатах обработки сведений экспертного отчета выполняется операция "Получение уведомления о результатах обработки сведений экспертного отчета" (P.MM.01.OPR.042).

180. Результатом выполнения процедуры "Направление экспертного отчета" (P.MM.01.PRC.014) является получение уполномоченным органом государства признания экспертного отчета и получение уполномоченным органом референтного государства уведомления о результатах обработки сведений экспертного отчета.

181. Перечень операций общего процесса, выполняемых в рамках процедуры "Направление экспертного отчета" (P.MM.01.PRC.014), приведен в таблице 88.

Таблица 88

Перечень операций общего процесса, выполняемых в рамках процедуры "Направление экспертного отчета" (P.MM.01.PRC.014)

Кодовое обозначениеНаименованиеОписание
123
P.MM.01.OPR.040представление сведений экспертного отчетаприведено в таблице 89 настоящих Правил
P.MM.01.OPR.041прием и обработка сведений экспертного отчетаприведено в таблице 90 настоящих Правил
P.MM.01.OPR.042получение уведомления о результатах обработки сведений экспертного отчетаприведено в таблице 91 настоящих Правил

Таблица 89

Описание операции "Представление сведений экспертного отчета" (P.MM.01.OPR.040)

N п/пОбозначение элементаОписание
123
1Кодовое обозначениеP.MM.01.OPR.040
2Наименование операциипредставление сведений экспертного отчета
3Исполнительуполномоченный орган референтного государства
4Условия выполнениявыполняется уполномоченным органом референтного государства после подготовки экспертного отчета
5Ограниченияформат и структура представляемых сведений должны соответствовать Описанию форматов и структур электронных документов и сведений
6Описание операцииисполнитель формирует сведения экспертного отчета и направляет их в уполномоченный орган государства признания в соответствии с Регламентом информационного взаимодействия между уполномоченными органами государств-членов
7Результатыуполномоченному органу государства признания направлены сведения экспертного отчета

Таблица 90

Описание операции "Прием и обработка сведений экспертного отчета" (P.MM.01.OPR.041)

N п/пОбозначение элементаОписание
123
1Кодовое обозначениеP.MM.01.OPR.041
2Наименование операцииприем и обработка сведений экспертного отчета
3Исполнительуполномоченный орган государства признания
4Условия выполнениявыполняется при получении уполномоченным органом государства признания сведений экспертного отчета (операция "Представление сведений экспертного отчета" (P.MM.01.OPR.040))
5Ограниченияформат и структура представляемых сведений должны соответствовать Описанию форматов и структур электронных документов и сведений. Требуется авторизация, сведения представляются только уполномоченными органами государств-членов. Реквизиты электронного документа (сведений) должны соответствовать требованиям, предусмотренным Регламентом информационного взаимодействия между уполномоченными органами государств-членов
6Описание операцииисполнитель принимает сведения экспертного отчета и направляет уведомление о результатах обработки сведений экспертного отчета в уполномоченный орган референтного государства в соответствии с Регламентом информационного взаимодействия между уполномоченными органами государств-членов
7Результатыуполномоченным органом государства признания получены сведения экспертного отчета

Таблица 91

Описание операции "Получение уведомления о результатах обработки сведений экспертного отчета" (P.MM.01.OPR.042)

N п/пОбозначение элементаОписание
123
1Кодовое обозначениеP.MM.01.OPR.042
2Наименование операцииполучение уведомления о результатах обработки сведений экспертного отчета
3Исполнительуполномоченный орган референтного государства
4Условия выполнениявыполняется при получении уполномоченным органом референтного государства уведомления о результатах обработки сведений экспертного отчета (операция "Прием и обработка сведений экспертного отчета" (P.MM.01.OPR.041))
5Ограниченияформат и структура уведомления должны соответствовать Описанию форматов и структур электронных документов и сведений
6Описание операцииисполнитель получает уведомление о результатах обработки сведений экспертного отчета в соответствии с Регламентом информационного взаимодействия между уполномоченными органами государств-членов
7Результатыуполномоченным органом референтного государства получено уведомление о результатах обработки сведений экспертного отчета

Процедура "Направление замечаний в отношении документов регистрационного дела или регистрационного досье" (P.MM.01.PRC.015)

182. Схема выполнения процедуры "Направление замечаний в отношении документов регистрационного дела или регистрационного досье" (P.MM.01.PRC.015) представлена на рисунке 30.

Рис. 30. Схема выполнения процедуры "Направление замечаний в отношении документов регистрационного дела или регистрационного досье" (P.MM.01.PRC.015)

183. Процедура "Направление замечаний в отношении документов регистрационного дела или регистрационного досье" (P.MM.01.PRC.015) выполняется при возникновении необходимости представления уполномоченным органом государства признания в уполномоченный орган референтного государства сведений о направленных заявителю запросах о представлении дополнительных сведений, а также для направления замечаний в отношении документов регистрационного дела или регистрационного досье в случаях, предусмотренных Правилами регистрации, в том числе в процессе рассмотрения экспертного отчета.

184. Первой выполняется операция "Представление сведений о замечаниях в отношении документов регистрационного дела или регистрационного досье" (P.MM.01.OPR.043), по результатам выполнения которой уполномоченным органом государства признания формируются и представляются сведения о замечаниях в отношении документов регистрационного дела или регистрационного досье в уполномоченный орган референтного государства.

185. При получении уполномоченным органом референтного государства сведений о замечаниях в отношении документов регистрационного дела или регистрационного досье выполняется операция "Прием и обработка сведений о замечаниях в отношении документов регистрационного дела или регистрационного досье" (P.MM.01.OPR.044), по результатам выполнения которой уполномоченным органом референтного государства принимаются сведения о замечаниях в отношении документов регистрационного дела или регистрационного досье, формируется и направляется в уполномоченный орган государства признания уведомление о результатах обработки сведений о замечаниях в отношении документов регистрационного дела или регистрационного досье.

186. При направлении уведомления о результатах обработки сведений о замечаниях в отношении документов регистрационного дела или регистрационного досье выполняется операция "Получение уведомления о результатах обработки сведений о замечаниях в отношении документов регистрационного дела или регистрационного досье" (P.MM.01.OPR.045).

187. Результатом выполнения процедуры "Направление замечаний в отношении документов регистрационного дела или регистрационного досье" (P.MM.01.PRC.015) является получение уполномоченным органом референтного государства замечаний в отношении регистрационного дела или регистрационного досье и получение уполномоченным органом государства признания уведомления о результатах обработки сведений о замечаниях в отношении регистрационного дела или регистрационного досье.

188. Перечень операций общего процесса, выполняемых в рамках процедуры "Направление замечаний в отношении документов регистрационного дела или регистрационного досье" (P.MM.01.PRC.015), приведен в таблице 92.

Таблица 92

Перечень операций общего процесса, выполняемых в рамках процедуры "Направление замечаний в отношении документов регистрационного дела или регистрационного досье" (P.MM.01.PRC.015)

Кодовое обозначениеНаименованиеОписание
123
P.MM.01.OPR.043представление сведений о замечаниях в отношении документов регистрационного дела или регистрационного досьеприведено в таблице 93 настоящих Правил
P.MM.01.OPR.044прием и обработка сведений о замечаниях в отношении документов регистрационного дела или регистрационного досьеприведено в таблице 94 настоящих Правил
P.MM.01.OPR.045получение уведомления о результатах обработки сведений о замечаниях в отношении документов регистрационного дела или регистрационного досьеприведено в таблице 95 настоящих Правил

Таблица 93

Описание операции "Представление сведений о замечаниях в отношении документов регистрационного дела или регистрационного досье" (P.MM.01.OPR.043)

N п/пОбозначение элементаОписание
123
1Кодовое обозначениеP.MM.01.OPR.043
2Наименование операциипредставление сведений о замечаниях в отношении документов регистрационного дела или регистрационного досье
3Исполнительуполномоченный орган государства признания
4Условия выполнениявыполняется при направлении уполномоченным органом государства признания в уполномоченный орган референтного государства сведений о замечаниях в отношении документов регистрационного дела или регистрационного досье
5Ограниченияформат и структура представляемых сведений должны соответствовать Описанию форматов и структур электронных документов и сведений
6Описание операцииисполнитель формирует сведения о замечаниях в отношении документов регистрационного дела или регистрационного досье и направляет их в уполномоченный орган референтного государства в соответствии с Регламентом информационного взаимодействия между уполномоченными органами государств-членов
7Результатысведения о замечаниях в отношении документов регистрационного дела или регистрационного досье переданы в уполномоченный орган референтного государства

Таблица 94

Описание операции "Прием и обработка сведений о замечаниях в отношении документов регистрационного дела или регистрационного досье" (P.MM.01.OPR.044)

N п/пОбозначение элементаОписание
123
1Кодовое обозначениеP.MM.01.OPR.044
2Наименование операцииприем и обработка сведений о замечаниях в отношении документов регистрационного дела или регистрационного досье
3Исполнительуполномоченный орган референтного государства
4Условия выполнениявыполняется при направлении уполномоченным органом государства признания сведений о замечаниях в отношении документов регистрационного дела или регистрационного досье (операция "Представление сведений о замечаниях в отношении документов регистрационного дела или регистрационного досье" (P.MM.01.OPR.043))
5Ограниченияформат и структура представляемых сведений должны соответствовать Описанию форматов и структур электронных документов и сведений. Требуется авторизация, сведения представляются только уполномоченными органами государств-членов. Реквизиты электронного документа (сведений) должны соответствовать требованиям, предусмотренным Регламентом информационного взаимодействия между уполномоченными органами государств-членов
6Описание операцииисполнитель принимает сведения о замечаниях в отношении документов регистрационного дела или регистрационного досье и направляет уведомление о результатах обработки сведений о замечаниях в отношении документов регистрационного дела или регистрационного досье в уполномоченный орган государства признания в соответствии с Регламентом информационного взаимодействия между уполномоченными органами государств-членов
7Результатыуведомление о результатах обработки сведений о замечаниях в отношении документов регистрационного дела или регистрационного досье направлено в уполномоченный орган государства признания

Таблица 95

Описание операции "Получение уведомления о результатах обработки сведений о замечаниях в отношении документов регистрационного дела или регистрационного досье" (P.MM.01.OPR.045)

N п/пОбозначение элементаОписание
123
1Кодовое обозначениеP.MM.01.OPR.045
2Наименование операцииполучение уведомления о результатах обработки сведений о замечаниях в отношении документов регистрационного дела или регистрационного досье
3Исполнительуполномоченный орган государства признания
4Условия выполнениявыполняется при направлении уполномоченному органу государства признания уведомления о результатах обработки сведений о замечаниях в отношении документов регистрационного дела или регистрационного досье (операция "Прием и обработка сведений о замечаниях в отношении документов регистрационного дела или регистрационного досье" (P.MM.01.OPR.044))
5Ограниченияформат и структура представляемых сведений должны соответствовать Описанию форматов и структур электронных документов и сведений
6Описание операцииисполнитель осуществляет прием уведомления о результатах обработки сведений о замечаниях в отношении документов регистрационного дела или регистрационного досье в соответствии с Регламентом информационного взаимодействия между уполномоченными органами государств-членов
7Результатыуполномоченным органом государства признания получено уведомление о результатах обработки сведений о замечаниях в отношении документов регистрационного дела или регистрационного досье

Процедура "Направление решения о признании (непризнании) экспертного отчета" (P.MM.01.PRC.016)

189. Схема выполнения процедуры "Направление решения о признании (непризнании) экспертного отчета" (P.MM.01.PRC.016) представлена на рисунке 31.

Рис. 31. Схема выполнения процедуры "Направление решения о признании (непризнании) экспертного отчета" (P.MM.01.PRC.016)

190. Процедура "Направление решения о признании (непризнании) экспертного отчета" (P.MM.01.PRC.016) выполняется для представления уполномоченным органом государства признания в уполномоченный орган референтного государства сведений решения о признании (непризнании) экспертного отчета. В случае невозможности признания уполномоченным органом государства признания экспертного отчета дополнительно выполняется процедура "Направление заключения о невозможности признания экспертного отчета" (P.MM.01.PRC.020).

191. Первой выполняется операция "Представление сведений решения о признании (непризнании) экспертного отчета" (P.MM.01.OPR.046), по результатам выполнения которой уполномоченным органом государства признания формируются и представляются в уполномоченный орган референтного государства сведения решения о признании (непризнании) экспертного отчета.

192. При получении уполномоченным органом референтного государства сведений решения о признании (непризнании) экспертного отчета выполняется операция "Прием и обработка сведений решения о признании (непризнании) экспертного отчета" (P.MM.01.OPR.047), по результатам выполнения которой уполномоченным органом референтного государства принимаются сведения решения о признании (непризнании) экспертного отчета, формируется и направляется в уполномоченный орган государства признания уведомление о результатах обработки сведений решения о признании (непризнании) экспертного отчета.

193. При получении уполномоченным органом государства признания уведомления о результатах обработки сведений решения о признании (непризнании) экспертного отчета выполняется операция "Получение уведомления о результатах обработки сведений решения о признании (непризнании) экспертного отчета" (P.MM.01.OPR.048).

194. Результатом выполнения процедуры "Направление решения о признании (непризнании) экспертного отчета" (P.MM.01.PRC.016) является получение уполномоченным органом референтного государства решения о признании (непризнании) экспертного отчета и получение уполномоченным органом государства признания уведомления о результатах обработки сведений решения о признании (непризнании) экспертного отчета.

195. Перечень операций общего процесса, выполняемых в рамках процедуры "Направление решения о признании (непризнании) экспертного отчета" (P.MM.01.PRC.016), приведен в таблице 96.

Таблица 96

Перечень операций общего процесса, выполняемых в рамках процедуры "Направление решения о признании (непризнании) экспертного отчета" (P.MM.01.PRC.016)

Кодовое обозначениеНаименованиеОписание
123
P.MM.01.OPR.046представление сведений решения о признании (непризнании) экспертного отчетаприведено в таблице 97 настоящих Правил
P.MM.01.OPR.047прием и обработка сведений решения о признании (непризнании) экспертного отчетаприведено в таблице 98 настоящих Правил
P.MM.01.OPR.048получение уведомления о результатах обработки сведений решения о признании (непризнании) экспертного отчетаприведено в таблице 99 настоящих Правил

Таблица 97

Описание операции "Представление сведений решения о признании (непризнании) экспертного отчета" (P.MM.01.OPR.046)

N п/пОбозначение элементаОписание
123
1Кодовое обозначениеP.MM.01.OPR.046
2Наименование операциипредставление сведений решения о признании (непризнании) экспертного отчета
3Исполнительуполномоченный орган государства признания
4Условия выполнениявыполняется при представлении уполномоченным органом государства признания в уполномоченный орган референтного государства сведений решения о признании (непризнании) экспертного отчета
5Ограниченияформат и структура представляемых сведений должны соответствовать Описанию форматов и структур электронных документов и сведений
6Описание операцииисполнитель формирует сведения решения о признании (непризнании) экспертного отчета и направляет их в уполномоченный орган референтного государства в соответствии с Регламентом информационного взаимодействия между уполномоченными органами государств-членов
7Результатысведения решения о признании (непризнании) экспертного отчета переданы в уполномоченный орган референтного государства

Таблица 98

Описание операции "Прием и обработка сведений решения о признании (непризнании) экспертного отчета" (P.MM.01.OPR.047)

N п/пОбозначение элементаОписание
123
1Кодовое обозначениеP.MM.01.OPR.047
2Наименование операцииприем и обработка сведений решения о признании (непризнании) экспертного отчета
3Исполнительуполномоченный орган референтного государства
4Условия выполнениявыполняется при направлении уполномоченным органом государства признания сведений решения о признании (непризнании) экспертного отчета (операция "Представление сведений решения о признании (непризнании) экспертного отчета" (P.MM.01.OPR.046))
5Ограниченияформат и структура представляемых сведений должны соответствовать Описанию форматов и структур электронных документов и сведений. Требуется авторизация, сведения представляются только уполномоченными органами государств-членов. Реквизиты электронного документа (сведений) должны соответствовать требованиям, предусмотренным Регламентом информационного взаимодействия между уполномоченными органами государств-членов и Комиссией
6Описание операцииисполнитель принимает сведения решения о признании (непризнании) экспертного отчета и направляет уведомление о результатах обработки сведений решения о признании (непризнании) экспертного отчета в уполномоченный орган государства признания в соответствии с Регламентом информационного взаимодействия между уполномоченными органами государств-членов
7Результатыуполномоченным органом референтного государства получены сведения решения о признании (непризнании) экспертного отчета, уведомление о результатах обработки сведений решения о признании (непризнании) экспертного отчета направлено в уполномоченный орган государства признания

Таблица 99

Описание операции "Получение уведомления о результатах обработки сведений решения о признании (непризнании) экспертного отчета" (P.MM.01.OPR.048)

N п/пОбозначение элементаОписание
123
1Кодовое обозначениеP.MM.01.OPR.048
2Наименование операцииполучение уведомления о результатах обработки сведений решения о признании (непризнании) экспертного отчета
3Исполнительуполномоченный орган государства признания
4Условия выполнениявыполняется при направлении уполномоченным органом референтного государства уведомления о результатах обработки сведений решения о признании (непризнании) экспертного отчета (операция "Прием и обработка сведений решения о признании (непризнании) экспертного отчета" (P.MM.01.OPR.047))
5Ограниченияформат и структура уведомления должны соответствовать Описанию форматов и структур электронных документов и сведений
6Описание операцииисполнитель получает уведомление о результатах обработки сведений решения о признании (непризнании) экспертного отчета в соответствии с Регламентом информационного взаимодействия между уполномоченными органами государств-членов
7Результатыуполномоченным органом государства признания получено уведомление о результатах обработки сведений решения о признании (непризнании) экспертного отчета

8. Процедуры формирования и ведения единой базы данных (P.MM.01.PGR.008)

Процедура "Включение сведений в единую базу данных" (P.MM.01.PRC.024)

196. Схема выполнения процедуры "Включение сведений в единую базу данных" (P.MM.01.PRC.024) представлена на рисунке 32.

Рис. 32. Схема выполнения процедуры "Включение сведений в единую базу данных" (P.MM.01.PRC.024)

197. Процедура "Включение сведений в единую базу данных" (P.MM.01.PRC.024) выполняется при представлении уполномоченным органом государства-члена сведений о новом заявлении на проведение процедур регистрации лекарственного препарата для формирования единой базы данных, после выполнения процедуры "Направление сведений о рассмотрении заявления" (P.MM.01.PRC.023).

198. Первой выполняется операция "Представление сведений для включения в единую базу данных" (P.MM.01.OPR.071), по результатам выполнения которой уполномоченным органом государства-члена формируются и представляются в Комиссию сведения о новом заявлении на проведение процедур регистрации лекарственного препарата для формирования единой базы данных.

199. При поступлении в Комиссию сведений о новом заявлении на проведение процедур регистрации лекарственного препарата для формирования единой базы данных, выполняется операция "Прием и обработка сведений для включения в единую базу данных" (P.MM.01.OPR.072), по результатам выполнения которой сведения о новом заявлении на проведение процедур регистрации лекарственного препарата для формирования единой базы данных включаются в единую базу данных, а уполномоченному органу государства-члена направляется уведомление о результатах обработки полученных сведений.

200. При поступлении в уполномоченный орган государства-члена уведомления о результатах обработки полученных сведений, выполняется операция "Получение уведомления о результатах обработки сведений для включения в единую базу данных" (P.MM.01.OPR.073), по результатам выполнения которой осуществляются прием и обработка уведомления о результатах обработки полученных сведений.

201. Результатом выполнения процедуры "Включение сведений о новом заявлении на проведение процедур регистрации лекарственного препарата для формирования единой базы данных" (P.MM.01.PRC.024) является включение сведений о новом заявлении на проведение процедур регистрации лекарственного препарата в единую базу данных, получение уполномоченным органом государства-члена уведомления о результатах обработки полученных сведений.

202. Перечень операций общего процесса, выполняемых в рамках процедуры "Включение сведений о новом заявлении на проведение процедур регистрации лекарственного препарата для формирования единой базы данных" (P.MM.01.PRC.024), приведен в таблице 100.

Таблица 100

Перечень операций общего процесса, выполняемых в рамках процедуры "Включение сведений о новом заявлении на проведение процедур регистрации лекарственного препарата для формирования единой базы данных" (P.MM.01.PRC.024)

Кодовое обозначениеНаименованиеОписание
123
P.MM.01.OPR.071представление сведений для включения в единую базу данныхприведено в таблице 101 настоящих Правил
P.MM.01.OPR.072прием и обработка сведений для включения в единую базу данныхприведено в таблице 102 настоящих Правил
P.MM.01.OPR.073получение уведомления о результатах обработки полученных сведений для включения в единую базу данныхприведено в таблице 103 настоящих Правил

Таблица 101

Описание операции "Представление сведений для включения в единую базу данных" (P.MM.01.OPR.071)

N п/пОбозначение элементаОписание
123
1Кодовое обозначениеP.MM.01.OPR.071
2Наименование операциипредставление сведений для включения в единую базу данных
3Исполнительуполномоченный орган государства-члена
4Условия выполнениявыполняется при представлении уполномоченным органом государства-члена сведений о новом заявлении на проведение процедур регистрации лекарственного препарата для формирования единой базы данных
5Ограниченияформат и структура представляемых сведений должны соответствовать Описанию форматов и структур электронных документов и сведений
6Описание операцииисполнитель формирует сообщение, содержащее предназначенные для передачи в Комиссию сведения о новом заявлении на проведение процедур регистрации лекарственного препарата, включаемом в единую базу данных, в соответствии с Регламентом информационного взаимодействия между уполномоченными органами государств-членов и Комиссией
7Результатысведения о новом заявлении на проведение процедур регистрации лекарственного препарата для формирования единой базы данных переданы в Комиссию

Таблица 102

Описание операции "Прием и обработка сведений для включения в единую базу данных" (P.MM.01.OPR.072)

N п/пОбозначение элементаОписание
123
1Кодовое обозначениеP.MM.01.OPR.072
2Наименование операцииприем и обработка сведений для включения в единую базу данных
3ИсполнительКомиссия
4Условия выполнениявыполняется при получении Комиссией сведений о новом заявлении на проведение процедур регистрации лекарственного препарата (операция "Представление сведений для включения в единую базу данных" (P.MM.01.OPR.071))
5Ограниченияформат и структура представляемых сведений должны соответствовать Описанию форматов и структур электронных документов и сведений. Требуется авторизация, сведения представляются только уполномоченными органами государств-членов. Реквизиты электронного документа (сведений) должны соответствовать требованиям, предусмотренным Регламентом информационного взаимодействия между уполномоченными органами государств-членов и Комиссией
6Описание операцииисполнитель принимает сведения о новом заявлении на проведение процедур регистрации лекарственного препарата и проверяет их в соответствии с Регламентом информационного взаимодействия между уполномоченными органами государств-членов и Комиссией.
В случае успешного выполнения проверки исполнитель осуществляет включение сведений о новом заявлении на проведение процедур регистрации лекарственного препарата в единую базу данных, заполняя дату и время их обновления. Исполнитель формирует и направляет в соответствии с Регламентом информационного взаимодействия между уполномоченными органами государств-членов и Комиссией уполномоченному органу государства-члена уведомление о результатах обработки полученных сведений
7Результатысведения о новом заявлении на проведение процедур регистрации лекарственного препарата обработаны, уведомление о результатах обработки сведений направлено в уполномоченный орган государства-члена

Таблица 103

Описание операции "Получение уведомления о результатах обработки полученных сведений для включения в единую базу данных" (P.MM.01.OPR.073)

N п/пОбозначение элементаОписание
123
1Кодовое обозначениеP.MM.01.OPR.073
2Наименование операцииполучение уведомления о результатах обработки полученных сведений для включения в единую базу данных
3Исполнительуполномоченный орган государства-члена
4Условия выполнениявыполняется при получении уполномоченным органом государства-члена уведомления о результатах обработки сведений (операция "Прием и обработка сведений для включения в единую базу данных" (P.MM.01.OPR.072))
5Ограниченияформат и структура представляемых сведений должны соответствовать Описанию форматов и структур электронных документов и сведений
6Описание операцииисполнитель осуществляет прием уведомления о результатах обработки сведений в соответствии с Регламентом информационного взаимодействия между уполномоченными органами государств-членов и Комиссией
7Результатыуведомление о результатах обработки сведений получено

Процедура "Изменение сведений, содержащихся в единой базе данных" (P.MM.01.PRC.025)

203. Схема выполнения процедуры "Изменение сведений, содержащихся в единой базе данных" (P.MM.01.PRC.025) представлена на рисунке 33.

Рис. 33. Схема выполнения процедуры "Изменение сведений, содержащихся в единой базе данных" (P.MM.01.PRC.025)

204. Процедура "Изменение сведений, содержащихся в единой базе данных" (P.MM.01.PRC.025) выполняется при представлении уполномоченным органом государства-члена в Комиссию сведений об изменении этапа рассмотрения заявления на регистрацию лекарственного препарата, а также при изменении состава документов регистрационного досье (дела).

205. Первой выполняется операция "Представление сведений для внесения изменений в единую базу данных" (P.MM.01.OPR.074), по результатам выполнения которой уполномоченным органом государства-члена формируются и представляются в Комиссию сведения для внесения изменений в единую базу данных.

206. При поступлении в Комиссию сведений для внесения изменений в единую базу данных выполняется операция "Прием и обработка сведений для внесения изменений в единую базу данных" (P.MM.01.OPR.075), по результатам выполнения которой соответствующие сведения обновляются в единой базе данных. Уведомление о внесении изменений в единую базу данных передается в уполномоченный орган государства-члена.

207. При поступлении в уполномоченный орган государства-члена уведомления о внесении изменений в единую базу данных выполняется операция "Получение уведомления о результатах внесения изменений в единую базу данных" (P.MM.01.OPR.076), по результатам выполнения которой осуществляются прием и обработка указанного уведомления.

208. Результатом выполнения процедуры "Изменение сведений, содержащихся в единой базе данных" (P.MM.01.PRC.025) является внесение измененных сведений о заявлении на проведение процедур регистрации лекарственного препарата в единую базу данных.

209. Перечень операций общего процесса, выполняемых в рамках процедуры "Изменение сведений, содержащихся в единой базе данных" (P.MM.01.PRC.025), приведен в таблице 104.

Таблица 104

Перечень операций общего процесса, выполняемых в рамках процедуры "Изменение сведений, содержащихся в единой базе данных" (P.MM.01.PRC.025)

Кодовое обозначениеНаименованиеОписание
123
P.MM.01.OPR.074представление сведений для внесения изменений в единую базу данныхприведено в таблице 105 настоящих Правил
P.MM.01.OPR.075прием и обработка сведений для внесения изменений в единую базу данныхприведено в таблице 106 настоящих Правил
P.MM.01.OPR.076получение уведомления о результатах внесения изменений в единую базу данныхприведено в таблице 107 настоящих Правил

Таблица 105

Описание операции "Представление сведений для внесения изменений в единую базу данных" (P.MM.01.OPR.074)

N п/пОбозначение элементаОписание
123
1Кодовое обозначениеP.MM.01.OPR.074
2Наименование операциипредставление сведений для внесения изменений в единую базу данных
3Исполнительуполномоченный орган государства-члена
4Условия выполнениявыполняется уполномоченным органом государства-члена при внесении изменений в единую базу данных
5Ограниченияформат и структура представляемых сведений должны соответствовать Описанию форматов и структур электронных документов и сведений
6Описание операцииисполнитель формирует сведения для внесения изменений в единую базу данных в соответствии с Регламентом информационного взаимодействия между уполномоченными органами государств-членов и Комиссией
7Результатысведения для внесения изменений в единую базу данных направлены в Комиссию

Таблица 106

Описание операции "Прием и обработка сведений для внесения изменений в единую базу данных" (P.MM.01.OPR.075)

N п/пОбозначение элементаОписание
123
1Кодовое обозначениеP.MM.01.OPR.075
2Наименование операцииприем и обработка сведений для внесения изменений в единую базу данных
3ИсполнительКомиссия
4Условия выполнениявыполняется при получении Комиссией сведений для внесения изменений в единый реестр (операция "Представление сведений для внесения изменений в единую базу данных" (P.MM.01.OPR.074))
5Ограниченияформат и структура представляемых сведений должны соответствовать Описанию форматов и структур электронных документов и сведений. Требуется авторизация, сведения представляются только уполномоченными органами государств-членов. Реквизиты электронного документа (сведений) должны соответствовать требованиям, предусмотренным Регламентом информационного взаимодействия между уполномоченными органами государств-членов и Комиссией
6Описание операцииисполнитель принимает сведения для внесения изменений и проверяет их в соответствии с Регламентом информационного взаимодействия между уполномоченными органами государств-членов и Комиссией. В случае успешного выполнения проверки исполнитель заполняет дату и время окончания действия хранящихся в Комиссии сведений значением даты и времени начала действия полученных актуальных сведений. В результате изменяемые сведения сохраняются для обеспечения возможности просмотра истории изменений и становятся недоступными для дальнейшей обработки. Полученные актуальные сведения исполнитель вносит в единую базу данных, фиксирует дату и время обновления сведений, формирует и направляет уполномоченному органу государства-члена уведомление со значением кода результата обработки, соответствующим изменению сведений, в соответствии с Регламентом информационного взаимодействия между уполномоченными органами государств-членов и Комиссией
7Результатысведения для внесения изменений в единую базу данных обработаны, уведомление о внесении изменений в единую базу данных направлено в уполномоченный орган государства-члена

Таблица 107

Описание операции "Получение уведомления о результатах внесения изменений в единую базу данных" (P.MM.01.OPR.076)

N п/пОбозначение элементаОписание
123
1Кодовое обозначениеP.MM.01.OPR.076
2Наименование операцииполучение уведомления о результатах внесения изменений в единую базу данных
3Исполнительуполномоченный орган государства-члена
4Условия выполнениявыполняется при получении уполномоченным органом государства-члена уведомления о внесении изменений в единую базу данных (операция "Прием и обработка сведений для внесения изменений в единую базу данных" (P.MM.01.OPR.075))
5Ограниченияформат и структура уведомления должны соответствовать Описанию форматов и структур электронных документов и сведений
6Описание операцииисполнитель осуществляет прием уведомления в соответствии с Регламентом информационного взаимодействия между уполномоченными органами государств-членов и Комиссией
7Результатыуведомление о внесении изменений в единую базу данных получено

Процедура "Исключение сведений из единой базы данных" (P.MM.01.PRC.026)

210. Схема выполнения процедуры "Исключение сведений из единой базы данных" (P.MM.01.PRC.026) представлена на рисунке 34.

Рис. 34. Схема выполнения процедуры "Исключение сведений из единой базы данных" (P.MM.01.PRC.026)

211. Процедура "Исключение сведений из единой базы данных" (P.MM.01.PRC.026) выполняется при представлении уполномоченным органом государства-члена в Комиссию сведений о подлежащем исключению из единой базы данных заявлении на проведение процедур регистрации лекарственного препарата, рассмотрение которого прекращено в связи с нарушениями Правил регистрации или в связи с отзывом заявителем.

212. Первой выполняется операция "Представление сведений для исключения из единой базы данных" (P.MM.01.OPR.077), по результатам выполнения которой уполномоченным органом государства-члена формируются и представляются в Комиссию сведения о заявлении на проведение процедур регистрации лекарственного препарата, подлежащем исключению из единой базы данных.

213. При поступлении в Комиссию сведений о заявлении на проведение процедур регистрации лекарственного препарата, исключаемом из единой базы данных, выполняется операция "Прием и обработка сведений для исключения из единой базы данных" (P.MM.01.OPR.078), по результатам выполнения которой сведения о заявлении на проведение процедур регистрации лекарственного препарата исключаются из единой базы данных. Уведомление об исключении сведений о заявлении на проведение процедур регистрации лекарственного препарата передается в уполномоченный орган государства-члена.

214. При поступлении в уполномоченный орган государства-члена уведомления об исключении сведений о заявлении на проведение процедур регистрации лекарственного препарата из единой базы данных выполняется операция "Получение уведомления о результатах исключения сведений из единой базы данных" (P.MM.01.OPR.079), по результатам выполнения которой осуществляются прием и обработка указанного уведомления.

215. Результатом выполнения процедуры "Исключение сведений из единой базы данных" (P.MM.01.PRC.026) является получение уполномоченным органом государства-члена уведомления о результатах исключения сведений о заявлении на проведение процедур регистрации лекарственного препарата из единой базы данных.

216. Перечень операций общего процесса, выполняемых в рамках процедуры "Исключение сведений из единой базы данных" (P.MM.01.PRC.026), приведен в таблице 108.

Таблица 108

Перечень операций общего процесса, выполняемых в рамках процедуры "Исключение сведений из единой базы данных" (P.MM.01.PRC.026)

Кодовое обозначениеНаименованиеОписание
123
P.MM.01.OPR.077представление сведений для исключения из единой базы данныхприведено в таблице 109 настоящих Правил
P.MM.01.OPR.088прием и обработка сведений для исключения из единой базы данныхприведено в таблице 110 настоящих Правил
P.MM.01.OPR.079получение уведомления о результатах исключения сведений из единой базы данныхприведено в таблице 111 настоящих Правил

Таблица 109

Описание операции "Представление сведений для исключения из единой базы данных" (P.MM.01.OPR.077)

N п/пОбозначение элементаОписание
123
1Кодовое обозначениеP.MM.01.OPR.077
2Наименование операциипредставление сведений для исключения из единой базы данных
3Исполнительуполномоченный орган государства-члена
4Условия выполнениявыполняется при представлении уполномоченным органом государства-члена в Комиссию сведений о заявлении на проведение процедур регистрации лекарственного препарата, подлежащих исключению из единой базы данных
5Ограниченияформат и структура представляемых сведений должны соответствовать Описанию форматов и структур электронных документов и сведений
6Описание операцииисполнитель формирует сообщение, содержащее предназначенные для передачи в Комиссию сведения о заявлении на проведение процедур регистрации лекарственного препарата для исключения из единой базы данных, в соответствии с Регламентом информационного взаимодействия между уполномоченными органами государств-членов и Комиссией
7Результатысведения о заявлении на проведение процедур регистрации лекарственного препарата для исключения из единой базы данных переданы в Комиссию

Таблица 110

Описание операции "Прием и обработка сведений из единой базы данных" (P.MM.01.OPR.078)

N п/пОбозначение элементаОписание
123
1Кодовое обозначениеP.MM.01.OPR.078
2Наименование операцииприем и обработка сведений из единой базы данных
3ИсполнительКомиссия
4Условия выполнениявыполняется при получении Комиссией сведений о заявлении на проведение процедур регистрации лекарственного препарата для исключения из единой базы данных (операция "Представление сведений для исключения из единой базы данных" (P.MM.01.OPR.077))
5Ограниченияформат и структура представляемых сведений должны соответствовать Описанию форматов и структур электронных документов и сведений. Требуется авторизация, сведения представляются только уполномоченными органами государств-членов. Реквизиты электронного документа (сведений) должны соответствовать требованиям, предусмотренным Регламентом информационного взаимодействия между уполномоченными органами государств-членов и Комиссией
6Описание операцииисполнитель принимает сведения и проверяет их в соответствии с Регламентом информационного взаимодействия между уполномоченными органами государств-членов и Комиссией.
В случае успешного выполнения проверки исполнитель осуществляет исключение сведений о заявлении на проведение процедур регистрации из единой базы данных, заполняя дату и время обновления сведений о регистрации соответствующего лекарственного препарата, а также конечную дату периода действия сведений в единой базе данных. Копия сведений сохраняется в единой базе данных без возможности дальнейшего редактирования для обеспечения возможности просмотра истории изменений. Исполнитель формирует и направляет уполномоченному органу государства-члена уведомление об успешном исключении сведений о заявлении на проведение процедур регистрации лекарственного препарата из единой базы данных со значением кода результата обработки, соответствующим удалению сведений, в соответствии с Регламентом информационного взаимодействия между уполномоченными органами государств-членов и Комиссией
7Результатысведения о заявлении на проведение процедур регистрации лекарственного препарата, исключаемом из единой базы данных, обработаны, уведомление об исключении сведений о заявлении на проведение процедур регистрации из единой базы данных направлено в уполномоченный орган государства-члена

Таблица 111

Описание операции "Получение уведомления о результатах исключения сведений из единой базы данных" (P.MM.01.OPR.079)

N п/пОбозначение элементаОписание
123
1Кодовое обозначениеP.MM.01.OPR.079
2Наименование операцииполучение уведомления о результатах исключения сведений из единой базы данных
3Исполнительуполномоченный орган государства-члена
4Условия выполнениявыполняется при получении уполномоченным органом государства-члена уведомления об исключении сведений о заявлении на проведение процедур регистрации лекарственного препарата из единой базы данных (операция "Прием и обработка сведений для исключения из единой базы данных" (P.MM.01.OPR.078))
5Ограниченияформат и структура уведомления должны соответствовать Описанию форматов и структур электронных документов и сведений
6Описание операцииисполнитель осуществляет прием уведомления об исключении сведений о заявлении на проведение процедур регистрации лекарственного препарата из единой базы данных в соответствии с Регламентом информационного взаимодействия между уполномоченными органами государств-членов и Комиссией
7Результатыполучено уведомление об исключении сведений о заявлении на проведение процедур регистрации лекарственного препарата из единой базы данных

Процедура "Получение информации о дате и времени обновления единой базы данных" (P.MM.01.PRC.027)

217. Схема выполнения процедуры "Получение информации о дате и времени обновления единой базы данных" (P.MM.01.PRC.027) представлена на рисунке 35.

Рис. 35. Схема выполнения процедуры "Получение информации о дате и времени обновления единой базы данных" (P.MM.01.PRC.027)

218. Процедура "Получение информации о дате и времени обновления единой базы данных" (P.MM.01.PRC.027) выполняется заинтересованным органом государства-члена при возникновении необходимости получения информации о дате и времени обновления единой базы данных.

219. Первой выполняется операция "Запрос информации о дате и времени обновления единой базы данных" (P.MM.01.OPR.080), по результатам выполнения которой заинтересованным органом государства-члена формируется и направляется в Комиссию запрос на представление информации о дате и времени обновления единой базы данных.

220. При поступлении в Комиссию запроса на представление информации о дате и времени обновления единой базы данных выполняется операция "Подготовка и представление информации о дате и времени обновления единой базы данных" (P.MM.01.OPR.081), по результатам выполнения которой Комиссией формируется и представляется в заинтересованный орган государства-члена информация о дате и времени обновления единой базы данных.

221. При поступлении в заинтересованный орган государства-члена информации о дате и времени обновления единой базы данных выполняется операция "Прием и обработка информации о дате и времени обновления единой базы данных" (P.MM.01.OPR.082).

222. Результатом выполнения процедуры "Получение информации о дате и времени обновления единой базы данных" (P.MM.01.PRC.027) является получение заинтересованным органом государства-члена информации о дате и времени обновления единой базы данных.

223. Перечень операций общего процесса, выполняемых в рамках процедуры "Получение информации о дате и времени обновления единой базы данных" (P.MM.01.PRC.027), приведен в таблице 112.

Таблица 112

Перечень операций общего процесса, выполняемых в рамках процедуры "Получение информации о дате и времени обновления единой базы данных" (P.MM.01.PRC.027)

Кодовое обозначениеНаименованиеОписание
123
P.MM.01.OPR.080запрос информации о дате и времени обновления единой базы данныхприведено в таблице 113 настоящих Правил
P.MM.01.OPR.081подготовка и представление информации о дате и времени обновления единой базы данныхприведено в таблице 114 настоящих Правил
P.MM.01.OPR.082прием и обработка информации о дате и времени обновления единой базы данныхприведено в таблице 115 настоящих Правил

Таблица 113

Описание операции "Запрос информации о дате и времени обновления единой базы данных" (P.MM.01.OPR.080)

N п/пОбозначение элементаОписание
123
1Кодовое обозначениеP.MM.01.OPR.080
2Наименование операциизапрос информации о дате и времени обновления единой базы данных
3Исполнительзаинтересованный орган государства-члена
4Условия выполнениявыполняется при возникновении необходимости получения заинтересованным органом государства-члена информации о дате и времени обновления единой базы данных
5Ограниченияформат и структура запроса информации должны соответствовать Описанию форматов и структур электронных документов и сведений
6Описание операцииисполнитель направляет в Комиссию запрос на представление информации о дате и времени обновления единой базы данных в соответствии с Регламентом информационного взаимодействия между уполномоченными органами государств-членов и Комиссией
7Результатызаинтересованным органом государства-члена направлен запрос на представление информации о дате и времени обновления единой базы данных

Таблица 114

Описание операции "Подготовка и представление информации о дате и времени обновления единой базы данных" (P.MM.01.OPR.081)

N п/пОбозначение элементаОписание
123
1Кодовое обозначениеP.MM.01.OPR.081
2Наименование операцииподготовка и представление информации о дате и времени обновления единой базы данных
3ИсполнительКомиссия
4Условия выполнениявыполняется при получении Комиссией запроса на представление информации о дате и времени обновления единой базы данных (операция "Запрос информации о дате и времени обновления единой базы данных" (P.MM.01.OPR.080))
5Ограниченияформат и структура представляемых сведений должны соответствовать Описанию форматов и структур электронных документов и сведений. Требуется авторизация, сведения запрашиваются только заинтересованными органами государств-членов
6Описание операцииисполнитель выполняет проверку полученного запроса в соответствии с Регламентом информационного взаимодействия между уполномоченными органами государств-членов и Комиссией. В случае успешного выполнения проверки исполнитель направляет ответ на запрос в соответствии с Регламентом информационного взаимодействия между уполномоченными органами государств-членов и Комиссией
7Результатыинформация о дате и времени обновления единой базы данных представлена заинтересованному органу государства-члена

Таблица 115

Описание операции "Прием и обработка информации о дате и времени обновления единой базы данных" (P.MM.01.OPR.082)

N п/пОбозначение элементаОписание
123
1Кодовое обозначениеP.MM.01.OPR.082
2Наименование операцииприем и обработка информации о дате и времени обновления единой базы данных
3Исполнительзаинтересованный орган государства-члена
4Условия выполнениявыполняется при представлении Комиссией информации о дате и времени обновления единой базы данных (операция "Подготовка и представление информации о дате и времени обновления единой базы данных" (P.MM.01.OPR.081))
5Ограниченияформат и структура представляемых сведений должны соответствовать Описанию форматов и структур электронных документов и сведений
6Описание операцииисполнитель выполняет проверку полученной информации о дате и времени обновления единой базы данных в соответствии с Регламентом информационного взаимодействия между уполномоченными органами государств-членов и Комиссией
7Результатызаинтересованным органом государства-члена получена информация о дате и времени обновления единой базы данных

Процедура "Получение актуальных сведений из единой базы данных" (P.MM.01.PRC.028)

224. Схема выполнения процедуры "Получение актуальных сведений из единой базы данных" (P.MM.01.PRC.028) представлена на рисунке 36.

Рис. 36. Схема выполнения процедуры "Получение актуальных сведений из единой базы данных" (P.MM.01.PRC.028)

225. Процедура "Получение актуальных сведений из единой базы данных" (P.MM.01.PRC.028) выполняется заинтересованным органом государства-члена при возникновении необходимости получения актуальных сведений из единой базы данных.

226. Первой выполняется операция "Запрос актуальных сведений из единой базы данных" (P.MM.01.OPR.083), по результатам выполнения которой заинтересованным органом государства-члена формируется и направляется в Комиссию запрос на представление актуальных сведений из единой базы данных.

227. При поступлении в Комиссию запроса на представление актуальных сведений из единого реестра выполняется операция "Подготовка и представление результата выполнения запроса актуальных сведений из единой базы данных" (P.MM.01.OPR.084), по результатам выполнения которой Комиссией формируются и представляются в заинтересованный орган государства-члена актуальные сведения из единой базы данных или уведомление о невозможности представления сведений, удовлетворяющих параметрам запроса.

228. При поступлении в заинтересованный орган государства-члена актуальных сведений из единого реестра или уведомления о невозможности представления сведений, удовлетворяющих параметрам запроса, выполняется операция "Прием и обработка результата выполнения запроса актуальных сведений из единой базы данных" (P.MM.01.OPR.085).

229. Результатом выполнения процедуры "Получение актуальных сведений из единой базы данных" (P.MM.01.PRC.028) является получение заинтересованным органом государства-члена актуальных сведений из единой базы данных или уведомления о невозможности представления сведений, удовлетворяющих параметрам запроса.

230. Перечень операций общего процесса, выполняемых в рамках процедуры "Получение актуальных сведений из единой базы данных" (P.MM.01.PRC.028), приведен в таблице 116.

Таблица 116

Перечень операций общего процесса, выполняемых в рамках процедуры "Получение актуальных сведений из единой базы данных" (P.MM.01.PRC.028)

Кодовое обозначениеНаименованиеОписание
123
P.MM.01.OPR.083запрос актуальных сведений из единой базы данныхприведено в таблице 117 настоящих Правил
P.MM.01.OPR.084подготовка и представление результата выполнения запроса актуальных сведений из единой базы данныхприведено в таблице 118 настоящих Правил
P.MM.01.OPR.085прием и обработка результата выполнения запроса актуальных сведений из единой базы данныхприведено в таблице 119 настоящих Правил

Таблица 117

Описание операции "Запрос актуальных сведений из единой базы данных" (P.MM.01.OPR.083)

N п/пОбозначение элементаОписание
123
1Кодовое обозначениеP.MM.01.OPR.083
2Наименование операциизапрос актуальных сведений из единой базы данных
3Исполнительзаинтересованный орган государства-члена
4Условия выполнениявыполняется при возникновении необходимости получения заинтересованным органом государства-члена актуальных сведений из единой базы данных
5Ограниченияформат и структура запроса сведений должны соответствовать Описанию форматов и структур электронных документов и сведений
6Описание операцииисполнитель направляет в Комиссию запрос на представление актуальных сведений из единой базы данных в соответствии с Регламентом информационного взаимодействия между уполномоченными органами государств-членов и Комиссией.
Исполнитель запрашивает актуальные сведения по всем государствам или по конкретному государству, указав в запросе код страны.
В запросе в реквизите "Дата и время обновления" указываются дата и время, на которые необходимо представить актуальные сведения. Если дата и время не указаны, то представляются сведения из единой базы данных, актуальные на текущий момент.
В запросе может быть указана "Начальная дата и время", тогда в ответ будут включены только актуальные сведения, записанные в единой базе данных после указанного момента.
В запросе может быть указана "Конечная дата и время", тогда в ответ будут включены только актуальные сведения, записанные в единой базе данных до указанного момента.
В запросе может быть указана "Начальная дата и время" и "Конечная дата и время", тогда в ответ будут включены только актуальные сведения, записанные в единой базе данных в указанный период.
Если в запросе не указаны "Начальная дата и время" и "Конечная дата и время", то ответ будет содержать все актуальные сведения
7Результатызаинтересованным органом государства-члена направлен запрос на представление актуальных сведений из единой базы данных

Таблица 118

Описание операции "Подготовка и представление результата выполнения запроса актуальных сведений из единой базы данных" (P.MM.01.OPR.084)

N п/пОбозначение элементаОписание
123
1Кодовое обозначениеP.MM.01.OPR.084
2Наименование операцииподготовка и представление результата выполнения запроса актуальных сведений из единой базы данных
3ИсполнительКомиссия
4Условия выполнениявыполняется при получении Комиссией запроса на представление актуальных сведений из единой базы данных (операция "Запрос актуальных сведений из единой базы данных" (P.MM.01.OPR.083))
5Ограниченияформат и структура запроса и представляемых сведений должны соответствовать Описанию форматов и структур электронных документов и сведений. Требуется авторизация, сведения запрашиваются только заинтересованными органами государств-членов
6Описание операцииисполнитель выполняет проверку полученного запроса в соответствии с Регламентом информационного взаимодействия между уполномоченными органами государств-членов и Комиссией.
В случае успешного выполнения проверки исполнитель направляет ответ на запрос в соответствии с Регламентом информационного взаимодействия между уполномоченными органами государств-членов и Комиссией, в котором могут быть направлены сообщения:
со сведениями из единой базы данных;
с уведомлением о невозможности представления сведений, удовлетворяющих параметрам запроса.
В случае если уведомление о невозможности представления сведений, удовлетворяющих параметрам запроса, формируется в связи с отсутствием в единой базе данных сведений, удовлетворяющих параметрам запроса, в уведомлении указывается код результата обработки сведений, соответствующий отсутствию запрашиваемых сведений.
В случае если уведомление о невозможности представления сведений, удовлетворяющих параметрам запроса, формируется в связи с превышением запрошенными сведениями допустимого объема, в уведомлении указывается код результата обработки сведений, соответствующий невозможности представления запрашиваемых сведений, а реквизит "Описание" заполняется значением "превышение запрошенными сведениями допустимого объема"; заинтересованный орган государства-члена может разбить свой запрос на два (или более) новых запроса, указав в них дополнительные условия (например, код государства и/или начальную дату и время и/или конечную дату и время размещения сведений в единой базе данных) таким образом, чтобы запрошенные сведения по каждому новому запросу не превышали допустимый объем и в совокупности соответствовали сведениям, сформированным в ответ на первоначальный запрос.
В ответных сообщениях представляются актуальные сведения из единой базы данных на дату, указанную в запросе, то есть сведения, для которых начальная дата меньше указанной в запросе, а конечная дата больше указанной в запросе либо не задана.
В случае если в запросе указан код страны, то в ответном сообщении будут направлены сведения, представленные в единой базе данных указанным государством
7Результатызаинтересованному органу государства-члена представлены актуальные сведения из единой базы данных или уведомление о невозможности представления сведений, удовлетворяющих параметрам запроса

Таблица 119

Описание операции "Прием и обработка результата выполнения запроса актуальных сведений из единой базы данных" (P.MM.01.OPR.085)

N п/пОбозначение элементаОписание
123
1Кодовое обозначениеP.MM.01.OPR.085
2Наименование операцииприем и обработка результата выполнения запроса актуальных сведений из единой базы данных
3Исполнительзаинтересованный орган государства-члена
4Условия выполнениявыполняется при представлении Комиссией актуальных сведений из единой базы данных или уведомления о невозможности представления сведений, удовлетворяющих параметрам запроса (операция "Подготовка и представление результата выполнения запроса актуальных сведений из единой базы данных" (P.MM.01.OPR.084))
5Ограниченияформат и структура представляемых сведений должны соответствовать Описанию форматов и структур электронных документов и сведений
6Описание операцииисполнитель выполняет проверку полученных сведений в соответствии с Регламентом информационного взаимодействия между уполномоченными органами государств-членов и Комиссией
7Результатыактуальные сведения из единой базы данных или уведомление о невозможности представления сведений, удовлетворяющих параметрам запроса, получены

Процедура "Получение измененных сведений из единой базы данных" (P.MM.01.PRC.029)

231. Схема выполнения процедуры "Получение измененных сведений из единой базы данных" (P.MM.01.PRC.029) представлена на рисунке 37.

Рис. 37. Схема выполнения процедуры "Получение измененных сведений из единой базы данных" (P.MM.01.PRC.029)

232. Процедура "Получение измененных сведений из единой базы данных" (P.MM.01.PRC.029) выполняется заинтересованным органом государства-члена при возникновении необходимости получения измененных сведений из единой базы данных.

233. Первой выполняется операция "Получение измененных сведений из единой базы данных" (P.MM.01.PRC.086), по результатам выполнения которой заинтересованным органом государства-члена формируется и направляется в Комиссию запрос на представление измененных сведений из единой базы данных.

234. При поступлении в Комиссию запроса на представление измененных сведений из единой базы данных выполняется операция "Подготовка и представление результата выполнения запроса измененных сведений из единой базы данных" (P.MM.01.OPR.087), по результатам выполнения которой Комиссией формируются и представляются в заинтересованный орган государства-члена измененные сведения из единой базы данных или уведомление о невозможности представления сведений, удовлетворяющих параметрам запроса.

235. При поступлении в заинтересованный орган государства-члена измененных сведений из единой базы данных или уведомления о невозможности представления сведений, удовлетворяющих параметрам запроса, выполняется операция "Прием и обработка результата выполнения запроса измененных сведений из единой базы данных" (P.MM.01.OPR.088).

236. Результатом выполнения процедуры "Получение измененных сведений из единой базы данных" (P.MM.01.PRC.029) является получение заинтересованным органом государства-члена измененных сведений из единой базы данных или уведомления о невозможности представления сведений, удовлетворяющих параметрам запроса.

237. Перечень операций общего процесса, выполняемых в рамках процедуры "Получение измененных сведений из единой базы данных" (P.MM.01.PRC.029), приведен в таблице 120.

Таблица 120

Перечень операций общего процесса, выполняемых в рамках процедуры "Получение измененных сведений из единой базы данных" (P.MM.01.PRC.029)

Кодовое обозначениеНаименованиеОписание
123
P.MM.01.OPR.086запрос измененных сведений из единой базы данныхприведено в таблице 121 настоящих Правил
P.MM.01.OPR.087подготовка и представление результата выполнения запроса измененных сведений из единой базы данныхприведено в таблице 122 настоящих Правил
P.MM.01.OPR.088прием и обработка результата выполнения запроса измененных сведений из единой базы данныхприведено в таблице 123 настоящих Правил

Таблица 121

Описание операции "Запрос измененных сведений из единой базы данных" (P.MM.01.OPR.086)

N п/пОбозначение элементаОписание
123
1Кодовое обозначениеP.MM.01.OPR.086
2Наименование операциизапрос измененных сведений из единой базы данных
3Исполнительзаинтересованный орган государства-члена
4Условия выполнениявыполняется при возникновении необходимости получения заинтересованным органом государства-члена измененных сведений из единой базы данных
5Ограниченияформат и структура запроса сведений должны соответствовать Описанию форматов и структур электронных документов и сведений
6Описание операцииисполнитель направляет в Комиссию запрос на представление измененных сведений из единой базы данных, начиная с даты и времени, указанных в запросе, в соответствии с Регламентом информационного взаимодействия между уполномоченными органами государств-членов и Комиссией. При необходимости представления сведений, добавленных или измененных в единой базе данных в течение определенного периода времени, в запросе указывается соответствующий период времени. Для запроса измененных сведений единой базы данных в полном объеме начальная и конечная дата и время не заполняются.
При возникновении необходимости запроса измененных сведений по конкретному государству в запросе указывается код страны. Для получения сведений по всем государствам, код страны в запросе не указывается
7Результатызаинтересованным органом государства-члена направлен запрос на представление измененных сведений из единой базы данных

Таблица 122

Описание операции "Подготовка и представление результата выполнения запроса измененных сведений из единой базы данных" (P.MM.01.OPR.087)

N п/пОбозначение элементаОписание
123
1Кодовое обозначениеP.MM.01.OPR.087
2Наименование операцииподготовка и представление результата выполнения запроса измененных сведений из единой базы данных
3ИсполнительКомиссия
4Условия выполнениявыполняется при получении Комиссией запроса на представление измененных сведений из единой базы данных (операция "Запрос измененных сведений из единой базы данных" (P.MM.01.OPR.086))
5Ограниченияформат и структура запроса и представляемых сведений должны соответствовать Описанию форматов и структур электронных документов и сведений. Требуется авторизация, сведения запрашиваются только заинтересованными органами государств-членов
6Описание операцииисполнитель выполняет проверку полученного запроса в соответствии с Регламентом информационного взаимодействия между уполномоченными органами государств-членов и Комиссией.
В случае успешного выполнения проверки исполнитель направляет ответ на запрос в соответствии с Регламентом информационного взаимодействия между уполномоченными органами государств-членов и Комиссией.
В ответ на запрос могут быть направлены сообщения:
с добавленными и измененными сведениями из единой базы данных, за период или начиная с даты и времени обновления, указанных в запросе;
с уведомлением о невозможности представления сведений, удовлетворяющих параметрам запроса.
В случае если уведомление о невозможности представления сведений, удовлетворяющих параметрам запроса, формируется в связи с отсутствием в единой базе данных сведений, удовлетворяющих параметрам запроса, в уведомлении указывается код результата обработки сведений, соответствующий отсутствию запрашиваемых сведений.
В случае если уведомление о невозможности представления сведений, удовлетворяющих параметрам запроса, формируется в связи с превышением запрошенными сведениями допустимого объема, в уведомлении указывается код результата обработки сведений, соответствующий невозможности представления запрашиваемых сведений, а реквизит "Описание" заполняется значением "превышение запрошенными сведениями допустимого объема"; заинтересованный орган государства-члена может разбить свой запрос на два (или более) новых запроса, указав в них дополнительные условия (например, код государства и/или начальную дату и время и/или конечную дату и время изменения сведений в реестре) таким образом, чтобы запрошенные сведения по каждому новому запросу не превышали допустимый объем и в совокупности соответствовали сведениям, сформированным в ответ на первоначальный запрос.
В случае если период времени изменения сведений в запросе не указан, представляются все сведения из единой базы данных с историей их изменений.
В ответном сообщении измененные сведения из единой базы данных представляются по всем государствам или по конкретному государству, представившему сведения в единую базу данных. В результате выполнения запроса сведения из единой базы данных представляются с учетом истории изменений
7Результатызаинтересованному органу государства-члена представлены измененные сведения из единой базы данных или уведомление о невозможности представления сведений, удовлетворяющих параметрам запроса

Таблица 123

Описание операции "Прием и обработка результата выполнения запроса измененных сведений из единой базы данных" (P.MM.01.OPR.088)

N п/пОбозначение элементаОписание
123
1Кодовое обозначениеP.MM.01.OPR.088
2Наименование операцииприем и обработка результата выполнения запроса измененных сведений из единой базы данных
3Исполнительзаинтересованный орган государства-члена
4Условия выполнениявыполняется при получении заинтересованным органом государства-члена измененных сведений из единой базы данных или уведомления о невозможности представления сведений, удовлетворяющих параметрам запроса (операция "Подготовка и представление результата выполнения запроса измененных сведений из единой базы данных" (P.MM.01.OPR.087))
5Ограниченияформат и структура представляемых сведений должны соответствовать Описанию форматов и структур электронных документов и сведений
6Описание операцииисполнитель выполняет проверку полученных сведений в соответствии с Регламентом информационного взаимодействия между уполномоченными органами государств-членов и Комиссией
7Результатызаинтересованным органом государства-члена получены измененные сведения из единой базы данных или уведомление о невозможности представления сведений, удовлетворяющих параметрам запроса

IX. Порядок действий в нештатных ситуациях

238. При выполнении процедур общего процесса возможны исключительные ситуации, при которых обработка данных не может быть произведена в обычном режиме. Это может произойти при возникновении технических сбоев, ошибок структурного и форматно-логического контроля и в иных случаях.

239. В случае возникновения ошибок структурного и форматно-логического контроля уполномоченный орган государства-члена осуществляет проверку сообщения, относительно которого получено уведомление об ошибке, на соответствие Описанию форматов и структур электронных документов и сведений и требованиям к заполнению электронных документов и сведений в соответствии с Регламентом информационного взаимодействия между уполномоченными органами государств-членов и Комиссией и Регламентом информационного взаимодействия между уполномоченными органами государств-членов. В случае выявления несоответствия сведений требованиям указанных документов уполномоченный орган государства-члена принимает необходимые меры для устранения выявленной ошибки в установленном порядке.

240. В целях разрешения нештатных ситуаций уполномоченные органы государств-членов, обеспечивающие выполнение требований, предусмотренных настоящими Правилами, информируют другие уполномоченные органы государств-членов и Комиссию о лицах, ответственных за обеспечение технической поддержки при реализации общего процесса.".

2. Регламент информационного взаимодействия между уполномоченными органами государств - членов Евразийского экономического союза и Евразийской экономической комиссией при реализации средствами интегрированной информационной системы Евразийского экономического союза общего процесса "Формирование, ведение и использование единого реестра зарегистрированных лекарственных средств Евразийского экономического союза", утвержденный указанным Решением, изложить в следующей редакции:

"УТВЕРЖДЕН

Решением Коллегии

Евразийской экономической комиссии

от 25 октября 2016 г. N 122

(в редакции Решения Коллегии

Евразийской экономической комиссии

от 24 декабря 2025 г. N 140)

РЕГЛАМЕНТ ИНФОРМАЦИОННОГО ВЗАИМОДЕЙСТВИЯ МЕЖДУ УПОЛНОМОЧЕННЫМИ ОРГАНАМИ ГОСУДАРСТВ - ЧЛЕНОВ ЕВРАЗИЙСКОГО ЭКОНОМИЧЕСКОГО СОЮЗА И ЕВРАЗИЙСКОЙ ЭКОНОМИЧЕСКОЙ КОМИССИЕЙ ПРИ РЕАЛИЗАЦИИ СРЕДСТВАМИ ИНТЕГРИРОВАННОЙ ИНФОРМАЦИОННОЙ СИСТЕМЫ ЕВРАЗИЙСКОГО ЭКОНОМИЧЕСКОГО СОЮЗА ОБЩЕГО ПРОЦЕССА "ФОРМИРОВАНИЕ, ВЕДЕНИЕ И ИСПОЛЬЗОВАНИЕ ЕДИНОГО РЕЕСТРА ЗАРЕГИСТРИРОВАННЫХ ЛЕКАРСТВЕННЫХ СРЕДСТВ ЕВРАЗИЙСКОГО ЭКОНОМИЧЕСКОГО СОЮЗА"

I. Общие положения

1. Настоящий Регламент разработан в соответствии со следующими международными договорами и актами, составляющими право Евразийского экономического союза (далее - Союз):

Договор о Евразийском экономическом союзе от 29 мая 2014 года;

Соглашение о единых принципах и правилах обращения лекарственных средств в рамках Евразийского экономического союза от 23 декабря 2014 года;

Решение Совета Евразийской экономической комиссии от 3 ноября 2016 г. N 78 "О Правилах регистрации и экспертизы лекарственных средств для медицинского применения";

Решение Совета Евразийской экономической комиссии от 3 ноября 2016 г. N 84 "О порядках формирования и ведения единого реестра зарегистрированных лекарственных средств Евразийского экономического союза и информационных баз данных в сфере обращения лекарственных средств" (далее - Порядок ведения единого реестра);

Решение Коллегии Евразийской экономической комиссии от 6 ноября 2014 г. N 200 "О технологических документах, регламентирующих информационное взаимодействие при реализации средствами интегрированной информационной системы внешней и взаимной торговли общих процессов";

Решение Коллегии Евразийской экономической комиссии от 27 января 2015 г. N 5 "Об утверждении Правил электронного обмена данными в интегрированной информационной системе внешней и взаимной торговли";

Решение Коллегии Евразийской экономической комиссии от 14 апреля 2015 г. N 29 "О перечне общих процессов в рамках Евразийского экономического союза и внесении изменения в Решение Коллегии Евразийской экономической комиссии от 19 августа 2014 г. N 132";

Решение Коллегии Евразийской экономической комиссии от 9 июня 2015 г. N 63 "О Методике анализа, оптимизации, гармонизации и описания общих процессов в рамках Евразийского экономического союза";

Решение Коллегии Евразийской экономической комиссии от 28 сентября 2015 г. N 125 "Об утверждении Положения об обмене электронными документами при трансграничном взаимодействии органов государственной власти государств - членов Евразийского экономического союза между собой и с Евразийской экономической комиссией";

Решение Коллегии Евразийской экономической комиссии от 30 июня 2017 г. N 79 "О Требованиях к электронному виду заявлений и документов регистрационного досье, представляемых при осуществлении регистрации и экспертизы лекарственных препаратов для медицинского применения".

II. Область применения

2. Настоящий Регламент разработан в целях обеспечения единообразного применения участниками общего процесса порядка и условий выполнения транзакций общего процесса "Формирование, ведение и использование единого реестра зарегистрированных лекарственных средств Евразийского экономического союза" (далее - общий процесс).

3. Настоящий Регламент определяет требования к порядку и условиям выполнения операций общего процесса, непосредственно направленных на реализацию информационного взаимодействия между участниками общего процесса.

4. Настоящий Регламент применяется участниками общего процесса при контроле за порядком выполнения процедур и операций в рамках общего процесса, а также при проектировании, разработке и доработке компонентов информационных систем, обеспечивающих реализацию этого общего процесса.

III. Основные понятия

5. Для целей настоящего Регламента используются понятия, которые означают следующее:

"реквизит электронного документа (сведений)" - единица данных электронного документа (сведений), которая в определенном контексте считается неразделимой;

"состояние информационного объекта общего процесса" - свойство, характеризующее информационный объект на определенной стадии его жизненного цикла, изменяющееся при выполнении операций общего процесса.

Понятия "инициатор", "инициирующая операция", "принимающая операция", "респондент", "сообщение общего процесса" и "транзакция общего процесса", используемые в настоящем Регламенте, применяются в значениях, определенных Методикой анализа, оптимизации, гармонизации и описания общих процессов в рамках Евразийского экономического союза, утвержденной Решением Коллегии Евразийской экономической комиссии от 9 июня 2015 г. N 63.

Иные понятия, используемые в настоящем Регламенте, применяются в значениях, определенных в пункте 4 Правил информационного взаимодействия при реализации средствами интегрированной информационной системы Евразийского экономического союза общего процесса "Формирование, ведение и использование единого реестра зарегистрированных лекарственных средств Евразийского экономического союза", утвержденных Решением Коллегии Евразийской экономической комиссии от 25 октября 2016 г. N 122 (далее - Правила информационного взаимодействия).

IV. Основные сведения об информационном взаимодействии в рамках общего процесса

1. Участники информационного взаимодействия

6. Перечень ролей участников информационного взаимодействия в рамках общего процесса приведен в таблице 1.

Таблица 1

Перечень ролей участников информационного взаимодействия

Наименование ролиОписание ролиУчастник, выполняющий роль
123
Владелец сведенийпредставляет сведения для актуализации единого реестра, представляет сведения для актуализации единой базы данных, представляет сведения и документы из регистрационного дела или регистрационного досье по запросу, представляет сведения о документах, подлежащих размещению в едином реестреуполномоченный орган государства-члена (P.MM.01.ACT.001)
уполномоченный орган референтного государства (P.MM.01.ACT.002)
уполномоченный орган государства признания (P.MM.01.ACT.003)
Координаторотвечает за формирование и ведение единого реестра и единой базы данных, представляет доступ к сведениям и документам, содержащимся в едином реестре и единой базе данных, запрашивает сведения и документы из регистрационного дела или регистрационного досьеКомиссия (P.ACT.001)
Получатель сведенийзапрашивает и получает сведения и документы из единого реестра, запрашивает и получает сведения и документы из единой базы данных, запрашивает и получает сведения и документы из регистрационного дела или регистрационного досьезаинтересованный орган государства-члена (P.MM.01.ACT.007)

2. Структура информационного взаимодействия

7. Информационное взаимодействие в рамках общего процесса осуществляется между уполномоченными органами государств - членов Союза и Евразийской экономической комиссией (далее соответственно - уполномоченный орган государства-члена, Комиссия) в соответствии с процедурами общего процесса:

а) информационное взаимодействие при формировании и ведении единого реестра и единой базы данных;

б) информационное взаимодействие при получении сведений из единого реестра и единой базы данных;

в) информационное взаимодействие с Комиссией при рассмотрении заявления.

Структура информационного взаимодействия между уполномоченными органами государств-членов и Комиссией представлена на рисунке 1.

Рис. 1. Структура информационного взаимодействия между уполномоченными органами государств-членов и Комиссией

8. Информационное взаимодействие между уполномоченными органами государств-членов и Комиссией реализуется в рамках общего процесса. Структура общего процесса определена в Правилах информационного взаимодействия.

9. Информационное взаимодействие определяет порядок выполнения транзакций общего процесса, каждая из которых представляет собой обмен сообщениями в целях синхронизации состояний информационного объекта общего процесса между участниками общего процесса. Для каждого информационного взаимодействия определены взаимосвязи между операциями и соответствующими таким операциям транзакциями общего процесса.

10. При выполнении транзакции общего процесса инициатор в рамках осуществляемой им операции (инициирующей операции) направляет респонденту сообщение-запрос, в ответ на которое респондент в рамках осуществляемой им операции (принимающей операции) может направить или не направить сообщение-ответ в зависимости от шаблона транзакции общего процесса. Структура данных в составе сообщения должна соответствовать Описанию форматов и структур электронных документов и сведений, используемых для реализации средствами интегрированной информационной системы Евразийского экономического союза общего процесса "Формирование, ведение и использование единого реестра зарегистрированных лекарственных средств Евразийского экономического союза", утвержденному Решением Коллегии Евразийской экономической комиссии от 25 октября 2016 г. N 122 (далее - Описание форматов и структур электронных документов и сведений).

11. Транзакции общего процесса выполняются в соответствии с заданными параметрами транзакций общего процесса, как это определено настоящим Регламентом.

12. В целях выполнения процедур маршрутизации сообщений в условиях, когда одну роль могут исполнять несколько участников общего процесса, при формировании логического адреса участника общего процесса дополнительно указывается идентификатор органа государственной власти государства-члена либо уполномоченной им организации в соответствии с пунктом 52 Правил электронного обмена данными в интегрированной информационной системе внешней и взаимной торговли, утвержденных Решением Коллегии Комиссии от 27 января 2015 г. N 5.

Идентификатор органа государственной власти государства-члена либо уполномоченной им организации указывается в соответствии со справочником, указанным в разделе VII Правил информационного взаимодействия.

V. Информационное взаимодействие в рамках групп процедур

1. Информационное взаимодействие при формировании и ведении единого реестра и единой базы данных

13. Схема выполнения транзакций общего процесса при формировании и ведении единого реестра и единой базы данных представлена на рисунке 2. Для каждой процедуры общего процесса в таблице 2 приведена связь между операциями, промежуточными и результирующими состояниями информационных объектов общего процесса и транзакциями общего процесса.

Рис. 2. Схема выполнения транзакций общего процесса при формировании и ведении единого реестра и единой базы данных

Таблица 2

Перечень транзакций общего процесса при формировании и ведении единого реестра и единой базы данных

N п/пОперация, выполняемая инициаторомПромежуточное состояние информационного объекта общего процессаОперация, выполняемая респондентомРезультирующее состояние информационного объекта общего процессаТранзакция общего процесса
123456
1Включение сведений в единый реестр (P.MM.01.PRC.001)
1.1Представление сведений для включения в единый реестр (P.MM.01.OPR.001).
Получение уведомления о результатах обработки полученных сведений
(P.MM.01.OPR.003)
единый реестр
(P.MM.01.BEN.001):
сведения для включения переданы
прием и обработка сведений о препарате, включаемом в единый реестр
(P.MM.01.OPR.002)
единый реестр
(P.MM.01.BEN.001):
сведения получены
включение сведений в единый реестр
(P.MM.01.TRN.001)
2Изменение сведений, содержащихся в едином реестре (P.MM.01.PRC.002)
2.1Представление сведений для внесения изменений в единый реестр
(P.MM.01.OPR.004).
Получение уведомления о результатах внесения изменений в единый реестр
(P.MM.01.OPR.006)
единый реестр
(P.MM.01.BEN.001):
сведения для изменения переданы
прием и обработка сведений для внесения изменений в единый реестр
(P.MM.01.OPR.005)
единый реестр
(P.MM.01.BEN.001):
обновлен
изменение сведений, содержащихся в едином реестре
(P.MM.01.TRN.002)
3Направление сведений о подлежащем размещению в едином реестре документе (P.MM.01.PRC.019)
3.1Направление сведений о подлежащем размещению в едином реестре документе
(P.MM.01.OPR.055).
Получение и обработка уведомления о результатах обработки сведений о подлежащем размещению в едином реестре документе
(P.MM.01.OPR.057)
сведения регистрационного досье или дела
(P.MM.01.BEN.004):
сведения о документе направлены
получение сведений о подлежащем размещению в едином реестре документе
(P.MM.01.OPR.056)
сведения регистрационного досье или дела
(P.MM.01.BEN.004):
сведения о документе обработаны
направление сведений о подлежащем размещению в едином реестре документе
(P.MM.01.TRN.019)
4Включение сведений в единую базу данных (P.MM.01.PRC.024)
4.1Представление сведений для включения в единую базу данных
(P.MM.01.OPR.071).
Получение уведомления о результатах обработки сведений для включения в единую базу данных
(P.MM.01.OPR.073)
единая база данных
(P.MM.01.BEN.005):
сведения для включения переданы
прием и обработка сведений для включения в единую базу данных
(P.MM.01.OPR.072)
единая база данных
(P.MM.01.BEN.005):
сведения получены
включение сведений в единую базу данных
(P.MM.01.TRN.024)
5Изменение сведений, содержащихся в единой базе данных (P.MM.01.PRC.025)
5.1Представление сведений для внесения изменений в единую базу данных
(P.MM.01.OPR.074).
Получение уведомления о результатах внесения изменений в единую базу данных
(P.MM.01.OPR.076)
единая база данных
(P.MM.01.BEN.005):
сведения для изменения переданы
прием и обработка сведений для внесения изменений в единую базу данных
(P.MM.01.OPR.075)
единая база данных
(P.MM.01.BEN.005):
сведения обновлены
изменение сведений, содержащихся в единой базе данных
(P.MM.01.TRN.025)
6Исключение сведений из единой базы данных (P.MM.01.PRC.026)
6.1Представление сведений для исключения из единой базы данных
(P.MM.01.OPR.077).
Получение уведомления о результатах исключения сведений из единой базы данных
(P.MM.01.OPR.079)
единая база данных
(P.MM.01.BEN.005):
сведения для исключения переданы
прием и обработка сведений для исключения из единой базы данных
(P.MM.01.OPR.078)
единая база данных
(P.MM.01.BEN.005):
сведения исключены
исключение сведений из единой базы данных
(P.MM.01.TRN.026)

2. Информационное взаимодействие при получении сведений из единого реестра и единой базы данных

14. Схема выполнения транзакций общего процесса при получении сведений из единого реестра и единой базы данных представлена на рисунке 3. Для каждой процедуры общего процесса в таблице 3 приведена связь между операциями, промежуточными и результирующими состояниями информационных объектов общего процесса и транзакциями общего процесса.

Рис. 3. Схема выполнения транзакций общего процесса при получении сведений из единого реестра и единой базы данных

Таблица 3

Перечень транзакций общего процесса при получении сведений из единого реестра и единой базы данных

N п/пОперация, выполняемая инициаторомПромежуточное состояние информационного объекта общего процессаОперация, выполняемая респондентомРезультирующее состояние информационного объекта общего процессаТранзакция общего процесса
123456
1Получение информации о дате и времени обновления единого реестра (P.MM.01.PRC.007)
1.1Запрос информации о дате и времени обновления единого реестра (P.MM.01.OPR.020).
Прием и обработка информации о дате и времени обновления единого реестра (P.MM.01.OPR.022)
единый реестр (P.MM.01.BEN.001):
информация о дате и времени обновления запрошена
подготовка и представление информации о дате и времени обновления единого реестра (P.MM.01.OPR.021)единый реестр (P.MM.01.BEN.001):
информация о дате и времени обновления получена
получение информации о дате и времени обновления единого реестра (P.MM.01.TRN.004)
2Получение актуальных сведений из единого реестра (P.MM.01.PRC.008)
2.1Запрос актуальных сведений из единого реестра (P.MM.01.OPR.023).
Прием и обработка актуальных сведений из единого реестра (P.MM.01.OPR.025)
единый реестр (P.MM.01.BEN.001):
сведения запрошены
подготовка и представление актуальных сведений из единого реестра (P.MM.01.OPR.024)единый реестр (P.MM.01.BEN.001):
сведения не могут быть представлены;
единый реестр (P.MM.01.BEN.001):
сведения представлены
получение актуальных сведений из единого реестра (P.MM.01.TRN.005)
3Получение измененных сведений из единого реестра (P.MM.01.PRC.009)
3.1Запрос измененных сведений из единого реестра (P.MM.01.OPR.026).
Прием и обработка измененных сведений из единого реестра (P.MM.01.OPR.028)
единый реестр (P.MM.01.BEN.001):
сведения запрошены
подготовка и представление измененных сведений из единого реестра (P.MM.01.OPR.027)единый реестр (P.MM.01.BEN.001):
сведения не могут быть представлены;
единый реестр (P.MM.01.BEN.001):
сведения представлены
получение измененных сведений из единого реестра (P.MM.01.TRN.006)
4Получение сведений о регистрации лекарственного препарата из единого реестра (P.MM.01.PRC.017)
4.1Запрос сведений о регистрации лекарственного средства (P.MM.01.OPR.049).
Получение и обработка сведений о регистрации лекарственного средства (P.MM.01.OPR.051)
единый реестр (P.MM.01.BEN.001):
сведения о регистрации запрошены
представление сведений о регистрации лекарственного средства (P.MM.01.OPR.050)единый реестр (P.MM.01.BEN.001): сведения о регистрации отсутствуют;
единый реестр (P.MM.01.BEN.001): сведения о регистрации представлены
получение сведений о регистрации лекарственного препарата из единого реестра (P.MM.01.TRN.017)
5Получение сведений о размещенном в едином реестре документе (P.MM.01.PRC.018)
5.1Запрос сведений о размещенном в едином реестре документе (P.MM.01.OPR.052).
Прием и обработка сведений о размещенном в едином реестре документе (P.MM.01.OPR.054)
единый реестр (P.MM.01.BEN.001):
сведения о документе запрошены
представление сведений о размещенном в едином реестре документе (P.MM.01.OPR.053)единый реестр (P.MM.01.BEN.001):
сведения не могут быть представлены;
единый реестр (P.MM.01.BEN.001):
сведения о документе представлены
получение сведений о размещенном в едином реестре документе (P.MM.01.TRN.018)
6Получение информации о дате и времени обновления единой базы данных (P.MM.01.PRC.027)
6.1Запрос информации о дате и времени обновления единой базы данных (P.MM.01.OPR.080).
Прием и обработка информации о дате и времени обновления единой базы данных (P.MM.01.OPR.082)
единая база данных (P.MM.01.BEN.005):
информация о дате и времени обновления запрошена
подготовка и представление информации о дате и времени обновления единой базы данных (P.MM.01.OPR.081)единая база данных (P.MM.01.BEN.005):
информация о дате и времени обновления получена
получение информации о дате и времени обновления единой базы данных (P.MM.01.TRN.027)
7Получение актуальных сведений из единой базы данных (P.MM.01.PRC.028)
7.1Запрос актуальных сведений из единой базы данных (P.MM.01.OPR.083).
Прием и обработка результата выполнения запроса актуальных сведений из единой базы данных" (P.MM.01.OPR.085)
единая база данных (P.MM.01.BEN.005):
сведения запрошены
подготовка и представление результата выполнения запроса актуальных сведений из единой базы данных" (P.MM.01.OPR.084)единая база данных (P.MM.01.BEN.005):
сведения не могут быть представлены;
единая база данных (P.MM.01.BEN.005):
сведения представлены
получение актуальных сведений из единой базы данных (P.MM.01.TRN.028)
8Получение измененных сведений из единой базы данных (P.MM.01.PRC.029)
8.1Запрос измененных сведений из единой базы данных (P.MM.01.OPR.086).
Прием и обработка результата выполнения запроса измененных сведений из единой базы данных" (P.MM.01.OPR.088)
единая база данных (P.MM.01.BEN.005):
сведения запрошены
подготовка и представление результата выполнения запроса измененных сведений из единой базы данных" (P.MM.01.OPR.087)единая база данных (P.MM.01.BEN.005):
сведения не могут быть представлены; единая база данных (P.MM.01.BEN.005):
сведения представлены
получение измененных сведений из единой базы данных (P.MM.01.TRN.029)

3. Информационное взаимодействие с Комиссией при рассмотрении заявления

15. Схема выполнения транзакций общего процесса с Комиссией при рассмотрении заявления представлена на рисунке 4. Для каждой процедуры общего процесса в таблице 4 приведена связь между операциями, промежуточными и результирующими состояниями информационных объектов общего процесса и транзакциями общего процесса.

Рис. 4. Схема выполнения транзакций общего процесса с Комиссией при рассмотрении заявления

Таблица 4

Перечень транзакций общего процесса с Комиссией при рассмотрении заявления

N п/пОперация, выполняемая инициаторомПромежуточное состояние информационного объекта общего процессаОперация, выполняемая респондентомРезультирующее состояние информационного объекта общего процессаТранзакция общего процесса
123456
1Получение порядкового номера регистрационного удостоверения (P.MM.01.PRC.010)
1.1Запрос порядкового номера регистрационного удостоверения (P.MM.01.OPR.029).
Прием и обработка порядкового номера регистрационного удостоверения (P.MM.01.OPR.031)
единый реестр (P.MM.01.BEN.001):
порядковый номер регистрационного удостоверения запрошен
подготовка и представление порядкового номера регистрационного удостоверения (P.MM.01.OPR.030)единый реестр (P.MM.01.BEN.001):
порядковый номер регистрационного удостоверения представлен
получение порядкового номера регистрационного удостоверения (P.MM.01.TRN.007)
2Получение Комиссией сведений из регистрационного дела или регистрационного досье (P.MM.01.PRC.011)
2.1Запрос Комиссией сведений из регистрационного дела или регистрационного досье (P.MM.01.OPR.032).
Прием и обработка Комиссией сведений из регистрационного дела или регистрационного досье (P.MM.01.OPR.034)
сведения регистрационного досье или дела (P.MM.01.BEN.004):
сведения запрошены
подготовка и представление в Комиссию сведений из регистрационного дела или регистрационного досье (P.MM.01.OPR.033)сведения регистрационного досье или дела (P.MM.01.BEN.004):
сведения отсутствуют;
сведения регистрационного досье или дела (P.MM.01.BEN.004):
сведения представлены
получение Комиссией сведений из регистрационного дела или регистрационного досье (P.MM.01.TRN.008)
3Направление заключения о невозможности признания экспертного отчета (P.MM.01.PRC.020)
3.1Направление заключения о невозможности признания экспертного отчета (P.MM.01.OPR.058).
Получение и обработка уведомления о результатах обработки заключения о невозможности признания экспертного отчета (P.MM.01.OPR.060)
экспертный отчет (P.MM.01.BEN.003):
заключение направлено
получение заключения о невозможности признания экспертного отчета (P.MM.01.OPR.059)экспертный отчет (P.MM.01.BEN.003):
заключение получено
направление заключения о невозможности признания экспертного отчета (P.MM.01.TRN.020)
4Получение Комиссией документа из регистрационного дела или регистрационного досье (P.MM.01.PRC.021)
4.1Запрос Комиссией документа из регистрационного дела или регистрационного досье (P.MM.01.OPR.061).
Прием и обработка Комиссией документа из регистрационного дела или регистрационного досье (P.MM.01.OPR.063)
сведения регистрационного досье или дела (P.MM.01.BEN.004):
сведения запрошены
подготовка и представление в Комиссию документа из регистрационного дела или регистрационного досье (P.MM.01.OPR.062)сведения регистрационного досье или дела (P.MM.01.BEN.004):
сведения отсутствуют; сведения регистрационного досье или дела (P.MM.01.BEN.004):
сведения представлены
получение Комиссией документа из регистрационного дела или регистрационного досье (P.MM.01.TRN.021)
5Направление сведений о рассмотрении заявления (P.MM.01.PRC.023)
5.1Направление сведений о рассмотрении заявления (P.MM.01.OPR.068).
Получение сообщения, содержащего сведения об уникальном регистрационном номере, присвоенном заявлению, или уведомления о результатах обработки полученных сведений (P.MM.01.OPR.070)
заявление (P.MM.01.BEN.002):
сведения представлены
получение и обработка сведений о рассмотрении заявления (P.MM.01.OPR.069)заявление (P.MM.01.BEN.002):
номер заявления представлен;
заявление (P.MM.01.BEN.002):
сведения получены
направление сведений о рассмотрении заявления (P.MM.01.TRN.023)

VI. Описание сообщений общего процесса

16. Перечень сообщений общего процесса, передаваемых в рамках информационного взаимодействия при реализации общего процесса, приведен в таблице 5. Структура данных в составе сообщения должна соответствовать Описанию форматов и структур электронных документов и сведений. Ссылка на соответствующую структуру в Описании форматов и структур электронных документов и сведений устанавливается по значению графы 3 таблицы 5.

Таблица 5

Перечень сообщений общего процесса

Кодовое обозначениеНаименованиеСтруктура электронного документа (сведений)
123
P.MM.01.MSG.001сведения о регистрации лекарственного препарата для включения в единый реестрсведения о регистрации лекарственного препарата (R.HC.MM.01.001)
P.MM.01.MSG.002сведения о регистрации лекарственного препарата для изменения в едином реестресведения о регистрации лекарственного препарата (R.HC.MM.01.001)
P.MM.01.MSG.004уведомление о приеме и обработке сведенийуведомление о результате обработки (R.006)
P.MM.01.MSG.005запрос информации о дате и времени обновления единого реестрасостояние актуализации общего ресурса (R.007)
P.MM.01.MSG.006информация о дате и времени обновления единого реестрасостояние актуализации общего ресурса (R.007)
P.MM.01.MSG.007запрос актуальных сведений из единого реестрасостояние актуализации единого реестра или единой базы данных (R.HC.MM.01.007)
P.MM.01.MSG.008актуальные сведения из единого реестрасведения о регистрации лекарственного препарата (R.HC.MM.01.001)
P.MM.01.MSG.009уведомление о невозможности представления сведенийуведомление о результате обработки (R.006)
P.MM.01.MSG.010запрос измененных сведений из единого реестрасостояние актуализации единого реестра или единой базы данных (R.HC.MM.01.007)
P.MM.01.MSG.011измененные сведения из единого реестрасведения о регистрации лекарственного препарата (R.HC.MM.01.001)
P.MM.01.MSG.013сведения о номере заявлениясведения о номере регистрационного удостоверения на лекарственный препарат (R.HC.MM.01.004)
P.MM.01.MSG.014запрос сведений о порядковом номере регистрационного удостоверениясведения о номере регистрационного удостоверения на лекарственный препарат (R.HC.MM.01.004)
P.MM.01.MSG.015сведения о порядковом номере регистрационного удостоверениясведения о номере регистрационного удостоверения на лекарственный препарат (R.HC.MM.01.004)
P.MM.01.MSG.018уведомление об отсутствии сведенийуведомление о результате обработки (R.006)
P.MM.01.MSG.019запрос сведений из регистрационного дела или регистрационного досьесведения регистрационного дела или регистрационного досье на лекарственный препарат (R.HC.MM.01.003)
P.MM.01.MSG.020сведения из регистрационного дела или регистрационного досьесведения регистрационного дела или регистрационного досье на лекарственный препарат (R.HC.MM.01.003)
P.MM.01.MSG.025запрос сведений о регистрации лекарственного препарата из единого реестрасведения о номере регистрационного удостоверения на лекарственный препарат (R.HC.MM.01.004)
P.MM.01.MSG.026сведения о регистрации лекарственного препарата из единого реестрасведения о регистрации лекарственного препарата (R.HC.MM.01.001)
P.MM.01.MSG.027запрос сведений о размещенном в едином реестре документесведения регистрационного дела или регистрационного досье на лекарственный препарат (R.HC.MM.01.003)
P.MM.01.MSG.028сведения о подлежащем размещению в едином реестре документесведения регистрационного дела или регистрационного досье на лекарственный препарат (R.HC.MM.01.003)
P.MM.01.MSG.029заключение о невозможности признания экспертного отчетасведения регистрационного дела или регистрационного досье на лекарственный препарат (R.HC.MM.01.003)
P.MM.01.MSG.030запрос документа из регистрационного дела или регистрационного досьесведения регистрационного дела или регистрационного досье на лекарственный препарат (R.HC.MM.01.003)
P.MM.01.MSG.031документ из регистрационного дела или регистрационного досьесведения регистрационного дела или регистрационного досье на лекарственный препарат (R.HC.MM.01.003)
P.MM.01.MSG.032сведения о размещенном в едином реестре документесведения регистрационного дела или регистрационного досье на лекарственный препарат (R.HC.MM.01.003)
P.MM.01.MSG.033сведения о рассмотрении заявлениясведения о рассмотрении заявления и (или) регистрационного досье (R.HC.MM.01.006)
P.MM.01.MSG.034сведения для включения в единую базу данныхсведения о рассмотрении заявления и (или) регистрационного досье (R.HC.MM.01.006)
P.MM.01.MSG.035сведения для внесения изменений в единую базу данныхсведения о рассмотрении заявления и (или) регистрационного досье (R.HC.MM.01.006)
P.MM.01.MSG.036информация об исключении сведений из единой базы данныхсведения о рассмотрении заявления и (или) регистрационного досье (R.HC.MM.01.006)
P.MM.01.MSG.037запрос информации о дате и времени обновления единой базы данныхсостояние актуализации общего ресурса (R.007)
P.MM.01.MSG.038информация о дате и времени обновления единой базы данныхсостояние актуализации общего ресурса (R.007)
P.MM.01.MSG.039запрос актуальных сведений из единой базы данныхсостояние актуализации единого реестра или единой базы данных (R.HC.MM.01.007)
P.MM.01.MSG.040актуальные сведения из единой базы данныхсведения о рассмотрении заявления и (или) регистрационного досье (R.HC.MM.01.006)
P.MM.01.MSG.041запрос измененных сведений из единой базы данныхсостояние актуализации единого реестра или единой базы данных (R.HC.MM.01.007)
P.MM.01.MSG.042измененные сведения из единой базы данныхсведения о рассмотрении заявления и (или) регистрационного досье (R.HC.MM.01.006)

VII. Описание транзакций общего процесса

1. Транзакция общего процесса "Включение сведений в единый реестр" (P.MM.01.TRN.001)

17. Транзакция общего процесса "Включение сведений в единый реестр" (P.MM.01.TRN.001) выполняется для передачи инициатором респонденту сведений о новом заявлении для включения в единый реестр. Схема выполнения указанной транзакции общего процесса представлена на рисунке 5. Параметры транзакции общего процесса приведены в таблице 6.

Рис. 5. Схема выполнения транзакции общего процесса "Включение сведений в единый реестр" (P.MM.01.TRN.001)

Таблица 6

Описание транзакции общего процесса "Включение сведений в единый реестр" (P.MM.01.TRN.001)

N п/пОбязательный элементОписание
123
1Кодовое обозначениеP.MM.01.TRN.001
2Наименование транзакции общего процессавключение сведений в единый реестр
3Шаблон транзакции общего процессазапрос/ответ
4Инициирующая рольинициатор
5Инициирующая операциянаправление сведений для включения в единый реестр
6Реагирующая рольреспондент
7Принимающая операцияприем и обработка сведений для включения в единый реестр
8Результат выполнения транзакции общего процессаединый реестр (P.MM.01.BEN.001): сведения получены
9Параметры транзакции общего процесса: 
время для подтверждения получения-
время подтверждения принятия в обработку1 мин
время ожидания ответа5 мин
признак авторизациида
количество повторов2
10Сообщения транзакции общего процесса: 
инициирующее сообщениесведения о регистрации лекарственного препарата для включения в единый реестр (P.MM.01.MSG.001)
ответное сообщениеуведомление о приеме и обработке сведений (P.MM.01.MSG.004)
11Параметры сообщений транзакции общего процесса: 
признак ЭЦПнет
передача электронного документа с некорректной ЭЦП-

2. Транзакция общего процесса "Изменение сведений, содержащихся в едином реестре" (P.MM.01.TRN.002)

18. Транзакция общего процесса "Изменение сведений, содержащихся в едином реестре" (P.MM.01.TRN.002) выполняется для передачи инициатором респонденту измененных сведений о регистрации лекарственного препарата для обновления единого реестра. Схема выполнения указанной транзакции общего процесса представлена на рисунке 6. Параметры транзакции общего процесса приведены в таблице 7.

Рис. 6. Схема выполнения транзакции общего процесса "Изменение сведений, содержащихся в едином реестре" (P.MM.01.TRN.002)

Таблица 7

Описание транзакции общего процесса "Изменение сведений, содержащихся в едином реестре" (P.MM.01.TRN.002)

N п/пОбязательный элементОписание
123
1Кодовое обозначениеP.MM.01.TRN.002
2Наименование транзакции общего процессаизменение сведений, содержащихся в едином реестре
3Шаблон транзакции общего процессазапрос/ответ
4Инициирующая рольинициатор
5Инициирующая операциянаправление сведений для внесения изменений в единый реестр
6Реагирующая рольреспондент
7Принимающая операцияприем и обработка сведений для внесения изменений в единый реестр
8Результат выполнения транзакции общего процессаединый реестр (P.MM.01.BEN.001): обновлен
9Параметры транзакции общего процесса: 
время для подтверждения получения-
время подтверждения принятия в обработку20 мин
время ожидания ответа4 ч
признак авторизациида
количество повторов3
10Сообщения транзакции общего процесса: 
инициирующее сообщениесведения о регистрации лекарственного препарата для изменения в едином реестре (P.MM.01.MSG.002)
ответное сообщениеуведомление о приеме и обработке сведений (P.MM.01.MSG.004)
11Параметры сообщений транзакции общего процесса: 
признак ЭЦПнет
передача электронного документа с некорректной ЭЦП-

3. Транзакция общего процесса "Получение информации о дате и времени обновления единого реестра" (P.MM.01.TRN.004)

19. Транзакция общего процесса "Получение информации о дате и времени обновления единого реестра" (P.MM.01.TRN.004) выполняется для представления респондентом по запросу инициатора информации о дате и времени обновления единого реестра. Схема выполнения указанной транзакции общего процесса представлена на рисунке 7. Параметры транзакции общего процесса приведены в таблице 8.

Рис. 7. Схема выполнения транзакции общего процесса "Получение информации о дате и времени обновления единого реестра" (P.MM.01.TRN.004)

Таблица 8

Описание транзакции общего процесса "Получение информации о дате и времени обновления единого реестра" (P.MM.01.TRN.004)

N п/пОбязательный элементОписание
123
1Кодовое обозначениеP.MM.01.TRN.004
2Наименование транзакции общего процессаполучение информации о дате и времени обновления единого реестра
3Шаблон транзакции общего процессавопрос/ответ
4Инициирующая рольинициатор
5Инициирующая операциязапрос и получение информации о дате и времени обновления единого реестра
6Реагирующая рольреспондент
7Принимающая операцияпредставление информации о дате и времени обновления единого реестра
8Результат выполнения транзакции общего процессаединый реестр (P.MM.01.BEN.001): информация о дате и времени обновления получена
9Параметры транзакции общего процесса: 
время для подтверждения получения-
время подтверждения принятия в обработку-
время ожидания ответа4 ч
признак авторизациида
количество повторов3
10Сообщения транзакции общего процесса: 
инициирующее сообщениезапрос информации о дате и времени обновления единого реестра (P.MM.01.MSG.005)
ответное сообщениеинформация о дате и времени обновления единого реестра (P.MM.01.MSG.006)
11Параметры сообщений транзакции общего процесса: 
признак ЭЦПнет
передача электронного документа с некорректной ЭЦП-

4. Транзакция общего процесса "Получение актуальных сведений из единого реестра" (P.MM.01.TRN.005)

20. Транзакция общего процесса "Получение актуальных сведений из единого реестра" (P.MM.01.TRN.005) выполняется для представления респондентом по запросу инициатора сведений из единого реестра. Схема выполнения указанной транзакции общего процесса представлена на рисунке 8. Параметры транзакции общего процесса приведены в таблице 9.

Рис. 8. Схема выполнения транзакции общего процесса "Получение актуальных сведений из единого реестра" (P.MM.01.TRN.005)

Таблица 9

Описание транзакции общего процесса "Получение актуальных сведений из единого реестра" (P.MM.01.TRN.005)

N п/пОбязательный элементОписание
123
1Кодовое обозначениеP.MM.01.TRN.005
2Наименование транзакции общего процессаполучение актуальных сведений из единого реестра
3Шаблон транзакции общего процессазапрос/ответ
4Инициирующая рольинициатор
5Инициирующая операциязапрос и получение актуальных сведений из единого реестра
6Реагирующая рольреспондент
7Принимающая операцияпредставление актуальных сведений из единого реестра
8Результат выполнения транзакции общего процессаединый реестр (P.MM.01.BEN.001): сведения не могут быть представлены
единый реестр (P.MM.01.BEN.001): сведения представлены
9Параметры транзакции общего процесса: 
время для подтверждения получения-
время подтверждения принятия в обработку20 мин
время ожидания ответа4 ч
признак авторизациида
количество повторов3
10Сообщения транзакции общего процесса: 
инициирующее сообщениезапрос актуальных сведений из единого реестра
(P.MM.01.MSG.007)
ответное сообщениеуведомление о невозможности представления сведений (P.MM.01.MSG.009)
актуальные сведения из единого реестра (P.MM.01.MSG.008)
11Параметры сообщений транзакции общего процесса: 
признак ЭЦПнет
передача электронного документа с некорректной ЭЦП-

5. Транзакция общего процесса "Получение измененных сведений из единого реестра" (P.MM.01.TRN.006)

21. Транзакция общего процесса "Получение измененных сведений из единого реестра" (P.MM.01.TRN.006) выполняется для представления респондентом по запросу инициатора измененных сведений из единого реестра. Схема выполнения указанной транзакции общего процесса представлена на рисунке 9. Параметры транзакции общего процесса приведены в таблице 10.

Рис. 9. Схема выполнения транзакции общего процесса "Получение измененных сведений из единого реестра" (P.MM.01.TRN.006)

Таблица 10

Описание транзакции общего процесса "Получение измененных сведений из единого реестра" (P.MM.01.TRN.006)

N п/пОбязательный элементОписание
123
1Кодовое обозначениеP.MM.01.TRN.006
2Наименование транзакции общего процессаполучение измененных сведений из единого реестра
3Шаблон транзакции общего процессазапрос/ответ
4Инициирующая рольинициатор
5Инициирующая операциязапрос и получение измененных сведений из единого реестра
6Реагирующая рольреспондент
7Принимающая операцияпредставление измененных сведений из единого реестра
8Результат выполнения транзакции общего процессаединый реестр (P.MM.01.BEN.001): сведения не могут быть представлены
единый реестр (P.MM.01.BEN.001): сведения представлены
9Параметры транзакции общего процесса: 
время для подтверждения получения-
время подтверждения принятия в обработку20 мин
время ожидания ответа4 ч
признак авторизациида
количество повторов3
10Сообщения транзакции общего процесса: 
инициирующее сообщениезапрос измененных сведений из единого реестра (P.MM.01.MSG.010)
ответное сообщениеуведомление о невозможности представления сведений (P.MM.01.MSG.009)
измененные сведения из единого реестра (P.MM.01.MSG.011)
11Параметры сообщений транзакции общего процесса: 
признак ЭЦПнет
передача электронного документа с некорректной ЭЦП-

6. Транзакция общего процесса "Получение порядкового номера регистрационного удостоверения" (P.MM.01.TRN.007)

22. Транзакция общего процесса "Получение порядкового номера регистрационного удостоверения" (P.MM.01.TRN.007) выполняется для представления респондентом по запросу инициатора порядкового номера регистрационного удостоверения. Схема выполнения указанной транзакции общего процесса представлена на рисунке 10. Параметры транзакции общего процесса приведены в таблице 11.

Рис. 10. Схема выполнения транзакции общего процесса "Получение порядкового номера регистрационного удостоверения" (P.MM.01.TRN.007)

Таблица 11

Описание транзакции общего процесса "Получение порядкового номера регистрационного удостоверения" (P.MM.01.TRN.007)

N п/пОбязательный элементОписание
123
1Кодовое обозначениеP.MM.01.TRN.007
2Наименование транзакции общего процессаполучение порядкового номера регистрационного удостоверения
3Шаблон транзакции общего процессазапрос/ответ
4Инициирующая рольинициатор
5Инициирующая операциязапрос и получение порядкового номера регистрационного удостоверения
6Реагирующая рольреспондент
7Принимающая операцияпредставление порядкового номера регистрационного удостоверения
8Результат выполнения транзакции общего процессаединый реестр (P.MM.01.BEN.001): порядковый номер регистрационного удостоверения представлен
9Параметры транзакции общего процесса: 
время для подтверждения получения-
время подтверждения принятия в обработку1 мин
время ожидания ответа5 мин
признак авторизациида
количество повторов2
10Сообщения транзакции общего процесса: 
инициирующее сообщениезапрос сведений о порядковом номере регистрационного удостоверения (P.MM.01.MSG.014)
ответное сообщениесведения о порядковом номере регистрационного удостоверения (P.MM.01.MSG.015)
11Параметры сообщений транзакции общего процесса: 
признак ЭЦПнет
передача электронного документа с некорректной ЭЦП-

7. Транзакция общего процесса "Получение Комиссией сведений из регистрационного дела или регистрационного досье" (P.MM.01.TRN.008)

23. Транзакция общего процесса "Получение Комиссией сведений из регистрационного дела или регистрационного досье" (P.MM.01.TRN.008) выполняется для представления респондентом по запросу инициатора сведений из регистрационного дела или регистрационного досье. Схема выполнения указанной транзакции общего процесса представлена на рисунке 11. Параметры транзакции общего процесса приведены в таблице 12.

Рис. 11. Схема выполнения транзакции общего процесса "Получение Комиссией сведений из регистрационного дела или регистрационного досье" (P.MM.01.TRN.008)

Таблица 12

Описание транзакции общего процесса "Получение Комиссией сведений из регистрационного дела или регистрационного досье" (P.MM.01.TRN.008)

N п/пОбязательный элементОписание
123
1Кодовое обозначениеP.MM.01.TRN.008
2Наименование транзакции общего процессаполучение Комиссией сведений из регистрационного дела или регистрационного досье
3Шаблон транзакции общего процессавзаимные обязательства
4Инициирующая рольинициатор
5Инициирующая операциязапрос и получение сведений из регистрационного дела или регистрационного досье
6Реагирующая рольреспондент
7Принимающая операцияпредставление сведений из регистрационного дела или регистрационного досье
8Результат выполнения транзакции общего процессасведения регистрационного досье или дела (P.MM.01.BEN.004): сведения отсутствуют
сведения регистрационного досье или дела (P.MM.01.BEN.004): сведения представлены
9Параметры транзакции общего процесса: 
время для подтверждения получения1 мин
время подтверждения принятия в обработку3 мин
время ожидания ответа5 мин
признак авторизациида
количество повторов2
10Сообщения транзакции общего процесса: 
инициирующее сообщениезапрос сведений из регистрационного дела или регистрационного досье (P.MM.01.MSG.019)
ответное сообщениесведения из регистрационного дела или регистрационного досье (P.MM.01.MSG.020)
уведомление об отсутствии сведений (P.MM.01.MSG.018)
11Параметры сообщений транзакции общего процесса: 
признак ЭЦПнет
передача электронного документа с некорректной ЭЦП-

8. Транзакция общего процесса "Получение сведений о регистрации лекарственного препарата из единого реестра" (P.MM.01.TRN.017)

24. Транзакция общего процесса "Получение сведений о регистрации лекарственного препарата из единого реестра" (P.MM.01.TRN.017) выполняется для представления респондентом по запросу инициатора сведений о регистрации лекарственного препарата из единого реестра. Схема выполнения указанной транзакции общего процесса представлена на рисунке 12. Параметры транзакции общего процесса приведены в таблице 13.

Рис. 12. Схема выполнения транзакции общего процесса "Получение сведений о регистрации лекарственного препарата из единого реестра" (P.MM.01.TRN.017)

Таблица 13

Описание транзакции общего процесса "Получение сведений о регистрации лекарственного препарата из единого реестра" (P.MM.01.TRN.017)

N п/пОбязательный элементОписание
123
1Кодовое обозначениеP.MM.01.TRN.017
2Наименование транзакции общего процессаполучение сведений о регистрации лекарственного препарата из единого реестра
3Шаблон транзакции общего процессазапрос/ответ
4Инициирующая рольинициатор
5Инициирующая операциязапрос сведений о регистрации лекарственного средства
6Реагирующая рольреспондент
7Принимающая операцияпредставление сведений о регистрации лекарственного средства
8Результат выполнения транзакции общего процессаединый реестр (P.MM.01.BEN.001): сведения о регистрации отсутствуют
единый реестр (P.MM.01.BEN.001): сведения о регистрации представлены
9Параметры транзакции общего процесса: 
время для подтверждения получения-
время подтверждения принятия в обработку20 мин
время ожидания ответа1 ч
признак авторизациида
количество повторов3
10Сообщения транзакции общего процесса: 
инициирующее сообщениезапрос сведений о регистрации лекарственного препарата из единого реестра (P.MM.01.MSG.025)
ответное сообщениеуведомление о невозможности представления сведений (P.MM.01.MSG.009)
сведения о регистрации лекарственного препарата из единого реестра (P.MM.01.MSG.026)
11Параметры сообщений транзакции общего процесса: 
признак ЭЦПнет
передача электронного документа с некорректной ЭЦП-

9. Транзакция общего процесса "Получение сведений о размещенном в едином реестре документе" (P.MM.01.TRN.018)

25. Транзакция общего процесса "Получение сведений о размещенном в едином реестре документе" (P.MM.01.TRN.018) выполняется для представления респондентом по запросу инициатора сведений из единого реестра. Схема выполнения указанной транзакции общего процесса представлена на рисунке 13. Параметры транзакции общего процесса приведены в таблице 14.

Рис. 13. Схема выполнения транзакции общего процесса "Получение сведений о размещенном в едином реестре документе" (P.MM.01.TRN.018)

Таблица 14

Описание транзакции общего процесса "Получение сведений о размещенном в едином реестре документе" (P.MM.01.TRN.018)

N п/пОбязательный элементОписание
123
1Кодовое обозначениеP.MM.01.TRN.018
2Наименование транзакции общего процессаполучение сведений о размещенном в едином реестре документе
3Шаблон транзакции общего процессазапрос/ответ
4Инициирующая рольинициатор
5Инициирующая операциязапрос сведений о размещенном в едином реестре документе
6Реагирующая рольреспондент
7Принимающая операцияпредставление сведений о размещенном в едином реестре документе
8Результат выполнения транзакции общего процессаединый реестр (P.MM.01.BEN.001): сведения не могут быть представлены
единый реестр (P.MM.01.BEN.001): сведения о документе представлены
9Параметры транзакции общего процесса: 
время для подтверждения получения-
время подтверждения принятия в обработку20 мин
время ожидания ответа1 ч
признак авторизациида
количество повторов3
10Сообщения транзакции общего процесса: 
инициирующее сообщениезапрос сведений о размещенном в едином реестре документе (P.MM.01.MSG.027)
ответное сообщениесведения о размещенном в едином реестре документе (P.MM.01.MSG.032)
уведомление о невозможности представления сведений (P.MM.01.MSG.009)
11Параметры сообщений транзакции общего процесса: 
признак ЭЦПнет
передача электронного документа с некорректной ЭЦП-

10. Транзакция общего процесса "Направление сведений о подлежащем размещению в едином реестре документе" (P.MM.01.TRN.019)

26. Транзакция общего процесса "Направление сведений о подлежащем размещению в едином реестре документе" (P.MM.01.TRN.019) выполняется для передачи инициатором респонденту сведений о подлежащем размещению в едином реестре документе. Схема выполнения указанной транзакции общего процесса представлена на рисунке 14. Параметры транзакции общего процесса приведены в таблице 15.

Рис. 14. Схема выполнения транзакции общего процесса "Направление сведений о подлежащем размещению в едином реестре документе" (P.MM.01.TRN.019)

Таблица 15

Описание транзакции общего процесса "Направление сведений о подлежащем размещению в едином реестре документе" (P.MM.01.TRN.019)

N п/пОбязательный элементОписание
123
1Кодовое обозначениеP.MM.01.TRN.019
2Наименование транзакции общего процессанаправление сведений о подлежащем размещению в едином реестре документе
3Шаблон транзакции общего процессазапрос/ответ
4Инициирующая рольинициатор
5Инициирующая операциянаправление сведений о подлежащем размещению в едином реестре документе
6Реагирующая рольреспондент
7Принимающая операцияполучение сведений о подлежащем размещению в едином реестре документе
8Результат выполнения транзакции общего процессасведения регистрационного досье или дела (P.MM.01.BEN.004): сведения о документе обработаны
9Параметры транзакции общего процесса: 
время для подтверждения получения-
время подтверждения принятия в обработку20 мин
время ожидания ответа1 ч
признак авторизациида
количество повторов3
10Сообщения транзакции общего процесса: 
инициирующее сообщениесведения о подлежащем размещению в едином реестре документе (P.MM.01.MSG.028)
ответное сообщениеуведомление о приеме и обработке сведений (P.MM.01.MSG.004)
11Параметры сообщений транзакции общего процесса: 
признак ЭЦПнет
передача электронного документа с некорректной ЭЦП-

11. Транзакция общего процесса "Направление заключения о невозможности признания экспертного отчета" (P.MM.01.TRN.020)

27. Транзакция общего процесса "Направление заключения о невозможности признания экспертного отчета" (P.MM.01.TRN.020) выполняется для передачи инициатором респонденту заключения о невозможности признания экспертного отчета. Схема выполнения указанной транзакции общего процесса представлена на рисунке 15. Параметры транзакции общего процесса приведены в таблице 16.

Рис. 15. Схема выполнения транзакции общего процесса "Направление заключения о невозможности признания экспертного отчета" (P.MM.01.TRN.020)

Таблица 16

Описание транзакции общего процесса "Направление заключения о невозможности признания экспертного отчета" (P.MM.01.TRN.020)

N п/пОбязательный элементОписание
123
1Кодовое обозначениеP.MM.01.TRN.020
2Наименование транзакции общего процессанаправление заключения о невозможности признания экспертного отчета
3Шаблон транзакции общего процессазапрос/ответ
4Инициирующая рольинициатор
5Инициирующая операциянаправление заключения о невозможности признания экспертного отчета
6Реагирующая рольреспондент
7Принимающая операцияприем и обработка заключения о невозможности признания экспертного отчета
8Результат выполнения транзакции общего процессаэкспертный отчет (P.MM.01.BEN.003): заключение получено
9Параметры транзакции общего процесса: 
время для подтверждения получения-
время подтверждения принятия в обработку20 мин
время ожидания ответа1 ч
признак авторизациида
количество повторов3
10Сообщения транзакции общего процесса: 
инициирующее сообщениезаключение о невозможности признания экспертного отчета (P.MM.01.MSG.029)
ответное сообщениеуведомление о приеме и обработке сведений (P.MM.01.MSG.004)
11Параметры сообщений транзакции общего процесса: 
признак ЭЦПнет
передача электронного документа с некорректной ЭЦП-

12. Транзакция общего процесса "Получение Комиссией документа из регистрационного дела или регистрационного досье" (P.MM.01.TRN.021)

28. Транзакция общего процесса "Получение Комиссией документа из регистрационного дела или регистрационного досье" (P.MM.01.TRN.021) выполняется для представления респондентом по запросу инициатора документа из регистрационного дела или регистрационного досье. Схема выполнения указанной транзакции общего процесса представлена на рисунке 16. Параметры транзакции общего процесса приведены в таблице 17.

Рис. 16. Схема выполнения транзакции общего процесса "Получение Комиссией документа из регистрационного дела или регистрационного досье" (P.MM.01.TRN.021)

Таблица 17

Описание транзакции общего процесса "Получение Комиссией документа из регистрационного дела или регистрационного досье" (P.MM.01.TRN.021)

N п/пОбязательный элементОписание
123
1Кодовое обозначениеP.MM.01.TRN.021
2Наименование транзакции общего процессаполучение Комиссией документа из регистрационного дела или регистрационного досье
3Шаблон транзакции общего процессавзаимные обязательства
4Инициирующая рольинициатор
5Инициирующая операциязапрос и получение документа из регистрационного дела или регистрационного досье
6Реагирующая рольреспондент
7Принимающая операцияпредставление документа из регистрационного дела или регистрационного досье
8Результат выполнения транзакции общего процессасведения регистрационного досье или дела (P.MM.01.BEN.004): сведения отсутствуют
сведения регистрационного досье или дела (P.MM.01.BEN.004): сведения представлены
9Параметры транзакции общего процесса: 
время для подтверждения получения1 мин
время подтверждения принятия в обработку3 мин
время ожидания ответа5 мин
признак авторизациида
количество повторов2
10Сообщения транзакции общего процесса: 
инициирующее сообщениезапрос документа из регистрационного дела или регистрационного досье (P.MM.01.MSG.030)
ответное сообщениедокумент из регистрационного дела или регистрационного досье (P.MM.01.MSG.031)
уведомление об отсутствии сведений
(P.MM.01.MSG.018)
11Параметры сообщений транзакции общего процесса: 
признак ЭЦПнет
передача электронного документа с некорректной ЭЦП-

13. Транзакция общего процесса "Направление сведений о рассмотрении заявления" (P.MM.01.TRN.023)

29. Транзакция общего процесса "Направление сведений о рассмотрении заявления" (P.MM.01.TRN.023) выполняется для передачи инициатором респонденту сведений о рассмотрении заявления. Схема выполнения указанной транзакции общего процесса представлена на рисунке 17. Параметры транзакции общего процесса приведены в таблице 18.

Рис. 17. Схема выполнения транзакции общего процесса "Направление сведений о рассмотрении заявления" (P.MM.01.TRN.023)

Таблица 18

Описание транзакции общего процесса "Направление сведений о рассмотрении заявления" (P.MM.01.TRN.023)

N п/пОбязательный элементОписание
123
1Кодовое обозначениеP.MM.01.TRN.023
2Наименование транзакции общего процессанаправление сведений о рассмотрении заявления
3Шаблон транзакции общего процессавопрос/ответ
4Инициирующая рольинициатор
5Инициирующая операциянаправление сведений о рассмотрении заявления
6Реагирующая рольреспондент
7Принимающая операцияполучение и обработка сведений о рассмотрении заявления
8Результат выполнения транзакции общего процессазаявление (P.MM.01.BEN.002): номер заявления представлен
заявление (P.MM.01.BEN.002): сведения получены
9Параметры транзакции общего процесса: 
время для подтверждения получения-
время подтверждения принятия в обработку-
время ожидания ответа4 ч
признак авторизациида
количество повторов3
10Сообщения транзакции общего процесса: 
инициирующее сообщениесведения о рассмотрении заявления (P.MM.01.MSG.033)
ответное сообщениесведения о номере заявления (P.MM.01.MSG.013)
 уведомление о приеме и обработке сведений (P.MM.01.MSG.004)
11Параметры сообщений транзакции общего процесса: 
признак ЭЦПнет
передача электронного документа с некорректной ЭЦП-

14. Транзакция общего процесса "Включение сведений в единую базу данных" (P.MM.01.TRN.024)

30. Транзакция общего процесса "Включение сведений в единую базу данных" (P.MM.01.TRN.024) выполняется для передачи инициатором респонденту сведений для включения в единую базу данных. Схема выполнения указанной транзакции общего процесса представлена на рисунке 18. Параметры транзакции общего процесса приведены в таблице 19.

Рис. 18. Схема выполнения транзакции общего процесса "Включение сведений в единую базу данных" (P.MM.01.TRN.024)

Таблица 19

Описание транзакции общего процесса "Включение сведений в единую базу данных" (P.MM.01.TRN.024)

N п/пОбязательный элементОписание
123
1Кодовое обозначениеP.MM.01.TRN.024
2Наименование транзакции общего процессавключение сведений в единую базу данных
3Шаблон транзакции общего процессазапрос/ответ
4Инициирующая рольинициатор
5Инициирующая операциянаправление сведений для включения в единую базу данных
6Реагирующая рольреспондент
7Принимающая операцияприем и обработка сведений для включения в единую базу данных
8Результат выполнения транзакции общего процессаединая база данных (P.MM.01.BEN.005): сведения получены
9Параметры транзакции общего процесса: 
время для подтверждения получения-
время подтверждения принятия в обработку1 мин
время ожидания ответа5 мин
признак авторизациида
количество повторов2
10Сообщения транзакции общего процесса: 
инициирующее сообщениесведения для включения в единую базу данных (P.MM.01.MSG.034)
ответное сообщениеуведомление о приеме и обработке сведений (P.MM.01.MSG.004)
11Параметры сообщений транзакции общего процесса: 
признак ЭЦПнет
передача электронного документа с некорректной ЭЦП-

15. Транзакция общего процесса "Изменение сведений, содержащихся в единой базе данных" (P.MM.01.TRN.025)

31. Транзакция общего процесса "Изменение сведений, содержащихся в единой базе данных" (P.MM.01.TRN.025) выполняется для передачи инициатором респонденту сведений для внесения изменений в единую базу данных. Схема выполнения указанной транзакции общего процесса представлена на рисунке 19. Параметры транзакции общего процесса приведены в таблице 20.

Рис. 19. Схема выполнения транзакции общего процесса "Изменение сведений, содержащихся в единой базе данных" (P.MM.01.TRN.025)

Таблица 20

Описание транзакции общего процесса "Изменение сведений, содержащихся в единой базе данных" (P.MM.01.TRN.025)

N п/пОбязательный элементОписание
123
1Кодовое обозначениеP.MM.01.TRN.025
2Наименование транзакции общего процессаизменение сведений, содержащихся в единой базе данных
3Шаблон транзакции общего процессазапрос/ответ
4Инициирующая рольинициатор
5Инициирующая операциянаправление сведений для внесения изменений в единую базу данных
6Реагирующая рольреспондент
7Принимающая операцияприем и обработка сведений для внесения изменений в единую базу данных
8Результат выполнения транзакции общего процессаединая база данных (P.MM.01.BEN.005): сведения обновлены
9Параметры транзакции общего процесса: 
время для подтверждения получения-
время подтверждения принятия в обработку1 мин
время ожидания ответа5 мин
признак авторизациида
количество повторов2
10Сообщения транзакции общего процесса: 
инициирующее сообщениесведения для внесения изменений в единую базу данных (P.MM.01.MSG.035)
ответное сообщениеуведомление о приеме и обработке сведений (P.MM.01.MSG.004)
11Параметры сообщений транзакции общего процесса: 
признак ЭЦПнет
передача электронного документа с некорректной ЭЦП-

16. Транзакция общего процесса "Исключение сведений из единой базы данных" (P.MM.01.TRN.026)

32. Транзакция общего процесса "Исключение сведений из единой базы данных" (P.MM.01.TRN.026) выполняется для передачи инициатором респонденту сведений для исключения из единой базы данных. Схема выполнения указанной транзакции общего процесса представлена на рисунке 20. Параметры транзакции общего процесса приведены в таблице 21.

Рис. 20. Схема выполнения транзакции общего процесса "Исключение сведений из единой базы данных" (P.MM.01.TRN.026)

Таблица 21

Описание транзакции общего процесса "Исключение сведений из единой базы данных" (P.MM.01.TRN.026)

N п/пОбязательный элементОписание
123
1Кодовое обозначениеP.MM.01.TRN.026
2Наименование транзакции общего процессаисключение сведений из единой базы данных
3Шаблон транзакции общего процессазапрос/ответ
4Инициирующая рольинициатор
5Инициирующая операциянаправление сведений для исключения из единой базы данных
6Реагирующая рольреспондент
7Принимающая операцияприем и обработка сведений для исключения из единой базы данных
8Результат выполнения транзакции общего процессаединая база данных (P.MM.01.BEN.005): сведения исключены
9Параметры транзакции общего процесса: 
время для подтверждения получения-
время подтверждения1 мин
принятия в обработку 
время ожидания ответа5 мин
признак авторизациида
количество повторов2
10Сообщения транзакции общего процесса: 
инициирующее сообщениеинформация об исключении сведений из единой базы данных (P.MM.01.MSG.036)
ответное сообщениеуведомление о приеме и обработке сведений (P.MM.01.MSG.004)
11Параметры сообщений транзакции общего процесса: 
признак ЭЦПнет
передача электронного документа с некорректной ЭЦП-

17. Транзакция общего процесса "Получение информации о дате и времени обновления единой базы данных" (P.MM.01.TRN.027)

33. Транзакция общего процесса "Получение информации о дате и времени обновления единой базы данных" (P.MM.01.TRN.027) выполняется для представления респондентом по запросу инициатора информации о дате и времени обновления единой базы данных. Схема выполнения указанной транзакции общего процесса представлена на рисунке 21. Параметры транзакции общего процесса приведены в таблице 22.

Рис. 21. Схема выполнения транзакции общего процесса "Получение информации о дате и времени обновления единой базы данных" (P.MM.01.TRN.027)

Таблица 22

Описание транзакции общего процесса "Получение информации о дате и времени обновления единой базы данных" (P.MM.01.TRN.027)

N п/пОбязательный элементОписание
123
1Кодовое обозначениеP.MM.01.TRN.027
2Наименование транзакции общего процессаполучение информации о дате и времени обновления единой базы данных
3Шаблон транзакции общего процессавопрос/ответ
4Инициирующая рольинициатор
5Инициирующая операциязапрос и получение информации о дате и времени обновления единой базы данных
6Реагирующая рольреспондент
7Принимающая операцияпредставление информации о дате и времени обновления единой базы данных
8Результат выполнения транзакции общего процессаединая база данных (P.MM.01.BEN.005): информация о дате и времени обновления получена
9Параметры транзакции общего процесса: 
время для подтверждения получения-
время подтверждения принятия в обработку-
время ожидания ответа4 ч
признак авторизациида
количество повторов3
10Сообщения транзакции общего процесса: 
инициирующее сообщениезапрос информации о дате и времени обновления единой базы данных (P.MM.01.MSG.037)
ответное сообщениеинформация о дате и времени обновления единой базы данных (P.MM.01.MSG.038)
11Параметры сообщений транзакции общего процесса: 
признак ЭЦПнет
передача электронного документа с некорректной ЭЦП-

18. Транзакция общего процесса "Получение актуальных сведений из единой базы данных" (P.MM.01.TRN.028)

34. Транзакция общего процесса "Получение актуальных сведений из единой базы данных" (P.MM.01.TRN.028) выполняется для представления респондентом по запросу инициатора сведений из единой базы данных. Схема выполнения указанной транзакции общего процесса представлена на рисунке 22. Параметры транзакции общего процесса приведены в таблице 23.

Рис. 22. Схема выполнения транзакции общего процесса "Получение актуальных сведений из единой базы данных" (P.MM.01.TRN.028)

Таблица 23

Описание транзакции общего процесса "Получение актуальных сведений из единой базы данных" (P.MM.01.TRN.028)

N п/пОбязательный элементОписание
123
1Кодовое обозначениеP.MM.01.TRN.028
2Наименование транзакции общего процессаполучение актуальных сведений из единой базы данных
3Шаблон транзакции общего процессазапрос/ответ
4Инициирующая рольинициатор
5Инициирующая операциязапрос и получение актуальных сведений из единой базы данных
6Реагирующая рольреспондент
7Принимающая операцияпредставление актуальных сведений из единой базы данных
8Результат выполнения транзакции общего процессаединая база данных (P.MM.01.BEN.005): сведения не могут быть представлены
единая база данных (P.MM.01.BEN.005): сведения представлены
9Параметры транзакции общего процесса: 
время для подтверждения получения-
время подтверждения принятия в обработку20 мин
время ожидания ответа4 ч
признак авторизациида
количество повторов3
10Сообщения транзакции общего процесса: 
инициирующее сообщениезапрос актуальных сведений из единой базы данных (P.MM.01.MSG.039)
ответное сообщениеуведомление о невозможности представления сведений (P.MM.01.MSG.009)
актуальные сведения из единой базы данных (P.MM.01.MSG.040)
11Параметры сообщений транзакции общего процесса: 
признак ЭЦПнет
передача электронного документа с некорректной ЭЦП-

19. Транзакция общего процесса "Получение измененных сведений из единой базы данных" (P.MM.01.TRN.029)

35. Транзакция общего процесса "Получение измененных сведений из единой базы данных" (P.MM.01.TRN.029) выполняется для представления респондентом по запросу инициатора измененных сведений из единой базы данных. Схема выполнения указанной транзакции общего процесса представлена на рисунке 23. Параметры транзакции общего процесса приведены в таблице 24.

Рис. 23. Схема выполнения транзакции общего процесса "Получение измененных сведений из единой базы данных" (P.MM.01.TRN.029)

Таблица 24

Описание транзакции общего процесса "Получение измененных сведений из единой базы данных" (P.MM.01.TRN.029)

N п/пОбязательный элементОписание
123
1Кодовое обозначениеP.MM.01.TRN.029
2Наименование транзакции общего процессаполучение измененных сведений из единой базы данных
3Шаблон транзакции общего процессазапрос/ответ
4Инициирующая рольинициатор
5Инициирующая операциязапрос и получение измененных сведений из единой базы данных
6Реагирующая рольреспондент
7Принимающая операцияпредставление измененных сведений из единой базы данных
8Результат выполнения транзакции общего процессаединая база данных (P.MM.01.BEN.005): сведения не могут быть представлены
единая база данных (P.MM.01.BEN.005): сведения представлены
9Параметры транзакции общего процесса: 
время для подтверждения получения-
время подтверждения принятия в обработку20 мин
время ожидания ответа4 ч
признак авторизациида
количество повторов3
10Сообщения транзакции общего процесса: 
инициирующее сообщениезапрос измененных сведений из единой базы данных (P.MM.01.MSG.041)
ответное сообщениеуведомление о невозможности представления сведений (P.MM.01.MSG.009)
измененные сведения из единой базы данных (P.MM.01.MSG.042)
11Параметры сообщений транзакции общего процесса: 
признак ЭЦПнет
передача электронного документа с некорректной ЭЦП-

VIII. Порядок действий в нештатных ситуациях

36. При информационном взаимодействии в рамках общего процесса вероятны нештатные ситуации, когда обработка данных не может быть произведена в обычном режиме. Нештатные ситуации возникают при технических сбоях, истечении времени ожидания и в иных случаях. Для получения участником общего процесса комментариев о причинах возникновения нештатной ситуации и рекомендаций по ее разрешению предусмотрена возможность направления соответствующего запроса в службу поддержки интегрированной информационной системы Евразийского экономического союза. Общие рекомендации по разрешению нештатной ситуации приведены в таблице 25.

37. Уполномоченный орган государства-члена проводит проверку сообщения, в связи с которым получено уведомление об ошибке, на соответствие Описанию форматов и структур электронных документов и сведений и требованиям к контролю сообщений, указанным в разделе IX настоящего Регламента. В случае если выявлено несоответствие указанным требованиям, уполномоченный орган государства-члена принимает все необходимые меры для устранения выявленной ошибки. В случае если несоответствий не выявлено, уполномоченный орган государства-члена направляет сообщение с описанием этой нештатной ситуации в службу поддержки интегрированной информационной системы Евразийского экономического союза.

Таблица 25

Действия в нештатных ситуациях

Код нештатной ситуацииОписание нештатной ситуацииПричины нештатной ситуацииОписание действий при возникновении нештатной ситуации
1234
P.EXC.002инициатор двусторонней транзакции общего процесса не получил сообщение-ответ после истечения согласованного количества повторовтехнические сбои в транспортной системе или системная ошибка программного обеспечениянеобходимо направить запрос в службу технической поддержки национального сегмента, в котором было сформировано сообщение
P.EXC.004инициатор транзакции общего процесса получил уведомление об ошибкене синхронизированы справочники и классификаторы или не обновлены XML-схемы электронных документов (сведений)инициатору транзакции общего процесса необходимо синхронизировать используемые справочники и классификаторы или обновить XML-схемы электронных документов (сведений). Если справочники и классификаторы синхронизированы, XML-схемы электронных документов (сведений) обновлены, необходимо направить запрос в службу поддержки принимающего участника

IX. Требования к заполнению электронных документов и сведений

38. Требования к заполнению реквизитов электронных документов (сведений) "Сведения о регистрации лекарственного препарата" (R.HC.MM.01.001), передаваемых в сообщении "Сведения о регистрации лекарственного препарата для включения в единый реестр" (P.MM.01.MSG.001), приведены в таблице 26.

Таблица 26

Требования к заполнению реквизитов электронных документов (сведений) "Сведения о регистрации лекарственного препарата" (R.HC.MM.01.001), передаваемых в сообщении "Сведения о регистрации лекарственного препарата для включения в единый реестр" (P.MM.01.MSG.001)

Код требованияФормулировка требования
1в едином реестре должна отсутствовать запись, в которой значения реквизитов "Порядковый номер регистрационного удостоверения лекарственного препарата" (hcsdo:RegistrationNumberId) и "Код страны" (csdo:UnifiedCountryCode) в составе реквизита "Сведения о регистрации лекарственного препарата в государстве-члене" (hccdo:DrugCountryRegistrationDetails) совпадают с переданными в сообщении
2значение реквизита "Порядковый номер регистрационного удостоверения лекарственного препарата" (hcsdo:RegistrationNumberId) должно содержать значение этого реквизита, полученное в результате выполнения процедуры общего процесса "Получение порядкового номера регистрационного удостоверения" (P.MM.01.PRC.010)
3должен быть заполнен реквизит "Начальная дата и время" (csdo:StartDateTime) в составе реквизита "Технологические характеристики записи общего ресурса" (ccdo:ResourceItemStatusDetails)
4не заполняется реквизит "Конечная дата и время" (csdo:EndDateTime) в составе реквизита "Технологические характеристики записи общего ресурса" (ccdo:ResourceItemStatusDetails)
5в электронном сообщении должен передаваться 1 экземпляр реквизита "Сведения о регистрации лекарственного препарата"
(hccdo:DrugRegistrationDetails)
6в электронном сообщении должен передаваться 1 экземпляр реквизита "Сведения о регистрации лекарственного препарата в государстве-члене" (hccdo:DrugCountryRegistrationDetails)
7если реквизит "Код страны" (csdo:UnifiedCountryCode) в составе любых сложных реквизитов заполнен, то его значение должно соответствовать коду страны из классификатора стран мира, указанного в разделе VII Правил информационного взаимодействия а атрибут "идентификатор справочника (классификатора)" (атрибут codeListId) в его составе должен содержать значение "2021"
8реквизит "Код роли государства-члена" (hcsdo:CountryKindCode) должен соответствовать одному из значений:
01 - референтное государство;
02 - государство признания
9реквизит "Сведения о регистрационном удостоверении на лекарственный препарат" (hccdo:DrugRegistrationCertificateDetails) должен быть заполнен
10реквизит "Код статуса регистрационного удостоверения" (hcsdo:RegistrationStatusCode) должен соответствовать одному из значений:
01 - приостановлено;
02 - отменено;
03 - зарегистрировано;
04 - прекращено в связи с истечением срока действия;
99 - другое
11если значение реквизита "Код статуса регистрационного удостоверения" (hcsdo:RegistrationStatusCode) соответствует значению "99 - другое", то реквизит "Наименование статуса регистрационного удостоверения" (hcsdo:RegistrationStatusName) заполняется обязательно
12если значение реквизит "Код статуса регистрационного удостоверения" (hcsdo:RegistrationStatusCode) соответствует значению "01 - приостановлено", то реквизит "Код причины приостановки действия регистрационного удостоверения" (hcsdo:CertificatePauseCode) заполняется обязательно
13если реквизит "Код причины приостановки действия регистрационного удостоверения" (hcsdo:CertificatePauseCode) заполнен, то он должен соответствовать одному из значений:
01 - имеются документально подтвержденные факты несоответствия качественного и количественного состава выпущенных серий лекарственного препарата заявленному составу;
02 - лекарственный препарат является опасным (наносит серьезный или непоправимый вред здоровью человека);
03 - доказано неблагоприятное соотношение "польза - риск" или выявлена документально подтвержденная недостаточная терапевтическая эффективность лекарственного препарата при соблюдении условий его применения, описанных в утвержденной ОХЛП;
04 - не подтверждено положительное соотношение "польза - риск" при переоценке соотношения "польза - риск", проводимой ежегодно уполномоченным органом (экспертной организацией);
05 - в регистрационном досье содержатся недостоверные документы и данные;
06 - производитель не устранил выявленные во время инспекции несоответствия производства и методов контроля, заявленные в регистрационном досье, в согласованные с уполномоченным органом (экспертной организацией) сроки;
07 - не выполнены обязательства по фармаконадзору держателем регистрационного удостоверения;
08 - держателем регистрационного удостоверения не выполнены дополнительные требования, установленные уполномоченным органом (экспертной организацией);
09 - отсутствие действующего документа, подтверждающего соответствие производственной площадки (площадок) требованиям надлежащей производственной практики Союза для лекарственного препарата;
99 - другое
14если значение реквизита "Код статуса регистрационного удостоверения" (hcsdo:RegistrationStatusCode) соответствует значению "02 - отменено", то реквизит "Дата отмены регистрационного удостоверения"
(hcsdo:CertificateCancelDate) заполняется обязательно
15если значение реквизита "Код статуса регистрационного удостоверения" (hcsdo:ReglstratlonStatusCode) соответствует значению "02 - отменено", то должен быть заполнен реквизит "Код причины отмены регистрационного удостоверения" (hcsdo:CertificateCancelCode) и (или) реквизит "Причина отмены регистрационного удостоверения" (hcsdo:CertificateCancelText)
16если реквизит "Код причины отмены регистрационного удостоверения" (hcsdo:CertificateCancelCode) заполнен, то он должен соответствовать одному из значений:
01 - подача держателем регистрационного удостоверения заявления об отмене регистрации лекарственного препарата;
02 - невыполнение держателем регистрационного удостоверения требований уполномоченного органа государства-члена;
03 - представление уполномоченным органом государства-члена заключения о неустранении держателем регистрационного удостоверения выявленных в ходе инспекции несоответствий производства и методов контроля, заявленных в регистрационном досье, в установленный срок;
99 - другое
17если значение реквизита "Код причины отмены регистрационного удостоверения" (hcsdo:CertificateCancelCode) соответствует значению "02 - невыполнение держателем регистрационного удостоверения требований уполномоченного органа государства-члена", то реквизит "Код условия отмены регистрационного удостоверения" (hcsdo:CertificateCancelConditionCode) заполняется обязательно
18если реквизит "Код условия отмены регистрационного удостоверения" (hcsdo:CertificateCancelConditionCode) заполнен, то он должен соответствовать одному из значений:
01 - имеются документально подтвержденные факты несоответствия качественного и количественного состава выпущенных серий лекарственного препарата заявленному составу;
02 - лекарственный препарат является опасным (наносит серьезный или непоправимый вред здоровью человека);
03 - доказано неблагоприятное соотношение "польза - риск" или выявлена документально подтвержденная недостаточная терапевтическая эффективность лекарственного препарата при соблюдении условий его применения, описанных в утвержденной ОХЛП;
04 - не подтверждено положительное соотношение "польза - риск" при переоценке соотношения "польза - риск", проводимой ежегодно уполномоченным органом (экспертной организацией);
05 - в регистрационном досье содержатся недостоверные документы и данные;
06 - производитель не устранил выявленные во время инспекции несоответствия производства и методов контроля, заявленные в регистрационном досье, в согласованные с уполномоченным органом (экспертной организацией) сроки;
07 - не выполнены обязательства по фармаконадзору держателем регистрационного удостоверения;
08 - держателем регистрационного удостоверения не выполнены дополнительные требования, установленные уполномоченным органом (экспертной организацией);
09 - отсутствие действующего документа, подтверждающего соответствие производственной площадки (площадок) требованиям надлежащей производственной практики Союза для лекарственного препарата;
99 - другое
19если значение реквизита "Код причины отмены регистрационного удостоверения" (hcsdo:CertificateCancelCode) соответствует значению "99 - другое", то реквизит "Причина отмены регистрационного удостоверения" (hcsdo:CertificateCancelText) заполняется обязательно
20если реквизит "Сведения об особом условии регистрации лекарственного препарата" (hccdo:DrugRegistrationSpecialConditionDetails) заполнен, то в его составе должен быть заполнен реквизит "Код вида особого условия регистрации лекарственного препарата" (hcsdo:DrugUsageRestrictionKindCode) и (или) реквизит "Наименование вида особого условия регистрации лекарственного препарата" (hcsdo:DrugUsageRestrictionKindName)
21если реквизит "Код вида особого условия регистрации лекарственного препарата" (hcsdo:DrugUsageRestrictionKindCode) заполнен, то он должен соответствовать одному из значений:
01 - включение определенных мер для обеспечения безопасного применения лекарственного препарата в систему управления рисками;
02 - проведение пострегистрационных исследований безопасности;
03 - установление дополнительных требований к регистрации и подаче сообщений о подозреваемых нежелательных реакциях;
04 - проведение пострегистрационных исследований эффективности, при необходимости исследования различных аспектов эффективности лекарственного препарата, которые не могут быть исследованы до начала реализации лекарственного препарата;
05 - другие условия или ограничения в целях безопасного и эффективного применения лекарственного препарата
22если значение реквизита "Код вида особого условия регистрации лекарственного препарата" (hcsdo:DrugUsageRestrictionKindCode) соответствует значению "05 - другие условия или ограничения в целях безопасного и эффективного применения лекарственного препарата", то реквизит "Наименование вида особого условия регистрации лекарственного препарата" (hcsdo:DrugUsageRestrictionKindName) заполняется обязательно
23если реквизит "Сведения об изменении, внесенном в регистрационное досье на лекарственный препарат" (hccdo:DrugApplicationChangedDetails) заполнен, то в его составе должен быть заполнен реквизит "Код типа изменения в регистрационном досье" (hcsdo:ChangeTypeCode) и (или) реквизит "Наименование типа изменения в регистрационном досье" (hcsdo:ChangeTypeName)
24если реквизит "Код типа изменения в регистрационном досье" (hcsdo:ChangeTypeCode) заполнен, то его значение должно соответствовать коду из классификатора типов изменений регистрационного досье лекарственного препарата, указанного в разделе VII Правил информационного взаимодействия, а атрибут "идентификатор справочника (классификатора)" (атрибут codeListId) в его составе должен содержать значение "2041"
25если реквизит "Сведения об изменении, внесенном в регистрационное досье на лекарственный препарат" (hccdo:DrugApplicationChangedDetails) заполнен, то в его составе должен быть заполнен реквизит "Код раздела регистрационного досье" (hcsdo:DossierSectionCode) и (или) реквизит "Наименование раздела регистрационного досье" (hcsdo:DossierSectionName)
26если реквизит "Код раздела регистрационного досье" (hcsdo:DossierSectionCode) заполнен, то его значение должно соответствовать коду из справочника структурных элементов регистрационного досье лекарственного препарата, указанного в разделе VII Правил информационного взаимодействия, а атрибут "идентификатор справочника (классификатора)" (атрибут codeListId) в его составе должен содержать значение "1030"
27если реквизит "Сведения об изменении, внесенном в регистрационное досье на лекарственный препарат" (hccdo:DrugApplicationChangedDetails) заполнен, то в его составе должен быть заполнен реквизит "Дата внесения изменения" (hcsdo:DocExtensionDate)
28если реквизит "Сведения об изменении, внесенном в регистрационное досье на лекарственный препарат" (hccdo:DrugApplicationChangedDetails) заполнен, то в его составе должен быть заполнен реквизит "Последовательность представления досье" (hcsdo:SubmissionSequence)
29реквизит "Торговое наименование лекарственного препарата" (hcsdo:DrugTradeName) заполняется обязательно
30реквизит "Сведения о документах регистрационного досье лекарственного препарата, вносимых в единый реестр" (hccdo:DrugDocumentsDetails) заполняется обязательно
31если реквизит "Код вида макета упаковки лекарственного препарата" (hcsdo:DrugPackageLayoutKindCode) заполнен, то он должен соответствовать одному из значений:
01 - макет первичной упаковки;
02 - макет промежуточной упаковки;
03 - макет вторичной упаковки
32реквизит "Код вида процедуры регистрации" (hcsdo:RegistrationKindCode) должен соответствовать одному из значений:
01 - процедура взаимного признания;
02 - децентрализованная процедура;
03 - регистрация по инициативе уполномоченного органа государства-члена
33если значение реквизита "Код роли государства-члена" (hcsdo:CountryKindCode) соответствует значению "01 - референтное государство", то реквизит "Сведения о лекарственном препарате" (hccdo:DrugDetails) заполняется обязательно
34если значение реквизита "Код роли государства-члена" (hcsdo:CountryKindCode) соответствует значению "02 - государство признания", то реквизит "Сведения о лекарственном препарате" (hccdo:DrugDetails) не заполняется
35если реквизит "Сведения о наименовании лекарственного препарата (средства)" (hccdo:DrugNameDetails) заполнен, то в его составе должен быть заполнен реквизит "Код наименования активной фармацевтической субстанции" (hcsdo:DrugCode) или реквизит "Наименование активной фармацевтической субстанции" (hcsdo:DrugName)
36если реквизит "Сведения об активной фармацевтической субстанции в составе лекарственного препарата" (hccdo:ActiveSubstanceDetails) заполнен, то в его составе должен быть заполнен реквизит "Код активной фармацевтической субстанции" (hcsdo:ActiveSubstanceCode) или "Наименование активной фармацевтической субстанции" (hcsdo:ActiveSubstanceName)
37если реквизит "Код наименования активной фармацевтической субстанции" (hcsdo:DrugCode) или реквизит "Код активной фармацевтической субстанции" (hcsdo:ActiveSubstanceCode) заполнен, то его значение должно соответствовать коду из следующих справочников (классификаторов), указанных в разделе VII Правил информационного взаимодействия, а атрибут "идентификатор справочника (классификатора)" (атрибут codeListId) в составе реквизита должен соответствовать одному из следующих значений:
1016 - справочник международных непатентованных наименований лекарственных средств;
2047 - классификатор лекарственного растительного сырья;
P.CLS.109 - справочник группировочных, общепринятых и химических наименований лекарственных средств;
P.CLS.112 - справочник наименований гомеопатического материала
38если реквизит "Сведения о лекарственной форме" (hccdo:DosageFormDetails) заполнен, то в его составе должен быть заполнен реквизит "Код лекарственной формы" (hcsdo:DosageFormCode) или "Наименование лекарственной формы" (hcsdo:DosageFormName)
39если реквизит "Сведения о форме выпуска лекарственного препарата" (hccdo:PackageFormDetails) заполнен, то в его составе должен быть заполнен реквизит "Код лекарственной формы" (hcsdo:DosageFormCode) или "Наименование лекарственной формы" (hcsdo:DosageFormName)
40если реквизит "Код лекарственной формы" (hcsdo:DosageFormCode) заполнен, то его значение должно соответствовать коду из номенклатуры лекарственных форм, указанной в разделе VII Правил информационного взаимодействия, а атрибут "идентификатор справочника (классификатора)" (атрибут codeListId) в его составе должен содержать значение "2057"
41если реквизит "Код степени измельченности сырьевой части растительного ингредиента" (hcsdo:DegreeRefinementRawMaterialCode) заполнен, то он должен соответствовать одному из значений:
01 - цельное;
02 - измельченное;
03 - порошок;
99 - другое
42если значение реквизита "Код степени измельченности сырьевой части растительного ингредиента" (hcsdo:DegreeRefinementRawMaterialCode) соответствует значению "99 - другое", то реквизит "Наименование степени измельченности сырьевой части растительного ингредиента лекарственного препарата" (hcsdo:DegreeRefinementRawMaterialName) заполняется обязательно
43если реквизит "Сведения о единице дозирования лекарственного препарата" (hccdo:DrugDosageUnitDetails) заполнен, то в его составе должен быть заполнен реквизит "Код вида единицы выражения состава лекарственного препарата" (hcsdo:DrugDosageUnitKindCode) или реквизит "Наименование вида единицы выражения состава лекарственного препарата" (hcsdo:DosageUnitKindName)
44если реквизит "Код вида единицы выражения состава лекарственного препарата" (hcsdo:DrugDosageUnitKindCode) заполнен, то его значение должно соответствовать одному из следующих значений:
01 - дозировка указана на единицу лекарственной формы;
02 - дозировка указана на единицу дозирования;
03 - дозировка указана на единицу массы;
04 - дозировка указана на единицу объема;
05 - дозировка указана на общее количество лекарственного средства в первичной упаковке;
06 - дозировка указана на единицу объема после растворения;
07 - дозировка указана на единицу объема перед разведением;
08 - дозировка указана на единицу времени;
09 - дозировка указана на единицу лекарственной формы, совпадающую с единицей дозирования
45если атрибут "код единицы измерения дозировки и концентрации" (атрибут SubstanceMeasureCode) не заполнен, то атрибут "наименование единицы измерения дозировки и концентрации" (атрибут SubstanceMeasureName) заполняется обязательно
46если атрибут "код единицы измерения дозировки и концентрации" (атрибут SubstanceMeasureCode) заполнен, то его значение должно соответствовать коду из классификатора единиц измерения дозировки и концентрации действующих веществ в составе лекарственных препаратов, указанного в разделе VII Правил информационного взаимодействия, а атрибут "идентификатор справочника (классификатора)" (атрибут codeListId) должен содержать значение "2044"
47если реквизит "Код функции ингредиента в составе лекарственного препарата" (hcsdo:DrugSubstanceRoleCode) заполнен, то он должен соответствовать одному из значений:
01 - действующее вещество;
02 - вспомогательное вещество;
03 - реагент
48если значение реквизита "Код функции ингредиента в составе лекарственного препарата" (hcsdo:DrugSubstanceRoleCode) или реквизита "Наименование функции ингредиента в составе лекарственного препарата" (hcsdo:DrugSubstanceRoleName) соответствует значению "действующее вещество", то в составе сложного реквизита "Сведения об ингредиенте, входящем в состав лекарственного препарата" (hccdo:DrugSubstanceDetails) должен быть заполнен реквизит "Сведения об активной фармацевтической субстанции в составе лекарственного препарата" (hccdo:ActiveSubstanceDetails), а реквизиты "Сведения о вспомогательном веществе в составе лекарственного препарата" (hccdo:AuxiliarySubstanceDetails) и "Наименование реагента" (hcsdo:ReagentName) не заполняются
49если значение реквизита "Код функции ингредиента в составе лекарственного препарата" (hcsdo:DrugSubstanceRoleCode) или реквизита "Наименование функции ингредиента в составе лекарственного препарата" (hcsdo:DrugSubstanceRoleName) соответствует значению "реагент", то в составе сложного реквизита "Сведения об ингредиенте, входящем в состав лекарственного препарата" (hccdo:DrugSubstanceDetails) должен быть заполнен реквизит "Наименование реагента" (hcsdo:ReagentName), а реквизиты "Сведения об активной фармацевтической субстанции в составе лекарственного препарата" (hccdo:ActiveSubstanceDetails) и "Сведения о вспомогательном веществе в составе лекарственного препарата" (hccdo:AuxiliarySubstanceDetails) не заполняются
50если значение реквизита "Код функции ингредиента в составе лекарственного препарата" (hcsdo:DrugSubstanceRoleCode) или реквизита "Наименование функции ингредиента в составе лекарственного препарата" (hcsdo:DrugSubstanceRoleName) соответствует значению "вспомогательное вещество", то в составе сложного реквизита "Сведения об ингредиенте, входящем в состав лекарственного препарата" (hccdo:DrugSubstanceDetails) должен быть заполнен реквизит "Сведения о вспомогательном веществе в составе лекарственного препарата" (hccdo:AuxiliarySubstanceDetails), а реквизиты "Сведения об активной фармацевтической субстанции в составе лекарственного препарата" (hccdo:ActiveSubstanceDetails) и "Наименование реагента" (hcsdo:ReagentName) не заполняются
51если реквизит "Сведения о вспомогательном веществе в составе лекарственного препарата" (hccdo:AuxiliarySubstanceDetails) заполнен, то в его составе должен быть заполнен реквизит "Код вспомогательного вещества, входящего в состав лекарственного препарата" (hcsdo:AuxiliarySubstanceCode) или "Наименование вспомогательного вещества, входящего в состав лекарственного препарата" (hcsdo:AuxiliarySubstanceName)
52если реквизит "Код вспомогательного вещества, входящего в состав лекарственного препарата" (hcsdo:AuxiliarySubstanceCode) заполнен, то его значение должно соответствовать коду из справочника вспомогательных веществ, используемых при производстве лекарственных средств, указанного в разделе VII Правил информационного взаимодействия, а атрибут "идентификатор справочника (классификатора)" (атрибут codeListId) в его составе должен содержать значение "1019"
53если реквизит "Сведения о вспомогательном веществе в составе лекарственного препарата" (hccdo:AuxiliarySubstanceDetails) заполнен, то в его составе должен быть заполнен реквизит "Код функционального назначения вспомогательного вещества" (hcsdo:FunctionalPurposeCode) или "Наименование функционального назначения вспомогательного вещества" (hcsdo:FunctionalPurposeName)
54если реквизит "Код функционального назначения вспомогательного вещества" (hcsdo:FunctionalPurposeCode) заполнен, то его значение должно соответствовать коду из справочника функциональных назначений вспомогательных веществ, используемых при производстве лекарственных средств, указанного в разделе VII Правил информационного взаимодействия, а атрибут "идентификатор справочника (классификатора)" (атрибут codeListId) в его составе должен содержать значение "1020"
55если атрибут "код типа величины дозировки (концентрации)" (атрибут SubstanceMeasureTypeCode) заполнен, то он должен соответствовать одному из следующих значений:
01 - указана точная величина дозировки;
02 - величина дозировки меньше либо равна указанному значению;
03 - величина дозировки больше либо равна указанному значению;
04 - величина дозировки меньше указанного значения;
05 - величина дозировки больше указанного значения
56в составе сложного реквизита "Сведения об упакованной единице лекарственного препарата" (hccdo:PackageDetails) должен быть заполнен реквизит "Код вида первичной упаковки лекарственного препарата" (hcsdo:DrugPackageKindCode) или реквизит "Наименование вида первичной упаковки лекарственного препарата" (hcsdo:DrugPackageKindName)
57если реквизит "Код вида первичной упаковки лекарственного препарата" (hcsdo:DrugPackageKindCode) заполнен, то его значение должно соответствовать коду из классификатора видов первичных упаковок лекарственных средств, указанного в разделе VII Правил информационного взаимодействия, а атрибут "идентификатор справочника (классификатора)" (атрибут codeListId) в его составе должен содержать значение "2045"
58если реквизит "Признак нерасфасованной продукции (in bulk)" (hcsdo:InbulkIndicator) соответствует значению "0 - продукция не является нерасфасованной", то в составе сложного реквизита "Сведения об упакованной единице лекарственного препарата" (hccdo:PackageDetails) в составе реквизита "Количество в упаковке лекарственного препарата" (hccdo:PackageMeasureDetails) реквизит "Количество в упаковке лекарственного препарата" (hcsdo:PackageMeasure) обязателен для заполнения, и реквизиты "Нижняя граница интервала количества в упаковке лекарственного препарата" (hcsdo:PackageLowerLimitMeasure), "Верхняя граница интервала количества в упаковке лекарственного препарата" (hcsdo:PackageUpperLimitMeasure) не заполняются
59если реквизит "Признак нерасфасованной продукции (in bulk)" (hcsdo:InbulkIndicator) соответствует значению "0 - продукция не является нерасфасованной", в составе сложного реквизита "Сведения об упакованной единице лекарственного препарата" (hccdo:PackageDetails) должен быть заполнен реквизит "Код вида вторичной (потребительской) упаковки лекарственного препарата" (hcsdo:DrugSecondaryPackageKindCode) или реквизит "Наименование вида вторичной (потребительской) упаковки лекарственного препарата" (hcsdo:DrugSecondaryPackageKindName)
60если реквизит "Код вида вторичной (потребительской) упаковки лекарственного препарата" (hcsdo:DrugSecondaryPackageKindCode) заполнен, то его значение должно соответствовать коду из классификатора видов вторичных (потребительских) упаковок лекарственных средств, указанного в разделе VII Правил информационного взаимодействия, а атрибут "идентификатор справочника (классификатора)" (атрибут codeListId) в его составе должен содержать значение "2046"
61если реквизит "Признак нерасфасованной продукции (in bulk)" (hcsdo:InbulkIndicator) соответствует значению "1 - продукция является нерасфасованной", то реквизит "Количество в упаковке лекарственного препарата" (hccdo:PackageMeasureDetails) в составе сложного реквизита в "Сведения о форме выпуска лекарственного препарата" (hccdo:PackageFormDetails) не заполняется
62если реквизит "Признак нерасфасованной продукции (in bulk)" (hcsdo:InbulkIndicator) соответствует значению "1 - продукция является нерасфасованной", то в составе сложного реквизита "Сведения об упакованной единице лекарственного препарата" (hccdo:PackageDetails) в составе реквизита "Количество в упаковке лекарственного препарата" (hccdo:PackageMeasureDetails) реквизиты "Нижняя граница интервала количества в упаковке лекарственного препарата" (hcsdo:PackageLowerLimitMeasure), "Верхняя граница интервала количества в упаковке лекарственного препарата" (hcsdo:PackageUpperLimitMeasure) обязательны для заполнения
63если атрибут "единица измерения" (атрибут measurementUnitCode) заполнен, то его значение должно соответствовать коду из классификатора единиц измерения и счета Евразийского экономического союза, указанного в разделе VII Правил информационного взаимодействия, а атрибут "идентификатор справочника (классификатора)" (атрибут measurementUnitCodeListId) должен содержать значение "2064"
64если реквизит "Код комплектующего" (hcsdo:ComponentCode) заполнен, то его значение должно соответствовать коду из классификатора комплектующих средств упаковки лекарственных препаратов, указанного в разделе VII Правил информационного взаимодействия, а атрибут "идентификатор справочника (классификатора)" (атрибут codeListId) в его составе должен содержать значение "2059"
65если атрибут "код языка" (атрибут languageCode) заполнен, то его значение должно соответствовать коду из классификатора языков, указанного в разделе VII Правил информационного взаимодействия
66если реквизит "Код организационно-правовой формы" (csdo:BusinessEntityTypeCode) заполнен, то его значение должно соответствовать коду из классификатора организационно-правовых форм, указанного в разделе VII Правил информационного взаимодействия, а атрибут "идентификатор справочника (классификатора)" (атрибут codeListId) в его составе должен содержать значение "2049"
67если атрибут "метод идентификации" (атрибут kindId) заполнен, то его значение должно соответствовать коду из справочника методов идентификации хозяйствующих субъектов при их государственной регистрации в государствах - членах Евразийского экономического союза, указанного в разделе VII Правил информационного взаимодействия
68если в составе любых реквизитов заполнен реквизит "Адрес" (ccdo:AddressV4Details), то в его составе реквизит "Код вида адреса" (csdo:AddressKindCode) обязательно заполняется кодом из перечня видов адреса, указанного в разделе VII Правил информационного взаимодействия
69если реквизит "Адрес" (ccdo:AddressV4Details) в составе любых сложных реквизитов заполнен, то в его составе реквизит "Код страны" (csdo:UnifiedCountryCode) заполняется обязательно
70если реквизит "Адрес" (ccdo:AddressV4Details) в составе любых сложных реквизитов заполнен, то в его составе должен быть заполнен реквизит "Город" (csdo:CityName) или реквизит "Населенный пункт" (csdo:SettlementName)
71если реквизит "Адрес" (ccdo:AddressV4Details) в составе любых сложных реквизитов заполнен, то реквизит "Улица" (csdo:StreetName) в его составе заполняется обязательно
72если реквизит "Контактный реквизит" (ccdo:CommunicationDetails) в составе любых сложных реквизитов заполнен, то в его составе должен быть заполнен реквизит "Код вида связи" (csdo:CommunicationChannelCode) или реквизит "Наименование вида связи" (csdo:CommunicationChannelName)
73если реквизит "Код вида связи" (csdo:CommunicationChannelCode) заполнен, то его значение должно соответствовать коду вида связи из перечня видов средств (каналов) связи, указанного в разделе VII Правил информационного взаимодействия
74если реквизит "Код этапа производства лекарственного средства" (hcsdo:ManufacturingStageCode) заполнен, то его значение должно соответствовать коду из перечня этапов (стадий) производства лекарственных средств, указанного в разделе VII Правил информационного взаимодействия, а атрибут "идентификатор справочника (классификатора)" (атрибут codeListId) в его составе должен содержать значение "1018"
75если реквизит "Сведения о лекарственном препарате" (hccdo:DrugDetails) заполнен, то в его составе должен быть заполнен реквизит "Код АТХ" (hcsdo:ATCCode) или реквизит "Наименование лекарственного препарата в соответствии с АТХ классификацией" (hcsdo:ATCName)
76если реквизит "Код АТХ" (hcsdo:ATCCode) заполнен, то его значение должно соответствовать коду из анатомо-терапевтического-химического классификатора лекарственных средств, указанного в разделе VII Правил информационного взаимодействия, а атрибут "идентификатор справочника (классификатора)" (атрибут codeListId) в его составе должен содержать значение "2039"
77если реквизит "Код дополнительного признака лекарственного препарата" (hcsdo:DrugAdditionalFeatureCode) заполнен, то он должен соответствовать одному из значений:
01 - растительный;
02 - гомеопатический;
03 - радиофармацевтический;
04 - высокотехнологичный;
05 - биотехнологический;
06 - иммунологический;
07 - препарат плазмы крови;
99 - другое
78если значение реквизита "Код дополнительного признака лекарственного препарата" (hcsdo:DrugAdditionalFeatureCode) соответствует значению "99 - другое", то реквизит "Наименование дополнительного признака лекарственного препарата" (hcsdo:DrugAdditionalFeatureName) заполняется обязательно
79если реквизит "Код вида регистрируемого лекарственного препарата" (hcsdo:RegistrationDrugKindCode) заполнен, то он должен соответствовать одному из значений:
01 - оригинальный;
02 - воспроизведенный;
03 - биоаналог;
04 - гибридный;
05 - хорошо изученный;
06 - комбинированный;
07 - референтный
80если реквизит "Код статуса орфанного лекарственного препарата" (hcsdo:OrphanDrugCode) заполнен, то соответствует одному из значений:
01 - присвоен статус орфанного;
02 - не присвоен статус орфанного;
03 - в процессе рассмотрения
81если реквизит "Сведения о производителе" (hccdo:ManufacturingAuthorizationHolderV2Details) заполнен, то в его составе должен быть заполнен реквизит "Код организационно-правовой формы" (csdo:BusinessEntityTypeCode) или реквизит "Наименование организационно-правовой формы" (csdo:BusinessEntityTypeName)
82если реквизит "Сведения о производителе" (hccdo:ManufacturingAuthorizationHolderV2Details) заполнен, то в его составе должен быть заполнен реквизит "Наименование хозяйствующего субъекта" (csdo:BusinessEntityName) и (или) реквизит "Краткое наименование хозяйствующего субъекта" (csdo:BusinessEntityBriefName)
83в составе реквизита "Сведения о держателе (заявителе) регистрационного удостоверения" (hccdo:RegistrationCertificateHolderDetails) должен быть заполнен реквизит "Код страны" (csdo:UnifiedCountryCode)
84в составе реквизита "Сведения о держателе (заявителе) регистрационного удостоверения" (hccdo:RegistrationCertificateHolderDetails) должен быть заполнен реквизит "Наименование хозяйствующего субъекта" (csdo:BusinessEntityName) и (или) реквизит "Краткое наименование хозяйствующего субъекта" (csdo:BusinessEntityBriefName)
85в составе реквизита "Сведения о держателе (заявителе) регистрационного удостоверения" (hccdo:RegistrationCertificateHolderDetails) должен быть заполнен реквизит "Адрес" (ccdo:AddressV4Details)
86если значение реквизита "Код роли государства-члена" (hcsdo:CountryKindCode) соответствует значению "02 - государство признания", то реквизит "Описание" (csdo:DescriptionText) в составе сложного реквизита "Сведения о регистрации лекарственного препарата" (hccdo:DrugRegistrationDetails) может быть заполнен

39. Требования к заполнению реквизитов электронных документов (сведений) "Сведения о регистрации лекарственного препарата" (R.HC.MM.01.001), передаваемых в сообщении "Сведения о регистрации лекарственного препарата для изменения в едином реестре" (P.MM.01.MSG.002), приведены в таблице 27.

Таблица 27

Требования к заполнению реквизитов электронных документов (сведений) "Сведения о регистрации лекарственного препарата" (R.HC.MM.01.001), передаваемых в сообщении "Сведения о регистрации лекарственного препарата для изменения в едином реестре" (P.MM.01.MSG.002)

Код требованияФормулировка требования
1в едином реестре должна содержаться запись, в которой реквизит "Конечная дата и время" (csdo:EndDateTime) в составе сложного реквизита "Технологические характеристики записи общего ресурса" (ccdo:ResourceItemStatusDetails) не заполнен, значения реквизитов "Порядковый номер регистрационного удостоверения лекарственного препарата" (hcsdo:RegistrationNumberId) и "Код страны" (csdo:UnifiedCountryCode) в составе реквизита "Сведения о регистрации лекарственного препарата в государстве-члене" (hccdo:DrugCountryRegistrationDetails) совпадают с переданными в сообщении, а значение реквизита "Начальная дата и время" (csdo:StartDateTime) в составе сложного реквизита "Технологические характеристики записи общего ресурса" (ccdo:ResourceItemStatusDetails) раньше чем в сообщении
2реквизит "Порядковый номер регистрационного удостоверения лекарственного препарата" (hcsdo:RegistrationNumberId) должен быть заполнен
3 - 82соответствуют требованиям 3 - 85 таблицы 20 настоящего Регламента

40. Требования к заполнению реквизитов электронных документов (сведений) "Состояние актуализации единого реестра или единой базы данных" (R.HC.MM.01.007), передаваемых в сообщении "Запрос актуальных сведений из единого реестра" (P.MM.01.MSG.007), приведены в таблице 28.

Таблица 28

Требования к заполнению реквизитов электронных документов (сведений) "Состояние актуализации единого реестра или единой базы данных" (R.HC.MM.01.007), передаваемых в сообщении "Запрос актуальных сведений из единого реестра" (P.MM.01.MSG.007)

Код требованияФормулировка требования
1значение атрибута "идентификатор справочника (классификатора)" (атрибут codeListId) в составе заполненного реквизита "Код страны" (csdo:UnifiedCountryCode) должно содержать кодовое обозначение "2021"
2если реквизит "Код страны" (csdo:UnifiedCountryCode) заполнен, то его значение должно соответствовать коду государства-члена из классификатора стран мира, указанного в разделе VII Правил информационного взаимодействия

41. Требования к заполнению реквизитов электронных документов (сведений) "Сведения о регистрации лекарственного препарата" (R.HC.MM.01.001), передаваемых в сообщении "Актуальные сведения из единого реестра" (P.MM.01.MSG.008), приведены в таблице 29.

Таблица 29

Требования к заполнению реквизитов электронных документов (сведений) "Сведения о регистрации лекарственного препарата" (R.HC.MM.01.001), передаваемых в сообщении "Актуальные сведения из единого реестра" (P.MM.01.MSG.008)

Код требованияФормулировка требования
1реквизит "Уникальный идентификатор документа" (hcsdo:DocUUId) должен быть указан в составе каждого заполненного реквизита в составе сложного реквизита "Сведения о документах регистрационного досье лекарственного препарата, вносимых в единый реестр" (hccdo:DrugDocumentsDetails)

42. Требования к заполнению реквизитов электронных документов (сведений) "Уведомление о результате обработки" (R.006), передаваемых в сообщении "Уведомление о невозможности представления сведений" (P.MM.01.MSG.009), приведены в таблице 30.

Таблица 30

Требования к заполнению реквизитов электронных документов (сведений) "Уведомление о результате обработки" (R.006), передаваемых в сообщении "Уведомление о невозможности представления сведений" (P.MM.01.MSG.009)

Код требованияФормулировка требования
1если уведомление о невозможности представления сведений сформировано в связи с отсутствием в реестре сведений, удовлетворяющих параметрам запроса, то реквизит "Код результата обработки" (csdo:ProcessingResultV2Code) должен соответствовать значению "1 - сведения отсутствуют"
2если уведомление о невозможности представления сведений сформировано в связи с превышением запрошенными сведениями допустимого объема, то реквизит "Код результата обработки" (csdo:ProcessingResultV2Code) должен соответствовать значению "8 - сведения не могут быть предоставлены", а реквизит "Описание" (csdo:DescriptionText) должен иметь значение "превышение запрошенными сведениями допустимого объема"
3если уведомление о невозможности представления сведений сформировано в связи с отсутствием у инициатора запроса права получения запрошенных сведений, то реквизит "Код результата обработки" (csdo:ProcessingResultV2Code) должен соответствовать значению "8 - сведения не могут быть предоставлены", а реквизит "Описание" (csdo:DescriptionText) должен иметь значение "отсутствует право получения запрошенных сведений"

43. Требования к заполнению реквизитов электронных документов (сведений) "Состояние актуализации единого реестра или единой базы данных" (R.HC.MM.01.007), передаваемых в сообщении "Запрос измененных сведений из единого реестра" (P.MM.01.MSG.010), приведены в таблице 31.

Таблица 31

Требования к заполнению реквизитов электронных документов (сведений) "Состояние актуализации единого реестра или единой базы данных" (R.HC.MM.01.007), передаваемых в сообщении "Запрос измененных сведений из единого реестра" (P.MM.01.MSG.010)

Код требованияФормулировка требования
1реквизит "Дата и время обновления" (csdo:UpdateDateTime) не заполняется
2значение атрибута "идентификатор справочника (классификатора)" (атрибут codeListId) в составе заполненного реквизита "Код страны" (csdo:UnifiedCountryCode) должно содержать кодовое обозначение "2021"
3если реквизит "Код страны" (csdo:UnifiedCountryCode) заполнен, то его значение должно соответствовать коду государства-члена из классификатора стран мира, указанного в разделе VII Правил информационного взаимодействия

44. Требования к заполнению реквизитов электронных документов (сведений) "Сведения о регистрации лекарственного препарата" (R.HC.MM.01.001), передаваемых в сообщении "Измененные сведения из единого реестра" (P.MM.01.MSG.011), приведены в таблице 32.

Таблица 32

Требования к заполнению реквизитов электронных документов (сведений) "Сведения о регистрации лекарственного препарата" (R.HC.MM.01.001), передаваемых в сообщении "Измененные сведения из единого реестра" (P.MM.01.MSG.011)

Код требованияФормулировка требования
1реквизит "Уникальный идентификатор документа" (hcsdo:DocUUId) должен быть указан в составе каждого заполненного реквизита в составе сложного реквизита "Сведения о документах регистрационного досье лекарственного препарата, вносимых в единый реестр" (hccdo:DrugDocumentsDetails)

45. Требования к заполнению реквизитов электронных документов (сведений) "Сведения о номере регистрационного удостоверения на лекарственный препарат" (R.HC.MM.01.004), передаваемых в сообщении "Сведения о номере заявления" (P.MM.01.MSG.013), приведены в таблице 33.

Таблица 33

Требования к заполнению реквизитов электронных документов (сведений) "Сведения о номере регистрационного удостоверения на лекарственный препарат" (R.HC.MM.01.004), передаваемых в сообщении "Сведения о номере заявления" (P.MM.01.MSG.013)

Код требованияФормулировка требования
1должен быть заполнен реквизит "Номер заявления о регистрации лекарственного препарата" (hcsdo:ApplicationId)
2реквизит "Порядковый номер регистрационного удостоверения лекарственного препарата" (hcsdo:RegistrationNumberId) не заполняется
3реквизит "Код страны" (csdo:UnifiedCountryCode) не заполняются

46. Требования к заполнению реквизитов электронных документов (сведений) "Сведения о номере регистрационного удостоверения на лекарственный препарат" (R.HC.MM.01.004), передаваемых в сообщении "Запрос сведений о порядковом номере регистрационного удостоверения" (P.MM.01.MSG.014), приведены в таблице 34.

Таблица 34

Требования к заполнению реквизитов электронных документов (сведений) "Сведения о номере регистрационного удостоверения на лекарственный препарат" (R.HC.MM.01.004), передаваемых в сообщении "Запрос сведений о порядковом номере регистрационного удостоверения" (P.MM.01.MSG.014)

Код требованияФормулировка требования
1реквизит "Порядковый номер регистрационного удостоверения лекарственного препарата" (hcsdo:RegistrationNumberId) не заполняется
2должен быть заполнен реквизит "Номер заявления о регистрации лекарственного препарата" (hcsdo:ApplicationId)
3значение реквизита "Номер заявления о регистрации лекарственного препарата" (hcsdo:ApplicationId) должно соответствовать значению этого реквизита, направленного этим же уполномоченным органом референтного государства в Комиссию процедурой общего процесса "Направление сведений о рассмотрении заявления" (P.MM.01.PRC.023), которой установлен этап рассмотрения заявления, соответствующий значению "06 - одобрение экспертного отчета"
4реквизит "Код страны" (csdo:UnifiedCountryCode) должен содержать кодовое обозначение государства-члена из классификатора стран мира, указанного в разделе VII Правил информационного взаимодействия, а атрибут "идентификатор справочника (классификатора)" (атрибут codeListId) в его составе должен содержать значение "2021"

47. Требования к заполнению реквизитов электронных документов (сведений) "Сведения о номере регистрационного удостоверения на лекарственный препарат" (R.HC.MM.01.004), передаваемых в сообщении "Сведения о порядковом номере регистрационного удостоверения" (P.MM.01.MSG.015), приведены в таблице 35.

Таблица 35

Требования к заполнению реквизитов электронных документов (сведений) "Сведения о номере регистрационного удостоверения на лекарственный препарат" (R.HC.MM.01.004), передаваемых в сообщении "Сведения о порядковом номере регистрационного удостоверения" (P.MM.01.MSG.015)

Код требованияФормулировка требования
1реквизит "Порядковый номер регистрационного удостоверения лекарственного препарата" (hcsdo:RegistrationNumberId) должен быть заполнен
2реквизит "Номер заявления о регистрации лекарственного препарата" (hcsdo:AppllcationId) должен быть заполнен
3реквизит "Код страны" (csdo:UnifiedCountryCode) не заполняется

48. Требования к заполнению реквизитов электронных документов (сведений) "Сведения регистрационного дела или регистрационного досье на лекарственный препарат" (R.HC.MM.01.003), передаваемых в сообщении "Запрос сведений из регистрационного дела или регистрационного досье" (P.MM.01.MSG.019), приведены в таблице 36.

Таблица 36

Требования к заполнению реквизитов электронных документов (сведений) "Сведения регистрационного дела или регистрационного досье на лекарственный препарат" (R.HC.MM.01.003), передаваемых в сообщении "Запрос сведений из регистрационного дела или регистрационного досье" (P.MM.01.MSG.019)

Код требованияФормулировка требования
1должен быть заполнен реквизит "Номер заявления о регистрации лекарственного препарата" (hcsdo:ApplicationId) или реквизит "Порядковый номер регистрационного удостоверения лекарственного препарата" (hcsdo:RegistrationNumberId)
2не заполняется реквизит "Код страны" (csdo:UnifiedCountryCode)
3не заполняется реквизит "Код вида процедуры регистрации" (hcsdo:RegistrationKindCode)
4не заполняется реквизит "Сведения о документе регистрационного досье (дела)" (hccdo:RegistrationDossierDocDetails)
5не заполняется реквизит "Признак согласования документа" (hcsdo:DocAgreementIndicator)

49. Требования к заполнению реквизитов электронных документов (сведений) "Сведения регистрационного дела или регистрационного досье на лекарственный препарат" (R.HC.MM.01.003), передаваемых в сообщении "Сведения из регистрационного дела или регистрационного досье" (P.MM.01.MSG.020), приведены в таблице 37.

Таблица 37

Требования к заполнению реквизитов электронных документов (сведений) "Сведения регистрационного дела или регистрационного досье на лекарственный препарат" (R.HC.MM.01.003), передаваемых в сообщении "Сведения из регистрационного дела или регистрационного досье" (P.MM.01.MSG.020)

Код требованияФормулировка требования
1должен быть заполнен реквизит "Номер заявления о регистрации лекарственного препарата" (hcsdo:ApplicationId) и (или) реквизит "Порядковый номер регистрационного удостоверения лекарственного препарата" (hcsdo:RegistrationNumberId)
2реквизит "Признак принадлежности документа к регистрационному досье" (hcsdo:RegistrationFileIndicator) заполняется обязательно
3не заполняются реквизиты "Документ в бинарном формате" (hcsdo:DocCopyBinaryText) и реквизит "XML-документ" (ccdo:AnyDetails)
4значение атрибута "идентификатор справочника (классификатора)" (атрибут codeListId) в составе реквизита "Код страны" (csdo:UnifiedCountryCode) должно содержать значение "2021"
5если реквизит "Код страны" (csdo:UnifiedCountryCode) заполнен, то его значение должно соответствовать коду государства-члена из классификатора стран мира, указанного в разделе VII Правил информационного взаимодействия
6если реквизит "Описание элемента документа" (hcsdo:DrugAttributeEnumText) заполнен, то в его составе должен быть заполнен атрибут "код вида элемента документа" (атрибут DrugAttributeKindEnumCode) и (или) атрибут "наименование вида элемента документа" (атрибут AttributeKindName)
7если значение атрибута "код вида элемента документа" (атрибут DrugAttributeKindEnumCode) соответствует значению "другое", то атрибут "наименование вида элемента документа" (атрибут AttributeKindName) заполняется обязательно
8если значение реквизита "Признак принадлежности документа к регистрационному досье" (hcsdo:RegistrationFileIndicator) соответствует значению "0 - документ регистрационного дела", то должен быть заполнен реквизит "Код вида документа регистрационного дела на лекарственный препарат" (hcsdo:DrugRegistrationFileCode), не допускается заполнение реквизитов "Код вида документа регистрационного досье на лекарственный препарат" (hcsdo:DrugRegistrationDocCode) и "Наименование вида документа регистрационного досье на лекарственный препарат" (hcsdo:DrugRegistrationDocName)
9реквизит "Наименование вида документа регистрационного дела на лекарственный препарат" (hcsdo:DrugRegistrationFileName) заполняется обязательно, если значение реквизита "Код вида документа регистрационного дела на лекарственный препарат" (hcsdo:DrugRegistrationFileCode) соответствует одному из следующих значений:
0199 - другое;
0299 - другое;
0399 - другое;
0499 - другое
10если значение реквизита "Признак принадлежности документа к регистрационному досье" (hcsdo:RegistrationFileIndicator) соответствует значению "1 - документ регистрационного досье", то должен быть заполнен реквизит "Код вида документа регистрационного досье на лекарственный препарат" (hcsdo:DrugRegistrationDocCode), не допускается заполнение реквизитов "Код вида документа регистрационного дела на лекарственный препарат" (hcsdo:DrugRegistrationFileCode) и "Наименование вида документа регистрационного дела на лекарственный препарат"
(hcsdo:DrugRegistrationFileName)
11если значение реквизита "Код вида документа регистрационного досье на лекарственный препарат" (hcsdo:DrugRegistrationDocCode) соответствует значению "99999 - другой документ", то реквизит "Наименование вида документа регистрационного досье на лекарственный препарат" (hcsdo:DrugRegistrationDocName) заполняется обязательно
12если реквизит "Код вида документа регистрационного досье на лекарственный препарат" (hcsdo:DrugRegistrationDocCode) заполнен, то его значение должно соответствовать коду из классификатора видов документов регистрационного досье лекарственного препарата, указанного в разделе VII Правил информационного взаимодействия, а атрибут "идентификатор справочника (классификатора)" (атрибут codeListId) в составе этого реквизита должен содержать значение "2058"
13если атрибут "код вида элемента документа" (атрибут
DrugAttributeKindEnumCode) заполнен, то он должен соответствовать одному из следующих значений:
01 - предельная дата ответа на запрос в соответствии с ISO 8601;
02 - номер документа основания;
03 - вид документа регистрационного досье, в отношении которого направляется запрос;
04 - вид документа регистрационного дела, в отношении которого направляется запрос;
99 - другое
14если реквизит "Код вида документа регистрационного дела на лекарственный препарат" (hcsdo:DrugRegistrationFileCode) заполнен, то его значение должно соответствовать коду из классификатора видов документов регистрационного дела лекарственного препарата, указанного в разделе VII Правил информационного взаимодействия, а атрибут "идентификатор справочника (классификатора)" (атрибут codeListId) в составе этого реквизита должен содержать значение "2040"
15в составе заполненного реквизита "Сведения о документе регистрационного досье (дела)" (hccdo:RegistrationDossierDocDetails) должен быть заполнен реквизит "Уникальный идентификатор документа" (hcsdo:DocUUId)
16должен быть заполнен реквизит "Наименование документа" (csdo:DocName)
17должен быть заполнен реквизит "Дата документа" (csdo:DocCreationDate)
18не заполняется реквизит "Признак согласования документа" (hcsdo:DocAgreementIndicator)
19не заполняется реквизит "Код вида процедуры регистрации" (hcsdo:RegistrationKindCode)

50. Требования к заполнению реквизитов электронных документов (сведений) "Сведения о номере регистрационного удостоверения на лекарственный препарат" (R.HC.MM.01.004), передаваемых в сообщении "Запрос сведений о регистрации лекарственного препарата из единого реестра" (P.MM.01.MSG.025), приведены в таблице 38.

Таблица 38

Требования к заполнению реквизитов электронных документов (сведений) "Сведения о номере регистрационного удостоверения на лекарственный препарат" (R.HC.MM.01.004), передаваемых в сообщении "Запрос сведений о регистрации лекарственного препарата из единого реестра" (P.MM.01.MSG.025)

Код требованияФормулировка требования
1должен быть заполнен реквизит "Порядковый номер регистрационного удостоверения лекарственного препарата" (hcsdo:RegistrationNumberId) либо реквизит "Номер заявления о регистрации лекарственного препарата" (hcsdo:ApplicationId)
2реквизит "Код страны" (csdo:UnifiedCountryCode) не заполняется

51. Требования к заполнению реквизитов электронных документов (сведений) "Сведения о регистрации лекарственного препарата" (R.HC.MM.01.001), передаваемых в сообщении "Сведения о регистрации лекарственного препарата из единого реестра" (P.MM.01.MSG.026), приведены в таблице 39.

Таблица 39

Требования к заполнению реквизитов электронных документов (сведений) "Сведения о регистрации лекарственного препарата" (R.HC.MM.01.001), передаваемых в сообщении "Сведения о регистрации лекарственного препарата из единого реестра" (P.MM.01.MSG.026)

Код требованияФормулировка требования
1реквизит "Уникальный идентификатор документа" (hcsdo:DocUUId) должен быть указан в составе каждого заполненного реквизита в составе сложного реквизита "Сведения о документах регистрационного досье лекарственного препарата, вносимых в единый реестр" (hccdo:DrugDocumentsDetails)

52. Требования к заполнению реквизитов электронных документов (сведений) "Сведения регистрационного дела или регистрационного досье на лекарственный препарат" (R.HC.MM.01.003), передаваемых в сообщении "Запрос сведений о размещенном в едином реестре документе" (P.MM.01.MSG.027), приведены в таблице 40.

Таблица 40

Требования к заполнению реквизитов электронных документов (сведений) "Сведения регистрационного дела или регистрационного досье на лекарственный препарат" (R.HC.MM.01.003), передаваемых в сообщении "Запрос сведений о размещенном в едином реестре документе" (P.MM.01.MSG.027)

Код требованияФормулировка требования
1реквизит "Порядковый номер регистрационного удостоверения лекарственного препарата" (hcsdo:RegistrationNumberId) должен быть заполнен
2должен быть заполнен только один экземпляр реквизита "Сведения о документе регистрационного досье (дела)" (hccdo:RegistrationDossierDocDetails)
3в составе реквизита "Сведения о документе регистрационного досье (дела)" (hccdo:RegistrationDossierDocDetails) должен быть заполнен только реквизит "Уникальный идентификатор документа" (hcsdo:DocUUId)
4реквизит "Код страны" (csdo:UnifiedCountryCode) не заполняется
5реквизит "Номер заявления о регистрации лекарственного препарата" (hcsdo:ApplicationId) не заполняется
6реквизит "Код вида процедуры регистрации" (hcsdo:RegistrationKindCode) не заполняется
7не заполняется реквизит "Признак согласования документа" (hcsdo:DocAgreementIndicator)

53. Требования к заполнению реквизитов электронных документов (сведений) "Сведения регистрационного дела или регистрационного досье на лекарственный препарат" (R.HC.MM.01.003), передаваемых в сообщении "Сведения о подлежащем размещению в едином реестре документе" (P.MM.01.MSG.028), приведены в таблице 41.

Таблица 41

Требования к заполнению реквизитов электронных документов (сведений) "Сведения регистрационного дела или регистрационного досье на лекарственный препарат" (R.HC.MM.01.003), передаваемых в сообщении "Сведения о подлежащем размещению в едином реестре документе" (P.MM.01.MSG.028)

Код требованияФормулировка требования
1должен быть заполнен реквизит "Порядковый номер регистрационного удостоверения лекарственного препарата" (hcsdo:RegistrationNumberId)
2должен быть заполнен только один экземпляр реквизита "Сведения о документе регистрационного досье (дела)" (hccdo:RegistrationDossierDocDetails)
3в составе сложного реквизита "Сведения о документе регистрационного досье (дела)" (hccdo:RegistrationDossierDocDetails) должны быть заполнены реквизиты "Признак принадлежности документа к регистрационному досье" (hcsdo:RegistrationFileIndicator), "Наименование документа" (csdo:DocName), "Дата документа" (csdo:DocCreationDate)
4если значение реквизита "Признак принадлежности документа к регистрационному досье" (hcsdo:RegistrationFileIndicator) соответствует значению "0 - документ регистрационного дела", то должен быть заполнен реквизит "Код вида документа регистрационного дела на лекарственный препарат" (hcsdo:DrugRegistrationFileCode), не допускается заполнение реквизитов "Код вида документа регистрационного досье на лекарственный препарат" (hcsdo:DrugRegistrationDocCode) и "Наименование вида документа регистрационного досье на лекарственный препарат" (hcsdo:DrugRegistrationDocName)
5если значение реквизита "Признак принадлежности документа к регистрационному досье" (hcsdo:RegistrationFileIndicator) соответствует значению "1 - документ регистрационного досье", то должен быть заполнен реквизит "Код вида документа регистрационного досье на лекарственный препарат" (hcsdo:DrugRegistrationDocCode), не допускается заполнение реквизита "Код вида документа регистрационного дела на лекарственный препарат" (hcsdo:DrugRegistrationFileCode) и "Наименование вида документа регистрационного дела на лекарственный препарат" (hcsdo:DrugRegistrationFileName)
6в едином реестре должна присутствовать запись с таким же значением реквизита "Порядковый номер регистрационного удостоверения лекарственного препарата" (hcsdo:RegistrationNumberId), при этом код страны уполномоченного органа, направившего сообщение, должен соответствовать коду государства-члена уполномоченного органа, представившего эту запись в единый реестр. Хотя бы один из реквизитов "Уникальный идентификатор документа" (hcsdo:DocUUId) в указанной записи должен соответствовать реквизиту "Уникальный идентификатор документа" (hcsdo:DocUUId) в направляемом сообщении
7если реквизит "Код вида документа регистрационного досье на лекарственный препарат" (hcsdo:DrugRegistrationDocCode) заполнен, то его значение должно соответствовать коду из классификатора видов документов регистрационного досье лекарственного препарата, указанного в разделе VII Правил информационного взаимодействия, а атрибут "идентификатор справочника (классификатора)" (атрибут codeListId) в составе этого реквизита должен содержать значение "2058". Вид документа должен соответствовать значению "документ, подлежащий размещению в едином реестре" в соответствии с Порядком ведения единого реестра и может иметь нижеследующие значения:
02002 - инструкция по медицинскому применению лекарственного препарата;
02010 - общая характеристика лекарственного препарата;
02005 - макет первичной упаковки лекарственного препарата;
02004 - макет вторичной упаковки;
02006 - макет промежуточной упаковки;
07004 - план управления рисками;
13028 - нормативный документ по качеству
8если реквизит "Код вида документа регистрационного дела на лекарственный препарат" (hcsdo:DrugRegistrationFileCode) заполнен, то его значение должно соответствовать коду из классификатора видов документов регистрационного дела лекарственного препарата, указанного в разделе VII Правил информационного взаимодействия, а атрибут "идентификатор справочника (классификатора)" (атрибут codeListId) в составе этого реквизита должен содержать значение "2040". Вид документа должен соответствовать значению "документ, подлежащий размещению в едином реестре" в соответствии с Порядком ведения единого реестра и может иметь значение "0401 - экспертный отчет об оценке безопасности, эффективности и качества"
9реквизит "Код страны" (csdo:UnifiedCountryCode) должен содержать кодовое обозначение государства-члена из классификатора стран мира, указанного в разделе VII Правил информационного взаимодействия, а атрибут "идентификатор справочника (классификатора)" (атрибут codeListId) в его составе должен содержать значение "2021"
10не заполняется реквизит "Номер заявления о регистрации лекарственного препарата" (hcsdo:ApplicationId)
11не заполняется реквизит "Код вида процедуры регистрации" (hcsdo:RegistrationKindCode)
12должен быть заполнен реквизит "Уникальный идентификатор документа" (hcsdo:DocUUId) и его значение должно быть рассчитано по dbf-файлу, содержащемся в реквизите "Документ в бинарном формате" (hcsdo:DocCopyBinaryText), в соответствии с алгоритмом, определенном в п. 11 Правил информационного взаимодействия
13реквизит "Документ в бинарном формате" (hcsdo:DocCopyBinaryText) должен быть заполнен, а атрибут "код формата данных" (атрибут mediaTypeCode) в его составе должен содержать значение "pdf"
14реквизит "XML-документ" (ccdo:AnyDetails) не заполняется
15не заполняется реквизит "Признак согласования документа" (hcsdo:DocAgreementIndicator)

54. Требования к заполнению реквизитов электронных документов (сведений) "Сведения регистрационного дела или регистрационного досье на лекарственный препарат" (R.HC.MM.01.003), передаваемых в сообщении "Заключение о невозможности признания экспертного отчета" (P.MM.01.MSG.029), приведены в таблице 42.

Таблица 42

Требования к заполнению реквизитов электронных документов (сведений) "Сведения регистрационного дела или регистрационного досье на лекарственный препарат" (R.HC.MM.01.003), передаваемых в сообщении "Заключение о невозможности признания экспертного отчета" (P.MM.01.MSG.029)

Код требованияФормулировка требования
1реквизит "Признак согласования документа" (hcsdo:DocAgreementIndicator) должен иметь значение "0 - экспертный отчет не согласован"
2значение реквизита "Код вида документа регистрационного дела на лекарственный препарат" (hcsdo:DrugRegistrationFileCode) должно соответствовать значению "0407 - подтверждение согласования (несогласования) в отношении заключительного экспертного отчета по качеству референтного государства по результатам экспертизы безопасности, эффективности и качества" из классификатора видов документов регистрационного дела лекарственного препарата, указанного в разделе VII Правил информационного взаимодействия, а атрибут "идентификатор справочника (классификатора)" (атрибут codeListId) в составе этого реквизита должен содержать значение "2040"
3реквизит "Код страны" (csdo:UnifiedCountryCode) должен содержать кодовое обозначение государства-члена из классификатора стран мира, указанного в разделе VII Правил информационного взаимодействия, а атрибут "идентификатор справочника (классификатора)" (атрибут codeListId) в его составе должен содержать значение "2021"
4должен быть заполнен реквизит "Номер заявления о регистрации лекарственного препарата" (hcsdo:ApplicationId)
5должен быть заполнен реквизит "Наименование документа" (csdo:DocName)
6должен быть заполнен реквизит "Дата документа" (csdo:DocCreationDate)
7должен быть заполнен реквизит "Документ в бинарном формате" (hcsdo:DocCopyBinaryText), а атрибут "код формата данных" (атрибут mediaTypeCode) в его составе должен содержать значение "pdf"
8должен быть заполнен реквизит "Уникальный идентификатор документа" (hcsdo:DocUUId) и его значение должно быть рассчитано по dbf-файлу, содержащемся в реквизите "Документ в бинарном формате" (hcsdo:DocCopyBinaryText), в соответствии с алгоритмом, определенном в п. 11 Правил информационного взаимодействия
9не заполняется реквизит "Код вида процедуры регистрации" (hcsdo:RegistrationKindCode)

55. Требования к заполнению реквизитов электронных документов (сведений) "Сведения регистрационного дела или регистрационного досье на лекарственный препарат" (R.HC.MM.01.003), передаваемых в сообщении "Запрос документа из регистрационного дела или регистрационного досье" (P.MM.01.MSG.030), приведены в таблице 43.

Таблица 43

Требования к заполнению реквизитов электронных документов (сведений) "Сведения регистрационного дела или регистрационного досье на лекарственный препарат" (R.HC.MM.01.003), передаваемых в сообщении "Запрос документа из регистрационного дела или регистрационного досье" (P.MM.01.MSG.030)

Код требованияФормулировка требования
1должен быть заполнен только один экземпляр реквизита "Сведения о документе регистрационного досье (дела)" (hccdo:RegistrationDossierDocDetails)
2в составе реквизита "Сведения о документе регистрационного досье (дела)" (hccdo:RegistrationDossierDocDetails) должен быть заполнен только реквизит "Уникальный идентификатор документа" (hcsdo:DocUUId)
3не заполняется реквизит "Код страны" (csdo:UnifiedCountryCode)
4не заполняется реквизит "Признак согласования документа" (hcsdo:DocAgreementIndicator)
5должен быть заполнен реквизит "Номер заявления о регистрации лекарственного препарата" (hcsdo:ApplicationId) и (или) реквизит "Порядковый номер регистрационного удостоверения лекарственного препарата" (hcsdo:RegistrationNumberId)
6не заполняется реквизит "Код вида процедуры регистрации" (hcsdo:RegistrationKindCode)

56. Требования к заполнению реквизитов электронных документов (сведений) "Сведения регистрационного дела или регистрационного досье на лекарственный препарат" (R.HC.MM.01.003), передаваемых в сообщении "Документ из регистрационного дела или регистрационного досье" (P.MM.01.MSG.031), приведены в таблице 44.

Таблица 44

Требования к заполнению реквизитов электронных документов (сведений) "Сведения регистрационного дела или регистрационного досье на лекарственный препарат" (R.HC.MM.01.003), передаваемых в сообщении "Документ из регистрационного дела или регистрационного досье" (P.MM.01.MSG.031)

Код требованияФормулировка требования
1должен быть заполнен только один экземпляр реквизита "Сведения о документе регистрационного досье (дела)" (hccdo:RegistrationDossierDocDetails)
2должен быть заполнен реквизит "Документ в бинарном формате" (hcsdo:DocCopyBinaryText) или реквизит "XML-документ" (ccdo:AnyDetails)
3должен быть заполнен реквизит "Уникальный идентификатор документа" (hcsdo:DocUUId) и его значение должно быть рассчитано в соответствии с алгоритмом, определенном в п. 11 Правил информационного взаимодействия, по dbf-файлу, содержащемся в заполненном реквизите "Документ в бинарном формате" (hcsdo:DocCopyBinaryText), или по xml-файлу, содержащемся в заполненном реквизите "XML-документ" (ccdo:AnyDetails)
4реквизит "Код страны" (csdo:UnifiedCountryCode) должен содержать кодовое обозначение государства-члена из классификатора стран мира, указанного в разделе VII Правил информационного взаимодействия, а атрибут "идентификатор справочника (классификатора)" (атрибут codeListId) в его составе должен содержать значение "2021"
5должен быть заполнен реквизит "Номер заявления о регистрации лекарственного препарата" (hcsdo:ApplicationId) и (или) реквизит "Порядковый номер регистрационного удостоверения лекарственного препарата" (hcsdo:RegistrationNumberId)
6не заполняется реквизит "Код вида процедуры регистрации" (hcsdo:RegistrationKindCode)
7должен быть заполнен реквизит "Наименование документа" (csdo:DocName)
8должен быть заполнен реквизит "Дата документа" (csdo:DocCreationDate)
9должен быть заполнен реквизит "Признак принадлежности документа к регистрационному досье" (hcsdo:RegistrationFileIndicator)
10если значение реквизита "Признак принадлежности документа к регистрационному досье" (hcsdo:RegistrationFileIndicator) соответствует значению "1 - документ регистрационного досье", то должен быть заполнен реквизит "Код вида документа регистрационного досье на лекарственный препарат" (hcsdo:DrugRegistrationDocCode), не допускается заполнение реквизитов "Код вида документа регистрационного дела на лекарственный препарат" (hcsdo:DrugRegistrationFileCode) и "Наименование вида документа регистрационного дела на лекарственный препарат" (hcsdo:DrugRegistrationFileName)
11если значение реквизита "Признак принадлежности документа к регистрационному досье" (hcsdo:RegistrationFileIndicator) соответствует значению "0 - документ регистрационного дела", то должен быть заполнен реквизит "Код вида документа регистрационного дела на лекарственный препарат" (hcsdo:DrugRegistrationFileCode), не допускается заполнение реквизитов "Код вида документа регистрационного досье на лекарственный препарат" (hcsdo:DrugRegistrationDocCode) и "Наименование вида документа регистрационного досье на лекарственный препарат" (hcsdo:DrugRegistrationDocName)
12если реквизит "Код вида документа регистрационного досье на лекарственный препарат" (hcsdo:DrugRegistrationDocCode) заполнен, то его значение должно соответствовать коду из классификатора видов документов регистрационного досье лекарственного препарата, указанного в разделе VII Правил информационного взаимодействия, а атрибут "идентификатор справочника (классификатора)" (атрибут codeListId) в составе этого реквизита должен содержать значение "2058"
13если реквизит "Код вида документа регистрационного дела на лекарственный препарат" (hcsdo:DrugRegistrationFileCode) заполнен, то его значение должно соответствовать коду из классификатора видов документов регистрационного дела лекарственного препарата, указанного в разделе VII Правил информационного взаимодействия, а атрибут "идентификатор справочника (классификатора)" (атрибут codeListId) в составе этого реквизита должен содержать значение "2040"
14если значение реквизита "Код вида документа регистрационного досье на лекарственный препарат" (hcsdo:DrugRegistrationDocCode) соответствует значению "99999 - другой документ", то реквизит "Наименование вида документа регистрационного досье на лекарственный препарат" (hcsdo:DrugRegistrationDocName) заполняется обязательно
15реквизит "Наименование вида документа регистрационного дела на лекарственный препарат" (hcsdo:DrugRegistrationFileName) заполняется обязательно, если значение реквизита "Код вида документа регистрационного дела на лекарственный препарат" (hcsdo:DrugRegistrationFileCode) соответствует одному из следующих значений:
0199 - другое;
0299 - другое;
0399 - другое;
0499 - другое
16если реквизит "Описание элемента документа"
(hcsdo:DrugAttributeEnumText) заполнен, то в его составе атрибут "код вида элемента документа" (атрибут DrugAttributeKindEnumCode) должен соответствовать одному из следующих значений:
01 - предельная дата ответа на запрос в соответствии с ISO 8601;
02 - номер документа основания;
03 - вид документа регистрационного досье, в отношении которого направляется запрос;
04 - вид документа регистрационного дела, в отношении которого направляется запрос;
99 - другое
17если значение атрибута "код вида элемента документа" (атрибут DrugAttributeKindEnumCode) соответствует значению "99 - другое", то атрибут "наименование вида элемента документа" (атрибут AttributeKindName) заполняется обязательно
18если заполнен реквизит "Документ в бинарном формате" (hcsdo:DocCopyBinaryText), то атрибут "код формата данных" (атрибут mediaTypeCode) в его составе должен содержать значение "pdf"
19если заполнен реквизит "XML-документ" (ccdo:AnyDetails), то он должен содержать не более одного экземпляра элемента "XML-документ"
20не заполняется реквизит "Признак согласования документа" (hcsdo:DocAgreementIndicator)

57. Требования к заполнению реквизитов электронных документов (сведений) "Сведения регистрационного дела или регистрационного досье на лекарственный препарат" (R.HC.MM.01.003), передаваемых в сообщении "Сведения о размещенном в едином реестре документе" (P.MM.01.MSG.032), приведены в таблице 45.

Таблица 45

Требования к заполнению реквизитов электронных документов (сведений) "Сведения регистрационного дела или регистрационного досье на лекарственный препарат" (R.HC.MM.01.003), передаваемых в сообщении "Сведения о размещенном в едином реестре документе" (P.MM.01.MSG.032)

Код требованияФормулировка требования
1должен быть заполнен только один экземпляр реквизита "Сведения о документе регистрационного досье (дела)" (hccdo:RegistrationDossierDocDetails)
2должен быть заполнен реквизит "Документ в бинарном формате" (hcsdo:DocCopyBinaryText), а атрибут "код формата данных" (атрибут mediaTypeCode) в его составе должен содержать значение "pdf"
3должен быть заполнен реквизит "Уникальный идентификатор документа" (hcsdo:DocUUId) и его значение должно быть рассчитано по dbf-файлу, содержащемся в реквизите "Документ в бинарном формате" (hcsdo:DocCopyBinaryText), в соответствии с алгоритмом, определенном в п. 11 Правил информационного взаимодействия
4реквизит "Код страны" (csdo:UnifiedCountryCode) должен содержать кодовое обозначение государства-члена из классификатора стран мира, указанного в разделе VII Правил информационного взаимодействия, а атрибут "идентификатор справочника (классификатора)" (атрибут codeListId) в его составе должен содержать значение "2021"
5должен быть заполнен реквизит "Порядковый номер регистрационного удостоверения лекарственного препарата" (hcsdo:RegistrationNumberId)
6не заполняется реквизит "Номер заявления о регистрации лекарственного препарата" (hcsdo:ApplicationId)
7не заполняется реквизит "Код вида процедуры регистрации" (hcsdo:RegistrationKindCode)
8не заполняется реквизит "Признак согласования документа" (hcsdo:DocAgreementIndicator)

58. Требования к заполнению реквизитов электронных документов (сведений) "Сведения о рассмотрении заявления и (или) регистрационного досье" (R.HC.MM.01.006), передаваемых в сообщении "Сведения о рассмотрении заявления" (P.MM.01.MSG.033), приведены в таблице 46.

Таблица 46

Требования к заполнению реквизитов электронных документов (сведений) "Сведения о рассмотрении заявления и (или) регистрационного досье" (R.HC.MM.01.006), передаваемых в сообщении "Сведения о рассмотрении заявления" (P.MM.01.MSG.033)

Код требованияФормулировка требования
1реквизит "Номер заявления о регистрации лекарственного препарата" (hcsdo:ApplicationId) должен быть заполнен, если реквизит "Код этапа рассмотрения заявления на регистрацию лекарственного препарата" (hcsdo:ApplicationStatusCode) не содержит значение "01 - прием заявления" и код страны уполномоченного органа, направившего сообщение не соответствует значению реквизита "Код страны" (csdo:UnifiedCountryCode) в составе того же экземпляра реквизита "Сведения о регистрации" (hccdo:CountryDrugRegistrationDetails), в котором значение реквизита "Код роли государства-члена" (hcsdo:CountryKindCode), соответствует значению "01 - референтное государство"
2реквизит "Номер заявления о регистрации лекарственного препарата" (hcsdo:ApplicationId) должен быть заполнен, если реквизит "Код этапа рассмотрения заявления на регистрацию лекарственного препарата" (hcsdo:ApplicationStatusCode) не содержит значение "01 - прием заявления", код страны уполномоченного органа, направившего сообщение, не соответствует значению реквизита "Код страны" (csdo:UnifiedCountryCode) в составе того же экземпляра реквизита "Сведения о регистрации" (hccdo:CountryDrugRegistrationDetails), в котором реквизит "Код роли государства-члена" (hcsdo:CountryKindCode), соответствует значению "02 - государство признания" и значение реквизита "Код вида документа регистрационного досье на лекарственный препарат" (hcsdo:DrugRegistrationDocCode) в составе сложного реквизита "Сведения о документе регистрационного досье (дела)" (hccdo:RegistrationDossierDocDetails) не соответствует значению "01003 - заявление о внесении изменений в регистрационное досье лекарственного препарата"
3реквизит "Номер заявления о регистрации лекарственного препарата" (hcsdo:ApplicationId) не должен быть заполнен, если выполнено следующее условие:
Направление от уполномоченного органа референтного государства в Комиссию первого сообщения о поступлении нового заявления.
Сообщение направляется с целью получения номера заявления уполномоченным органом референтного государства. В такой ситуации реквизит "Номер заявления о регистрации лекарственного препарата" (hcsdo:ApplicationId) не заполняется, при этом:
а) реквизит "Код этапа рассмотрения заявления на регистрацию лекарственного препарата" (hcsdo:ApplicationStatusCode) должен соответствовать значению "01 - прием заявления";
б) код страны уполномоченного органа, направившего сообщение, должен соответствовать реквизиту "Код страны" (csdo:UnifiedCountryCode) в составе того же экземпляра реквизита "Сведения о регистрации" (hccdo:CountryDrugRegistrationDetails), в котором реквизит "Код роли государства-члена" (hcsdo:CountryKindCode), соответствует значению "01 - референтное государство".
4реквизит "Номер заявления о регистрации лекарственного препарата" (hcsdo:ApplicationId) не должен быть заполнен, если выполнено следующее условие:
Направление от уполномоченного органа государства признания в Комиссию первого сообщения о поступлении нового заявления о внесении изменений в регистрационное досье зарегистрированного лекарственного препарата уполномоченным органом государства признания без привлечения уполномоченного органа референтного государства в случаях, предусмотренных Правилами регистрации (пункт 2.1.5 Приложения N 19 Правил регистрации в редакции Решения Совета Комиссии от 29 мая 2024 г. N 43). Сообщение направляется с целью получения номера заявления уполномоченным органом государства признания. В такой ситуации реквизит "Номер заявления о регистрации лекарственного препарата" (hcsdo:ApplicationId) не заполняется, при этом:
а) реквизит "Код этапа рассмотрения заявления на регистрацию лекарственного препарата" (hcsdo:ApplicationStatusCode) должен соответствовать значению "01 - прием заявления";
б) код страны уполномоченного органа, направившего сообщение, должен соответствовать реквизиту "Код страны" (csdo:UnifiedCountryCode) в составе того же экземпляра реквизита "Сведения о регистрации" (hccdo:CountryDrugRegistrationDetails), в котором реквизит "Код роли государства-члена" (hcsdo:CountryKindCode), соответствует значению "02 - государство признания";
в) реквизит "Код вида документа регистрационного досье на лекарственный препарат" (hcsdo:DrugRegistrationDocCode) в составе сложного реквизита "Сведения о документе регистрационного досье (дела)" (hccdo:RegistrationDossierDocDetails) должен соответствовать значению "01003 - заявление о внесении изменений в регистрационное досье лекарственного препарата"
5если реквизит "Код вида документа регистрационного досье на лекарственный препарат" (hcsdo:DrugRegistrationDocCode) в составе сложного реквизита "Сведения о документе регистрационного досье (дела)" (hccdo:RegistrationDossierDocDetails) соответствует значению "01002 - заявление о регистрации лекарственного препарата для медицинского применения (приведении регистрационного досье лекарственного препарата в соответствие с требованиями Евразийского экономического союза)", то реквизит "Порядковый номер регистрационного удостоверения лекарственного препарата" (hcsdo:RegistrationNumberId) не заполняется
6если реквизит "Код вида документа регистрационного досье на лекарственный препарат" (hcsdo:DrugRegistrationDocCode) в составе сложного реквизита "Сведения о документе регистрационного досье (дела)" (hccdo:RegistrationDossierDocDetails) соответствует значению "01003 - заявление о внесении изменений в регистрационное досье лекарственного препарата" или значению "01004 - заявление о перерегистрации лекарственного препарата", то реквизит "Порядковый номер регистрационного удостоверения лекарственного препарата" (hcsdo:RegistrationNumberId) должен быть заполнен и должен содержаться в актуальной записи единого реестра, при этом код страны уполномоченного органа, направившего сообщение, должен соответствовать коду государства-члена уполномоченного органа, представившего актуальную запись в единый реестр
7должны присутствовать один или несколько экземпляров реквизита "Сведения о регистрации" (hccdo:CountryDrugRegistrationDetails), из которых первый экземпляр должен содержать реквизит "Код роли государства-члена" (hcsdo:CountryKindCode), соответствующий значению "01 - референтное государство", а в других экземплярах этот реквизит должен соответствовать значению "02 - государство признания"
8значения реквизитов "Код страны" (csdo:UnifiedCountryCode) не могут повторяться среди экземпляров реквизита "Сведения о регистрации" (hccdo:CountryDrugRegistrationDetails)
9в каждом экземпляре реквизита "Сведения о регистрации" (hccdo:CountryDrugRegistrationDetails) реквизит "Код страны" (csdo:UnifiedCountryCode) должен содержать кодовое обозначение государства-члена из классификатора стран мира, указанного в разделе VII Правил информационного взаимодействия, а атрибут "идентификатор справочника (классификатора)" (атрибут codeListId) в его составе должен содержать значение "2021"
10в каждом экземпляре реквизита "Сведения о регистрации" (hccdo:CountryDrugRegistrationDetails) реквизит "Торговое наименование лекарственного препарата" (hcsdo:DrugTradeName) должен быть заполнен
11если реквизит "Код вида процедуры регистрации" (hcsdo:RegistrationKindCode) заполнен, то он должен соответствовать одному из значений:
01 - процедура взаимного признания;
02 - децентрализованная процедура;
03 - регистрация по инициативе уполномоченного органа государства-члена
12реквизит "Сведения об этапе рассмотрения заявления на регистрацию лекарственного препарата" (hccdo:ApplicationStatusDetails) должен быть заполнен и должен содержать информацию о текущем этапе
13реквизит "Код этапа рассмотрения заявления на регистрацию лекарственного препарата" (hcsdo:ApplicationStatusCode) должен соответствовать одному из следующих значений:
01 - прием заявления;
02 - экспертиза досье;
03 - апробация методов контроля качества;
04 - инспекция производства;
05 - подготовка экспертного отчета;
06 - одобрение экспертного отчета;
07 - отказ;
08 - отзыв по обращению заявителя;
99 - другое
14если реквизит "Код этапа рассмотрения заявления на регистрацию лекарственного препарата" (hcsdo:ApplicationStatusCode) соответствует значению "99 - другое", то реквизит "Наименование этапа рассмотрения заявления на регистрацию лекарственного препарата" (hcsdo:ApplicationStatusName) заполняется обязательно
15в составе реквизита "Сведения об этапе рассмотрения заявления на регистрацию лекарственного препарата" (hccdo:ApplicationStatusDetails) должен быть заполнен реквизит "Дата" (csdo:EventDate)
16не заполняется реквизит "Код причины невозможности рассмотрения заявления" (hcsdo:ApprovalImpossibilityReasonCode)
17должен присутствовать ровно один экземпляр реквизита "Сведения о документе регистрационного досье (дела)"
(hccdo:RegistrationDossierDocDetails)
18реквизит "Признак принадлежности документа к регистрационному досье" (hcsdo:RegistrationFileIndicator) должен соответствовать значению "1 - документ регистрационного досье"
19реквизит "Код вида документа регистрационного досье на лекарственный препарат" (hcsdo:DrugRegistrationDocCode) в составе сложного реквизита "Сведения о документе регистрационного досье (дела)" (hccdo:RegistrationDossierDocDetails) должен содержать кодовое обозначение вида документа из классификатора видов документов регистрационного досье лекарственного препарата, указанного в разделе VII Правил информационного взаимодействия, а атрибут "идентификатор справочника (классификатора)" (атрибут codeListId) в составе этого реквизита должен содержать значение "2058". Вид документа должен соответствовать значению "заявление о процедуре регистрации, оформленное в соответствии с приложением N 2 к Правилам регистрации" и может принимать следующие значения:
01002 - заявление о регистрации лекарственного препарата для медицинского применения (приведении регистрационного досье лекарственного препарата в соответствие с требованиями Евразийского экономического союза);
01003 - заявление о внесении изменений в регистрационное досье лекарственного препарата;
01004 - заявление о перерегистрации лекарственного препарата
20не заполняются реквизиты "Код вида документа регистрационного дела на лекарственный препарат" (hcsdo:DrugRegistrationFileCode) и "Наименование вида документа регистрационного дела на лекарственный препарат" (hcsdo:DrugRegistrationFileName)
21не заполняется реквизит "Дата" (csdo:EventDate)
22не заполняется реквизит "Код вида документа регистрационного досье на лекарственный препарат" (hcsdo:DrugRegistrationDocCode)
23не заполняется реквизит "Сведения о наименовании лекарственного препарата (средства)" (hccdo:DrugNameDetails)
24не заполняется реквизит "Сведения о лекарственной форме" (hccdo:DosageFormDetails)
25не заполняется реквизит "Сведения о производителе" (hccdo:ManufacturingAuthorizationHolderDetails)
26не заполняется реквизит "Сведения о держателе (заявителе) регистрационного удостоверения" (hccdo:RegistrationCertificateHolderDetails)
27не заполняется реквизит "Технологические характеристики записи общего ресурса" (ccdo:ResourceItemStatusDetails)

59. Требования к заполнению реквизитов электронных документов (сведений) "Сведения о рассмотрении заявления и (или) регистрационного досье" (R.HC.MM.01.006), передаваемых в сообщении "Сведения для включения в единую базу данных" (P.MM.01.MSG.034), приведены в таблице 47.

Таблица 47

Требования к заполнению реквизитов электронных документов (сведений) "Сведения о рассмотрении заявления и (или) регистрационного досье" (R.HC.MM.01.006), передаваемых в сообщении "Сведения для включения в единую базу данных" (P.MM.01.MSG.034)

Код требованияФормулировка требования
1в единой базе должна отсутствовать запись, в которой значение реквизита "Номер заявления о регистрации лекарственного препарата" (hcsdo:ApplicationId) совпадает с переданными в сообщении
2код страны, представляющей сведения для включения в единую базу данных, должен совпадать с кодом страны, получившей соответствующий номер заявления о регистрации лекарственного препарата в реквизите "Номер заявления о регистрации лекарственного препарата" (hcsdo:ApplicationId) от Комиссии в сообщении общего процесса "Сведения о номере заявления" (P.MM.01.MSG.013), при выполнении процедуры общего процесса "Направление сведений о рассмотрении заявления" (P.MM.01.PRC.023)
3реквизит "Номер заявления о регистрации лекарственного препарата" (hcsdo:ApplicationId) должен быть заполнен
4если реквизит "Код вида документа регистрационного досье на лекарственный препарат" (hcsdo:DrugRegistrationDocCode) содержит 1 из значений:
01003 - заявление о внесении изменений в регистрационное досье лекарственного препарата;
01004 - заявление о перерегистрации лекарственного препарата, то реквизит "Порядковый номер регистрационного удостоверения лекарственного препарата" (hcsdo:RegistrationNumberId) должен быть заполнен
5реквизит "Дата" (csdo:EventDate) должен быть заполнен
6реквизит "Код вида документа регистрационного досье на лекарственный препарат" (hcsdo:DrugRegistrationDocCode) должен быть заполнен
7реквизит "Код вида документа регистрационного досье на лекарственный препарат" (hcsdo:DrugRegistrationDocCode) должен содержать кодовое обозначение вида документа из классификатора видов документов регистрационного досье лекарственного препарата, указанного в разделе VII Правил информационного взаимодействия, а атрибут "идентификатор справочника (классификатора)" (атрибут codeListId) в составе этого реквизита должен содержать значение "2058". Вид документа должен соответствовать значению "заявление о процедуре регистрации, оформленное в соответствии с приложением N 2 к Правилам регистрации" и может принимать следующие значения:
01002 - заявление о регистрации лекарственного препарата для медицинского применения (приведении регистрационного досье лекарственного препарата в соответствие с требованиями Евразийского экономического союза);
01003 - заявление о внесении изменений в регистрационное досье лекарственного препарата;
01004 - заявление о перерегистрации лекарственного препарата
8должны быть заполнены один или несколько экземпляров реквизита "Сведения о регистрации" (hccdo:CountryDrugRegistrationDetails), из которых первый экземпляр должен содержать реквизит "Код роли государства-члена" (hcsdo:CountryKindCode), соответствующий значению "01 - референтное государство", а в других экземплярах этот реквизит должен соответствовать значению "02 - государство признания"
9значения реквизитов "Код страны" (csdo:UnifiedCountryCode) не могут повторяться среди экземпляров реквизита "Сведения о регистрации" (hccdo:CountryDrugRegistrationDetails)
10в каждом экземпляре реквизита "Сведения о регистрации" (hccdo:CountryDrugRegistrationDetails) реквизит "Код страны" (csdo:UnifiedCountryCode) должен содержать кодовое обозначение государства-члена из классификатора стран мира, указанного в разделе VII Правил информационного взаимодействия, а атрибут "идентификатор справочника (классификатора)" (атрибут codeListId) в его составе должен содержать значение "2021"
11в каждом экземпляре реквизита "Сведения о регистрации" (hccdo:CountryDrugRegistrationDetails) реквизит "Торговое наименование лекарственного препарата" (hcsdo:DrugTradeName) должен быть заполнен
12если реквизит "Сведения о наименовании лекарственного препарата (средства)" (hccdo:DrugNameDetails) заполнен, то в его составе должен быть заполнен реквизит "Код наименования активной фармацевтической субстанции" (hcsdo:DrugCode) или реквизит "Наименование активной фармацевтической субстанции" (hcsdo:DrugName)
13если реквизит "Код наименования активной фармацевтической субстанции" (hcsdo:DrugCode) заполнен, то его значение должно соответствовать коду из справочника международных непатентованных наименований лекарственных средств, приведенного в разделе VII Правил информационного взаимодействия а атрибут "идентификатор справочника (классификатора)" (атрибут codeListId) в его составе должен содержать значение "1016"
14если реквизит "Сведения о лекарственной форме" (hccdo:DosageFormDetails) заполнен, то в его составе должен быть заполнен реквизит "Код лекарственной формы" (hcsdo:DosageFormCode) или "Наименование лекарственной формы" (hcsdo:DosageFormName)
15если реквизит "Сведения о форме выпуска лекарственного препарата" (hccdo:PackageFormDetails) заполнен, то в его составе должен быть заполнен реквизит "Код лекарственной формы" (hcsdo:DosageFormCode) или "Наименование лекарственной формы" (hcsdo:DosageFormName)
16если реквизит "Код лекарственной формы" (hcsdo:DosageFormCode) заполнен, то его значение должно соответствовать коду из номенклатуры лекарственных форм, указанной в разделе VII Правил информационного взаимодействия, а атрибут "идентификатор справочника (классификатора)" (атрибут codeListId) в его составе должен содержать значение "2057"
17если реквизит "Код степени измельченности сырьевой части растительного ингредиента" (hcsdo:DegreeRefinementRawMaterialCode) заполнен, то он должен соответствовать одному из значений:
01 - цельное;
02 - измельченное;
03 - порошок;
99 - другое
18если значение реквизита "Код степени измельченности сырьевой части растительного ингредиента" (hcsdo:DegreeRefinementRawMaterialCode) соответствует значению "99 - другое", то реквизит "Наименование степени измельченности сырьевой части растительного ингредиента лекарственного препарата" (hcsdo:DegreeRefinementRawMaterialName) заполняется обязательно
19если реквизит "Сведения о единице дозирования лекарственного препарата" (hccdo:DrugDosageUnitDetails) заполнен, то в его составе должен быть заполнен реквизит "Код вида единицы выражения состава лекарственного препарата" (hcsdo:DrugDosageUnitKindCode) или реквизит "Наименование вида единицы выражения состава лекарственного препарата" (hcsdo:DosageUnitKindName)
20если реквизит "Код вида единицы выражения состава лекарственного препарата" (hcsdo:DrugDosageUnitKindCode) заполнен, то его значение должно соответствовать одному из следующих значений:
01 - дозировка указана на единицу лекарственной формы;
02 - дозировка указана на единицу дозирования;
03 - дозировка указана на единицу массы;
04 - дозировка указана на единицу объема;
05 - дозировка указана на общее количество лекарственного средства в первичной упаковке;
06 - дозировка указана на единицу объема после растворения;
07 - дозировка указана на единицу объема перед разведением;
08 - дозировка указана на единицу времени;
09 - дозировка указана на единицу лекарственной формы, совпадающую с единицей дозирования
21если атрибут "код единицы измерения дозировки и концентрации" (атрибут SubstanceMeasureCode) не заполнен, то атрибут "наименование единицы измерения дозировки и концентрации" (атрибут SubstanceMeasureName) заполняется обязательно
22если атрибут "код единицы измерения дозировки и концентрации" (атрибут SubstanceMeasureCode) заполнен, то его значение должно соответствовать коду из классификатора единиц измерения дозировки и концентрации действующих веществ в составе лекарственных препаратов, указанного в разделе VII Правил информационного взаимодействия, а атрибут "идентификатор справочника (классификатора)" (атрибут codeListId) должен содержать значение "2044"
23если реквизит "Код функции ингредиента в составе лекарственного препарата" (hcsdo:DrugSubstanceRoleCode) заполнен, то он должен соответствовать одному из значений:
01 - действующее вещество;
02 - вспомогательное вещество;
03 - реагент
24если значение реквизита "Код функции ингредиента в составе лекарственного препарата" (hcsdo:DrugSubstanceRoleCode) или реквизита "Наименование функции ингредиента в составе лекарственного препарата" (hcsdo:DrugSubstanceRoleName) соответствует значению "действующее вещество", то в составе сложного реквизита "Сведения об ингредиенте, входящем в состав лекарственного препарата" (hccdo:DrugSubstanceDetails) должен быть заполнен реквизит "Сведения об активной фармацевтической субстанции в составе лекарственного препарата" (hccdo:ActiveSubstanceDetails), а реквизиты "Сведения о вспомогательном веществе в составе лекарственного препарата" (hccdo:AuxiliarySubstanceDetails) и "Наименование реагента" (hcsdo:ReagentName) не заполняются
25если значение реквизита "Код функции ингредиента в составе лекарственного препарата" (hcsdo:DrugSubstanceRoleCode) или реквизита "Наименование функции ингредиента в составе лекарственного препарата" (hcsdo:DrugSubstanceRoleName) соответствует значению "реагент", то в составе сложного реквизита "Сведения об ингредиенте, входящем в состав лекарственного препарата" (hccdo:DrugSubstanceDetails) должен быть заполнен реквизит "Наименование реагента" (hcsdo:ReagentName), а реквизиты "Сведения об активной фармацевтической субстанции в составе лекарственного препарата" (hccdo:ActiveSubstanceDetails) и "Сведения о вспомогательном веществе в составе лекарственного препарата" (hccdo:AuxiliarySubstanceDetails) не заполняются
26если значение реквизита "Код функции ингредиента в составе лекарственного препарата" (hcsdo:DrugSubstanceRoleCode) или реквизита "Наименование функции ингредиента в составе лекарственного препарата" (hcsdo:DrugSubstanceRoleName) соответствует значению "вспомогательное вещество", то в составе сложного реквизита "Сведения об ингредиенте, входящем в состав лекарственного препарата" (hccdo:DrugSubstanceDetails) должен быть заполнен реквизит "Сведения о вспомогательном веществе в составе лекарственного препарата" (hccdo:AuxiliarySubstanceDetails), а реквизиты "Сведения об активной фармацевтической субстанции в составе лекарственного препарата" (hccdo:ActiveSubstanceDetails) и "Наименование реагента" (hcsdo:ReagentName) не заполняются
27если реквизит "Сведения о вспомогательном веществе в составе лекарственного препарата" (hccdo:AuxiliarySubstanceDetails) заполнен, то в его составе должен быть заполнен реквизит "Код вспомогательного вещества, входящего в состав лекарственного препарата" (hcsdo:AuxiliarySubstanceCode) или "Наименование вспомогательного вещества, входящего в состав лекарственного препарата" (hcsdo:AuxiliarySubstanceName)
28если реквизит "Код вспомогательного вещества, входящего в состав лекарственного препарата" (hcsdo:AuxiliarySubstanceCode) заполнен, то его значение должно соответствовать коду из справочника вспомогательных веществ, используемых при производстве лекарственных средств, указанного в разделе VII Правил информационного взаимодействия, а атрибут "идентификатор справочника (классификатора)" (атрибут codeListId) в его составе должен содержать значение "1019"
29если реквизит "Сведения о вспомогательном веществе в составе лекарственного препарата" (hccdo:AuxiliarySubstanceDetails) заполнен, то в его составе должен быть заполнен реквизит "Код функционального назначения вспомогательного вещества" (hcsdo:FunctionalPurposeCode) или "Наименование функционального назначения вспомогательного вещества" (hcsdo:FunctionalPurposeName)
30если реквизит "Код функционального назначения вспомогательного вещества" (hcsdo:FunctionalPurposeCode) заполнен, то его значение должно соответствовать коду из справочника функциональных назначений вспомогательных веществ, используемых при производстве лекарственных средств, указанного в разделе VII Правил информационного взаимодействия, а атрибут "идентификатор справочника (классификатора)" (атрибут codeListId) в его составе должен содержать значение "1020"
31если атрибут "код типа величины дозировки (концентрации)" (атрибут SubstanceMeasureTypeCode) заполнен, то он должен соответствовать одному из следующих значений:
01 - указана точная величина дозировки;
02 - величина дозировки меньше либо равна указанному значению;
03 - величина дозировки больше либо равна указанному значению;
04 - величина дозировки меньше указанного значения;
05 - величина дозировки больше указанного значения
32в составе сложного реквизита "Сведения об упакованной единице лекарственного препарата" (hccdo:PackageDetails) должен быть заполнен реквизит "Код вида первичной упаковки лекарственного препарата" (hcsdo:DrugPackageKindCode) или реквизит "Наименование вида первичной упаковки лекарственного препарата" (hcsdo:DrugPackageKindName)
33если реквизит "Код вида первичной упаковки лекарственного препарата" (hcsdo:DrugPackageKindCode) заполнен, то его значение должно соответствовать коду из классификатора видов первичных упаковок лекарственных средств, указанного в разделе VII Правил информационного взаимодействия, а атрибут "идентификатор справочника (классификатора)" (атрибут codeListId) в его составе должен содержать значение "2045"
34если реквизит "Признак нерасфасованной продукции (in bulk)" (hcsdo:InbulkIndicator) соответствует значению "0 - продукция не является нерасфасованной", то в составе сложного реквизита "Сведения об упакованной единице лекарственного препарата" (hccdo:PackageDetails) в составе реквизита "Количество в упаковке лекарственного препарата" (hccdo:PackageMeasureDetails) реквизит "Количество в упаковке лекарственного препарата" (hcsdo:PackageMeasure) обязателен для заполнения, и реквизиты "Нижняя граница интервала количества в упаковке лекарственного препарата" (hcsdo:PackageLowerLimitMeasure), "Верхняя граница интервала количества в упаковке лекарственного препарата" (hcsdo:PackageUpperLimitMeasure) не заполняются
35если реквизит "Признак нерасфасованной продукции (in bulk)" (hcsdo:InbulkIndicator) соответствует значению "0 - продукция не является нерасфасованной", в составе сложного реквизита "Сведения об упакованной единице лекарственного препарата" (hccdo:PackageDetails) должен быть заполнен реквизит "Код вида вторичной (потребительской) упаковки лекарственного препарата" (hcsdo:DrugSecondaryPackageKindCode) или реквизит "Наименование вида вторичной (потребительской) упаковки лекарственного препарата"
(hcsdo:DrugSecondaryPackageKindName)
36если реквизит "Код вида вторичной (потребительской) упаковки лекарственного препарата" (hcsdo:DrugSecondaryPackageKindCode) заполнен, то его значение должно соответствовать коду из классификатора видов вторичных (потребительских) упаковок лекарственных средств, указанного в разделе VII Правил информационного взаимодействия, а атрибут "идентификатор справочника (классификатора)" (атрибут codeListId) в его составе должен содержать значение "2046"
37если реквизит "Признак нерасфасованной продукции (in bulk)" (hcsdo:InbulkIndicator) соответствует значению "1 - продукция является нерасфасованной", то реквизит "Количество в упаковке лекарственного препарата" (hccdo:PackageMeasureDetails) в составе сложного реквизита в "Сведения о форме выпуска лекарственного препарата" (hccdo:PackageFormDetails) не заполняется
38если реквизит "Признак нерасфасованной продукции (in bulk)" (hcsdo:InbulkIndicator) соответствует значению "1 - продукция является нерасфасованной", то в составе сложного реквизита "Сведения об упакованной единице лекарственного препарата" (hccdo:PackageDetails) в составе реквизита "Количество в упаковке лекарственного препарата" (hccdo:PackageMeasureDetails) реквизиты "Нижняя граница интервала количества в упаковке лекарственного препарата" (hcsdo:PackageLowerLimitMeasure), "Верхняя граница интервала количества в упаковке лекарственного препарата" (hcsdo:PackageUpperLimitMeasure) обязательны для заполнения
39если атрибут "единица измерения" (атрибут measurementUnitCode) заполнен, то его значение должно соответствовать коду из классификатора единиц измерения и счета Евразийского экономического союза, указанного в разделе VII Правил информационного взаимодействия, а атрибут "идентификатор справочника (классификатора)" (атрибут measurementUnitCodeListId) должен содержать значение "2064"
40если реквизит "Код комплектующего" (hcsdo:ComponentCode) заполнен, то его значение должно соответствовать коду из классификатора комплектующих средств упаковки лекарственных препаратов, указанного в разделе VII Правил информационного взаимодействия, а атрибут "идентификатор справочника (классификатора)" (атрибут codeListId) в его составе должен содержать значение "2059"
41если атрибут "код языка" (атрибут languageCode) заполнен, то его значение должно соответствовать коду из классификатора языков, указанного в разделе VII Правил информационного взаимодействия
42должен быть заполнен хотя бы 1 экземпляр реквизита "Сведения о производителе (hccdo:ManufacturingAuthorizationHolderDetails)" должен быть заполнен
43если реквизит "Код организационно-правовой формы" (csdo:BusinessEntityTypeCode) заполнен, то его значение должно соответствовать коду из классификатора организационно-правовых форм, указанного в разделе VII Правил информационного взаимодействия, а атрибут "идентификатор справочника (классификатора)" (атрибут codeListId) в его составе должен содержать значение "2049"
44если атрибут "метод идентификации" (атрибут kindId) заполнен, то его значение должно соответствовать коду из справочника методов идентификации хозяйствующих субъектов при их государственной регистрации в государствах - членах Евразийского экономического союза, указанного в разделе VII Правил информационного взаимодействия
45если в составе любых реквизитов заполнен реквизит "Адрес" (ccdo:AddressV4Details), то в его составе реквизит "Код вида адреса" (csdo:AddressKindCode) обязательно заполняется кодом из перечня видов адреса, указанного в разделе VII Правил информационного взаимодействия
46если реквизит "Адрес" (ccdo:AddressV4Details) в составе любых сложных реквизитов заполнен, то в его составе реквизит "Код страны" (csdo:UnifiedCountryCode) должен быть заполнен
47если реквизит "Адрес" (ccdo:AddressV4Details) в составе любых сложных реквизитов заполнен, то в его составе должен быть заполнен реквизит "Город" (csdo:CityName) или реквизит "Населенный пункт" (csdo:SettlementName)
48если реквизит "Адрес" (ccdo:AddressV4Details) в составе любых сложных реквизитов заполнен, то реквизит "Улица" (csdo:StreetName) в его составе заполняется обязательно
49если реквизит "Контактный реквизит" (ccdo:CommunicationDetails) в составе любых сложных реквизитов заполнен, то в его составе должен быть заполнен реквизит "Код вида связи" (csdo:CommunicationChannelCode) или реквизит "Наименование вида связи" (csdo:CommunicationChannelName)
50если реквизит "Код вида связи" (csdo:CommunicationChannelCode) заполнен, то его значение должно соответствовать коду вида связи из перечня видов средств (каналов) связи, указанного в разделе VII Правил информационного взаимодействия
51если реквизит "Код этапа производства лекарственного средства" (hcsdo:ManufacturingStageCode) заполнен, то его значение должно соответствовать коду из перечня этапов (стадий) производства лекарственных средств, указанного в разделе VII Правил информационного взаимодействия, а атрибут "идентификатор справочника (классификатора)" (атрибут codeListId) в его составе должен содержать значение "1018"
52в составе реквизита "Сведения о держателе (заявителе) регистрационного удостоверения" (hccdo:RegistrationCertificateHolderDetails) должен быть заполнен реквизит "Код страны" (csdo:UnifiedCountryCode)
53в составе реквизита "Сведения о держателе (заявителе) регистрационного удостоверения" (hccdo:RegistrationCertificateHolderDetails) должен быть заполнен реквизит "Наименование хозяйствующего субъекта" (csdo:BusinessEntityName) и (или) реквизит "Краткое наименование хозяйствующего субъекта" (csdo:BusinessEntityBriefName)
54в составе реквизита "Сведения о держателе (заявителе) регистрационного удостоверения" (hccdo:RegistrationCertificateHolderDetails) должен быть заполнен реквизит "Адрес" (ccdo:AddressV4Details)
55не должен быть заполнен реквизит "Код вида процедуры регистрации" (hcsdo:RegistrationKindCode)
56не должен быть заполнен реквизит "Сведения об этапе рассмотрения заявления на регистрацию лекарственного препарата" (hccdo:ApplicationStatusDetails)
57не должен быть заполнен реквизит "Код причины невозможности рассмотрения заявления" (hcsdo:ApprovalImpossibilityReasonCode)
58не должен быть заполнен реквизит "Сведения о документе регистрационного досье (дела)" (hccdo:RegistrationDossierDocDetails)
59должен быть заполнен реквизит "Начальная дата и время" (csdo:StartDateTime) в составе реквизита "Технологические характеристики записи общего ресурса" (ccdo:ResourceItemStatusDetails)
60не заполняется реквизит "Конечная дата и время" (csdo:EndDateTime) в составе реквизита "Технологические характеристики записи общего ресурса" (ccdo:ResourceItemStatusDetails)

60. Требования к заполнению реквизитов электронных документов (сведений) "Сведения о рассмотрении заявления и (или) регистрационного досье" (R.HC.MM.01.006), передаваемых в сообщении "Сведения для внесения изменений в единую базу данных" (P.MM.01.MSG.035), приведены в таблице 48.

Таблица 48

Требования к заполнению реквизитов электронных документов (сведений) "Сведения о рассмотрении заявления и (или) регистрационного досье" (R.HC.MM.01.006), передаваемых в сообщении "Сведения для внесения изменений в единую базу данных" (P.MM.01.MSG.035)

Код требованияФормулировка требования
1в единой базе данных должна содержаться запись, в которой реквизит "Конечная дата и время" (csdo:EndDateTime) в составе сложного реквизита "Технологические характеристики записи общего ресурса" (ccdo:ResourceItemStatusDetails) не заполнен, значение реквизита "Номер заявления о регистрации лекарственного препарата" (hcsdo:ApplicationId) совпадает с переданными в сообщении, а значение реквизита "Начальная дата и время" (csdo:StartDateTime) в составе сложного реквизита "Технологические характеристики записи общего ресурса" (ccdo:ResourceItemStatusDetails) раньше чем в сообщении
2соответствуют требованиям 2 - 60 таблицы 47 настоящего Регламента

61. Требования к заполнению реквизитов электронных документов (сведений) "Сведения о рассмотрении заявления и (или) регистрационного досье" (R.HC.MM.01.006), передаваемых в сообщении "Сведения для исключения из единой базы данных" (P.MM.01.MSG.036), приведены в таблице 49.

Таблица 49

Требования к заполнению реквизитов электронных документов (сведений) "Сведения о рассмотрении заявления и (или) регистрационного досье" (R.HC.MM.01.006), передаваемых в сообщении "Сведения для исключения из единой базы данных" (P.MM.01.MSG.036)

Код требованияФормулировка требования
1в единой базе данных должна содержаться запись, в которой реквизит "Конечная дата и время" (csdo:EndDateTime) в составе сложного реквизита "Технологические характеристики записи общего ресурса" (ccdo:ResourceItemStatusDetails) не заполнен, значение реквизита "Номер заявления о регистрации лекарственного препарата" (hcsdo:ApplicationId) совпадает с переданными в сообщении, а значение реквизита "Начальная дата и время" (csdo:StartDateTime) в составе сложного реквизита "Технологические характеристики записи общего ресурса" (ccdo:ResourceItemStatusDetails) раньше чем в сообщении
2должен быть заполнен реквизит "Номер заявления о регистрации лекарственного препарата" (hcsdo:ApplicationId)
3не заполняется реквизит "Дата" (csdo:EventDate)
4не заполняется реквизит "Код вида документа регистрационного досье на лекарственный препарат" (hcsdo:DrugRegistrationDocCode)
5не заполняется реквизит "Порядковый номер регистрационного удостоверения лекарственного препарата" (hcsdo:RegistrationNumberId)
6не заполняется реквизит "Сведения о регистрации" (hccdo:CountryDrugRegistrationDetails)
7не заполняется реквизит "Код вида процедуры регистрации" (hcsdo:RegistrationKindCode)
8не заполняется реквизит "Сведения об этапе рассмотрения заявления на регистрацию лекарственного препарата" (hccdo:ApplicationStatusDetails)
9не заполняется реквизит "Сведения о документе регистрационного досье (дела)" (hccdo:RegistrationDossierDocDetails)
10реквизит "Код причины невозможности рассмотрения заявления" (hcsdo:ApprovalImpossibilityReasonCode) должен быть заполнен и должен соответствовать одному из следующих значений:
01 - выявлены нарушения, связанные с оплатой сбора (пошлины);
02 - выявлены нарушения при проведении проверки полноты и (или) корректности представленных документов;
03 - заявителем не представлены запрошенные документы;
04 - заявителем отозваны документы;
99 - другое

62. Требования к заполнению реквизитов электронных документов (сведений) "Состояние актуализации единого реестра или единой базы данных" (R.HC.MM.01.007), передаваемых в сообщении "Запрос актуальных сведений из единой базы данных" (P.MM.01.MSG.039), приведены в таблице 50.

Таблица 50

Требования к заполнению реквизитов электронных документов (сведений) "Состояние актуализации единого реестра или единой базы данных" (R.HC.MM.01.007), передаваемых в сообщении "Запрос актуальных сведений из единой базы данных" (P.MM.01.MSG.039)

Код требованияФормулировка требования
1реквизит "Код страны" (csdo:UnifiedCountryCode) должен содержать кодовое обозначение государства-члена из классификатора стран мира, указанного в разделе VII Правил информационного взаимодействия, а атрибут "идентификатор справочника (классификатора)" (атрибут codeListId) в его составе должен содержать значение "2021"

63. Требования к заполнению реквизитов электронных документов (сведений) "Состояние актуализации единого реестра или единой базы данных" (R.HC.MM.01.007), передаваемых в сообщении "Запрос измененных сведений из единой базы данных" (P.MM.01.MSG.041), приведены в таблице 51.

Таблица 51

Требования к заполнению реквизитов электронных документов (сведений) "Состояние актуализации единого реестра или единой базы данных" (R.HC.MM.01.007), передаваемых в сообщении "Запрос измененных сведений из единой базы данных" (P.MM.01.MSG.041)

Код требованияФормулировка требования
1реквизит "Дата и время обновления" (csdo:UpdateDateTime) не заполняется
2реквизит "Код страны" (csdo:UnifiedCountryCode) должен содержать кодовое обозначение государства-члена из классификатора стран мира, указанного в разделе VII Правил информационного взаимодействия, а атрибут "идентификатор справочника (классификатора)" (атрибут codeListId) в его составе должен содержать значение "2021"

".

3. Регламент информационного взаимодействия между уполномоченными органами государств - членов Евразийского экономического союза при реализации средствами интегрированной информационной системы Евразийского экономического союза общего процесса "Формирование, ведение и использование единого реестра зарегистрированных лекарственных средств Евразийского экономического союза", утвержденный указанным Решением, изложить в следующей редакции:

"Утвержден

Решением Коллегии

Евразийской экономической комиссии

от 25 октября 2016 г. N 122

(в редакции Решения Коллегии

Евразийской экономической комиссии

от 24 декабря 2025 г. N 140)

РЕГЛАМЕНТ ИНФОРМАЦИОННОГО ВЗАИМОДЕЙСТВИЯ МЕЖДУ УПОЛНОМОЧЕННЫМИ ОРГАНАМИ ГОСУДАРСТВ - ЧЛЕНОВ ЕВРАЗИЙСКОГО ЭКОНОМИЧЕСКОГО СОЮЗА ПРИ РЕАЛИЗАЦИИ СРЕДСТВАМИ ИНТЕГРИРОВАННОЙ ИНФОРМАЦИОННОЙ СИСТЕМЫ ЕВРАЗИЙСКОГО ЭКОНОМИЧЕСКОГО СОЮЗА ОБЩЕГО ПРОЦЕССА "ФОРМИРОВАНИЕ, ВЕДЕНИЕ И ИСПОЛЬЗОВАНИЕ ЕДИНОГО РЕЕСТРА ЗАРЕГИСТРИРОВАННЫХ ЛЕКАРСТВЕННЫХ СРЕДСТВ ЕВРАЗИЙСКОГО ЭКОНОМИЧЕСКОГО СОЮЗА"

I. Общие положения

1. Настоящий Регламент разработан в соответствии со следующими международными договорами и актами, составляющими право Евразийского экономического союза (далее - Союз):

Договор о Евразийском экономическом союзе от 29 мая 2014 года;

Соглашение о единых принципах и правилах обращения лекарственных средств в рамках Евразийского экономического союза от 23 декабря 2014 года;

Решение Совета Евразийской экономической комиссии от 3 ноября 2016 г. N 78 "О Правилах регистрации и экспертизы лекарственных средств для медицинского применения";

Решение Совета Евразийской экономической комиссии от 3 ноября 2016 г. N 84 "О порядках формирования и ведения единого реестра зарегистрированных лекарственных средств Евразийского экономического союза и информационных баз данных в сфере обращения лекарственных средств";

Решение Коллегии Евразийской экономической комиссии от 6 ноября 2014 г. N 200 "О технологических документах, регламентирующих информационное взаимодействие при реализации средствами интегрированной информационной системы внешней и взаимной торговли общих процессов";

Решение Коллегии Евразийской экономической комиссии от 27 января 2015 г. N 5 "Об утверждении Правил электронного обмена данными в интегрированной информационной системе внешней и взаимной торговли";

Решение Коллегии Евразийской экономической комиссии от 14 апреля 2015 г. N 29 "О перечне общих процессов в рамках Евразийского экономического союза и внесении изменения в Решение Коллегии Евразийской экономической комиссии от 19 августа 2014 г. N 132";

Решение Коллегии Евразийской экономической комиссии от 9 июня 2015 г. N 63 "О Методике анализа, оптимизации, гармонизации и описания общих процессов в рамках Евразийского экономического союза";

Решение Коллегии Евразийской экономической комиссии от 28 сентября 2015 г. N 125 "Об утверждении Положения об обмене электронными документами при трансграничном взаимодействии органов государственной власти государств - членов Евразийского экономического союза между собой и с Евразийской экономической комиссией";

Решение Коллегии Евразийской экономической комиссии от 30 июня 2017 г. N 79 "О Требованиях к электронному виду заявлений и документов регистрационного досье, представляемых при осуществлении регистрации и экспертизы лекарственных препаратов для медицинского применения".

II. Область применения

2. Настоящий Регламент разработан в целях обеспечения единообразного применения участниками общего процесса порядка и условий выполнения транзакций общего процесса "Формирование, ведение и использование единого реестра зарегистрированных лекарственных средств Евразийского экономического союза" (далее - общий процесс).

3. Настоящий Регламент определяет требования к порядку и условиям выполнения операций общего процесса, непосредственно направленных на реализацию информационного взаимодействия между участниками общего процесса.

4. Настоящий Регламент применяется участниками общего процесса при контроле за порядком выполнения процедур и операций в рамках общего процесса, а также при проектировании, разработке и доработке компонентов информационных систем, обеспечивающих реализацию этого общего процесса.

III. Основные понятия

5. Для целей настоящего Регламента используются понятия, которые означают следующее:

"реквизит электронного документа (сведений)" - единица данных электронного документа (сведений), которая в определенном контексте считается неразделимой;

"состояние информационного объекта общего процесса" - свойство, характеризующее информационный объект на определенной стадии его жизненного цикла, изменяющееся при выполнении операций общего процесса.

Понятия "инициатор", "инициирующая операция", "принимающая операция", "респондент", "сообщение общего процесса" и "транзакция общего процесса", используемые в настоящем Регламенте, применяются в значениях, определенных Методикой анализа, оптимизации, гармонизации и описания общих процессов в рамках Евразийского экономического союза, утвержденной Решением Коллегии Евразийской экономической комиссии от 9 июня 2015 г. N 63.

Иные понятия, используемые в настоящем Регламенте, применяются в значениях, определенных в пункте 4 Правил информационного взаимодействия при реализации средствами интегрированной информационной системы Евразийского экономического союза общего процесса "Формирование, ведение и использование единого реестра зарегистрированных лекарственных средств Евразийского экономического союза", утвержденных Решением Коллегии Евразийской экономической комиссии от 25 октября 2016 г. N 122 (далее - Правила информационного взаимодействия).

IV. Основные сведения об информационном взаимодействии в рамках общего процесса

1. Участники информационного взаимодействия

6. Перечень ролей участников информационного взаимодействия в рамках общего процесса приведен в таблице 1.

Таблица 1

Перечень ролей участников информационного взаимодействия

Наименование ролиОписание ролиУчастник, выполняющий роль
123
Отправитель сведенийуведомляет об отмене регистрационного удостоверения лекарственного препаратауполномоченный орган, отменивший регистрационное удостоверение (P.MM.01.ACT.004)
Получатель сведенийполучает уведомление об отмене регистрационного удостоверения лекарственного препаратауполномоченный орган, уведомляемый об отмене регистрационного удостоверения (P.MM.01.ACT.005)
Регистраторнаправляет сведения о заявлении на проведение процедур регистрации лекарственного препарата, направляет уведомление об изменении сведений о регистрации лекарственного препарата, представляет доступ по запросу к документам регистрационного дела или регистрационного досье, получает замечания и предложения в отношении документов регистрационного дела или регистрационного досье, получает сведения решения о признании (непризнании) экспертного отчетауполномоченный орган референтного государства (P.MM.01.ACT.002)
Согласующийполучает сведения о заявлении на проведение процедур регистрации лекарственного препарата, направляет уведомление о невозможности рассмотрения заявления на проведение процедур регистрации лекарственного препарата, получает уведомление об изменении сведений о регистрации лекарственного препарата, получает сведения из регистрационного дела или регистрационного досье по запросу, направляет замечания и предложения в отношении документов регистрационного дела или регистрационного досье, направляет регистратору подтверждение признания (непризнания) экспертного отчетауполномоченный орган государства признания (P.MM.01.ACT.003)

2. Структура информационного взаимодействия

7. Информационное взаимодействие в рамках общего процесса осуществляется между уполномоченными органами государств - членов Союза (далее - уполномоченный орган государства-члена) в соответствии с процедурами общего процесса:

а) информационное взаимодействие при направлении сведений о регистрации лекарственного препарата и рассмотрении сведений о заявлении на проведение процедур регистрации лекарственного препарата;

б) информационное взаимодействие при получении сведений и документов из регистрационного дела или регистрационного досье;

в) информационное взаимодействие при уведомлении об отмене регистрационного удостоверения;

г) информационное взаимодействие при ведении переписки в отношении регистрационного дела или регистрационного досье.

Структура информационного взаимодействия между уполномоченными органами государств-членов представлена на рисунке 1.

Рис. 1. Структура информационного взаимодействия между уполномоченными органами государств-членов

8. Информационное взаимодействие между уполномоченными органами государств-членов реализуется в рамках общего процесса. Структура общего процесса определена в Правилах информационного взаимодействия.

9. Информационное взаимодействие определяет порядок выполнения транзакций общего процесса, каждая из которых представляет собой обмен сообщениями в целях синхронизации состояний информационного объекта общего процесса между участниками общего процесса. Для каждого информационного взаимодействия определены взаимосвязи между операциями и соответствующими таким операциям транзакциями общего процесса.

10. При выполнении транзакции общего процесса инициатор в рамках осуществляемой им операции (инициирующей операции) направляет респонденту сообщение-запрос, в ответ на которое респондент в рамках осуществляемой им операции (принимающей операции) может направить или не направить сообщение-ответ в зависимости от шаблона транзакции общего процесса. Структура данных в составе сообщения должна соответствовать Описанию форматов и структур электронных документов и сведений, используемых для реализации средствами интегрированной информационной системы Евразийского экономического союза общего процесса "Формирование, ведение и использование единого реестра зарегистрированных лекарственных средств Евразийского экономического союза", утвержденному Решением Коллегии Евразийской экономической комиссии от 25 октября 2016 г. N 122 (далее - Описание форматов и структур электронных документов и сведений).

11. Транзакции общего процесса выполняются в соответствии с заданными параметрами транзакций общего процесса, как это определено настоящим Регламентом.

12. В целях выполнения процедур маршрутизации сообщений в условиях, когда одну роль могут исполнять несколько участников общего процесса, при формировании логического адреса участника общего процесса дополнительно указывается идентификатор органа государственной власти государства-члена либо уполномоченной им организации в соответствии с пунктом 52 Правил электронного обмена данными в интегрированной информационной системе внешней и взаимной торговли, утвержденных Решением Коллегии Комиссии от 27 января 2015 г. N 5.

Идентификатор органа государственной власти государства-члена либо уполномоченной им организации указывается в соответствии со справочником, указанным в разделе VII Правил информационного взаимодействия.

V. Информационное взаимодействие в рамках групп процедур

1. Информационное взаимодействие при направлении сведений о регистрации лекарственного препарата и рассмотрении сведений о заявлении на проведение процедур регистрации лекарственного препарата

13. Схема выполнения транзакций общего процесса при направлении сведений о регистрации лекарственного препарата и рассмотрении сведений о заявлении на проведение процедур регистрации лекарственного препарата представлена на рисунке 2. Для каждой процедуры общего процесса в таблице 2 приведена связь между операциями, промежуточными и результирующими состояниями информационных объектов общего процесса и транзакциями общего процесса.

Рис. 2. Схема выполнения транзакций общего процесса при направлении сведений о регистрации лекарственного препарата и рассмотрении сведений о заявлении на проведение процедур регистрации лекарственного препарата

Таблица 2

Перечень транзакций общего процесса при направлении сведений о регистрации лекарственного препарата и рассмотрении сведений о заявлении на проведение процедур регистрации лекарственного препарата

N п/пОперация, выполняемая инициаторомПромежуточное состояние информационного объекта общего процессаОперация, выполняемая респондентомРезультирующее состояние информационного объекта общего процессаТранзакция общего процесса
123456
1Направление сведений о заявлении на проведение процедур регистрации лекарственного препарата (P.MM.01.PRC.004)
1.1Представление сведений о заявлении (P.MM.01.OPR.012).
Получение уведомления о результатах обработки сведений о заявлении (P.MM.01.OPR.014)
заявление (P.MM.01.BEN.002):
сведения представлены
прием и обработка сведений о заявлении (P.MM.01.OPR.013)заявление (P.MM.01.BEN.002):
сведения получены
направление сведений о заявлении на проведение процедур регистрации лекарственного препарата (P.MM.01.TRN.009)
2Уведомление о невозможности рассмотрения заявления на проведение процедур регистрации лекарственного препарата (P.MM.01.PRC.005)
2.1Представление уведомления о возможности рассмотрения заявления (P.MM.01.OPR.015).
Получение уведомления о результатах обработки сведений о возможности рассмотрения заявления (P.MM.01.OPR.017)
заявление (P.MM.01.BEN.002):
уведомление о возможности рассмотрения заявления представлено
прием и обработка уведомления о возможности рассмотрения заявления (P.MM.01.OPR.016)заявление (P.MM.01.BEN.002):
уведомление о возможности рассмотрения заявления получено
уведомление о возможности рассмотрения заявления на проведение процедур регистрации лекарственного препарата (P.MM.01.TRN.010)
3Уведомление об изменении сведений о регистрации лекарственного препарата (P.MM.01.PRC.006)
3.1Направление уведомления об изменении сведений о регистрации лекарственного препарата (P.MM.01.OPR.018)-получение уведомления об изменении сведений о регистрации лекарственного препарата (P.MM.01.OPR.019)сведения регистрационного досье или дела (P.MM.01.BEN.004):
уведомление передано
уведомление об изменении сведений о регистрации лекарственного препарата (P.MM.01.TRN.011)

2. Информационное взаимодействие при получении сведений и документов из регистрационного дела или регистрационного досье

14. Схема выполнения транзакций общего процесса при получении сведений и документов из регистрационного дела или регистрационного досье представлена на рисунке 3. Для каждой процедуры общего процесса в таблице 3 приведена связь между операциями, промежуточными и результирующими состояниями информационных объектов общего процесса и транзакциями общего процесса.

Рис. 3. Схема выполнения транзакций общего процесса при получении сведений и документов из регистрационного дела или регистрационного досье

Таблица 3

Перечень транзакций общего процесса при получении сведений и документов из регистрационного дела или регистрационного досье

N п/пОперация, выполняемая инициаторомПромежуточное состояние информационного объекта общего процессаОперация, выполняемая респондентомРезультирующее состояние информационного объекта общего процессаТранзакция общего процесса
123456
1Получение сведений из регистрационного дела или регистрационного досье (P.MM.01.PRC.012)
1.1Запрос сведений из регистрационного дела или регистрационного досье (P.MM.01.OPR.035).
Прием и обработка сведений из регистрационного дела или регистрационного досье (P.MM.01.OPR.037)
сведения регистрационного досье или дела (P.MM.01.BEN.004):
сведения запрошены
подготовка и представление сведений из регистрационного дела или регистрационного досье (P.MM.01.OPR.036)сведения регистрационного досье или дела (P.MM.01.BEN.004):
сведения не могут быть представлены;
сведения регистрационного досье или дела (P.MM.01.BEN.004): сведения представлены
получение сведений из регистрационного дела или регистрационного досье (P.MM.01.TRN.012)
2Получение документа из регистрационного дела или регистрационного досье (P.MM.01.PRC.022)
2.1Запрос документа из регистрационного дела или регистрационного досье (P.MM.01.OPR.064).
Прием и обработка документа из регистрационного дела или регистрационного досье (P.MM.01.OPR.066)
сведения регистрационного досье или дела (P.MM.01.BEN.004):
сведения запрошены
подготовка и представление документа из регистрационного дела или регистрационного досье (P.MM.01.OPR.065)сведения регистрационного досье или дела (P.MM.01.BEN.004):
сведения не могут быть представлены;
сведения регистрационного досье или дела (P.MM.01.BEN.004): сведения представлены
получение документа из регистрационного дела или регистрационного досье (P.MM.01.TRN.022)

3. Информационное взаимодействие при уведомлении об отмене регистрационного удостоверения

15. Схема выполнения транзакций общего процесса при уведомлении об отмене регистрационного удостоверения представлена на рисунке 4. Для каждой процедуры общего процесса в таблице 4 приведена связь между операциями, промежуточными и результирующими состояниями информационных объектов общего процесса и транзакциями общего процесса.

Рис. 4. Схема выполнения транзакций общего процесса при уведомлении об отмене регистрационного удостоверения

Таблица 4

Перечень транзакций общего процесса при уведомлении об отмене регистрационного удостоверения

N п/пОперация, выполняемая инициаторомПромежуточное состояние информационного объекта общего процессаОперация, выполняемая респондентомРезультирующее состояние информационного объекта общего процессаТранзакция общего процесса
123456
1Направление уведомления об отмене регистрационного удостоверения (P.MM.01.PRC.013)
1.1Направление уведомления об отмене регистрационного удостоверения (P.MM.01.OPR.038)-получение уведомления об отмене регистрационного удостоверения (P.MM.01.OPR.039)сведения регистрационного досье или дела (P.MM.01.BEN.004): уведомление переданонаправление уведомления об отмене регистрационного удостоверения (P.MM.01.TRN.013)

4. Информационное взаимодействие при ведении переписки в отношении регистрационного дела или регистрационного досье

16. Схема выполнения транзакций общего процесса при ведении переписки в отношении регистрационного дела или регистрационного досье представлена на рисунке 5. Для каждой процедуры общего процесса в таблице 5 приведена связь между операциями, промежуточными и результирующими состояниями информационных объектов общего процесса и транзакциями общего процесса.

Рис. 5. Схема выполнения транзакций общего процесса при ведении переписки в отношении регистрационного дела или регистрационного досье

Таблица 5

Перечень транзакций общего процесса при ведении переписки в отношении регистрационного дела или регистрационного досье

N п/пОперация, выполняемая инициаторомПромежуточное состояние информационного объекта общего процессаОперация, выполняемая респондентомРезультирующее состояние информационного объекта общего процессаТранзакция общего процесса
123456
1Направление экспертного отчета (P.MM.01.PRC.014)
1.1Представление сведений экспертного отчета (P.MM.01.OPR.040).
Получение уведомления о результатах обработки сведений экспертного отчета (P.MM.01.OPR.042)
экспертный отчет (P.MM.01.BEN.003):
сведения представлены
прием и обработка сведений экспертного отчета (P.MM.01.OPR.041)экспертный отчет (P.MM.01.BEN.003):
сведения получены
направление экспертного отчета (P.MM.01.TRN.014)
2Направление замечаний в отношении документов регистрационного дела или регистрационного досье (P.MM.01.PRC.015)
2.1Представление сведений о замечаниях в отношении документов регистрационного дела или регистрационного досье (P.MM.01.OPR.043).
Получение уведомления о результатах обработки сведений о замечаниях в отношении документов регистрационного дела или регистрационного досье (P.MM.01.OPR.045)
сведения регистрационного досье или дела (P.MM.01.BEN.004):
замечания представлены
прием и обработка сведений о замечаниях в отношении документов регистрационного дела или регистрационного досье (P.MM.01.OPR.044)сведения регистрационного досье или дела (P.MM.01.BEN.004):
замечания получены
направление замечаний в отношении документов регистрационного дела или регистрационного досье (P.MM.01.TRN.015)
3Направление решения о признании (непризнании) экспертного отчета (P.MM.01.PRC.016)
3.1Представление сведений решения о признании (непризнании) экспертного отчета (P.MM.01.OPR.046).
Получение уведомления о результатах обработки сведений решения о признании (непризнании) экспертного отчета (P.MM.01.OPR.048)
экспертный отчет (P.MM.01.BEN.003):
решение о признании (непризнании) представлено
прием и обработка сведений решения о признании (непризнании) экспертного отчета (P.MM.01.OPR.047)экспертный отчет (P.MM.01.BEN.003):
решение о признании (непризнании) получено
направление решения о признании (непризнании) экспертного отчета (P.MM.01.TRN.016)

VI. Описание сообщений общего процесса

17. Перечень сообщений общего процесса, передаваемых в рамках информационного взаимодействия при реализации общего процесса, приведен в таблице 6. Структура данных в составе сообщения должна соответствовать Описанию форматов и структур электронных документов и сведений. Ссылка на соответствующую структуру в Описании форматов и структур электронных документов и сведений устанавливается по значению графы 3 таблицы 6.

Таблица 6

Перечень сообщений общего процесса

Кодовое обозначениеНаименованиеСтруктура электронного документа (сведений)
123
P.MM.01.MSG.004уведомление о приеме и обработке сведенийуведомление о результате обработки (R.006)
P.MM.01.MSG.009уведомление о невозможности представления сведенийуведомление о результате обработки (R.006)
P.MM.01.MSG.012сведения о заявлении на проведение процедур регистрации лекарственного препаратасведения регистрационного дела или регистрационного досье на лекарственный препарат (R.HC.MM.01.003)
P.MM.01.MSG.016уведомление о возможности рассмотрения заявления на проведение процедур регистрации лекарственного препаратасведения о рассмотрении заявления и (или) регистрационного досье (R.HC.MM.01.006)
P.MM.01.MSG.017уведомление об изменении сведений о регистрации лекарственного препаратасведения о рассмотрении заявления и (или) регистрационного досье (R.HC.MM.01.006)
P.MM.01.MSG.019запрос сведений из регистрационного дела или регистрационного досьесведения регистрационного дела или регистрационного досье на лекарственный препарат (R.HC.MM.01.003)
P.MM.01.MSG.020сведения из регистрационного дела или регистрационного досьесведения регистрационного дела или регистрационного досье на лекарственный препарат (R.HC.MM.01.003)
P.MM.01.MSG.021сведения экспертного отчетасведения регистрационного дела или регистрационного досье на лекарственный препарат (R.HC.MM.01.003)
P.MM.01.MSG.022уведомление об отмене регистрационного удостоверениясведения о рассмотрении заявления и (или) регистрационного досье (R.HC.MM.01.006)
P.MM.01.MSG.023сведения решения о признании (непризнании) экспертного отчетасведения регистрационного дела или регистрационного досье на лекарственный препарат (R.HC.MM.01.003)
P.MM.01.MSG.024сведения о замечаниях в отношении документов регистрационного дела или регистрационного досьесведения регистрационного дела или регистрационного досье на лекарственный препарат (R.HC.MM.01.003)
P.MM.01.MSG.030запрос документа из регистрационного дела или регистрационного досьесведения регистрационного дела или регистрационного досье на лекарственный препарат (R.HC.MM.01.003)
P.MM.01.MSG.031документ из регистрационного дела или регистрационного досьесведения регистрационного дела или регистрационного досье на лекарственный препарат (R.HC.MM.01.003)

VII. Описание транзакций общего процесса

1. Транзакция общего процесса "Направление сведений о заявлении на проведение процедур регистрации лекарственного препарата" (P.MM.01.TRN.009)

18. Транзакция общего процесса "Направление сведений о заявлении на проведение процедур регистрации лекарственного препарата" (P.MM.01.TRN.009) выполняется для передачи инициатором респонденту сведений о заявлении на проведение процедур регистрации лекарственного препарата. Схема выполнения указанной транзакции общего процесса представлена на рисунке 6. Параметры транзакции общего процесса приведены в таблице 7.

Рис. 6. Схема выполнения транзакции общего процесса "Направление сведений о заявлении на проведение процедур регистрации лекарственного препарата" (P.MM.01.TRN.009)

Таблица 7

Описание транзакции общего процесса "Направление сведений о заявлении на проведение процедур регистрации лекарственного препарата" (P.MM.01.TRN.009)

N п/пОбязательный элементОписание
123
1Кодовое обозначениеP.MM.01.TRN.009
2Наименование транзакции общего процессанаправление сведений о заявлении на проведение процедур регистрации лекарственного препарата
3Шаблон транзакции общего процессазапрос/ответ
4Инициирующая рольинициатор
5Инициирующая операциянаправление сведений о заявлении
6Реагирующая рольреспондент
7Принимающая операцияприем и обработка сведений о заявлении
8Результат выполнения транзакции общего процессазаявление (P.MM.01.BEN.002): сведения получены
9Параметры транзакции общего процесса: 
время для подтверждения получения-
время подтверждения принятия в обработку20 мин
время ожидания ответа4 ч
признак авторизациида
количество повторов3
10Сообщения транзакции общего процесса: 
инициирующее сообщениесведения о заявлении на проведение процедур регистрации лекарственного препарата (P.MM.01.MSG.012)
ответное сообщениеуведомление о приеме и обработке сведений (P.MM.01.MSG.004)
11Параметры сообщений транзакции общего процесса: 
признак ЭЦПнет
передача электронного документа с некорректной ЭЦП-

2. Транзакция общего процесса "Уведомление о возможности рассмотрения заявления на проведение процедур регистрации лекарственного препарата" (P.MM.01.TRN.010)

19. Транзакция общего процесса "Уведомление о возможности рассмотрения заявления на проведение процедур регистрации лекарственного препарата" (P.MM.01.TRN.010) выполняется для передачи инициатором респонденту сведений о возможности либо невозможности рассмотрения заявления на проведение процедур регистрации лекарственного препарата. Схема выполнения указанной транзакции общего процесса представлена на рисунке 7. Параметры транзакции общего процесса приведены в таблице 8.

Рис. 7. Схема выполнения транзакции общего процесса "Уведомление о возможности рассмотрения заявления на проведение процедур регистрации лекарственного препарата" (P.MM.01.TRN.010)

Таблица 8

Описание транзакции общего процесса "Уведомление о возможности рассмотрения заявления на проведение процедур регистрации лекарственного препарата" (P.MM.01.TRN.010)

N п/пОбязательный элементОписание
123
1Кодовое обозначениеP.MM.01.TRN.010
2Наименование транзакции общего процессауведомление о возможности рассмотрения заявления на проведение процедур регистрации лекарственного препарата
3Шаблон транзакции общего процессазапрос/ответ
4Инициирующая рольинициатор
5Инициирующая операциянаправление сведений о возможности рассмотрения заявления
6Реагирующая рольреспондент
7Принимающая операцияприем и обработка сведений о возможности рассмотрения заявления
8Результат выполнения транзакции общего процессазаявление (P.MM.01.BEN.002): уведомление о возможности рассмотрения заявления получено
9Параметры транзакции общего процесса: 
время для подтверждения получения-
время подтверждения принятия в обработку20 мин
время ожидания ответа4 ч
признак авторизациида
количество повторов3
10Сообщения транзакции общего процесса: 
инициирующее сообщениеуведомление о возможности рассмотрения заявления на проведение процедур регистрации лекарственного препарата (P.MM.01.MSG.016)
ответное сообщениеуведомление о приеме и обработке сведений (P.MM.01.MSG.004)
11Параметры сообщений транзакции общего процесса: 
признак ЭЦПнет
передача электронного документа с некорректной ЭЦП-

3. Транзакция общего процесса "Уведомление об изменении сведений о регистрации лекарственного препарата" (P.MM.01.TRN.011)

20. Транзакция общего процесса "Уведомление об изменении сведений о регистрации лекарственного препарата" (P.MM.01.TRN.011) выполняется для передачи инициатором респонденту уведомления об изменении сведений о регистрации лекарственного препарата. Схема выполнения указанной транзакции общего процесса представлена на рисунке 8. Параметры транзакции общего процесса приведены в таблице 9.

Рис. 8. Схема выполнения транзакции общего процесса "Уведомление об изменении сведений о регистрации лекарственного препарата" (P.MM.01.TRN.011)

Таблица 9

Описание транзакции общего процесса "Уведомление об изменении сведений о регистрации лекарственного препарата" (P.MM.01.TRN.011)

N п/пОбязательный элементОписание
123
1Кодовое обозначениеP.MM.01.TRN.011
2Наименование транзакции общего процессауведомление об изменении сведений о регистрации лекарственного препарата
3Шаблон транзакции общего процессаоповещение
4Инициирующая рольинициатор
5Инициирующая операциянаправление уведомления об изменении сведений о регистрации лекарственного препарата
6Реагирующая рольреспондент
7Принимающая операцияполучение уведомления об изменении сведений о регистрации лекарственного препарата
8Результат выполнения транзакции общего процессасведения регистрационного досье или дела (P.MM.01.BEN.004): уведомление передано
9Параметры транзакции общего процесса: 
время для подтверждения получения24 ч
время подтверждения принятия в обработку-
время ожидания ответа-
признак авторизациида
количество повторов3
10Сообщения транзакции общего процесса: 
инициирующее сообщениеуведомление об изменении сведений о регистрации лекарственного препарата (P.MM.01.MSG.017)
ответное сообщениенет
11Параметры сообщений транзакции общего процесса: 
признак ЭЦПнет
передача электронного документа с некорректной ЭЦП-

4. Транзакция общего процесса "Получение сведений из регистрационного дела или регистрационного досье" (P.MM.01.TRN.012)

21. Транзакция общего процесса "Получение сведений из регистрационного дела или регистрационного досье" (P.MM.01.TRN.012) выполняется для представления респондентом по запросу инициатора сведений из регистрационного дела или регистрационного досье. Схема выполнения указанной транзакции общего процесса представлена на рисунке 9. Параметры транзакции общего процесса приведены в таблице 10.

Рис. 9. Схема выполнения транзакции общего процесса "Получение сведений из регистрационного дела или регистрационного досье" (P.MM.01.TRN.012)

Таблица 10

Описание транзакции общего процесса "Получение сведений из регистрационного дела или регистрационного досье" (P.MM.01.TRN.012)

N п/пОбязательный элементОписание
123
1Кодовое обозначениеP.MM.01.TRN.012
2Наименование транзакции общего процессаполучение сведений из регистрационного дела или регистрационного досье
3Шаблон транзакции общего процессавзаимные обязательства
4Инициирующая рольинициатор
5Инициирующая операциязапрос и получение сведений из регистрационного дела или регистрационного досье
6Реагирующая рольреспондент
7Принимающая операцияпредставление сведений из регистрационного дела или регистрационного досье
8Результат выполнения транзакции общего процессасведения регистрационного досье или дела (P.MM.01.BEN.004): сведения не могут быть представлены
сведения регистрационного досье или дела (P.MM.01.BEN.004): сведения представлены
9Параметры транзакции общего процесса: 
время для подтверждения получения20 мин
время подтверждения принятия в обработку1 ч
время ожидания ответа4 ч
признак авторизациида
количество повторов3
10Сообщения транзакции общего процесса: 
инициирующее сообщениезапрос сведений из регистрационного дела или регистрационного досье (P.MM.01.MSG.019)
ответное сообщениесведения из регистрационного дела или регистрационного досье (P.MM.01.MSG.020) уведомление о невозможности представления сведений (P.MM.01.MSG.009)
11Параметры сообщений транзакции общего процесса: 
признак ЭЦПнет
передача электронного документа с некорректной ЭЦП-

5. Транзакция общего процесса "Направление уведомления об отмене регистрационного удостоверения" (P.MM.01.TRN.013)

22. Транзакция общего процесса "Направление уведомления об отмене регистрационного удостоверения" (P.MM.01.TRN.013) выполняется для передачи инициатором респонденту уведомления об отмене регистрационного удостоверения лекарственного препарата. Схема выполнения указанной транзакции общего процесса представлена на рисунке 10. Параметры транзакции общего процесса приведены в таблице 11.

Рис. 10. Схема выполнения транзакции общего процесса "Направление уведомления об отмене регистрационного удостоверения" (P.MM.01.TRN.013)

Таблица 11

Описание транзакции общего процесса "Направление уведомления об отмене регистрационного удостоверения" (P.MM.01.TRN.013)

N п/пОбязательный элементОписание
123
1Кодовое обозначениеP.MM.01.TRN.013
2Наименование транзакции общего процессанаправление уведомления об отмене регистрационного удостоверения
3Шаблон транзакции общего процессаоповещение
4Инициирующая рольинициатор
5Инициирующая операциянаправление уведомления об отмене регистрационного удостоверения
6Реагирующая рольреспондент
7Принимающая операцияполучение уведомления об отмене регистрационного удостоверения
8Результат выполнения транзакции общего процессасведения регистрационного досье или дела (P.MM.01.BEN.004): уведомление передано
9Параметры транзакции общего процесса: 
время для подтверждения получения24 ч
время подтверждения принятия в обработку-
время ожидания ответа-
признак авторизациида
количество повторов3
10Сообщения транзакции общего процесса: 
инициирующее сообщениеуведомление об отмене регистрационного удостоверения (P.MM.01.MSG.022)
ответное сообщениенет
11Параметры сообщений транзакции общего процесса: 
признак ЭЦПнет
передача электронного документа с некорректной ЭЦП-

6. Транзакция общего процесса "Направление экспертного отчета" (P.MM.01.TRN.014)

23. Транзакция общего процесса "Направление экспертного отчета" (P.MM.01.TRN.014) выполняется для передачи инициатором респонденту сведений экспертного отчета. Схема выполнения указанной транзакции общего процесса представлена на рисунке 11. Параметры транзакции общего процесса приведены в таблице 12.

Рис. 11. Схема выполнения транзакции общего процесса "Направление экспертного отчета" (P.MM.01.TRN.014)

Таблица 12

Описание транзакции общего процесса "Направление экспертного отчета" (P.MM.01.TRN.014)

N п/пОбязательный элементОписание
123
1Кодовое обозначениеP.MM.01.TRN.014
2Наименование транзакции общего процессанаправление экспертного отчета
3Шаблон транзакции общего процессазапрос/ответ
4Инициирующая рольинициатор
5Инициирующая операциянаправление сведений экспертного отчета
6Реагирующая рольреспондент
7Принимающая операцияприем и обработка сведений экспертного отчета
8Результат выполнения транзакции общего процессаэкспертный отчет (P.MM.01.BEN.003): сведения получены
9Параметры транзакции общего процесса: 
время для подтверждения получения-
время подтверждения принятия в обработку20 мин
время ожидания ответа4 ч
признак авторизациида
количество повторов3
10Сообщения транзакции общего процесса: 
инициирующее сообщениесведения экспертного отчета (P.MM.01.MSG.021)
ответное сообщениеуведомление о приеме и обработке сведений (P.MM.01.MSG.004)
11Параметры сообщений транзакции общего процесса: 
признак ЭЦПнет
передача электронного документа с некорректной ЭЦП-

7. Транзакция общего процесса "Направление замечаний в отношении документов регистрационного дела или регистрационного досье" (P.MM.01.TRN.015)

24. Транзакция общего процесса "Направление замечаний в отношении документов регистрационного дела или регистрационного досье" (P.MM.01.TRN.015) выполняется для передачи инициатором респонденту сведений о замечаниях в отношении экспертного отчета. Схема выполнения указанной транзакции общего процесса представлена на рисунке 12. Параметры транзакции общего процесса приведены в таблице 13.

Рис. 12. Схема выполнения транзакции общего процесса "Направление замечаний в отношении документов регистрационного дела или регистрационного досье" (P.MM.01.TRN.015)

Таблица 13

Описание транзакции общего процесса "Направление замечаний в отношении документов регистрационного дела или регистрационного досье" (P.MM.01.TRN.015)

N п/пОбязательный элементОписание
123
1Кодовое обозначениеP.MM.01.TRN.015
2Наименование транзакции общего процессанаправление замечаний в отношении документов регистрационного дела или регистрационного досье
3Шаблон транзакции общего процессазапрос/ответ
4Инициирующая рольинициатор
5Инициирующая операциянаправление сведений о замечаниях в отношении документов регистрационного дела или регистрационного досье
6Реагирующая рольреспондент
7Принимающая операцияприем и обработка сведений о замечаниях в отношении документов регистрационного дела или регистрационного досье
8Результат выполнения транзакции общего процессасведения регистрационного досье или дела (P.MM.01.BEN.004): замечания получены
9Параметры транзакции общего процесса: 
время для подтверждения получения-
время подтверждения принятия в обработку20 мин
время ожидания ответа4 ч
признак авторизациида
количество повторов3
10Сообщения транзакции общего процесса: 
инициирующее сообщениесведения о замечаниях в отношении документов регистрационного дела или регистрационного досье (P.MM.01.MSG.024)
ответное сообщениеуведомление о приеме и обработке сведений (P.MM.01.MSG.004)
11Параметры сообщений транзакции общего процесса: 
признак ЭЦПнет
передача электронного документа с некорректной ЭЦП-

8. Транзакция общего процесса "Направление решения о признании (непризнании) экспертного отчета" (P.MM.01.TRN.016)

25. Транзакция общего процесса "Направление решения о признании (непризнании) экспертного отчета" (P.MM.01.TRN.016) выполняется для передачи инициатором респонденту сведений решения о признании (непризнании) экспертного отчета. Схема выполнения указанной транзакции общего процесса представлена на рисунке 13. Параметры транзакции общего процесса приведены в таблице 14.

Рис. 13. Схема выполнения транзакции общего процесса "Направление решения о признании (непризнании) экспертного отчета" (P.MM.01.TRN.016)

Таблица 14

Описание транзакции общего процесса "Направление решения о признании (непризнании) экспертного отчета" (P.MM.01.TRN.016)

N п/пОбязательный элементОписание
123
1Кодовое обозначениеP.MM.01.TRN.016
2Наименование транзакции общего процессанаправление решения о признании (непризнании) экспертного отчета
3Шаблон транзакции общего процессазапрос/ответ
4Инициирующая рольинициатор
5Инициирующая операциянаправление сведений решения о признании (непризнании) экспертного отчета
6Реагирующая рольреспондент
7Принимающая операцияприем и обработка сведений решения о признании (непризнании) экспертного отчета
8Результат выполнения транзакции общего процессаэкспертный отчет (P.MM.01.BEN.003): решение о признании (непризнании) получено
9Параметры транзакции общего процесса: 
время для подтверждения получения-
время подтверждения принятия в обработку20 мин
время ожидания ответа4 ч
признак авторизациида
количество повторов3
10Сообщения транзакции общего процесса: 
инициирующее сообщениесведения решения о признании (непризнании) экспертного отчета (P.MM.01.MSG.023)
ответное сообщениеуведомление о приеме и обработке сведений (P.MM.01.MSG.004)
11Параметры сообщений транзакции общего процесса: 
признак ЭЦПнет
передача электронного документа с некорректной ЭЦП-

9. Транзакция общего процесса "Получение документа из регистрационного дела или регистрационного досье" (P.MM.01.TRN.022)

26. Транзакция общего процесса "Получение документа из регистрационного дела или регистрационного досье" (P.MM.01.TRN.022) выполняется для представления респондентом по запросу инициатора документа из регистрационного дела или регистрационного досье. Схема выполнения указанной транзакции общего процесса представлена на рисунке 14. Параметры транзакции общего процесса приведены в таблице 15.

Рис. 14. Схема выполнения транзакции общего процесса "Получение документа из регистрационного дела или регистрационного досье" (P.MM.01.TRN.022)

Таблица 15

Описание транзакции общего процесса "Получение документа из регистрационного дела или регистрационного досье" (P.MM.01.TRN.022)

N п/пОбязательный элементОписание
123
1Кодовое обозначениеP.MM.01.TRN.022
2Наименование транзакции общего процессаполучение документа из регистрационного дела или регистрационного досье
3Шаблон транзакции общего процессавзаимные обязательства
4Инициирующая рольинициатор
5Инициирующая операциязапрос и получение документа из регистрационного дела или регистрационного досье
6Реагирующая рольреспондент
7Принимающая операцияпредставление сведений из регистрационного дела или регистрационного досье
8Результат выполнения транзакции общего процессасведения регистрационного досье или дела (P.MM.01.BEN.004): сведения не могут быть представлены
сведения регистрационного досье или дела (P.MM.01.BEN.004): сведения представлены
9Параметры транзакции общего процесса: 
время для подтверждения получения20 мин
время подтверждения принятия в обработку1 ч
время ожидания ответа4 ч
признак авторизациида
количество повторов3
10Сообщения транзакции общего процесса: 
инициирующее сообщениезапрос документа из регистрационного дела или регистрационного досье (P.MM.01.MSG.030)
ответное сообщениедокумент из регистрационного дела или регистрационного досье (P.MM.01.MSG.031)
уведомление о невозможности представления сведений (P.MM.01.MSG.009)
11Параметры сообщений транзакции общего процесса: 
признак ЭЦПнет
передача электронного документа с некорректной ЭЦП-

VIII. Порядок действий в нештатных ситуациях

27. При информационном взаимодействии в рамках общего процесса вероятны нештатные ситуации, когда обработка данных не может быть произведена в обычном режиме. Нештатные ситуации возникают при технических сбоях, истечении времени ожидания и в иных случаях. Для получения участником общего процесса комментариев о причинах возникновения нештатной ситуации и рекомендаций по ее разрешению предусмотрена возможность направления соответствующего запроса в службу поддержки интегрированной информационной системы Евразийского экономического союза. Общие рекомендации по разрешению нештатной ситуации приведены в таблице 16.

28. Уполномоченный орган государства-члена проводит проверку сообщения, в связи с которым получено уведомление об ошибке, на соответствие Описанию форматов и структур электронных документов и сведений и требованиям к контролю сообщений, указанным в разделе IX настоящего Регламента. В случае если выявлено несоответствие указанным требованиям, уполномоченный орган государства-члена принимает все необходимые меры для устранения выявленной ошибки. В случае если несоответствий не выявлено, уполномоченный орган государства-члена направляет сообщение с описанием этой нештатной ситуации в службу поддержки интегрированной информационной системы Евразийского экономического союза.

Таблица 16

Действия в нештатных ситуациях

Код нештатной ситуацииОписание нештатной ситуацииПричины нештатной ситуацииОписание действий при возникновении нештатной ситуации
1234
P.EXC.002инициатор двусторонней транзакции общего процесса не получил сообщение-ответ после истечения согласованного количества повторовтехнические сбои в транспортной системе или системная ошибка программного обеспечениянеобходимо направить запрос в службу технической поддержки национального сегмента, в котором было сформировано сообщение
P.EXC.004инициатор транзакции общего процесса получил уведомление об ошибкене синхронизированы справочники и классификаторы или не обновлены XML-схемы электронных документов (сведений)инициатору транзакции общего процесса необходимо синхронизировать используемые справочники и классификаторы или обновить XML-схемы электронных документов (сведений).
Если справочники и классификаторы синхронизированы, XML-схемы электронных документов (сведений) обновлены, необходимо направить запрос в службу поддержки принимающего участника

IX. Требования к заполнению электронных документов и сведений

29. Требования к заполнению реквизитов электронных документов (сведений) "Уведомление о результате обработки" (R.006), передаваемых в сообщении "Уведомление о невозможности представления сведений" (P.MM.01.MSG.009), приведены в таблице 17.

Таблица 17

Требования к заполнению реквизитов электронных документов (сведений) "Уведомление о результате обработки" (R.006), передаваемых в сообщении "Уведомление о невозможности представления сведений" (P.MM.01.MSG.009)

Код требованияФормулировка требования
1если уведомление о невозможности представления сведений сформировано в связи с отсутствием сведений, удовлетворяющих параметрам запроса, то реквизит "Код результата обработки" (csdo:ProcessingResultV2Code) должен соответствовать значению "1 - сведения отсутствуют"
2если уведомление о невозможности представления сведений сформировано в связи с превышением запрошенными сведениями допустимого объема, то реквизит "Код результата обработки" (csdo:ProcessingResultV2Code) должен соответствовать значению "8 - сведения не могут быть предоставлены", а реквизит "Описание" (csdo:DescriptionText) должен иметь значение "превышение запрошенными сведениями допустимого объема"
3если уведомление о невозможности представления сведений сформировано в связи с отсутствием у инициатора запроса права получения запрошенных сведений, то реквизит "Код результата обработки" (csdo:ProcessingResultV2Code) должен соответствовать значению "8 - сведения не могут быть предоставлены", а реквизит "Описание" (csdo:DescriptionText) должен иметь значение "отсутствует право получения запрошенных сведений"

30. Требования к заполнению реквизитов электронных документов (сведений) "Сведения регистрационного дела или регистрационного досье на лекарственный препарат" (R.HC.MM.01.003), передаваемых в сообщении "Сведения о заявлении на проведение процедур регистрации лекарственного препарата" (P.MM.01.MSG.012), приведены в таблице 18.

Таблица 18

Требования к заполнению реквизитов электронных документов (сведений) "Сведения регистрационного дела или регистрационного досье на лекарственный препарат" (R.HC.MM.01.003), передаваемых в сообщении "Сведения о заявлении на проведение процедур регистрации лекарственного препарата" (P.MM.01.MSG.012)

Код требованияФормулировка требования
1реквизит "Номер заявления о регистрации лекарственного препарата" (hcsdo:ApplicationId) заполняется обязательно
2должен быть заполнен только один экземпляр реквизита "Сведения о документе регистрационного досье (дела)" (hccdo:RegistrationDossierDocDetails)
3реквизит "Код вида процедуры регистрации" (hcsdo:RegistrationKindCode) должен соответствовать одному из следующих значений:
01 - процедура взаимного признания;
02 - децентрализованная процедура
4реквизит "Код вида документа регистрационного досье на лекарственный препарат" (hcsdo:DrugRegistrationDocCode) должен содержать кодовое обозначение вида документа из классификатора видов документов регистрационного досье лекарственного препарата, указанного в разделе VII Правил информационного взаимодействия, а атрибут "идентификатор справочника (классификатора)" (атрибут codeListId) в составе этого реквизита должен содержать значение "2058". Вид документа должен соответствовать значению "заявление о процедуре регистрации, оформленное в соответствии с приложением N 2 к Правилам регистрации" и может принимать следующие значения:
01002 - заявление о регистрации лекарственного препарата для медицинского применения (приведении регистрационного досье лекарственного препарата в соответствие с требованиями Евразийского экономического союза);
01003 - заявление о внесении изменений в регистрационное досье лекарственного препарата;
01004 - заявление о перерегистрации лекарственного препарата
5должен быть заполнен реквизит "Документ в бинарном формате" (hcsdo:DocCopyBinaryText) или реквизит "XML-документ" (ccdo:AnyDetails)
6реквизит "Код страны" (csdo:UnifiedCountryCode) должен содержать кодовое обозначение государства-члена из классификатора стран мира, указанного в разделе VII Правил информационного взаимодействия, а атрибут "идентификатор справочника (классификатора)" (атрибут codeListId) в его составе должен содержать значение "2021"
7реквизит "Признак принадлежности документа к регистрационному досье" (hcsdo:RegistrationFileIndicator) должен соответствовать значению "1 - документ регистрационного досье"
8должен быть заполнен реквизит "Наименование документа" (csdo:DocName)
9не заполняется реквизит "Код вида документа регистрационного дела на лекарственный препарат" (hcsdo:DrugRegistrationFileCode)
10не заполняется реквизит "Наименование вида документа регистрационного дела на лекарственный препарат" (hcsdo:DrugRegistrationFileName)
11должен быть заполнен реквизит "Дата документа" (csdo:DocCreationDate)
12должен быть заполнен реквизит "Уникальный идентификатор документа" (hcsdo:DocUUId) и его значение должно быть рассчитано в соответствии с алгоритмом, определенном в п. 11 Правил информационного взаимодействия, по dbf-файлу, содержащемся в заполненном реквизите "Документ в бинарном формате" (hcsdo:DocCopyBinaryText), или по xml-файлу, содержащемся в заполненном реквизите "XML-документ" (ccdo:AnyDetails)
13если заполнен реквизит "Документ в бинарном формате" (hcsdo:DocCopyBinaryText), то атрибут "код формата данных" (атрибут mediaTypeCode) в его составе должен содержать значение "pdf"
14если заполнен реквизит "XML-документ" (ccdo:AnyDetails), то он должен содержать не более одного экземпляра элемента "XML-документ"
15не заполняется реквизит "Признак согласования документа" (hcsdo:DocAgreementIndicator)

31. Требования к заполнению реквизитов электронных документов (сведений) "Сведения о рассмотрении заявления и (или) регистрационного досье" (R.HC.MM.01.006), передаваемых в сообщении "Уведомление о возможности рассмотрения заявления на проведение процедур регистрации лекарственного препарата" (P.MM.01.MSG.016), приведены в таблице 19.

Таблица 19

Требования к заполнению реквизитов электронных документов (сведений) "Сведения о рассмотрении заявления и (или) регистрационного досье" (R.HC.MM.01.006), передаваемых в сообщении "Уведомление о возможности рассмотрения заявления на проведение процедур регистрации лекарственного препарата" (P.MM.01.MSG.016)

Код требованияФормулировка требования
1не заполняется реквизит "Сведения о регистрации" (hccdo:CountryDrugRegistrationDetails)
2не заполняется реквизит "Код вида процедуры регистрации" (hcsdo:RegistrationKindCode)
3если реквизит "Код причины невозможности рассмотрения заявления" (hcsdo:ApprovalImpossibilityReasonCode) заполнен, то его значение должно соответствовать одному из следующих значений:
01 - выявлены нарушения, связанные с оплатой сбора (пошлины);
02 - выявлены нарушения при проведении проверки полноты и (или) корректности представленных документов;
03 - заявителем не представлены запрошенные документы;
04 - заявителем отозваны документы;
99 - другое
4не заполняется реквизит "Сведения об этапе рассмотрения заявления на регистрацию лекарственного препарата" (hccdo:ApplicationStatusDetails)
5реквизит "Номер заявления о регистрации лекарственного препарата" (hcsdo:ApplicationId) заполняется обязательно
6должно быть заполнено не более одного экземпляра реквизита "Сведения о документе регистрационного досье (дела)" (hccdo:RegistrationDossierDocDetails)
7если заполнен реквизит "Сведения о документе регистрационного досье (дела)" (hccdo:RegistrationDossierDocDetails), то в его составе реквизит "Признак принадлежности документа к регистрационному досье" (hcsdo:RegistrationFileIndicator) должен соответствовать значению "0 - документ регистрационного дела"
8если заполнен реквизит "Сведения о документе регистрационного досье (дела)" (hccdo:RegistrationDossierDocDetails), то в его составе должен быть заполнен реквизит "Наименование документа" (csdo:DocName)
9если заполнен реквизит "Сведения о документе регистрационного досье (дела)" (hccdo:RegistrationDossierDocDetails), то в его составе не заполняются реквизиты "Код вида документа регистрационного досье на лекарственный препарат" (hcsdo:DrugRegistrationDocCode) и "Наименование вида документа регистрационного досье на лекарственный препарат" (hcsdo:DrugRegistrationDocName)
10если заполнен реквизит "Сведения о документе регистрационного досье (дела)" (hccdo:RegistrationDossierDocDetails), то в его составе реквизит "Код вида документа регистрационного дела на лекарственный препарат" (hcsdo:DrugRegistrationFileCode) должен содержать кодовое обозначение вида документа из классификатора видов документов регистрационного дела лекарственного препарата, указанного в разделе VII Правил информационного взаимодействия, а атрибут "идентификатор справочника (классификатора)" (атрибут codeListId) в составе этого реквизита должен содержать значение "2040"
11если заполнен реквизит "Сведения о документе регистрационного досье (дела)" (hccdo:RegistrationDossierDocDetails), то в его составе должен быть заполнен реквизит "Документ в бинарном формате" (hcsdo:DocCopyBinaryText), а атрибут "код формата данных" (атрибут mediaTypeCode) в его составе должен содержать значение "pdf"
12если заполнен реквизит "Сведения о документе регистрационного досье (дела)" (hccdo:RegistrationDossierDocDetails), то в его составе не заполняется реквизит "XML-документ" (ccdo:AnyDetails)
13если заполнен реквизит "Сведения о документе регистрационного досье (дела)" (hccdo:RegistrationDossierDocDetails), то в его составе должен быть заполнен реквизит "Уникальный идентификатор документа" (hcsdo:DocUUId) и его значение должно быть рассчитано по dbf-файлу, содержащемся в реквизите "Документ в бинарном формате" (hcsdo:DocCopyBinaryText), в соответствии с алгоритмом, определенном в п. 11 Правил информационного взаимодействия
14не заполняется реквизит "Дата" (csdo:EventDate)
15не заполняется реквизит "Код вида документа регистрационного досье на лекарственный препарат" (hcsdo:DrugRegistrationDocCode)
16не заполняется реквизит "Сведения о наименовании лекарственного препарата (средства)" (hccdo:DrugNameDetails)
17не заполняется реквизит "Сведения о лекарственной форме" (hccdo:DosageFormDetails)
18не заполняется реквизит "Сведения о производителе" (hccdo:ManufacturingAuthorizationHolderDetails)
19не заполняется реквизит "Сведения о держателе (заявителе) регистрационного удостоверения" (hccdo:RegistrationCertificateHolderDetails)
20не заполняется реквизит "Технологические характеристики записи общего ресурса" (ccdo:ResourceItemStatusDetails)

32. Требования к заполнению реквизитов электронных документов (сведений) "Сведения о рассмотрении заявления и (или) регистрационного досье" (R.HC.MM.01.006), передаваемых в сообщении "Уведомление об изменении сведений о регистрации лекарственного препарата" (P.MM.01.MSG.017), приведены в таблице 20.

Таблица 20

Требования к заполнению реквизитов электронных документов (сведений) "Сведения о рассмотрении заявления и (или) регистрационного досье" (R.HC.MM.01.006), передаваемых в сообщении "Уведомление об изменении сведений о регистрации лекарственного препарата" (P.MM.01.MSG.017)

Код требованияФормулировка требования
1реквизит "Номер заявления о регистрации лекарственного препарата" (hcsdo:ApplicationId) заполняется обязательно
2не заполняется реквизит "Код причины невозможности рассмотрения заявления" (hcsdo:ApprovalImpossibilityReasonCode)
3не заполняется реквизит "Дата" (csdo:EventDate)
4не заполняется реквизит "Код вида документа регистрационного досье на лекарственный препарат" (hcsdo:DrugRegistrationDocCode)
5не заполняется реквизит "Сведения о наименовании лекарственного препарата (средства)" (hccdo:DrugNameDetails)
6не заполняется реквизит "Сведения о лекарственной форме" (hccdo:DosageFormDetails)
7не заполняется реквизит "Сведения о производителе" (hccdo:ManufacturingAuthorizationHolderDetails)
8не заполняется реквизит "Сведения о держателе (заявителе) регистрационного удостоверения" (hccdo:RegistrationCertificateHolderDetails)
9не заполняется реквизит "Технологические характеристики записи общего ресурса" (ccdo:ResourceItemStatusDetails)

33. Требования к заполнению реквизитов электронных документов (сведений) "Сведения регистрационного дела или регистрационного досье на лекарственный препарат" (R.HC.MM.01.003), передаваемых в сообщении "Запрос сведений из регистрационного дела или регистрационного досье" (P.MM.01.MSG.019), приведены в таблице 21.

Таблица 21

Требования к заполнению реквизитов электронных документов (сведений) "Сведения регистрационного дела или регистрационного досье на лекарственный препарат" (R.HC.MM.01.003), передаваемых в сообщении "Запрос сведений из регистрационного дела или регистрационного досье" (P.MM.01.MSG.019)

Код требованияФормулировка требования
1должен быть заполнен реквизит "Номер заявления о регистрации лекарственного препарата" (hcsdo:ApplicationId) или реквизит "Порядковый номер регистрационного удостоверения лекарственного препарата" (hcsdo:RegistrationNumberId)
2не заполняется реквизит "Код страны" (csdo:UnifiedCountryCode)
3не заполняется реквизит "Код вида процедуры регистрации" (hcsdo:RegistrationKindCode)
4не заполняется реквизит "Сведения о документе регистрационного досье (дела)" (hccdo:RegistrationDossierDocDetails)
5не заполняется реквизит "Признак согласования документа" (hcsdo:DocAgreementIndicator)

34. Требования к заполнению реквизитов электронных документов (сведений) "Сведения регистрационного дела или регистрационного досье на лекарственный препарат" (R.HC.MM.01.003), передаваемых в сообщении "Сведения из регистрационного дела или регистрационного досье" (P.MM.01.MSG.020), приведены в таблице 22.

Таблица 22

Требования к заполнению реквизитов электронных документов (сведений) "Сведения регистрационного дела или регистрационного досье на лекарственный препарат" (R.HC.MM.01.003), передаваемых в сообщении "Сведения из регистрационного дела или регистрационного досье" (P.MM.01.MSG.020)

Код требованияФормулировка требования
1должен быть заполнен реквизит "Номер заявления о регистрации лекарственного препарата" (hcsdo:ApplicationId) и (или) реквизит "Порядковый номер регистрационного удостоверения лекарственного препарата" (hcsdo:RegistrationNumberId)
2реквизит "Признак принадлежности документа к регистрационному досье" (hcsdo:RegistrationFileIndicator) заполняется обязательно
3не заполняются реквизиты "Документ в бинарном формате" (hcsdo:DocCopyBinaryText) и реквизит "XML-документ" (ccdo:AnyDetails)
4значение атрибута "идентификатор справочника (классификатора)" (атрибут codeListId) в составе реквизита "Код страны" (csdo:UnifiedCountryCode) должно содержать значение "2021"
5если реквизит "Код страны" (csdo:UnifiedCountryCode) заполнен, то его значение должно соответствовать коду государства-члена из классификатора стран мира, указанного в разделе VII Правил информационного взаимодействия
6если реквизит "Описание элемента документа" (hcsdo:DrugAttributeEnumText) заполнен, то в его составе должен быть заполнен атрибут "код вида элемента документа" (атрибут DrugAttributeKindEnumCode) и (или) атрибут "наименование вида элемента документа" (атрибут AttributeKindName)
7если значение атрибута "код вида элемента документа" (атрибут DrugAttributeKindEnumCode) соответствует значению "другое", то атрибут "наименование вида элемента документа" (атрибут AttributeKindName) заполняется обязательно
8если значение реквизита "Признак принадлежности документа к регистрационному досье" (hcsdo:RegistrationFileIndicator) соответствует значению "0 - документ регистрационного дела", то должен быть заполнен реквизит "Код вида документа регистрационного дела на лекарственный препарат" (hcsdo:DrugRegistrationFileCode), не допускается заполнение реквизитов "Код вида документа регистрационного досье на лекарственный препарат" (hcsdo:DrugRegistrationDocCode) и "Наименование вида документа регистрационного досье на лекарственный препарат" (hcsdo:DrugRegistrationDocName)
9реквизит "Наименование вида документа регистрационного дела на лекарственный препарат" (hcsdo:DrugRegistrationFileName) заполняется обязательно, если значение реквизита "Код вида документа регистрационного дела на лекарственный препарат" (hcsdo:DrugRegistrationFileCode) соответствует одному из следующих значений:
0199 - другое;
0299 - другое;
0399 - другое;
0499 - другое
10если значение реквизита "Признак принадлежности документа к регистрационному досье" (hcsdo:RegistrationFileIndicator) соответствует значению "1 - документ регистрационного досье", то должен быть заполнен реквизит "Код вида документа регистрационного досье на лекарственный препарат" (hcsdo:DrugRegistrationDocCode), не допускается заполнение реквизитов "Код вида документа регистрационного дела на лекарственный препарат" (hcsdo:DrugRegistrationFileCode) и "Наименование вида документа регистрационного дела на лекарственный препарат" (hcsdo:DrugRegistrationFileName)
11если значение реквизита "Код вида документа регистрационного досье на лекарственный препарат" (hcsdo:DrugRegistrationDocCode) соответствует значению "99999 - другой документ", то реквизит "Наименование вида документа регистрационного досье на лекарственный препарат" (hcsdo:DrugRegistrationDocName) заполняется обязательно
12если реквизит "Код вида документа регистрационного досье на лекарственный препарат" (hcsdo:DrugRegistrationDocCode) заполнен, то его значение должно соответствовать коду из классификатора видов документов регистрационного досье лекарственного препарата, указанного в разделе VII Правил информационного взаимодействия, а атрибут "идентификатор справочника (классификатора)" (атрибут codeListId) в составе этого реквизита должен содержать значение "2058"
13если атрибут "код вида элемента документа" (атрибут
DrugAttributeKindEnumCode) заполнен, то он должен соответствовать одному из следующих значений:
01 - предельная дата ответа на запрос в соответствии с ISO 8601;
02 - номер документа основания;
03 - вид документа регистрационного досье, в отношении которого направляется запрос;
04 - вид документа регистрационного дела, в отношении которого направляется запрос;
99 - другое
14если реквизит "Код вида документа регистрационного дела на лекарственный препарат" (hcsdo:DrugRegistrationFileCode) заполнен, то его значение должно соответствовать коду из классификатора видов документов регистрационного дела лекарственного препарата, указанного в разделе VII Правил информационного взаимодействия, а атрибут "идентификатор справочника (классификатора)" (атрибут codeListId) в составе этого реквизита должен содержать значение "2040"
15в составе заполненного реквизита "Сведения о документе регистрационного досье (дела)" (hccdo:RegistrationDossierDocDetails) должен быть заполнен реквизит "Уникальный идентификатор документа" (hcsdo:DocUUId)
16должен быть заполнен реквизит "Наименование документа" (csdo:DocName)
17должен быть заполнен реквизит "Дата документа" (csdo:DocCreationDate)
18не заполняется реквизит "Признак согласования документа" (hcsdo:DocAgreementIndicator)
19не заполняется реквизит "Код вида процедуры регистрации" (hcsdo:RegistrationKindCode)

35. Требования к заполнению реквизитов электронных документов (сведений) "Сведения регистрационного дела или регистрационного досье на лекарственный препарат" (R.HC.MM.01.003), передаваемых в сообщении "Сведения экспертного отчета" (P.MM.01.MSG.021), приведены в таблице 23.

Таблица 23

Требования к заполнению реквизитов электронных документов (сведений) "Сведения регистрационного дела или регистрационного досье на лекарственный препарат" (R.HC.MM.01.003), передаваемых в сообщении "Сведения экспертного отчета" (P.MM.01.MSG.021)

Код требованияФормулировка требования
1реквизит "Код вида процедуры регистрации" (hcsdo:RegistrationKindCode) должен соответствовать одному из следующих значений:
01 - процедура взаимного признания;
02 - децентрализованная процедура
2должен быть заполнен только один экземпляр реквизита "Сведения о документе регистрационного досье (дела)" (hccdo:RegistrationDossierDocDetails)
3должен быть заполнен реквизит "Номер заявления о регистрации лекарственного препарата" (hcsdo:ApplicationId)
4реквизит "Код вида документа регистрационного дела на лекарственный препарат" (hcsdo:DrugRegistrationFileCode) должен содержать кодовое обозначение вида документа из классификатора видов документов регистрационного дела лекарственного препарата, указанного в разделе VII Правил информационного взаимодействия, а атрибут "идентификатор справочника (классификатора)" (атрибут codeListId) в составе этого реквизита должен содержать значение "2040". Вид документа должен соответствовать значению "экспертный отчет об оценке безопасности, эффективности и качества" и может иметь значения:
0207 - экспертный отчет об оценке безопасности, эффективности и качества;
0401 - экспертный отчет об оценке безопасности, эффективности и качества
5должен быть заполнен реквизит "Наименование документа" (csdo:DocName)
6не заполняется реквизит "Код вида документа регистрационного досье на лекарственный препарат" (hcsdo:DrugRegistrationDocCode)
7не заполняется реквизит "Наименование вида документа регистрационного досье на лекарственный препарат" (hcsdo:DrugRegistrationDocName)
8должен быть заполнен реквизит "Документ в бинарном формате" (hcsdo:DocCopyBinaryText), а атрибут "код формата данных" (атрибут mediaTypeCode) в его составе должен содержать значение "pdf"
9реквизит "Код страны" (csdo:UnifiedCountryCode) должен содержать кодовое обозначение государства-члена из классификатора стран мира, указанного в разделе VII Правил информационного взаимодействия, а атрибут "идентификатор справочника (классификатора)" (атрибут codeListId) в его составе должен содержать кодовое обозначение "2021"
10должен быть заполнен реквизит "Дата документа" (csdo:DocCreationDate)
11не заполняется реквизит "XML-документ" (ccdo:AnyDetails)
12должен быть заполнен реквизит "Уникальный идентификатор документа" (hcsdo:DocUUId) и его значение должно быть рассчитано по dbf-файлу, содержащемся в реквизите "Документ в бинарном формате" (hcsdo:DocCopyBinaryText), в соответствии с алгоритмом, определенном в п. 11 Правил информационного взаимодействия
13реквизит "Признак принадлежности документа к регистрационному досье" (hcsdo:RegistrationFileIndicator) должен соответствовать значению "0 - документ регистрационного дела"
14не заполняется реквизит "Признак согласования документа" (hcsdo:DocAgreementIndicator)

36. Требования к заполнению реквизитов электронных документов (сведений) "Сведения о рассмотрении заявления и (или) регистрационного досье" (R.HC.MM.01.006), передаваемых в сообщении "Уведомление об отмене регистрационного удостоверения" (P.MM.01.MSG.022), приведены в таблице 24.

Таблица 24

Требования к заполнению реквизитов электронных документов (сведений) "Сведения о рассмотрении заявления и (или) регистрационного досье" (R.HC.MM.01.006), передаваемых в сообщении "Уведомление об отмене регистрационного удостоверения" (P.MM.01.MSG.022)

Код требованияФормулировка требования
1должен быть заполнен реквизит "Порядковый номер регистрационного удостоверения лекарственного препарата" (hcsdo:RegistrationNumberId)
2не заполняется реквизит "Сведения о регистрации" (hccdo:CountryDrugRegistrationDetails)
3не заполняется реквизит "Код вида процедуры регистрации" (hcsdo:RegistrationKindCode)
4должно быть заполнено не более одного экземпляра реквизита "Сведения о документе регистрационного досье (дела)" (hccdo:RegistrationDossierDocDetails)
5если заполнен реквизит "Сведения о документе регистрационного досье (дела)" (hccdo:RegistrationDossierDocDetails), то в его составе реквизит "Признак принадлежности документа к регистрационному досье" (hcsdo:RegistrationFileIndicator) должен соответствовать значению "0 - документ регистрационного дела"
6если заполнен реквизит "Сведения о документе регистрационного досье (дела)" (hccdo:RegistrationDossierDocDetails), то в его составе должен быть заполнен реквизит "Наименование документа" (csdo:DocName)
7если заполнен реквизит "Сведения о документе регистрационного досье (дела)" (hccdo:RegistrationDossierDocDetails), то в его составе не заполняются реквизиты "Код вида документа регистрационного досье на лекарственный препарат" (hcsdo:DrugRegistrationDocCode и "Наименование вида документа регистрационного досье на лекарственный препарат" (hcsdo:DrugRegistrationDocName)
8если заполнен реквизит "Сведения о документе регистрационного досье (дела)" (hccdo:RegistrationDossierDocDetails), то в его составе реквизит "Код вида документа регистрационного дела на лекарственный препарат" (hcsdo:DrugRegistrationFileCode) должен содержать кодовое обозначение вида документа из классификатора видов документов регистрационного дела лекарственного препарата, указанного в разделе VII Правил информационного взаимодействия, а атрибут "идентификатор справочника (классификатора)" (атрибут codeListId) в составе этого реквизита должен содержать значение "2040"
9если заполнен реквизит "Сведения о документе регистрационного досье (дела)" (hccdo:RegistrationDossierDocDetails), то в его составе должен быть заполнен реквизит "Документ в бинарном формате" (hcsdo:DocCopyBinaryText), а атрибут "код формата данных" (атрибут mediaTypeCode) в его составе должен содержать значение "pdf"
10если заполнен реквизит "Сведения о документе регистрационного досье (дела)" (hccdo:RegistrationDossierDocDetails), то в его составе не заполняется реквизит "XML-документ" (ccdo:AnyDetails)
11если заполнен реквизит "Сведения о документе регистрационного досье (дела)" (hccdo:RegistrationDossierDocDetails), то в его составе должен быть заполнен реквизит "Уникальный идентификатор документа" (hcsdo:DocUUId) и его значение должно быть рассчитано по dbf-файлу, содержащемся в реквизите "Документ в бинарном формате" (hcsdo:DocCopyBinaryText), в соответствии с алгоритмом, определенном в п. 11 Правил информационного взаимодействия
12не заполняется реквизит "Сведения об этапе рассмотрения заявления на регистрацию лекарственного препарата" (hccdo:ApplicationStatusDetails)
13не заполняется реквизит "Код причины невозможности рассмотрения заявления" (hcsdo:ApprovalImpossibilityReasonCode)
14не заполняется реквизит "Дата" (csdo:EventDate)
15не заполняется реквизит "Код вида документа регистрационного досье на лекарственный препарат" (hcsdo:DrugRegistrationDocCode)
16не заполняется реквизит "Сведения о наименовании лекарственного препарата (средства)" (hccdo:DrugNameDetails)
17не заполняется реквизит "Сведения о лекарственной форме" (hccdo:DosageFormDetails)
18не заполняется реквизит "Сведения о производителе" (hccdo:ManufacturingAuthorizationHolderDetails)
19не заполняется реквизит "Сведения о держателе (заявителе) регистрационного удостоверения" (hccdo:RegistrationCertificateHolderDetails)
20не заполняется реквизит "Технологические характеристики записи общего ресурса" (ccdo:ResourceItemStatusDetails)

37. Требования к заполнению реквизитов электронных документов (сведений) "Сведения регистрационного дела или регистрационного досье на лекарственный препарат" (R.HC.MM.01.003), передаваемых в сообщении "Сведения решения о признании (непризнании) экспертного отчета" (P.MM.01.MSG.023), приведены в таблице 25.

Таблица 25

Требования к заполнению реквизитов электронных документов (сведений) "Сведения регистрационного дела или регистрационного досье на лекарственный препарат" (R.HC.MM.01.003), передаваемых в сообщении "Сведения решения о признании (непризнании) экспертного отчета" (P.MM.01.MSG.023)

Код требованияФормулировка требования
1значение реквизита "Код вида документа регистрационного дела на лекарственный препарат" (hcsdo:DrugRegistrationFileCode) должно соответствовать значению "0407 - подтверждение согласования (не согласования) экспертного отчета референтного государства по результатам экспертизы безопасности, эффективности и качества медицинских изделий" из классификатора видов документов регистрационного дела лекарственного препарата, указанного в разделе VII Правил информационного взаимодействия, а атрибут "идентификатор справочника (классификатора)" (атрибут codeListId) в составе этого реквизита должен содержать значение "2040"
2реквизит "Номер заявления о регистрации лекарственного препарата" (hcsdo:ApplicationId) заполняется обязательно
3реквизит "Признак согласования документа" (hcsdo:DocAgreementIndicator) заполняется обязательно
4должен быть заполнен реквизит "Наименование документа" (csdo:DocName)
5должен быть заполнен реквизит "Дата документа" (csdo:DocCreationDate)
6должен быть заполнен реквизит "Документ в бинарном формате" (hcsdo:DocCopyBinaryText), а атрибут "код формата данных" (атрибут mediaTypeCode) в его составе должен содержать значение "pdf"
7реквизит "Код страны" (csdo:UnifiedCountryCode) должен быть заполнен, а значение атрибута "идентификатор справочника (классификатора)" (атрибут codeListId) в его составе должно содержать кодовое обозначение "2021"
8значение реквизита "Код страны" (csdo:UnifiedCountryCode) должно соответствовать коду государства-члена из классификатора стран мира, указанного в разделе VII Правил информационного взаимодействия
9должен быть заполнен реквизит "Уникальный идентификатор документа" (hcsdo:DocUUId) и его значение должно быть рассчитано по dbf-файлу, содержащемся в реквизите "Документ в бинарном формате" (hcsdo:DocCopyBinaryText), в соответствии с алгоритмом, определенном в п. 11 Правил информационного взаимодействия
10реквизит "XML-документ" (ccdo:AnyDetails) не заполняется
11не заполняется реквизит "Код вида процедуры регистрации" (hcsdo:RegistrationKindCode)

38. Требования к заполнению реквизитов электронных документов (сведений) "Сведения регистрационного дела или регистрационного досье на лекарственный препарат" (R.HC.MM.01.003), передаваемых в сообщении "Сведения о замечаниях в отношении документов регистрационного дела или регистрационного досье" (P.MM.01.MSG.024), приведены в таблице 26.

Таблица 26

Требования к заполнению реквизитов электронных документов (сведений) "Сведения регистрационного дела или регистрационного досье на лекарственный препарат" (R.HC.MM.01.003), передаваемых в сообщении "Сведения о замечаниях в отношении документов регистрационного дела или регистрационного досье" (P.MM.01.MSG.024)

Код требованияФормулировка требования
1должен быть заполнен реквизит "Уникальный идентификатор документа" (hcsdo:DocUUId) и его значение должно быть рассчитано по dbf-файлу, содержащемся в реквизите "Документ в бинарном формате" (hcsdo:DocCopyBinaryText), в соответствии с алгоритмом, определенном в п. 11 Правил информационного взаимодействия
2реквизит "Номер заявления о регистрации лекарственного препарата" (hcsdo:ApplicationId) должен быть заполнен
3должен быть заполнен реквизит "Документ в бинарном формате" (hcsdo:DocCopyBinaryText), а атрибут "код формата данных" (атрибут mediaTypeCode) в его составе должен содержать значение "pdf"
4реквизит "Код страны" (csdo:UnifiedCountryCode) должен быть заполнен, а значение атрибута "идентификатор справочника (классификатора)" (атрибут codeListId) в его составе должно содержать кодовое обозначение "2021"
5реквизит "Код страны" (csdo:UnifiedCountryCode) должен быть заполнен, и его значение должно соответствовать коду государства-члена из классификатора стран мира, указанного в разделе VII Правил информационного взаимодействия
6должен быть заполнен реквизит "Наименование документа" (csdo:DocName)
7должен быть заполнен реквизит "Дата документа" (csdo:DocCreationDate)
8реквизит "Код вида документа регистрационного дела на лекарственный препарат" (hcsdo:DrugRegistrationFileCode) должен содержать код из классификатора видов документов регистрационного дела лекарственного препарата, указанного в разделе VII Правил информационного взаимодействия, а атрибут "идентификатор справочника (классификатора)" (атрибут codeListId) в составе этого реквизита должен содержать значение "2040"
9реквизит "Наименование вида документа регистрационного дела на лекарственный препарат" (hcsdo:DrugRegistrationFileName) заполняется обязательно, если значение реквизита "Код вида документа регистрационного дела на лекарственный препарат" (hcsdo:DrugRegistrationFileCode) соответствует одному из следующих значений:
0199 - другое;
0299 - другое;
0399 - другое;
0499 - другое
10реквизит "Код вида документа регистрационного дела на лекарственный препарат" (hcsdo:DrugRegistrationFileCode) может принимать следующие значения:
0101 - запрос о предоставлении недостающей дополнительной информации, необходимых разъяснений или уточнений документов и данных, представленных в регистрационном досье лекарственного препарата;
0102 - запрос государства признания в отношении документов регистрационного досье лекарственного препарата;
0103 - замечания к регистрационному досье лекарственного препарата от государства признания;
0104 - ответ на запрос о предоставлении недостающей дополнительной информации, необходимых разъяснений или уточнений документов и данных, представленных в регистрационном досье лекарственного препарата;
0105 - запрос о предоставлении копии мастер-файла системы фармаконадзора;
0106 - ответ заявителя на запрос государства признания в отношении документов регистрационного досье лекарственного препарата;
0107 - ответ заявителя на замечания от государства признания;
0199 - другое;
0299 - другое;
0399 - другое;
0403 - запрос уполномоченного органа (экспертной организации) государства признания, направленный в уполномоченный орган референтного государства;
0405 - замечания государства признания в отношении заключительного экспертного отчета по качеству;
0406 - предложение уполномоченного органа (экспертной организации) государства признания в отношении заключительного экспертного отчета по качеству, направленное в уполномоченный орган референтного государства;
0499 - другое
11реквизит "XML-документ" (ccdo:AnyDetails) не заполняется
12не заполняется реквизит "Признак согласования документа" (hcsdo:DocAgreementIndicator)
13не заполняется реквизит "Код вида процедуры регистрации" (hcsdo:RegistrationKindCode)

39. Требования к заполнению реквизитов электронных документов (сведений) "Сведения регистрационного дела или регистрационного досье на лекарственный препарат" (R.HC.MM.01.003), передаваемых в сообщении "Запрос документа из регистрационного дела или регистрационного досье" (P.MM.01.MSG.030), приведены в таблице 27.

Таблица 27

Требования к заполнению реквизитов электронных документов (сведений) "Сведения регистрационного дела или регистрационного досье на лекарственный препарат" (R.HC.MM.01.003), передаваемых в сообщении "Запрос документа из регистрационного дела или регистрационного досье" (P.MM.01.MSG.030)

Код требованияФормулировка требования
1должен быть заполнен только один экземпляр реквизита "Сведения о документе регистрационного досье (дела)" (hccdo:RegistrationDossierDocDetails)
2в составе реквизита "Сведения о документе регистрационного досье (дела)" (hccdo:RegistrationDossierDocDetails) должен быть заполнен только реквизит "Уникальный идентификатор документа" (hcsdo:DocUUId)
3не заполняется реквизит "Код страны" (csdo:UnifiedCountryCode)
4не заполняется реквизит "Признак согласования документа" (hcsdo:DocAgreementIndicator)
5должен быть заполнен реквизит "Номер заявления о регистрации лекарственного препарата" (hcsdo:ApplicationId) и (или) реквизит "Порядковый номер регистрационного удостоверения лекарственного препарата" (hcsdo:RegistrationNumberId)
6не заполняется реквизит "Код вида процедуры регистрации" (hcsdo:RegistrationKindCode)

40. Требования к заполнению реквизитов электронных документов (сведений) "Сведения регистрационного дела или регистрационного досье на лекарственный препарат" (R.HC.MM.01.003), передаваемых в сообщении "Документ из регистрационного дела или регистрационного досье" (P.MM.01.MSG.031), приведены в таблице 28.

Таблица 28

Требования к заполнению реквизитов электронных документов (сведений) "Сведения регистрационного дела или регистрационного досье на лекарственный препарат" (R.HC.MM.01.003), передаваемых в сообщении "Документ из регистрационного дела или регистрационного досье" (P.MM.01.MSG.031)

Код требованияФормулировка требования
1должен быть заполнен только один экземпляр реквизита "Сведения о документе регистрационного досье (дела)" (hccdo:RegistrationDossierDocDetails)
2должен быть заполнен реквизит "Документ в бинарном формате" (hcsdo:DocCopyBinaryText) или реквизит "XML-документ" (ccdo:AnyDetails)
3должен быть заполнен реквизит "Уникальный идентификатор документа" (hcsdo:DocUUId) и его значение должно быть рассчитано в соответствии с алгоритмом, определенном в п. 11 Правил информационного взаимодействия, по dbf-файлу, содержащемся в заполненном реквизите "Документ в бинарном формате" (hcsdo:DocCopyBinaryText), или по xml-файлу, содержащемся в заполненном реквизите "XML-документ" (ccdo:AnyDetails)
4реквизит "Код страны" (csdo:UnifiedCountryCode) должен содержать кодовое обозначение государства-члена из классификатора стран мира, указанного в разделе VII Правил информационного взаимодействия, а атрибут "идентификатор справочника (классификатора)" (атрибут codeListId) в его составе должен содержать значение "2021"
5должен быть заполнен реквизит "Номер заявления о регистрации лекарственного препарата" (hcsdo:ApplicationId) и (или) реквизит "Порядковый номер регистрационного удостоверения лекарственного препарата" (hcsdo:RegistrationNumberId)
6не заполняется реквизит "Код вида процедуры регистрации" (hcsdo:RegistrationKindCode)
7должен быть заполнен реквизит "Наименование документа" (csdo:DocName)
8должен быть заполнен реквизит "Дата документа" (csdo:DocCreationDate)
9должен быть заполнен реквизит "Признак принадлежности документа к регистрационному досье" (hcsdo:RegistrationFileIndicator)
10если значение реквизита "Признак принадлежности документа к регистрационному досье" (hcsdo:RegistrationFileIndicator) соответствует значению "1 - документ регистрационного досье", то должен быть заполнен реквизит "Код вида документа регистрационного досье на лекарственный препарат" (hcsdo:DrugRegistrationDocCode), не допускается заполнение реквизитов "Код вида документа регистрационного дела на лекарственный препарат" (hcsdo:DrugRegistrationFileCode) и "Наименование вида документа регистрационного дела на лекарственный препарат" (hcsdo:DrugRegistrationFileName)
11если значение реквизита "Признак принадлежности документа к регистрационному досье" (hcsdo:RegistrationFileIndicator) соответствует значению "0 - документ регистрационного дела", то должен быть заполнен реквизит "Код вида документа регистрационного дела на лекарственный препарат" (hcsdo:DrugRegistrationFileCode), не допускается заполнение реквизитов "Код вида документа регистрационного досье на лекарственный препарат" (hcsdo:DrugRegistrationDocCode) и "Наименование вида документа регистрационного досье на лекарственный препарат" (hcsdo:DrugRegistrationDocName)
12если реквизит "Код вида документа регистрационного досье на лекарственный препарат" (hcsdo:DrugRegistrationDocCode) заполнен, то его значение должно соответствовать коду из классификатора видов документов регистрационного досье лекарственного препарата, указанного в разделе VII Правил информационного взаимодействия, а атрибут "идентификатор справочника (классификатора)" (атрибут codeListId) в составе этого реквизита должен содержать значение "2058"
13если реквизит "Код вида документа регистрационного дела на лекарственный препарат" (hcsdo:DrugRegistrationFileCode) заполнен, то его значение должно соответствовать коду из классификатора видов документов регистрационного дела лекарственного препарата, указанного в разделе VII Правил информационного взаимодействия, а атрибут "идентификатор справочника (классификатора)" (атрибут codeListId) в составе этого реквизита должен содержать значение "2040"
14если значение реквизита "Код вида документа регистрационного досье на лекарственный препарат" (hcsdo:DrugRegistrationDocCode) соответствует значению "99999 - другой документ", то реквизит "Наименование вида документа регистрационного досье на лекарственный препарат" (hcsdo:DrugRegistrationDocName) заполняется обязательно
15реквизит "Наименование вида документа регистрационного дела на лекарственный препарат" (hcsdo:DrugRegistrationFileName) заполняется обязательно, если значение реквизита "Код вида документа регистрационного дела на лекарственный препарат" (hcsdo:DrugRegistrationFileCode) соответствует одному из следующих значений:
0199 - другое;
0299 - другое;
0399 - другое;
0499 - другое
16если реквизит "Описание элемента документа" (hcsdo:DrugAttributeEnumText) заполнен, то в его составе атрибут "код вида элемента документа" (атрибут DrugAttributeKindEnumCode) должен соответствовать одному из следующих значений:
01 - предельная дата ответа на запрос в соответствии с ISO 8601;
02 - номер документа основания;
03 - вид документа регистрационного досье, в отношении которого направляется запрос;
04 - вид документа регистрационного дела, в отношении которого направляется запрос;
99 - другое
17если значение атрибута "код вида элемента документа" (атрибут DrugAttributeKindEnumCode) соответствует значению "99 - другое", то атрибут "наименование вида элемента документа" (атрибут AttributeKindName) заполняется обязательно
18если заполнен реквизит "Документ в бинарном формате" (hcsdo:DocCopyBinaryText), то атрибут "код формата данных" (атрибут mediaTypeCode) в его составе должен содержать значение "pdf"
19если заполнен реквизит "XML-документ" (ccdo:AnyDetails), то он должен содержать не более одного экземпляра элемента "XML-документ"
20не заполняется реквизит "Признак согласования документа" (hcsdo:DocAgreementIndicator)

".

4. Описание форматов и структур электронных документов и сведений, используемых для реализации средствами интегрированной информационной системы Евразийского экономического союза общего процесса "Формирование, ведение и использование единого реестра зарегистрированных лекарственных средств Евразийского экономического союза", утвержденное указанным Решением, изложить в следующей редакции:

"Утверждено

Решением Коллегии

Евразийской экономической комиссии

от 25 октября 2016 г. N 122

(в редакции Решения Коллегии

Евразийской экономической комиссии

от 24 декабря 2025 г. N 140)

ОПИСАНИЕ ФОРМАТОВ И СТРУКТУР ЭЛЕКТРОННЫХ ДОКУМЕНТОВ И СВЕДЕНИЙ, ИСПОЛЬЗУЕМЫХ ДЛЯ РЕАЛИЗАЦИИ СРЕДСТВАМИ ИНТЕГРИРОВАННОЙ ИНФОРМАЦИОННОЙ СИСТЕМЫ ЕВРАЗИЙСКОГО ЭКОНОМИЧЕСКОГО СОЮЗА ОБЩЕГО ПРОЦЕССА "ФОРМИРОВАНИЕ, ВЕДЕНИЕ И ИСПОЛЬЗОВАНИЕ ЕДИНОГО РЕЕСТРА ЗАРЕГИСТРИРОВАННЫХ ЛЕКАРСТВЕННЫХ СРЕДСТВ ЕВРАЗИЙСКОГО ЭКОНОМИЧЕСКОГО СОЮЗА"

I. Общие положения

1. Настоящее Описание разработано в соответствии со следующими международными договорами и актами, составляющими право Евразийского экономического союза (далее - Союз):

Договор о Евразийском экономическом союзе от 29 мая 2014 года;

Соглашение о единых принципах и правилах обращения лекарственных средств в рамках Евразийского экономического союза от 23 декабря 2014 года;

Решение Совета Евразийской экономической комиссии от 3 ноября 2016 г. N 78 "О Правилах регистрации и экспертизы лекарственных средств для медицинского применения" (далее - Правила регистрации);

Решение Совета Евразийской экономической комиссии от 3 ноября 2016 г. N 84 "О порядках формирования и ведения единого реестра зарегистрированных лекарственных средств Евразийского экономического союза и информационных баз данных в сфере обращения лекарственных средств" (далее - Порядок ведения единого реестра);

Решение Коллегии Евразийской экономической комиссии от 6 ноября 2014 г. N 200 "О технологических документах, регламентирующих информационное взаимодействие при реализации средствами интегрированной информационной системы внешней и взаимной торговли общих процессов";

Решение Коллегии Евразийской экономической комиссии от 27 января 2015 г. N 5 "Об утверждении Правил электронного обмена данными в интегрированной информационной системе внешней и взаимной торговли";

Решение Коллегии Евразийской экономической комиссии от 14 апреля 2015 г. N 29 "О перечне общих процессов в рамках Евразийского экономического союза и внесении изменения в Решение Коллегии Евразийской экономической комиссии от 19 августа 2014 г. N 132";

Решение Коллегии Евразийской экономической комиссии от 9 июня 2015 г. N 63 "О Методике анализа, оптимизации, гармонизации и описания общих процессов в рамках Евразийского экономического союза";

Решение Коллегии Евразийской экономической комиссии от 28 сентября 2015 г. N 125 "Об утверждении Положения об обмене электронными документами при трансграничном взаимодействии органов государственной власти государств - членов Евразийского экономического союза между собой и с Евразийской экономической комиссией";

Решение Коллегии Евразийской экономической комиссии от 30 июня 2017 г. N 79 "О Требованиях к электронному виду заявлений и документов регистрационного досье, представляемых при осуществлении регистрации и экспертизы лекарственных препаратов для медицинского применения".

II. Область применения

2. Настоящее Описание определяет требования к форматам и структурам электронных документов и сведений, используемых при информационном взаимодействии в рамках общего процесса "Формирование, ведение и использование единого реестра зарегистрированных лекарственных средств Евразийского экономического союза" (далее - общий процесс).

3. Настоящее Описание применяется при проектировании, разработке и доработке компонентов информационных систем при реализации процедур общего процесса средствами интегрированной информационной системы Евразийского экономического союза (далее - интегрированная система).

4. Описание форматов и структур электронных документов и сведений приводится в табличной форме с указанием полного реквизитного состава с учетом уровней иерархии вплоть до простых (атомарных) реквизитов.

5. В таблице описывается однозначное соответствие реквизитов электронных документов (сведений) (далее - реквизиты) и элементов модели данных.

6. В таблице формируются следующие поля (графы):

"иерархический номер" - порядковый номер реквизита;

"имя реквизита" - устоявшееся или официальное словесное обозначение реквизита;

"описание реквизита" - текст, поясняющий смысл (семантику) реквизита;

"идентификатор" - идентификатор элемента данных в модели данных, соответствующего реквизиту;

"область значений" - словесное описание возможных значений реквизита;

"мн." - множественность реквизитов: обязательность (опциональность) и количество возможных повторений реквизита.

7. Для указания множественности реквизитов используются следующие обозначения:

1 - реквизит обязателен, повторения не допускаются;

n - реквизит обязателен, должен повторяться n раз (n > 1);

1..* - реквизит обязателен, может повторяться без ограничений;

n..* - реквизит обязателен, должен повторяться не менее n раз (n > 1);

n..m - реквизит обязателен, должен повторяться не менее n раз и не более m раз (n > 1, m > n);

0..1 - реквизит опционален, повторения не допускаются;

0..* - реквизит опционален, может повторяться без ограничений;

0..m - реквизит опционален, может повторяться не более m раз (m > 1).

III. Основные понятия

8. Для целей настоящего Описания используются понятия, которые означают следующее:

"государство-член" - государство, являющееся членом Союза;

"реквизит" - единица данных электронного документа (сведений), которая в определенном контексте считается неразделимой.

Понятия "базисная модель данных", "модель данных", "модель данных предметной области", "предметная область" и "реестр структур электронных документов и сведений" используются в настоящем Описании в значениях, определенных Методикой анализа, оптимизации, гармонизации и описания общих процессов в рамках Евразийского экономического союза, утвержденной Решением Коллегии Евразийской экономической комиссии от 9 июня 2015 г. N 63.

Иные понятия, используемые в настоящем Описании, применяются в значениях, определенных в пункте 4 Правил информационного взаимодействия при реализации средствами интегрированной информационной системы Евразийского экономического союза общего процесса "Формирование, ведение и использование единого реестра зарегистрированных лекарственных средств Евразийского экономического союза", утвержденных Решением Коллегии Евразийской экономической комиссии от 25 октября 2016 г. N 122.

В таблицах 4, 7, 10, 13, 16, 19, 22 настоящего Описания под Регламентами информационного взаимодействия понимаются Регламент информационного взаимодействия между уполномоченными органами государств - членов Евразийского экономического союза при реализации средствами интегрированной информационной системы Евразийского экономического союза общего процесса "Формирование, ведение и использование единого реестра зарегистрированных лекарственных средств Евразийского экономического союза", и Регламент информационного взаимодействия между уполномоченными органами государств - членов Евразийского экономического союза и Евразийской экономической комиссией при реализации средствами интегрированной информационной системы Евразийского экономического союза общего процесса "Формирование, ведение и использование единого реестра зарегистрированных лекарственных средств Евразийского экономического союза", утвержденные Решением Коллегии Евразийской экономической комиссии от 25 октября 2016 г. N 122.

IV. Структуры электронных документов и сведений

9. Перечень структур электронных документов и сведений приведен в таблице 1.

Таблица 1

Перечень структур электронных документов и сведений

N п/пИдентификаторИмяПространство имен
1234
1Структуры электронных документов и сведений в базисной модели
1.1R.006уведомление о результате обработкиurn:EEC:R:ProcessingResultDetails:vY.Y.Y
1.2R.007состояние актуализации общего ресурсаurn:EEC:R:ResourceStatusDetails:vY.Y.Y
2Структуры электронных документов и сведений в предметной области
2.1R.HC.MM.01.001сведения о регистрации лекарственного препаратаurn:EEC:R:HC:MM:01:DrugRegistrationDetails:v1.3.0
2.2R.HC.MM.01.003сведения регистрационного дела или регистрационного досье на лекарственный препаратurn:EEC:R:HC:MM:01:DrugRegistrationDocContentDetails:v1.3.0
2.3R.HC.MM.01.004сведения о номере регистрационного удостоверения на лекарственный препаратurn:EEC:R:HC:MM:01:DrugRegistrationNumberRequestDetails:v1.3.0
2.4R.HC.MM.01.006сведения о рассмотрении заявления и (или) регистрационного досьеurn:EEC:R:HC:MM:01:DrugApprovalApplicationRegistrationDossierDetails:v1.3.0
2.5R.HC.MM.01.007состояние актуализации единого реестраurn:EEC:R:HC:MM:01:DrugRegistrationStatusDetails:v1.3.0

Символы "Y.Y.Y" в пространствах имен структур электронных документов и сведений соответствуют номеру версии структуры электронного документа (сведений), определяемой в соответствии с номером версии базисной модели данных, использованной при разработке в соответствии с настоящим Описанием технической схемы структуры электронного документа (сведений), подлежащей включению в реестр структур электронных документов и сведений, используемых при реализации информационного взаимодействия в интегрированной системе (далее - реестр структур электронных документов и сведений).

1. Структуры электронных документов и сведений в базисной модели

10. Описание структуры электронного документа (сведений) "Уведомление о результате обработки" (R.006) приведено в таблице 2.

Таблица 2

Описание структуры электронного документа (сведений) "Уведомление о результате обработки" (R.006)

N п/пОбозначение элементаОписание
123
1Имяуведомление о результате обработки
2ИдентификаторR.006
3ВерсияY.Y.Y
4Определениесведения о результате обработки запроса респондентом
5Использование-
6Идентификатор пространства именurn:EEC:R:ProcessingResultDetails:vY.Y.Y
7Корневой элемент XML-документаProcessingResultDetails
8Имя файла XML-схемыEEC_R_ProcessingResultDetails_vY.Y.Y.xsd

Символы "Y.Y.Y" в пространствах имен структур электронных документов и сведений соответствуют номеру версии структуры электронного документа (сведений), определяемой в соответствии с номером версии базисной модели данных Союза, использованной при разработке в соответствии с настоящим Описанием технической схемы структуры электронного документа (сведений), подлежащей включению в реестр структур электронных документов и сведений.

11. Импортируемые пространства имен приведены в таблице 3.

Таблица 3

Импортируемые пространства имен

N п/пИдентификатор пространства именПрефикс
123
1urn:EEC:M:ComplexDataObjects:vX.X.Xccdo
2urn:EEC:M:SimpleDataObjects:vX.X.Xcsdo

Символы "X.X.X" в импортируемых пространствах имен соответствуют номеру версии базисной модели данных, использованной при разработке в соответствии с настоящим Описанием технической схемы структуры электронного документа (сведений), подлежащей включению в реестр структур электронных документов и сведений.

12. Реквизитный состав структуры электронного документа (сведений) "Уведомление о результате обработки" (R.006) приведен в таблице 4.

Таблица 4

Реквизитный состав структуры электронного документа (сведений) "Уведомление о результате обработки" (R.006)

Имя реквизитаОписание реквизитаИдентификаторТип данныхМн.
1. Заголовок электронного документа (сведений)
(ccdo:EDocHeader)
совокупность технологических реквизитов электронного документа (сведений)M.CDE.90001ccdo:EDocHeaderType (M.CDT.90001)
Определяется областями значений вложенных элементов
1
 1.1. Код сообщения общего процесса
(csdo:InfEnvelopeCode)
кодовое обозначение сообщения общего процессаM.SDE.90010csdo:InfEnvelopeCodeType (M.SDT.90004)
Значение кода в соответствии с Регламентом информационного взаимодействия.
Шаблон: P\.[A-Z]{2}\.[0-9]{2}\.MSG\.[0-9]{3}
1
 1.2. Код электронного документа (сведений)
(csdo:EDocCode)
кодовое обозначение электронного документа (сведений) в соответствии с реестром структур электронных документов и сведенийM.SDE.90001csdo:EDocCodeType (M.SDT.90001)
Значение кода в соответствии с реестром структур электронных документов и сведений.
Шаблон: R(\.[A-Z]{2}\.[A-Z]{2}\.[0-9]{2})?\.[0-9]{3}
1
 1.3. Идентификатор электронного документа (сведений)
(csdo:EDocId)
строка символов, однозначно идентифицирующая электронный документ (сведения)M.SDE.90007csdo:UniversallyUniqueIdType (M.SDT.90003)
Значение идентификатора в соответствии с ISO/IEC 9834-8.
Шаблон: [0-9a-fA-F]{8}-[0-9a-fA-F]{4}-[0-9a-fA-F]{4}-[0-9a-fA-F]{4}-[0-9a-fA-F]{12}
1
 1.4. Идентификатор исходного электронного документа (сведений)
(csdo:EDocRefId)
идентификатор электронного документа (сведений), в ответ на который был сформирован данный электронный документ (сведения)M.SDE.90008csdo:UniversallyUniqueIdType (M.SDT.90003)
Значение идентификатора в соответствии с ISO/IEC 9834-8.
Шаблон: [0-9a-fA-F]{8}-[0-9a-fA-F]{4}-[0-9a-fA-F]{4}-[0-9a-fA-F]{4}-[0-9a-fA-F]{12}
0..1
 1.5. Дата и время электронного документа (сведений)
(csdo:EDocDateTime)
дата и время создания электронного документа (сведений)M.SDE.90002bdt:DateTimeType (M.BDT.00006)
Обозначение даты и времени в соответствии с серией стандартов ISO 8601
1
 1.6. Код языка
(csdo:LanguageCode)
кодовое обозначение языкаM.SDE.00051csdo:LanguageCodeType (M.SDT.00051)
Двухбуквенный код языка в соответствии с ISO 639-1.
Шаблон: [a-z]{2}
0..1
2. Дата и время
(csdo:EventDateTime)
дата и время окончания обработки сведенийM.SDE.00132bdt:DateTimeType (M.BDT.00006)
Обозначение даты и времени в соответствии с серией стандартов ISO 8601
1
3. Код результата обработки
(csdo:ProcessingResultV2Code)
кодовое обозначение результата обработки полученного электронного документа (сведений) информационной системой участника общего процессаM.SDE.90014csdo:ProcessingResultCodeV2Type (M.SDT.90006)
Значение кода в соответствии со справочником результатов обработки электронных документов и сведений. Мин. длина: 1.
Макс. длина: 20
1
4. Описание
(csdo:DescriptionText)
описание результата обработки сведений в произвольной формеM.SDE.00002csdo:Text4000Type (M.SDT.00088)
Строка символов.
Мин. длина: 1.
Макс. длина: 4000
0..1

13. Описание структуры электронного документа (сведений) "Состояние актуализации общего ресурса" (R.007) приведено в таблице 5.

Таблица 5

Описание структуры электронного документа (сведений) "Состояние актуализации общего ресурса" (R.007)

N п/пОбозначение элементаОписание
123
1Имясостояние актуализации общего ресурса
2ИдентификаторR.007
3ВерсияY.Y.Y
4Определениесведения для актуализации общего ресурса
5Использованиеиспользуется для запроса даты и времени обновления общего ресурса и ответа на этот запрос, а также для запроса актуальных или полных (измененных, обновленных) сведений из общего ресурса
6Идентификатор пространства именurn:EEC:R:ResourceStatusDetails:vY.Y.Y
7Корневой элемент XML-документаResourceStatusDetails
8Имя файла XML-схемыEEC_R_ResourceStatusDetails_vY.Y.Y.xsd

Символы "Y.Y.Y" в пространствах имен структур электронных документов и сведений соответствуют номеру версии структуры электронного документа (сведений), определяемой в соответствии с номером версии базисной модели данных Союза, использованной при разработке в соответствии с настоящим Описанием технической схемы структуры электронного документа (сведений), подлежащей включению в реестр структур электронных документов и сведений.

14. Импортируемые пространства имен приведены в таблице 6.

Таблица 6

Импортируемые пространства имен

N п/пИдентификатор пространства именПрефикс
123
1urn:EEC:M:ComplexDataObjects:vX.X.Xccdo
2urn:EEC:M:SimpleDataObjects:vX.X.Xcsdo

Символы "X.X.X" в импортируемых пространствах имен соответствуют номеру версии базисной модели данных, использованной при разработке в соответствии с настоящим Описанием технической схемы структуры электронного документа (сведений), подлежащей включению в реестр структур электронных документов и сведений.

15. Реквизитный состав структуры электронного документа (сведений) "Состояние актуализации общего ресурса" (R.007) приведен в таблице 7.

Таблица 7

Реквизитный состав структуры электронного документа (сведений) "Состояние актуализации общего ресурса" (R.007)

Имя реквизитаОписание реквизитаИдентификаторТип данныхМн.
1. Заголовок электронного документа (сведений)
(ccdo:EDocHeader)
совокупность технологических реквизитов электронного документа (сведений)M.CDE.90001ccdo:EDocHeaderType (M.CDT.90001)
Определяется областями значений вложенных элементов
1
 1.1. Код сообщения общего процесса
(csdo:InfEnvelopeCode)
кодовое обозначение сообщения общего процессаM.SDE.90010csdo:InfEnvelopeCodeType (M.SDT.90004)
Значение кода в соответствии с Регламентом информационного взаимодействия.
Шаблон: P\.[A-Z]{2}\.[0-9]{2}\.MSG\.[0-9]{3}
1
 1.2. Код электронного документа (сведений)
(csdo:EDocCode)
кодовое обозначение электронного документа (сведений) в соответствии с реестром структур электронных документов и сведенийM.SDE.90001csdo:EDocCodeType (M.SDT.90001)
Значение кода в соответствии с реестром структур электронных документов и сведений.
Шаблон: R(\.[A-Z]{2}\.[A-Z]{2}\.[0-9]{2})?\.[0-9]{3}
1
 1.3. Идентификатор электронного документа (сведений)
(csdo:EDocId)
строка символов, однозначно идентифицирующая электронный документ (сведения)M.SDE.90007csdo:UniversallyUniqueIdType (M.SDT.90003)
Значение идентификатора в соответствии с ISO/IEC 9834-8.
Шаблон: [0-9a-fA-F]{8}-[0-9a-fA-F]{4}-[0-9a-fA-F]{4}-[0-9a-fA-F]{4}-[0-9a-fA-F]{12}
1
 1.4. Идентификатор исходного электронного документа (сведений)
(csdo:EDocRefId)
идентификатор электронного документа (сведений), в ответ на который был сформирован данный электронный документ (сведения)M.SDE.90008csdo:UniversallyUniqueIdType (M.SDT.90003)
Значение идентификатора в соответствии с ISO/IEC 9834-8.
Шаблон: [0-9a-fA-F]{8}-[0-9a-fA-F]{4}-[0-9a-fA-F]{4}-[0-9a-fA-F]{4}-[0-9a-fA-F]{12}
0..1
 1.5. Дата и время электронного документа (сведений)
(csdo:EDocDateTime)
дата и время создания электронного документа (сведений)M.SDE.90002bdt:DateTimeType (M.BDT.00006)
Обозначение даты и времени в соответствии с серией стандартов ISO 8601
1
 1.6. Код языка
(csdo:LanguageCode)
кодовое обозначение языкаM.SDE.00051csdo:LanguageCodeType (M.SDT.00051)
Двухбуквенный код языка в соответствии с ISO 639-1.
Шаблон: [a-z]{2}
0..1
2. Дата и время обновления
(csdo:UpdateDateTime)
дата и время обновления общего ресурса (реестра, перечня, базы данных)M.SDE.00079bdt:DateTimeType (M.BDT.00006)
Обозначение даты и времени в соответствии с серией стандартов ISO 8601
0..1
3. Код страны
(csdo:UnifiedCountryCode)
кодовое обозначение страны, представившей сведения в общий ресурс (реестр, перечень, базу данных)M.SDE.00162csdo:UnifiedCountryCodeType (M.SDT.00112)
Значение двухбуквенного кода страны в соответствии со справочником (классификатором), идентификатор которого определен в атрибуте "Идентификатор справочника (классификатора)".
Шаблон: [A-Z]{2}
0..*
 а) идентификатор справочника (классификатора)
(атрибут codeListId)
обозначение справочника (классификатора), в соответствии с которым указан код-csdo:ReferenceDataIdType (M.SDT.00091)
Нормализованная строка символов.
Мин. длина: 1.
Макс. длина: 20
1
4. Идентификатор информационного объекта общего процесса
(csdo:InformationResourceId)
строка символов, идентифицирующая общий ресурс (реестр, перечень, базу данных)M.SDE.00326csdo:InformationResourceIdType (M.SDT.00330)
Нормализованная строка символов.
Мин. длина: 1.
Макс. длина: 20
0..1

2. Структуры электронных документов и сведений в предметной области

16. Описание структуры электронного документа (сведений) "Сведения о регистрации лекарственного препарата" (R.HC.MM.01.001) приведено в таблице 8.

Таблица 8

Описание структуры электронного документа (сведений) "Сведения о регистрации лекарственного препарата" (R.HC.MM.01.001)

N п/пОбозначение элементаОписание
123
1Имясведения о регистрации лекарственного препарата
2ИдентификаторR.HC.MM.01.001
3Версия1.3.0
4Определениесведения о регистрации лекарственного препарата
5Использование-
6Идентификатор пространства именurn:EEC:R:HC:MM:01:DrugRegistrationDetails:v1.3.0
7Корневой элемент XML-документаDrugRegistrationDetails
8Имя файла XML-схемыEEC_R_HC_MM_01_DrugRegistrationDetails_v1.3.0.xsd

17. Импортируемые пространства имен приведены в таблице 9.

Таблица 9

Импортируемые пространства имен

N п/пИдентификатор пространства именПрефикс
123
1urn:EEC:M:ComplexDataObjects:vX.X.Xccdo
2urn:EEC:M:HC:ComplexDataObjects:vZ.Z.Zhccdo
3urn:EEC:M:HC:SimpleDataObjects:vZ.Z.Zhcsdo
4urn:EEC:M:SimpleDataObjects:vX.X.Xcsdo

Символы "X.X.X" и "Z.Z.Z" в импортируемых пространствах имен соответствуют номеру версии базисной модели данных и модели данных предметной области, использованных при разработке в соответствии с настоящим Описанием технической схемы структуры электронного документа (сведений), подлежащей включению в реестр структур электронных документов и сведений.

18. Реквизитный состав структуры электронного документа (сведений) "Сведения о регистрации лекарственного препарата" (R.HC.MM.01.001) приведен в таблице 10.

Таблица 10

Реквизитный состав структуры электронного документа (сведений) "Сведения о регистрации лекарственного препарата" (R.HC.MM.01.001)

 
Имя реквизитаОписание реквизитаИдентификаторТип данныхМн.
1. Заголовок электронного документа (сведений)
(ccdo:EDocHeader)
совокупность технологических реквизитов электронного документа (сведений)M.CDE.90001ccdo:EDocHeaderType (M.CDT.90001)
Определяется областями значений вложенных элементов
1
 1.1. Код сообщения общего процесса
(csdo:InfEnvelopeCode)
кодовое обозначение сообщения общего процессаM.SDE.90010csdo:InfEnvelopeCodeType (M.SDT.90004)
Значение кода в соответствии с Регламентом информационного взаимодействия.
Шаблон: P\.[A-Z]{2}\.[0-9]{2}\.MSG\.[0-9]{3}
1
 1.2. Код электронного документа (сведений)
(csdo:EDocCode)
кодовое обозначение электронного документа (сведений) в соответствии с реестром структур электронных документов и сведенийM.SDE.90001csdo:EDocCodeType (M.SDT.90001)
Значение кода в соответствии с реестром структур электронных документов и сведений.
Шаблон: R(\.[A-Z]{2}\.[A-Z]{2}\.[0-9]{2})?\.[0-9]{3}
1
 1.3. Идентификатор электронного документа (сведений)
(csdo:EDocId)
строка символов, однозначно идентифицирующая электронный документ (сведения)M.SDE.90007csdo:UniversallyUniqueIdType (M.SDT.90003)
Значение идентификатора в соответствии с ISO/IEC 9834-8.
Шаблон: [0-9a-fA-F]{8}-[0-9a-fA-F]{4}-[0-9a-fA-F]{4}-[0-9a-fA-F]{4}-[0-9a-fA-F]{12}
1
 1.4. Идентификатор исходного электронного документа (сведений)
(csdo:EDocRefId)
идентификатор электронного документа (сведений), в ответ на который был сформирован данный электронный документ (сведения)M.SDE.90008csdo:UniversallyUniqueIdType (M.SDT.90003)
Значение идентификатора в соответствии с ISO/IEC 9834-8.
Шаблон: [0-9a-fA-F]{8}-[0-9a-fA-F]{4}-[0-9a-fA-F]{4}-[0-9a-fA-F]{4}-[0-9a-fA-F]{12}
0..1
 1.5. Дата и время электронного документа (сведений)
(csdo:EDocDateTime)
дата и время создания электронного документа (сведений)M.SDE.90002bdt:DateTimeType (M.BDT.00006)
Обозначение даты и времени в соответствии с серией стандартов ISO 8601
1
 1.6. Код языка
(csdo:LanguageCode)
кодовое обозначение языкаM.SDE.00051csdo:LanguageCodeType (M.SDT.00051)
Двухбуквенный код языка в соответствии с ISO 639-1.
Шаблон: [a-z]{2}
0..1
2. Сведения о регистрации лекарственного препарата
(hccdo:DrugRegistrationDetails)
сведения о регистрации лекарственного препаратаM.HC.CDE.00028hccdo:DrugRegistrationDetailsType (M.HC.CDT.00025)
Определяется областями значений вложенных элементов
1..*
 2.1. Порядковый номер регистрационного удостоверения лекарственного препарата
(hcsdo:RegistrationNumberId)
порядковый номер регистрационного удостоверения лекарственного препаратаM.HC.SDE.00672hcsdo:RegistrationNumberIdType (M.HC.SDT.00629)
Нормализованная строка символов.
Шаблон: \d{6}
0..1
 2.2. Сведения о регистрации лекарственного препарата в государстве-члене
(hccdo:DrugCountryRegistrationDetails)
сведения о регистрации лекарственного препарата в государстве-членеM.HC.CDE.00457hccdo:DrugCountryRegistrationDetailsType (M.HC.CDT.00457)
Определяется областями значений вложенных элементов
1..*
  2.2.1. Код страны
(csdo:UnifiedCountryCode)
кодовое обозначение страны, в которой регистрируется лекарственный препаратM.SDE.00162csdo:UnifiedCountryCodeType (M.SDT.00112)
Значение двухбуквенного кода страны в соответствии со справочником (классификатором), идентификатор которого определен в атрибуте "Идентификатор справочника (классификатора)".
Шаблон: [A-Z]{2}
1
   а) идентификатор справочника (классификатора)
(атрибут codeListId)
обозначение справочника (классификатора), в соответствии с которым указан код-csdo:ReferenceDataIdType (M.SDT.00091)
Нормализованная строка символов.
Мин. длина: 1.
Макс. длина: 20
1
  2.2.2. Код роли государства-члена
(hcsdo:CountryKindCode)
кодовое обозначение роли государства-члена при регистрации лекарственного препаратаM.HC.SDE.00510hcsdo:CountryKindCodeType (M.HC.SDT.00204)
Нормализованная строка символов
1
  2.2.3. Номер заявления о регистрации лекарственного препарата
(hcsdo:ApplicationId)
номер заявления о регистрации или проведении иных процедур, связанных с регистрацией лекарственного препаратаM.HC.SDE.00260csdo:Id50Type (M.SDT.00093)
Нормализованная строка символов.
Мин. длина: 1.
Макс. длина: 50
0..*
  2.2.4. Сведения о регистрационном удостоверении на лекарственный препарат
(hccdo:DrugRegistrationCertificateDetails)
сведения о регистрационном удостоверении на лекарственный препаратM.HC.CDE.00031hccdo:DrugRegistrationCertificateDetailsType (M.HC.CDT.00027)
Определяется областями значений вложенных элементов
0..1
   *.1. Номер регистрационного удостоверения
(hcsdo:RegistrationCertificateId)
номер регистрационного удостоверенияM.HC.SDE.00045csdo:Id50Type (M.SDT.00093)
Нормализованная строка символов.
Мин. длина: 1.
Макс. длина: 50
1
   *.2. Дата документа
(csdo:DocCreationDate)
дата регистрации лекарственного препарата референтным государством или государством признанияM.SDE.00045bdt:DateType (M.BDT.00005)
Обозначение даты в соответствии с серией стандартов ISO 8601
1
   *.3. Дата истечения срока действия документа
(csdo:DocValidityDate)
дата истечения срока действия регистрационного удостоверения лекарственного препаратаM.SDE.00052bdt:DateType (M.BDT.00005)
Обозначение даты в соответствии с серией стандартов ISO 8601
0..1
   *.4. Дата внесения изменения
(hcsdo:DocExtensionDate)
дата внесения изменений (переоформления) в регистрационное удостоверение лекарственного препаратаM.HC.SDE.00070bdt:DateType (M.BDT.00005)
Обозначение даты в соответствии с серией стандартов ISO 8601
0..1
   *.5. Дата отмены регистрационного удостоверения
(hcsdo:CertificateCancelDate)
дата отмены регистрационного удостоверения на лекарственный препаратM.HC.SDE.00159bdt:DateType (M.BDT.00005)
Обозначение даты в соответствии с серией стандартов ISO 8601
0..1
   *.6. Код статуса регистрационного удостоверения
(hcsdo:RegistrationStatusCode)
кодовое обозначение статуса регистрации лекарственного препаратаM.HC.SDE.00266hcsdo:RegistrationStatusCodeType (M.HC.SDT.00062)
Нормализованная строка символов
1
   *.7. Наименование статуса регистрационного удостоверения
(hcsdo:RegistrationStatusName)
наименование статуса регистрации лекарственного препаратаM.HC.SDE.00771csdo:Name500Type (M.SDT.00134)
Нормализованная строка символов.
Мин. длина: 1.
Макс. длина: 500
0..1
   *.8. Код причины приостановки действия регистрационного удостоверения
(hcsdo:CertificatePauseCode)
кодовое обозначение причины приостановки действия регистрационного удостоверенияM.HC.SDE.10000csdo:Code2Type (M.SDT.00170)
Нормализованная строка символов.
Длина: 2
0..1
   *.9. Причина приостановки действия регистрационного удостоверения
(hcsdo:CertificatePauseText)
причина приостановки действия регистрационного удостоверенияM.HC.SDE.10002csdo:Text4000Type (M.SDT.00088)
Строка символов.
Мин. длина: 1.
Макс. длина: 4000
0..1
   *.10. Код причины отмены регистрационного удостоверения
(hcsdo:CertificateCancelCode)
кодовое обозначение причины отмены регистрационного удостоверенияM.HC.SDE.00160csdo:Code2Type (M.SDT.00170)
Нормализованная строка символов. Длина: 2
0..1
   *.11. Причина отмены регистрационного удостоверения
(hcsdo:CertificateCancelText)
причина отмены регистрационного удостоверенияM.HC.SDE.00161csdo:Text4000Type (M.SDT.00088)
Строка символов.
Мин. длина: 1.
Макс. длина: 4000
0..1
   *.12. Код условия отмены регистрационного удостоверения
(hcsdo:CertificateCancelConditionCode)
кодовое обозначение условия, при котором отменено регистрационное удостоверениеM.HC.SDE.10001csdo:Code2Type (M.SDT.00170) Нормализованная строка символов.
Длина: 2
0..1
   *.13. Условие отмены регистрационного удостоверения
(hcsdo:CertificateCancelConditionText)
условие отмены регистрационного удостоверенияM.HC.SDE.10003csdo:Text4000Type (M.SDT.00088)
Строка символов.
Мин. длина: 1.
Макс. длина: 4000
0..1
   *.14. Дата
(csdo:EventDate)
дата подтверждения регистрации (перерегистрации)M.SDE.00131bdt:DateType (M.BDT.00005)
Обозначение даты в соответствии с серией стандартов ISO 8601
0..1
   *.15. Сведения об особом условии регистрации лекарственного препарата
(hccdo:DrugRegistrationSpecialConditionDetails)
сведения об особом условии регистрации лекарственного препаратаM.HC.CDE.00404hccdo:DrugRegistrationSpecialConditionDetailsType (M.HC.CDT.00505)
Определяется областями значений вложенных элементов
0..*
    *.15.1. Код вида особого условия регистрации лекарственного препарата
(hcsdo:DrugUsageRestrictionKindCode)
кодовое обозначение вида особого условия регистрации лекарственного препаратаM.HC.SDE.00598hcsdo:DrugUsageRestrictionKindCodeType (M.HC.SDT.00099)
Нормализованная строка символов
0..1
    *.15.2. Наименование вида особого условия регистрации лекарственного препарата
(hcsdo:DrugUsageRestrictionKindName)
наименование вида особого условия регистрации лекарственного препаратаM.HC.SDE.00772csdo:Name500Type (M.SDT.00134)
Нормализованная строка символов.
Мин. длина: 1.
Макс. длина: 500
0..1
    *.15.3. Описание
(csdo:DescriptionText)
описание особого условия регистрации лекарственного препаратаM.SDE.00002csdo:Text4000Type (M.SDT.00088)
Строка символов.
Мин. длина: 1.
Макс. длина: 4000
1
    *.15.4. Сведения об обязательстве держателя регистрационного удостоверения
(hccdo:ObligationHolderDetails)
сведения об обязательстве держателя регистрационного удостоверения, подлежащем выполнению в рамках "регистрации на условиях"M.HC.CDE.00403hccdo:ObligationHolderDetailsType (M.HC.CDT.00504)
Определяется областями значений вложенных элементов
0..1
     *.15.4.1. Конечная дата
(csdo:EndDate)
срок выполнения обязательства и наложенных ограничений для держателя регистрационного удостоверения, установленные при регистрации лекарственного препаратаM.SDE.00074bdt:DateType (M.BDT.00005)
Обозначение даты в соответствии с серией стандартов ISO 8601
0..1
     *.15.4.2. Описание
(csdo:DescriptionText)
описание обязательства держателя регистрационного удостоверения, подлежащего выполнению в рамках "регистрации на условиях"M.SDE.00002csdo:Text4000Type (M.SDT.00088)
Строка символов.
Мин. длина: 1.
Макс. длина: 4000
1
   *.16. Сведения об изменении, внесенном в регистрационное досье на лекарственный препарат
(hccdo:DrugApplicationChangedDetails)
сведения об изменении, внесенном в регистрационное досье на лекарственный препаратM.HC.CDE.00812hccdo:DrugApplicationChangeDetailsType (M.HC.CDT.00676)
Определяется областями значений вложенных элементов
0..*
    *.16.1. Код типа изменения в регистрационном досье
(hcsdo:ChangeTypeCode)
кодовое обозначение типа изменения в регистрационном досье на лекарственный препаратM.HC.SDE.00755hcsdo:ChangeTypeCodeType (M.HC.SDT.00710)
Значение кода типа изменения в соответствии со справочником (классификатором), идентификатор которого определен в атрибуте "Идентификатор справочника (классификатора)".
Мин. длина: 1.
Макс. длина: 8
0..1
     а) идентификатор справочника (классификатора)
(атрибут codeListId)
обозначение справочника (классификатора), в соответствии с которым указан код-csdo:ReferenceDataIdType (M.SDT.00091)
Нормализованная строка символов.
Мин. длина: 1.
Макс. длина: 20
1
    *.16.2. Наименование типа изменения в регистрационном досье
(hcsdo:ChangeTypeName)
наименование типа изменения в регистрационном досье лекарственного препаратаM.HC.SDE.00777csdo:Name500Type (M.SDT.00134)
Нормализованная строка символов.
Мин. длина: 1.
Макс. длина: 500
0..1
    *.16.3. Код раздела регистрационного досье
(hcsdo:DossierSectionCode)
кодовое обозначение изменяемого (измененного) раздела регистрационного досьеM.HC.SDE.00743hcsdo:DossierSectionCodeType (M.HC.SDT.00711)
Значение кода структурного элемента в соответствии со справочником (классификатором), идентификатор которого определен в атрибуте "Идентификатор справочника (классификатора)".
Мин. длина: 1.
Макс. длина: 10
0..1
     а) идентификатор справочника (классификатора)
(атрибут codeListId)
обозначение справочника (классификатора), в соответствии с которым указан код-csdo:ReferenceDataIdType (M.SDT.00091)
Нормализованная строка символов.
Мин. длина: 1.
Макс. длина: 20
1
    *.16.4. Наименование раздела регистрационного досье
(hcsdo:DossierSectionName)
наименование изменяемого (измененного) раздела регистрационного досьеM.HC.SDE.00765csdo:Name500Type (M.SDT.00134)
Нормализованная строка символов.
Мин. длина: 1.
Макс. длина: 500
0..1
    *.16.5. Дата внесения изменения
(hcsdo:DocExtensionDate)
дата внесения измененияM.HC.SDE.00070bdt:DateType (M.BDT.00005)
Обозначение даты в соответствии с серией стандартов ISO 8601
0..1
    *.16.6. Последовательность представления досье
(hcsdo:SubmissionSequence)
порядковый номер в последовательности представления досьеM.HC.SDE.00102csdo:Code10Type (M.SDT.00179)
Нормализованная строка символов.
Мин. длина: 1.
Макс. длина: 10
0..*
    *.16.7. Номер регистрационного удостоверения
(hcsdo:RegistrationCertificateId)
номер нового регистрационного удостоверения, выданного в результате расширения регистрацииM.HC.SDE.00045csdo:Id50Type (M.SDT.00093)
Нормализованная строка символов.
Мин. длина: 1.
Макс. длина: 50
0..*
  2.2.5. Торговое наименование лекарственного препарата
(hcsdo:DrugTradeName)
торговое наименование лекарственного препаратаM.HC.SDE.00013csdo:Name300Type (M.SDT.00056)
Нормализованная строка символов.
Мин. длина: 1.
Макс. длина: 300
0..1
  2.2.6. Сведения о документах регистрационного досье лекарственного препарата, вносимых в единый реестр
(hccdo:DrugDocumentsDetails)
сведения о документах регистрационного досье лекарственного препарата, публикуемых в едином реестреM.HC.CDE.00695hccdo:DrugDocumentsDetailsType (M.HC.CDT.00823)
Определяется областями значений вложенных элементов
0..1
   *.1. Сведения об инструкции по медицинскому применению лекарственного препарата
(hccdo:DrugUsageInstructionDetails)
сведения о документе, содержащем инструкцию по медицинскому применению лекарственного препаратаM.HC.CDE.00408hccdo:RegistrationDocDetailsType (M.HC.CDT.00049)
Определяется областями значений вложенных элементов
0..*
    *.1.1. Порядковый номер
(csdo:ObjectOrdinal)
порядковый номер фрагмента документаM.SDE.00148csdo:Ordinal3Type (M.SDT.00105)
Целое неотрицательное число в десятичной системе счисления.
Макс. кол-во цифр: 3
0..1
    *.1.2. Наименование документа
(csdo:DocName)
цифровое или буквенно-цифровое обозначение, присваиваемое документу при его регистрацииM.SDE.00108csdo:Name500Type (M.SDT.00134)
Нормализованная строка символов.
Мин. длина: 1.
Макс. длина: 500
0..1
    *.1.3. Дата документа
(csdo:DocCreationDate)
дата подписания, утверждения или регистрации документаM.SDE.00045bdt:DateType (M.BDT.00005)
Обозначение даты в соответствии с серией стандартов ISO 8601
0..1
    *.1.4. Дата истечения срока действия документа
(csdo:DocValidityDate)
дата окончания срока, в течение которого документ имеет силуM.SDE.00052bdt:DateType (M.BDT.00005)
Обозначение даты в соответствии с серией стандартов ISO 8601
0..1
    *.1.5. Уникальный идентификатор документа
(hcsdo:DocUUId)
уникальный идентификатор документаM.HC.SDE.02010csdo:UniversallyUniqueIdType (M.SDT.90003)
Значение идентификатора в соответствии с ISO/IEC 9834-8.
Шаблон: [0-9a-fA-F]{8}-[0-9a-fA-F]{4}-[0-9a-fA-F]{4}-[0-9a-fA-F]{4}-[0-9a-fA-F]{12}
0..1
   *.2. Сведения об общей характеристике лекарственного препарата
(hccdo:DrugGeneralCharacteristicDetails)
сведения о документе, содержащем общую характеристику лекарственного препаратаM.HC.CDE.00407hccdo:RegistrationDocDetailsType (M.HC.CDT.00049)
Определяется областями значений вложенных элементов
0..*
    *.2.1. Порядковый номер
(csdo:ObjectOrdinal)
порядковый номер фрагмента документаM.SDE.00148csdo:Ordinal3Type (M.SDT.00105)
Целое неотрицательное число в десятичной системе счисления.
Макс. кол-во цифр: 3
0..1
    *.2.2. Наименование документа
(csdo:DocName)
цифровое или буквенно-цифровое обозначение, присваиваемое документу при его регистрацииM.SDE.00108csdo:Name500Type (M.SDT.00134)
Нормализованная строка символов.
Мин. длина: 1.
Макс. длина: 500
0..1
    *.2.3. Дата документа
(csdo:DocCreationDate)
дата подписания, утверждения или регистрации документаM.SDE.00045bdt:DateType (M.BDT.00005)
Обозначение даты в соответствии с серией стандартов ISO 8601
0..1
    *.2.4. Дата истечения срока действия документа
(csdo:DocValidityDate)
дата окончания срока, в течение которого документ имеет силуM.SDE.00052bdt:DateType (M.BDT.00005)
Обозначение даты в соответствии с серией стандартов ISO 8601
0..1
    *.2.5. Уникальный идентификатор документа
(hcsdo:DocUUId)
уникальный идентификатор документаM.HC.SDE.02010csdo:UniversallyUniqueIdType (M.SDT.90003)
Значение идентификатора в соответствии с ISO/IEC 9834-8.
Шаблон: [0-9a-fA-F]{8}-[0-9a-fA-F]{4}-[0-9a-fA-F]{4}-[0-9a-fA-F]{4}-[0-9a-fA-F]{12}
0..1
   *.3. Сведения о макете упаковки лекарственного препарата
(hccdo:DrugPackageLayoutDetails)
сведения о макете упаковки лекарственного препаратаM.HC.CDE.00413hccdo:DrugPackageLayoutDetailsType (M.HC.CDT.00280)
Определяется областями значений вложенных элементов
0..*
    *.3.1. Порядковый номер
(csdo:ObjectOrdinal)
порядковый номер фрагмента документаM.SDE.00148csdo:Ordinal3Type (M.SDT.00105)
Целое неотрицательное число в десятичной системе счисления.
Макс. кол-во цифр: 3
0..1
    *.3.2. Код вида макета упаковки лекарственного препарата
(hcsdo:DrugPackageLayoutKindCode)
кодовое обозначение вида макета упаковки лекарственного препаратаM.HC.SDE.00629hcsdo:DrugPackageLayoutKindCodeType (M.HC.SDT.00628)
Нормализованная строка символов
1
    *.3.3. Дата документа
(csdo:DocCreationDate)
дата подписания, утверждения или регистрации документаM.SDE.00045bdt:DateType (M.BDT.00005)
Обозначение даты в соответствии с серией стандартов ISO 8601
0..1
    *.3.4. Дата истечения срока действия документа
(csdo:DocValidityDate)
дата окончания срока, в течение которого документ имеет силуM.SDE.00052bdt:DateType (M.BDT.00005)
Обозначение даты в соответствии с серией стандартов ISO 8601
0..1
    *.3.5. Уникальный идентификатор документа
(hcsdo:DocUUId)
уникальный идентификатор документаM.HC.SDE.02010csdo:UniversallyUniqueIdType (M.SDT.90003)
Значение идентификатора в соответствии с ISO/IEC 9834-8.
Шаблон: [0-9a-fA-F]{8}-[0-9a-fA-F]{4}-[0-9a-fA-F]{4}-[0-9a-fA-F]{4}-[0-9a-fA-F]{12}
0..1
   *.4. Сведения об итоговом экспертном отчете
(hccdo:ExpertReportDetails)
сведения о документе, содержащем итоговый экспертный отчетM.HC.CDE.00409hccdo:RegistrationDocDetailsType (M.HC.CDT.00049)
Определяется областями значений вложенных элементов
0..*
    *.4.1. Порядковый номер
(csdo:ObjectOrdinal)
порядковый номер фрагмента документаM.SDE.00148csdo:Ordinal3Type (M.SDT.00105)
Целое неотрицательное число в десятичной системе счисления.
Макс. кол-во цифр: 3
0..1
    *.4.2. Наименование документа
(csdo:DocName)
цифровое или буквенно-цифровое обозначение, присваиваемое документу при его регистрацииM.SDE.00108csdo:Name500Type (M.SDT.00134)
Нормализованная строка символов.
Мин. длина: 1.
Макс. длина: 500
0..1
    *.4.3. Дата документа
(csdo:DocCreationDate)
дата подписания, утверждения или регистрации документаM.SDE.00045bdt:DateType (M.BDT.00005)
Обозначение даты в соответствии с серией стандартов ISO 8601
0..1
    *.4.4. Дата истечения срока действия документа
(csdo:DocValidityDate)
дата окончания срока, в течение которого документ имеет силуM.SDE.00052bdt:DateType (M.BDT.00005)
Обозначение даты в соответствии с серией стандартов ISO 8601
0..1
    *.4.5. Уникальный идентификатор документа
(hcsdo:DocUUId)
уникальный идентификатор документаM.HC.SDE.02010csdo:UniversallyUniqueIdType (M.SDT.90003)
Значение идентификатора в соответствии с ISO/IEC 9834-8.
Шаблон: [0-9a-fA-F]{8}-[0-9a-fA-F]{4}-[0-9a-fA-F]{4}-[0-9a-fA-F]{4}-[0-9a-fA-F]{12}
0..1
   *.5. Сведения о плане управления рисками
(hccdo:RiskManagementPlanDetails)
сведения о документе, содержащем план управления рискамиM.HC.CDE.00410hccdo:RegistrationDocDetailsType (M.HC.CDT.00049)
Определяется областями значений вложенных элементов
0..*
    *.5.1. Порядковый номер
(csdo:ObjectOrdinal)
порядковый номер фрагмента документаM.SDE.00148csdo:Ordinal3Type (M.SDT.00105)
Целое неотрицательное число в десятичной системе счисления.
Макс. кол-во цифр: 3
0..1
    *.5.2. Наименование документа
(csdo:DocName)
цифровое или буквенно-цифровое обозначение, присваиваемое документу при его регистрацииM.SDE.00108csdo:Name500Type (M.SDT.00134)
Нормализованная строка символов.
Мин. длина: 1.
Макс. длина: 500
0..1
    *.5.3. Дата документа
(csdo:DocCreationDate)
дата подписания, утверждения или регистрации документаM.SDE.00045bdt:DateType (M.BDT.00005)
Обозначение даты в соответствии с серией стандартов ISO 8601
0..1
    *.5.4. Дата истечения срока действия документа
(csdo:DocValidityDate)
дата окончания срока, в течение которого документ имеет силуM.SDE.00052bdt:DateType (M.BDT.00005)
Обозначение даты в соответствии с серией стандартов ISO 8601
0..1
    *.5.5. Уникальный идентификатор документа
(hcsdo:DocUUId)
уникальный идентификатор документаM.HC.SDE.02010csdo:UniversallyUniqueIdType (M.SDT.90003)
Значение идентификатора в соответствии с ISO/IEC 9834-8.
Шаблон: [0-9a-fA-F]{8}-[0-9a-fA-F]{4}-[0-9a-fA-F]{4}-[0-9a-fA-F]{4}-[0-9a-fA-F]{12}
0..1
   *.6. Сведения о нормативном документе по качеству лекарственного препарата
(hccdo:QualityRegulatoryDocDetails)
сведения о нормативном документе по качеству лекарственного препаратаM.HC.CDE.00411hccdo:RegistrationDocDetailsType (M.HC.CDT.00049)
Определяется областями значений вложенных элементов
0..*
    *.6.1. Порядковый номер
(csdo:ObjectOrdinal)
порядковый номер фрагмента документаM.SDE.00148csdo:Ordinal3Type (M.SDT.00105)
Целое неотрицательное число в десятичной системе счисления.
Макс. кол-во цифр: 3
0..1
    *.6.2. Наименование документа
(csdo:DocName)
цифровое или буквенно-цифровое обозначение, присваиваемое документу при его регистрацииM.SDE.00108csdo:Name500Type (M.SDT.00134)
Нормализованная строка символов.
Мин. длина: 1.
Макс. длина: 500
0..1
    *.6.3. Дата документа
(csdo:DocCreationDate)
дата подписания, утверждения или регистрации документаM.SDE.00045bdt:DateType (M.BDT.00005)
Обозначение даты в соответствии с серией стандартов ISO 8601
0..1
    *.6.4. Дата истечения срока действия документа
(csdo:DocValidityDate)
дата окончания срока, в течение которого документ имеет силуM.SDE.00052bdt:DateType (M.BDT.00005)
Обозначение даты в соответствии с серией стандартов ISO 8601
0..1
    *.6.5. Уникальный идентификатор документа
(hcsdo:DocUUId)
уникальный идентификатор документаM.HC.SDE.02010csdo:UniversallyUniqueIdType (M.SDT.90003)
Значение идентификатора в соответствии с ISO/IEC 9834-8.
Шаблон: [0-9a-fA-F]{8}-[0-9a-fA-F]{4}-[0-9a-fA-F]{4}-[0-9a-fA-F]{4}-[0-9a-fA-F]{12}
0..1
 2.3. Код вида процедуры регистрации
(hcsdo:RegistrationKindCode)
кодовое обозначение вида процедуры регистрации лекарственного препаратаM.HC.SDE.00425csdo:Code10Type (M.SDT.00179)
Нормализованная строка символов.
Мин. длина: 1.
Макс. длина: 10
0..1
 2.4. Сведения о лекарственном препарате
(hccdo:DrugDetails)
сведения о лекарственном препаратеM.HC.CDE.00084hccdo:DrugDetailsType (M.HC.CDT.00075)
Определяется областями значений вложенных элементов
0..1
  2.4.1. Сведения о наименовании лекарственного препарата (средства)
(hccdo:DrugNameDetails)
сведения о международном непатентованном наименовании лекарственного средства или общепринятом, группировочном, химическом наименовании лекарственного препаратаM.HC.CDE.00269hccdo:DrugNameDetailsType (M.HC.CDT.00252)
Определяется областями значений вложенных элементов
1..*
   *.1. Код наименования активной фармацевтической субстанции
(hcsdo:DrugCode)
кодовое обозначение международного непатентованного наименования или общепринятого, группировочного, химического наименования активной фармацевтической субстанцииM.HC.SDE.00526hcsdo:DrugCodeType (M.HC.SDT.00211)
Значение кода в соответствии со справочником (классификатором), идентификатор которого определен в атрибуте "Идентификатор справочника (классификатора)".
Мин. длина: 1.
Макс. длина: 10
0..1
    а) идентификатор справочника (классификатора)
(атрибут codeListId)
обозначение справочника (классификатора), в соответствии с которым указан код-csdo:ReferenceDataIdType (M.SDT.00091)
Нормализованная строка символов.
Мин. длина: 1.
Макс. длина: 20
1
   *.2. Наименование активной фармацевтической субстанции
(hcsdo:DrugName)
группировочное, общепринятое или химическое наименование активной фармацевтической субстанцииM.HC.SDE.00525csdo:Name500Type (M.SDT.00134)
Нормализованная строка символов.
Мин. длина: 1.
Макс. длина: 500
0..1
  2.4.2. Сведения о лекарственной форме
(hccdo:DosageFormDetails)
сведения о лекарственной формеM.HC.CDE.00398hccdo:DosageFormDetailsType (M.HC.CDT.00598)
Определяется областями значений вложенных элементов
0..1
   *.1. Код лекарственной формы
(hcsdo:DosageFormCode)
кодовое обозначение лекарственной формыM.HC.SDE.00232hcsdo:DosageFormCodeType (M.HC.SDT.00051)
Значение кода лекарственных форм в соответствии со справочником (классификатором), идентификатор которого определен в атрибуте "Идентификатор справочника (классификатора)".
Мин. длина: 1.
Макс. длина: 10
0..1
    а) идентификатор справочника (классификатора)
(атрибут codeListId)
обозначение справочника (классификатора), в соответствии с которым указан код-csdo:ReferenceDataIdType (M.SDT.00091)
Нормализованная строка символов.
Мин. длина: 1.
Макс. длина: 20
1
   *.2. Наименование лекарственной формы
(hcsdo:DosageFormName)
наименование лекарственной формыM.HC.SDE.00874csdo:Name500Type (M.SDT.00134)
Нормализованная строка символов.
Мин. длина: 1.
Макс. длина: 500
0..1
   *.3. Дополнительные признаки лекарственной формы
(hccdo:DosageFormAdditionalFeaturesDetails)
сведения о дополнительных признаках лекарственной формыM.HC.CDE.00325hccdo:DosageFormAdditionalFeaturesDetailsType (M.HC.CDT.00587)
Определяется областями значений вложенных элементов
0..1
    *.3.1. Признак дозированности лекарственной формы
(hcsdo:DosedIndicator)
признак, определяющий дозированность лекарственной формы:
1 - лекарственная форма дозирована;
0 - лекарственная форма не дозирована
M.HC.SDE.00243bdt:IndicatorType (M.BDT.00013)
Одно из двух значений: "true" (истина) или "false" (ложь)
0..1
    *.3.2. Признак применимости лекарственного препарата у детей
(hcsdo:ChildIndicator)
признак, определяющий применимость лекарственного препарата у детей:
1 - применяется у детей;
0 - не применяется у детей
M.HC.SDE.00244bdt:IndicatorType (M.BDT.00013)
Одно из двух значений: "true" (истина) или "false" (ложь)
0..1
    *.3.3. Признак применимости лекарственного препарата в ювенильном периоде
(hcsdo:JuvenileIndicator)
признак, определяющий применимость лекарственного препарата в ювенильном периоде:
1 - применяется в ювенильном периоде;
0 - не применяется в ювенильном периоде
M.HC.SDE.00245bdt:IndicatorType (M.BDT.00013)
Одно из двух значений: "true" (истина) или "false" (ложь)
0..1
    *.3.4. Признак наличия сахара в лекарственном препарате
(hcsdo:SugarIndicator)
признак, определяющий наличие сахара в лекарственном препарате:
1 - сахар присутствует;
0 - сахар отсутствует
M.HC.SDE.00246bdt:IndicatorType (M.BDT.00013)
Одно из двух значений: "true" (истина) или "false" (ложь)
0..1
    *.3.5. Описание вкусоароматической добавки
(hcsdo:TasteAromaAdditiveText)
описание вкусоароматической добавкиM.HC.SDE.00250csdo:Text250Type (M.SDT.00072)
Строка символов.
Мин. длина: 1.
Макс. длина: 250
0..*
    *.3.6. Описание природы растворителя лекарственного препарата
(hcsdo:SolventText)
описание природы растворителя лекарственного препаратаM.HC.SDE.00251csdo:Text1000Type (M.SDT.00071)
Строка символов.
Мин. длина: 1.
Макс. длина: 1000
0..1
    *.3.7. Описание сырьевой части растительного ингредиента
(hcsdo:RawPartMaterialText)
описание сырьевой части растительного ингредиента, входящего в состав лекарственного препаратаM.HC.SDE.00282csdo:Text1000Type (M.SDT.00071)
Строка символов.
Мин. длина: 1.
Макс. длина: 1000
0..1
    *.3.8. Код степени измельченности сырьевой части растительного ингредиента
(hcsdo:DegreeRefinementRawMaterialCode)
кодовое обозначение степени измельченности сырьевой части растительного ингредиента лекарственного препаратаM.HC.SDE.00584csdo:Code10Type (M.SDT.00179)
Нормализованная строка символов.
Мин. длина: 1.
Макс. длина: 10
0..1
    *.3.9. Наименование степени измельченности сырьевой части растительного ингредиента лекарственного препарата
(hcsdo:DegreeRefinementRawMaterialName)
наименование степени измельченности сырьевой части растительного ингредиента лекарственного препаратаM.HC.SDE.00283csdo:Name500Type (M.SDT.00134)
Нормализованная строка символов.
Мин. длина: 1.
Макс. длина: 500
0..1
  2.4.3. Сведения о форме выпуска лекарственного препарата
(hccdo:PackageFormDetails)
сведения о форме выпуска лекарственного препаратаM.HC.CDE.00387hccdo:PackageFormDetailsType (M.HC.CDT.00359)
Определяется областями значений вложенных элементов
1..*
   *.1. Признак нерасфасованной продукции (in bulk)
(hcsdo:InbulkIndicator)
признак нерасфасованной продукции (in bulk):
1 - продукция является нерасфасованной;
0 - продукция не является нерасфасованной
M.HC.SDE.00220bdt:IndicatorType (M.BDT.00013)
Одно из двух значений: "true" (истина) или "false" (ложь)
1
   *.2. Сведения об упакованной единице лекарственного препарата
(hccdo:PackageDetails)
сведения об упакованной единице лекарственного препаратаM.HC.CDE.00201hccdo:PackageDetailsType (M.HC.CDT.00224)
Определяется областями значений вложенных элементов
1..*
    *.2.1. Код лекарственной формы
(hcsdo:DosageFormCode)
кодовое обозначение лекарственной формыM.HC.SDE.00232hcsdo:DosageFormCodeType (M.HC.SDT.00051)
Значение кода лекарственных форм в соответствии со справочником (классификатором), идентификатор которого определен в атрибуте "Идентификатор справочника (классификатора)".
Мин. длина: 1.
Макс. длина: 10
0..1
     а) идентификатор справочника (классификатора)
(атрибут codeListId)
обозначение справочника (классификатора), в соответствии с которым указан код-csdo:ReferenceDataIdType (M.SDT.00091)
Нормализованная строка символов.
Мин. длина: 1.
Макс. длина: 20
1
    *.2.2. Наименование лекарственной формы
(hcsdo:DosageFormName)
наименование лекарственной формыM.HC.SDE.00874csdo:Name500Type (M.SDT.00134)
Нормализованная строка символов.
Мин. длина: 1.
Макс. длина: 500
0..1
*.2.3. Дополнительные признаки лекарственной формы
(hccdo:DosageFormAdditionalFeaturesDetails)
сведения о дополнительных признаках лекарственной формыM.HC.CDE.00325hccdo:DosageFormAdditionalFeaturesDetailsType (M.HC.CDT.00587)
Определяется областями значений вложенных элементов
0..1
     *.2.3.1. Признак дозированности лекарственной формы
(hcsdo:DosedIndicator)
признак, определяющий дозированность лекарственной формы:
1 - лекарственная форма дозирована;
0 - лекарственная форма не дозирована
M.HC.SDE.00243bdt:IndicatorType (M.BDT.00013)
Одно из двух значений: "true" (истина) или "false" (ложь)
0..1
*.2.3.2. Признак применимости лекарственного препарата у детей
(hcsdo:ChildIndicator)
признак, определяющий применимость лекарственного препарата у детей:
1 - применяется у детей;
0 - не применяется у детей
M.HC.SDE.00244bdt:IndicatorType (M.BDT.00013)
Одно из двух значений: "true" (истина) или "false" (ложь)
0..1
     *.2.3.3. Признак применимости лекарственного препарата в ювенильном периоде
(hcsdo:JuvenileIndicator)
признак, определяющий применимость лекарственного препарата в ювенильном периоде:
1 - применяется в ювенильном периоде;
0 - не применяется в ювенильном периоде
M.HC.SDE.00245bdt:IndicatorType (M.BDT.00013)
Одно из двух значений: "true" (истина) или "false" (ложь)
0..1
*.2.3.4. Признак наличия сахара в лекарственном препарате
(hcsdo:SugarIndicator)
признак, определяющий наличие сахара в лекарственном препарате:
1 - сахар присутствует;
0 - сахар отсутствует
M.HC.SDE.00246bdt:IndicatorType (M.BDT.00013)
Одно из двух значений: "true" (истина) или "false" (ложь)
0..1
*.2.3.5. Описание вкусоароматической добавки
(hcsdo:TasteAromaAdditiveText)
описание вкусоароматической добавкиM.HC.SDE.00250csdo:Text250Type (M.SDT.00072)
Строка символов.
Мин. длина: 1.
Макс. длина: 250
0..*
*.2.3.6. Описание природы растворителя лекарственного препарата
(hcsdo:SolventText)
описание природы растворителя лекарственного препаратаM.HC.SDE.00251csdo:Text1000Type (M.SDT.00071)
Строка символов.
Мин. длина: 1.
Макс. длина: 1000
0..1
     *.2.3.7. Описание сырьевой части растительного ингредиента
(hcsdo:RawPartMaterialText)
описание сырьевой части растительного ингредиента, входящего в состав лекарственного препаратаM.HC.SDE.00282csdo:Text1000Type (M.SDT.00071)
Строка символов.
Мин. длина: 1.
Макс. длина: 1000
0..1
     *.2.3.8. Код степени измельченности сырьевой части растительного ингредиента
(hcsdo:DegreeRefinementRawMaterialCode)
кодовое обозначение степени измельченности сырьевой части растительного ингредиента лекарственного препаратаM.HC.SDE.00584csdo:Code10Type (M.SDT.00179)
Нормализованная строка символов.
Мин. длина: 1.
Макс. длина: 10
0..1
     *.2.3.9. Наименование степени измельченности сырьевой части растительного ингредиента лекарственного препарата
(hcsdo:DegreeRefinementRawMaterialName)
наименование степени измельченности сырьевой части растительного ингредиента лекарственного препаратаM.HC.SDE.00283csdo:Name500Type (M.SDT.00134)
Нормализованная строка символов.
Мин. длина: 1.
Макс. длина: 500
0..1
    *.2.4. Сведения о дозировке лекарственного препарата
(hccdo:DrugDosageDetails)
сведения о дозировке лекарственного препаратаM.HC.CDE.00714hccdo:DrugDosageDetailsType (M.HC.CDT.00720)
Определяется областями значений вложенных элементов
0..1
     *.2.4.1. Сведения о единице дозирования лекарственного препарата
(hccdo:DrugDosageUnitDetails)
сведения о единице дозирования лекарственного препаратаM.HC.CDE.00712hccdo:DosageUnitDetailsType (M.HC.CDT.00719)
Определяется областями значений вложенных элементов
0..1
      *.2.4.1.1. Код вида единицы выражения состава лекарственного препарата
(hcsdo:DrugDosageUnitKindCode)
кодовое обозначение вида единицы выражения состава лекарственного препаратаM.HC.SDE.00616csdo:Code2Type (M.SDT.00170)
Нормализованная строка символов. Длина: 2
0..1
*.2.4.1.2. Наименование вида единицы выражения состава лекарственного препарата
(hcsdo:DosageUnitKindName)
наименование вида единицы выражения состава лекарственного препаратаM.HC.SDE.00617csdo:Name500Type (M.SDT.00134)
Нормализованная строка символов.
Мин. длина: 1.
Макс. длина: 500
0..1
*.2.4.1.3. Величина единицы дозирования (концентрации)
(hcsdo:DosageUnitMeasure)
величина единицы дозирования (концентрации)M.HC.SDE.00615hcsdo:DosageUnitMeasureType (M.HC.SDT.00719)
Число в десятичной системе
счисления
0..1
       а) код единицы измерения дозировки и концентрации
(атрибут SubstanceMeasureCode)
кодовое обозначение единицы измерения дозировки и концентрации-hcsdo:SubstanceMeasureCodeType (M.HC.SDT.00217)
Значение кода единиц измерения дозировки и концентрации в соответствии со справочником (классификатором), идентификатор которого определен в атрибуте "Идентификатор справочника (классификатора)".
Мин. длина: 1.
Макс. длина: 3
0..1
б) идентификатор справочника (классификатора)
(атрибут codeListId)
обозначение справочника (классификатора), в соответствии с которым указан код-csdo:ReferenceDataIdType (M.SDT.00091)
Нормализованная строка символов.
Мин. длина: 1.
Макс. длина: 20
0..1
в) наименование единицы измерения дозировки и концентрации
(атрибут SubstanceMeasureName)
наименование единицы измерения дозировки и концентрации-csdo:Name500Type (M.SDT.00134)
Нормализованная строка символов.
Мин. длина: 1.
Макс. длина: 500
0..1
       г) масштаб
(атрибут ScaleNumber)
масштаб величины, представленный в виде показателя степени числа 10-csdo:Number2Type (M.SDT.00096)
Число в десятичной системе счисления.
Макс. кол-во цифр: 2.
Макс. кол-во дроб. цифр: 0
0..1
     *.2.4.2. Сведения об ингредиенте, входящем в состав лекарственного препарата
(hccdo:DrugSubstanceDetails)
сведения об ингредиенте, входящем в состав лекарственного препаратаM.HC.CDE.00264hccdo:DrugSubstanceDetailsType (M.HC.CDT.00243)
Определяется областями значений вложенных элементов
0..*
      *.2.4.2.1. Код функции ингредиента в составе лекарственного препарата
(hcsdo:DrugSubstanceRoleCode)
кодовое обозначение функции ингредиента в составе лекарственного препаратаM.HC.SDE.00437csdo:Code10Type (M.SDT.00179)
Нормализованная строка символов.
Мин. длина: 1.
Макс. длина: 10
0..1
*.2.4.2.2. Наименование функции ингредиента в составе лекарственного препарата
(hcsdo:DrugSubstanceRoleName)
наименование функции ингредиента в составе лекарственного препаратаM.HC.SDE.00678csdo:Name500Type (M.SDT.00134)
Нормализованная строка символов.
Мин. длина: 1.
Макс. длина: 500
0..1
      *.2.4.2.3. Сведения об активной фармацевтической субстанции в составе лекарственного препарата
(hccdo:ActiveSubstanceDetails)
сведения об активной фармацевтической субстанции в составе лекарственного препаратаM.HC.CDE.00030hccdo:ActiveSubstanceDetailsType (M.HC.CDT.00730)
Определяется областями значений вложенных элементов
0..1
       *.2.4.2.3.1. Код активной фармацевтической субстанции
(hcsdo:ActiveSubstanceCode)
кодовое обозначение активной фармацевтической субстанцииM.HC.SDE.00618hcsdo:DrugCodeType (M.HC.SDT.00211)
Значение кода в соответствии со справочником (классификатором), идентификатор которого определен в атрибуте "Идентификатор справочника (классификатора)".
Мин. длина: 1.
Макс. длина: 10
0..1
        а) идентификатор справочника (классификатора)
(атрибут codeListId)
обозначение справочника (классификатора), в соответствии с которым указан код-csdo:ReferenceDataIdType (M.SDT.00091)
Нормализованная строка символов.
Мин. длина: 1.
Макс. длина: 20
1
       *.2.4.2.3.2. Наименование активной фармацевтической субстанции
(hcsdo:ActiveSubstanceName)
наименование активной фармацевтической субстанцииM.HC.SDE.00620csdo:Name500Type (M.SDT.00134)
Нормализованная строка символов.
Мин. длина: 1.
Макс. длина: 500
0..1
      *.2.4.2.4. Сведения о вспомогательном веществе в составе лекарственного препарата
(hccdo:AuxiliarySubstanceDetails)
сведения о вспомогательном веществе в составе лекарственного препаратаM.HC.CDE.00040hccdo:AuxiliarySubstanceDetailsType (M.HC.CDT.00731)
Определяется областями значений вложенных элементов
0..1
       *.2.4.2.4.1. Код вспомогательного вещества, входящего в состав лекарственного препарата
(hcsdo:AuxiliarySubstanceCode)
кодовое обозначение вспомогательного вещества, входящего в состав лекарственного препаратаM.HC.SDE.00607hcsdo:AuxiliarySubstanceCodeType (M.HC.SDT.00014)
Значение кода вспомогательного вещества в соответствии со справочником (классификатором), идентификатор которого определен в атрибуте "Идентификатор справочника (классификатора)".
Мин. длина: 1.
Макс. длина: 10
0..1
        а) идентификатор справочника (классификатора)
(атрибут codeListId)
обозначение справочника (классификатора), в соответствии с которым указан код-csdo:ReferenceDataIdType (M.SDT.00091)
Нормализованная строка символов.
Мин. длина: 1.
Макс. длина: 20
1
       *.2.4.2.4.2. Наименование вспомогательного вещества, входящего в состав лекарственного препарата
(hcsdo:AuxiliarySubstanceName)
наименование вспомогательного вещества, входящего в состав лекарственного препаратаM.HC.SDE.00044csdo:Name500Type (M.SDT.00134)
Нормализованная строка символов.
Мин. длина: 1.
Макс. длина: 500
0..1
       *.2.4.2.4.3. Код функционального назначения вспомогательного вещества
(hcsdo:FunctionalPurposeCode)
кодовое обозначение функционального назначения вспомогательного веществаM.HC.SDE.00611hcsdo:FunctionalPurposeCodeType (M.HC.SDT.00015)
Значение кода функциональных назначений вспомогательных веществ в соответствии со справочником (классификатором), идентификатор которого определен в атрибуте "Идентификатор справочника (классификатора)".
Мин. длина: 1.
Макс. длина: 10
0..1
        а) идентификатор справочника (классификатора)
(атрибут codeListId)
обозначение справочника (классификатора), в соответствии с которым указан код-csdo:ReferenceDataIdType
(M.SDT.00091)
Нормализованная строка символов.
Мин. длина: 1.
Макс. длина: 20
1
       *.2.4.2.4.4. Наименование функционального назначения вспомогательного вещества
(hcsdo:FunctionalPurposeName)
наименование функционального назначения вспомогательного веществаM.HC.SDE.00610csdo:Name500Type (M.SDT.00134)
Нормализованная строка символов.
Мин. длина: 1.
Макс. длина: 500
0..1
      *.2.4.2.5. Наименование реагента
(hcsdo:ReagentName)
наименование реагента, входящего в состав лекарственного препаратаM.HC.SDE.00648csdo:Name500Type (M.SDT.00134)
Нормализованная строка символов.
Мин. длина: 1.
Макс. длина: 500
0..1
      *.2.4.2.6. Дозировка (концентрация)
(hcsdo:SubstanceMeasure)
количество вещества, выраженное в единицах массы, объемных или условных (биологических) единицах, либо гомеопатическое разведениеM.HC.SDE.00050hcsdo:DrugSubstanceDimensionalMeasureType (M.HC.SDT.00216)
Число в десятичной системе счисления.
Макс. кол-во цифр: 24.
Макс. кол-во дроб. цифр: 6
0..2
       а) код единицы измерения дозировки и концентрации
(атрибут SubstanceMeasureCode)
кодовое обозначение единицы измерения дозировки и концентрации-hcsdo:SubstanceMeasureCodeType (M.HC.SDT.00217)
Значение кода единиц измерения дозировки и концентрации в соответствии со справочником (классификатором), идентификатор которого определен в атрибуте "Идентификатор справочника (классификатора)".
Мин. длина: 1.
Макс. длина: 3
0..1
       б) идентификатор справочника (классификатора)
(атрибут codeListId)
обозначение справочника (классификатора), в соответствии с которым указан код-csdo:ReferenceDataIdType (M.SDT.00091)
Нормализованная строка символов.
Мин. длина: 1.
Макс. длина: 20
0..1
       в) наименование единицы измерения дозировки и концентрации
(атрибут SubstanceMeasureName)
наименование единицы измерения дозировки и концентрации-csdo:Name500Type (M.SDT.00134)
Нормализованная строка символов.
Мин. длина: 1.
Макс. длина: 500
0..1
       г) масштаб
(атрибут ScaleNumber)
масштаб величины, представленный в виде показателя степени числа 10-csdo:Number2Type (M.SDT.00096)
Число в десятичной системе счисления.
Макс. кол-во цифр: 2.
Макс. кол-во дроб. цифр: 0
0..1
       д) код типа величины дозировки (концентрации)
(атрибут SubstanceMeasureTypeCode)
кодовое обозначение типа величины дозировки (концентрации)-csdo:Code2Type (M.SDT.00170)
Нормализованная строка символов.
Длина: 2
0..1
      *.2.4.2.7. Описание дозировки (концентрации)
(hcsdo:SubstanceText)
описание дозировки (концентрации) ингредиента, входящего в состав лекарственного препаратаM.HC.SDE.00613csdo:Text4000Type (M.SDT.00088)
Строка символов.
Мин. длина: 1.
Макс. длина: 4000
0..1
    *.2.5. Код вида первичной упаковки лекарственного препарата
(hcsdo:DrugPackageKindCode)
кодовое обозначение вида первичной упаковки лекарственного препаратаM.HC.SDE.00714hcsdo:DrugPackageKindCodeType (M.HC.SDT.00892)
Значение кода видов первичных упаковок лекарственных средств в соответствии со справочником (классификатором), идентификатор которого определен в атрибуте "Идентификатор справочника (классификатора)".
Мин. длина: 1.
Макс. длина: 10
0..1
     а) идентификатор справочника (классификатора)
(атрибут codeListId)
обозначение справочника (классификатора), в соответствии с которым указан код-csdo:ReferenceDataIdType (M.SDT.00091)
Нормализованная строка символов.
Мин. длина: 1.
Макс. длина: 20
1
    *.2.6. Наименование вида первичной упаковки лекарственного препарата
(hcsdo:DrugPackageKindName)
наименование вида первичной упаковки лекарственного препаратаM.HC.SDE.00718csdo:Name500Type (M.SDT.00134)
Нормализованная строка символов.
Мин. длина: 1.
Макс. длина: 500
0..1
    *.2.7. Описание материала первичной упаковки лекарственного препарата
(hcsdo:PackageMaterialText)
описание материала, из которого изготовлена первичная упаковка лекарственного препарата с указанием дополнительных свойствM.HC.SDE.00288csdo:Text4000Type (M.SDT.00088)
Строка символов.
Мин. длина: 1.
Макс. длина: 4000
0..1
    *.2.8. Количество в упаковке лекарственного препарата
(hccdo:PackageMeasureDetails)
количество лекарственного препарата в первичной упаковкеM.HC.CDE.00202hccdo:PackageMeasureDetailsType (M.HC.CDT.00220)
Определяется областями значений вложенных элементов
1..*
     *.2.8.1. Количество в упаковке лекарственного препарата
(hcsdo:PackageMeasure)
количество лекарственного препарата в упаковкеM.HC.SDE.00194csdo:UnifiedPhysicalMeasureType (M.SDT.00122)
Число в десятичной системе счисления.
Макс. кол-во цифр: 24.
Макс. кол-во дроб. цифр: 6
0..1
      а) единица измерения
(атрибут measurementUnitCode)
кодовое обозначение единицы измерения-csdo:MeasurementUnitCodeType (M.SDT.00074)
Буквенно-цифровой код.
Шаблон: [0-9A-Z]{2,3}|\d{3,4}
1
б) идентификатор справочника (классификатора)
(атрибут measurementUnitCodeListId)
идентификатор классификатора единиц измерения-csdo:ReferenceDataIdType (M.SDT.00091)
Нормализованная строка символов.
Мин. длина: 1.
Макс. длина: 20
1
     *.2.8.2. Нижняя граница интервала количества в упаковке лекарственного препарата
(hcsdo:PackageLowerLimitMeasure)
нижняя граница интервала количества в упаковке лекарственного препаратаM.HC.SDE.00185csdo:UnifiedPhysicalMeasureType (M.SDT.00122)
Число в десятичной системе счисления.
Макс. кол-во цифр: 24.
Макс. кол-во дроб. цифр: 6
0..1
      а) единица измерения
(атрибут measurementUnitCode)
кодовое обозначение единицы измерения-csdo:MeasurementUnitCodeType (M.SDT.00074)
Буквенно-цифровой код.
Шаблон: [0-9A-Z]{2,3}|\d{3,4}
1
      б) идентификатор справочника (классификатора)
(атрибут measurementUnitCodeListId)
идентификатор классификатора единиц измерения-csdo:ReferenceDataIdType (M.SDT.00091)
Нормализованная строка символов.
Мин. длина: 1.
Макс. длина: 20
1
     *.2.8.3. Верхняя граница интервала количества в упаковке лекарственного препарата
(hcsdo:PackageUpperLimitMeasure)
верхняя граница интервала количества в упаковке лекарственного препаратаM.HC.SDE.00184csdo:UnifiedPhysicalMeasureType (M.SDT.00122)
Число в десятичной системе счисления.
Макс. кол-во цифр: 24.
Макс. кол-во дроб. цифр: 6
0..1
      а) единица измерения
(атрибут measurementUnitCode)
кодовое обозначение единицы измерения-csdo:MeasurementUnitCodeType (M.SDT.00074)
Буквенно-цифровой код.
Шаблон: [0-9A-Z]{2,3}|\d{3,4}
1
      б) идентификатор справочника (классификатора)
(атрибут measurementUnitCodeListId)
идентификатор классификатора единиц измерения-csdo:ReferenceDataIdType (M.SDT.00091)
Нормализованная строка символов.
Мин. длина: 1.
Макс. длина: 20
1
    *.2.9. Срок годности лекарственного препарата
(hcsdo:ShelfLifeDuration)
срок годности лекарственного препаратаM.HC.SDE.00028bdt:DurationType (M.BDT.00021)
Обозначение продолжительности времени в соответствии с серией стандартов ISO 8601
0..1
    *.2.10. Торговое наименование лекарственного препарата
(hcsdo:DrugTradeName)
торговое наименование упакованной единицы лекарственного препаратаM.HC.SDE.00013csdo:Name300Type (M.SDT.00056)
Нормализованная строка символов.
Мин. длина: 1.
Макс. длина: 300
0..1
   *.3. Описание промежуточной упаковки лекарственного препарата
(hcsdo:MiddlePackageText)
описание промежуточной упаковки лекарственного препаратаM.HC.SDE.00268csdo:Text1000Type (M.SDT.00071)
Строка символов.
Мин. длина: 1.
Макс. длина: 1000
0..1
   *.4. Сведения о комплектующем устройстве в составе вторичной (потребительской) упаковки лекарственного препарата
(hccdo:RegisteredDrugComponentDetails)
сведения о комплектующем устройстве в составе вторичной (потребительской) упаковки лекарственного препаратаM.HC.CDE.00124hccdo:RegisteredDrugComponentDetailsType (M.HC.CDT.00094)
Определяется областями значений вложенных элементов
0..*
    *.4.1. Код комплектующего
(hcsdo:ComponentCode)
кодовое обозначение комплектующего, входящего в упаковку лекарственного препаратаM.HC.SDE.00257hcsdo:ComponentCodeType (M.HC.SDT.00060)
Значение кода комплектующих средств упаковки в соответствии со справочником (классификатором), идентификатор которого определен в атрибуте "Идентификатор справочника (классификатора)".
Мин. длина: 1.
Макс. длина: 6
0..1
     а) идентификатор справочника (классификатора)
(атрибут codeListId)
обозначение справочника (классификатора), в соответствии с которым указан код-csdo:ReferenceDataIdType (M.SDT.00091)
Нормализованная строка символов.
Мин. длина: 1.
Макс. длина: 20
1
    *.4.2. Наименование комплектующего
(hcsdo:ComponentName)
наименование комплектующего, входящего в упаковку лекарственного препаратаM.HC.SDE.00005csdo:Name40Type (M.SDT.00069)
Нормализованная строка символов.
Мин. длина: 1.
Макс. длина: 40
0..1
    *.4.3. Количество комплектующих устройств в составе вторичной (потребительской) упаковки лекарственного препарата
(hcsdo:ComponentQuantity)
количество комплектующих устройств в составе вторичной (потребительской) упаковки лекарственного препаратаM.HC.SDE.00018csdo:Quantity4Type (M.SDT.00097)
Целое неотрицательное число в десятичной системе счисления.
Макс. кол-во цифр: 4
0..1
    *.4.4. Материал изготовления комплектующего устройства
(hcsdo:ComponentMaterialDescriptionText)
описание материала, из которого изготовлено комплектующее устройство, входящее в упаковку лекарственного препаратаM.HC.SDE.00019csdo:Text4000Type (M.SDT.00088)
Строка символов.
Мин. длина: 1.
Макс. длина: 4000
0..1
   *.5. Код вида вторичной (потребительской) упаковки лекарственного препарата
(hcsdo:DrugSecondaryPackageKindCode)
кодовое обозначение вида вторичной (потребительской) упаковки лекарственного препаратаM.HC.SDE.00644hcsdo:DrugSecondaryPackageKindCodeType (M.HC.SDT.00023)
Значение кода видов вторичных (потребительских) упаковок лекарственных средств в соответствии со справочником (классификатором), идентификатор которого определен в атрибуте "Идентификатор справочника (классификатора)".
Мин. длина: 1.
Макс. длина: 10
0..1
    а) идентификатор справочника (классификатора)
(атрибут codeListId)
обозначение справочника (классификатора), в соответствии с которым указан код-csdo:ReferenceDataIdType (M.SDT.00091)
Нормализованная строка символов.
Мин. длина: 1.
Макс. длина: 20
1
   *.6. Наименование вида вторичной (потребительской) упаковки лекарственного препарата
(hcsdo:DrugSecondaryPackageKindName)
наименование вида вторичной (потребительской) упаковки лекарственного препаратаM.HC.SDE.00645csdo:Name500Type (M.SDT.00134)
Нормализованная строка символов.
Мин. длина: 1.
Макс. длина: 500
0..1
   *.7. Количество в упаковке лекарственного препарата
(hccdo:PackageMeasureDetails)
количество лекарственного препарата (упакованных единиц лекарственного препарата) во вторичной упаковкеM.HC.CDE.00202hccdo:PackageMeasureDetailsType (M.HC.CDT.00220)
Определяется областями значений вложенных элементов
0..1
    *.7.1. Количество в упаковке лекарственного препарата
(hcsdo:PackageMeasure)
количество лекарственного препарата в упаковкеM.HC.SDE.00194csdo:UnifiedPhysicalMeasureType (M.SDT.00122)
Число в десятичной системе
счисления.
Макс. кол-во цифр: 24.
Макс. кол-во дроб. цифр: 6
0..1
     а) единица измерения
(атрибут measurementUnitCode)
кодовое обозначение единицы измерения-csdo:MeasurementUnitCodeType (M.SDT.00074)
Буквенно-цифровой код.
Шаблон: [0-9A-Z]{2,3}|\d{3,4}
1
     б) идентификатор справочника (классификатора)
(атрибут measurementUnitCodeListId)
идентификатор классификатора единиц измерения-csdo:ReferenceDataIdType (M.SDT.00091)
Нормализованная строка символов.
Мин. длина: 1.
Макс. длина: 20
1
    *.7.2. Нижняя граница интервала количества в упаковке лекарственного препарата
(hcsdo:PackageLowerLimitMeasure)
нижняя граница интервала количества в упаковке лекарственного препаратаM.HC.SDE.00185csdo:UnifiedPhysicalMeasureType (M.SDT.00122)
Число в десятичной системе счисления.
Макс. кол-во цифр: 24.
Макс. кол-во дроб. цифр: 6
0..1
     а) единица измерения
(атрибут measurementUnitCode)
кодовое обозначение единицы измерения-csdo:MeasurementUnitCodeType (M.SDT.00074)
Буквенно-цифровой код.
Шаблон: [0-9A-Z]{2,3}|\d{3,4}
1
б) идентификатор справочника (классификатора)
(атрибут measurementUnitCodeListId)
идентификатор классификатора единиц измерения-csdo:ReferenceDataIdType (M.SDT.00091)
Нормализованная строка символов.
Мин. длина: 1.
Макс. длина: 20
1
    *.7.3. Верхняя граница интервала количества в упаковке лекарственного препарата
(hcsdo:PackageUpperLimitMeasure)
верхняя граница интервала количества в упаковке лекарственного препаратаM.HC.SDE.00184csdo:UnifiedPhysicalMeasureType (M.SDT.00122)
Число в десятичной системе счисления.
Макс. кол-во цифр: 24.
Макс. кол-во дроб. цифр: 6
0..1
     а) единица измерения
(атрибут measurementUnitCode)
кодовое обозначение единицы измерения-csdo:MeasurementUnitCodeType (M.SDT.00074)
Буквенно-цифровой код.
Шаблон: [0-9A-Z]{2,3}|\d{3,4}
1
     б) идентификатор справочника (классификатора)
(атрибут measurementUnitCodeListId)
идентификатор классификатора единиц измерения-csdo:ReferenceDataIdType (M.SDT.00091)
Нормализованная строка символов.
Мин. длина: 1.
Макс. длина: 20
1
   *.8. Признак наличия набора упакованных единиц во вторичной упаковке лекарственного препарата
(hcsdo:DrugSetIndicator)
признак набора упакованных единиц во вторичной упаковке лекарственного препарата:
1 - лекарственный препарат является набором;
0 - лекарственный препарат не является набором
M.HC.SDE.00619bdt:IndicatorType (M.BDT.00013)
Одно из двух значений: "true" (истина) или "false" (ложь)
1
   *.9. Количество упаковок
(csdo:PackageQuantity)
количество лекарственного препарата (упакованных единиц лекарственного препарата) в промежуточной упаковкеM.SDE.00150csdo:Quantity8Type (M.SDT.00156)
Целое неотрицательное число в десятичной системе счисления.
Макс. кол-во цифр: 8
0..1
  2.4.4. Сведения о производителе
(hccdo:ManufacturingAuthorizationHolderDetails)
сведения о производителе лекарственного препаратаM.HC.CDE.00088hccdo:ManufacturingAuthorizationHolderDetailsType (M.HC.CDT.00654)
Определяется областями значений вложенных элементов
1..*
   а) код языка
(атрибут languageCode)
кодовое обозначение языка, в соответствии с которым заполнены сведения-csdo:LanguageCodeType (M.SDT.00051)
Двухбуквенный код языка в соответствии с ISO 639-1.
Шаблон: [a-z]{2}
0..1
   *.1. Код страны
(csdo:UnifiedCountryCode)
кодовое обозначение страны регистрации хозяйствующего субъектаM.SDE.00162csdo:UnifiedCountryCodeType (M.SDT.00112)
Значение двухбуквенного кода страны в соответствии со справочником (классификатором), идентификатор которого определен в атрибуте "Идентификатор справочника (классификатора)".
Шаблон: [A-Z]{2}
0..1
    а) идентификатор справочника (классификатора)
(атрибут codeListId)
обозначение справочника (классификатора), в соответствии с которым указан код-csdo:ReferenceDataIdType (M.SDT.00091)
Нормализованная строка символов.
Мин. длина: 1.
Макс. длина: 20
1
   *.2. Наименование хозяйствующего субъекта
(csdo:BusinessEntityName)
полное наименование хозяйствующего субъекта или фамилия, имя и отчество физического лица, ведущего хозяйственную деятельностьM.SDE.00187csdo:Name300Type (M.SDT.00056)
Нормализованная строка символов.
Мин. длина: 1.
Макс. длина: 300
0..1
   *.3. Краткое наименование хозяйствующего субъекта
(csdo:BusinessEntityBriefName)
сокращенное наименование хозяйствующего субъекта или фамилия, имя и отчество физического лица, ведущего хозяйственную деятельностьM.SDE.00188csdo:Name120Type (M.SDT.00055)
Нормализованная строка символов.
Мин. длина: 1.
Макс. длина: 120
0..1
   *.4. Код организационно-правовой формы
(csdo:BusinessEntityTypeCode)
кодовое обозначение организационно-правовой формы, в которой зарегистрирован хозяйствующий субъектM.SDE.00023csdo:UnifiedCode20Type (M.SDT.00140)
Значение кода в соответствии со справочником (классификатором), идентификатор которого определен в атрибуте "Идентификатор справочника (классификатора)".
Мин. длина: 1.
Макс. длина: 20
0..1
    а) идентификатор справочника (классификатора)
(атрибут codeListId)
обозначение справочника (классификатора), в соответствии с которым указан код-csdo:ReferenceDataIdType (M.SDT.00091)
Нормализованная строка символов.
Мин. длина: 1.
Макс. длина: 20
1
   *.5. Наименование организационно-правовой формы
(csdo:BusinessEntityTypeName)
наименование организационно-правовой формы, в которой зарегистрирован хозяйствующий субъектM.SDE.00090csdo:Name300Type (M.SDT.00056)
Нормализованная строка символов.
Мин. длина: 1.
Макс. длина: 300
0..1
   *.6. Идентификатор хозяйствующего субъекта
(csdo:BusinessEntityId)
номер (код) записи по реестру (регистру), присвоенный при государственной регистрацииM.SDE.00189csdo:BusinessEntityIdType (M.SDT.00157)
Нормализованная строка символов.
Мин. длина: 1.
Макс. длина: 20
0..1
    а) метод идентификации
(атрибут kindId)
метод идентификации хозяйствующих субъектов-csdo:BusinessEntityIdKindIdType (M.SDT.00158)
Значение идентификатора из справочника методов идентификации хозяйствующих субъектов.
Мин. длина: 1.
Макс. длина: 20
1
   *.7. Уникальный идентификационный таможенный номер
(csdo:UniqueCustomsNumberId)
уникальный идентификационный номер хозяйствующего субъекта, предназначенный для целей таможенного контроляM.SDE.00135csdo:UniqueCustomsNumberIdType (M.SDT.00089)
Нормализованная строка символов.
Мин. длина: 1.
Макс. длина: 17
0..1
*.8. Идентификатор налогоплательщика
(csdo:TaxpayerId)
идентификатор хозяйствующего субъекта в реестре налогоплательщиков страны регистрации налогоплательщикаM.SDE.00025csdo:TaxpayerIdType (M.SDT.00025)
Значение идентификатора в соответствии с правилами, принятыми в стране регистрации налогоплательщика.
Мин. длина: 1.
Макс. длина: 20
0..1
*.9. Код причины постановки на учет
(csdo:TaxRegistrationReasonCode)
код, идентифицирующий причину постановки хозяйствующего субъекта на налоговый учет в Российской ФедерацииM.SDE.00030csdo:TaxRegistrationReasonCodeType (M.SDT.00030)
Нормализованная строка символов.
Шаблон: \d{9}
0..1
   *.10. Адрес
(ccdo:AddressV4Details)
адрес хозяйствующего субъектаM.CDE.00076ccdo:AddressDetailsV4Type (M.CDT.00079)
Определяется областями значений вложенных элементов
0..*
    *.10.1. Код вида адреса
(csdo:AddressKindCode)
кодовое обозначение вида адресаM.SDE.00192csdo:AddressKindCodeType (M.SDT.00162)
Значение кода в соответствии со справочником видов адресов.
Мин. длина: 1.
Макс. длина: 20
0..1
    *.10.2. Код страны
(csdo:UnifiedCountryCode)
кодовое обозначение страныM.SDE.00162csdo:UnifiedCountryCodeType (M.SDT.00112)
Значение двухбуквенного кода страны в соответствии со справочником (классификатором), идентификатор которого определен в атрибуте "Идентификатор справочника (классификатора)".
Шаблон: [A-Z]{2}
0..1
     а) идентификатор справочника (классификатора)
(атрибут codeListId)
обозначение справочника (классификатора), в соответствии с которым указан код-csdo:ReferenceDataIdType (M.SDT.00091)
Нормализованная строка символов.
Мин. длина: 1.
Макс. длина: 20
1
    *.10.3. Код территории
(csdo:TerritoryCode)
код единицы административно-территориального деленияM.SDE.00031csdo:TerritoryCodeType (M.SDT.00031)
Нормализованная строка символов.
Мин. длина: 1.
Макс. длина: 17
0..1
    *.10.4. Регион
(csdo:RegionName)
наименование единицы административно-территориального деления первого уровняM.SDE.00007csdo:Name120Type (M.SDT.00055)
Нормализованная строка символов.
Мин. длина: 1.
Макс. длина: 120
0..1
    *.10.5. Район
(csdo:DistrictName)
наименование единицы административно-территориального деления второго уровняM.SDE.00008csdo:Name120Type (M.SDT.00055)
Нормализованная строка символов.
Мин. длина: 1.
Макс. длина: 120
0..1
    *.10.6. Город
(csdo:CityName)
наименование городаM.SDE.00009csdo:Name120Type (M.SDT.00055)
Нормализованная строка символов.
Мин. длина: 1.
Макс. длина: 120
0..1
    *.10.7. Населенный пункт
(csdo:SettlementName)
наименование населенного пунктаM.SDE.00057csdo:Name120Type (M.SDT.00055)
Нормализованная строка символов.
Мин. длина: 1.
Макс. длина: 120
0..1
    *.10.8. Улица
(csdo:StreetName)
наименование элемента улично-дорожной сети городской инфраструктурыM.SDE.00010csdo:Name120Type (M.SDT.00055)
Нормализованная строка символов.
Мин. длина: 1.
Макс. длина: 120
0..1
    *.10.9. Номер дома
(csdo:BuildingNumberId)
обозначение дома, корпуса, строенияM.SDE.00011csdo:Id50Type (M.SDT.00093)
Нормализованная строка символов.
Мин. длина: 1.
Макс. длина: 50
0..1
    *.10.10. Номер помещения
(csdo:RoomNumberId)
обозначение офиса или квартирыM.SDE.00012csdo:Id20Type (M.SDT.00092)
Нормализованная строка символов.
Мин. длина: 1.
Макс. длина: 20
0..1
    *.10.11. Почтовый индекс
(csdo:PostCode)
почтовый индекс предприятия почтовой связиM.SDE.00006csdo:PostCodeType (M.SDT.00006)
Нормализованная строка символов.
Шаблон: [A-Z0-9][A-Z0-9-]{1,8}[A-Z0-9]
0..1
    *.10.12. Номер абонентского ящика
(csdo:PostOfficeBoxId)
номер абонентского ящика на предприятии почтовой связиM.SDE.00013csdo:Id20Type (M.SDT.00092)
Нормализованная строка символов.
Мин. длина: 1.
Макс. длина: 20
0..1
    *.10.13. Адрес в текстовой форме
(csdo:AddressText)
набор элементов адреса, представленных в свободной форме в виде текстаM.SDE.00005csdo:Text1000Type (M.SDT.00071)
Строка символов.
Мин. длина: 1.
Макс. длина: 1000
0..1
   *.11. Контактный реквизит
(ccdo:CommunicationDetails)
контактный реквизит хозяйствующего субъектаM.CDE.00003ccdo:CommunicationDetailsType (M.CDT.00003)
Определяется областями значений вложенных элементов
0..*
    *.11.1. Код вида связи
(csdo:CommunicationChannelCode)
кодовое обозначение вида средства (канала) связи (телефон, факс, электронная почта и др.)M.SDE.00014csdo:CommunicationChannelCodeV2Type (M.SDT.00163)
Значение кода в соответствии с перечнем видов средств (каналов) связи.
Мин. длина: 1.
Макс. длина: 20
0..1
    *.11.2. Наименование вида связи
(csdo:CommunicationChannelName)
наименование вида средства (канала) связи (телефон, факс, электронная почта и др.)M.SDE.00093csdo:Name120Type (M.SDT.00055)
Нормализованная строка символов.
Мин. длина: 1.
Макс. длина: 120
0..1
    *.11.3. Идентификатор канала связи
(csdo:CommunicationChannelId)
последовательность символов, идентифицирующая канал связи (указание номера телефона, факса, адреса электронной почты и др.)M.SDE.00015csdo:CommunicationChannelIdType (M.SDT.00015)
Нормализованная строка символов.
Мин. длина: 1.
Макс. длина: 1000
1..*
   *.12. Сведения о производственной площадке
(hccdo:ManufacturingAreaDetails)
сведения о производственной площадкеM.HC.CDE.00268hccdo:ManufacturingAreaDetailsType (M.HC.CDT.00250)
Определяется областями значений вложенных элементов
0..*
    *.12.1. Сведения о хозяйствующем субъекте
(hccdo:BusinessEntityExpandedDetails)
сведения о хозяйствующем субъектеM.HC.CDE.00136hccdo:BusinessEntityExpandedDetailsType (M.HC.CDT.00108)
Определяется областями значений вложенных элементов
0..1
     *.12.1.1. Код страны
(csdo:UnifiedCountryCode)
кодовое обозначение страны регистрации хозяйствующего субъектаM.SDE.00162csdo:UnifiedCountryCodeType (M.SDT.00112)
Значение двухбуквенного кода страны в соответствии со справочником (классификатором), идентификатор которого определен в атрибуте "Идентификатор справочника (классификатора)".
Шаблон: [A-Z]{2}
0..1
      а) идентификатор справочника (классификатора)
(атрибут codeListId)
обозначение справочника (классификатора), в соответствии с которым указан код-csdo:ReferenceDataIdType (M.SDT.00091)
Нормализованная строка символов.
Мин. длина: 1.
Макс. длина: 20
1
     *.12.1.2. Наименование хозяйствующего субъекта
(csdo:BusinessEntityName)
полное наименование хозяйствующего субъекта или фамилия, имя и отчество физического лица, ведущего хозяйственную деятельностьM.SDE.00187csdo:Name300Type (M.SDT.00056)
Нормализованная строка символов.
Мин. длина: 1.
Макс. длина: 300
0..1
     *.12.1.3. Краткое наименование хозяйствующего субъекта
(csdo:BusinessEntityBriefName)
сокращенное наименование хозяйствующего субъекта или фамилия, имя и отчество физического лица, ведущего хозяйственную деятельностьM.SDE.00188csdo:Name120Type (M.SDT.00055)
Нормализованная строка символов.
Мин. длина: 1.
Макс. длина: 120
0..1
*.12.1.4. Код организационно-правовой формы
(csdo:BusinessEntityTypeCode)
кодовое обозначение организационно-правовой формы, в которой зарегистрирован хозяйствующий субъектM.SDE.00023csdo:UnifiedCode20Type (M.SDT.00140)
Значение кода в соответствии со справочником (классификатором), идентификатор которого определен в атрибуте "Идентификатор справочника (классификатора)".
Мин. длина: 1.
Макс. длина: 20
0..1
      а) идентификатор справочника (классификатора)
(атрибут codeListId)
обозначение справочника (классификатора), в соответствии с которым указан код-csdo:ReferenceDataIdType (M.SDT.00091)
Нормализованная строка символов.
Мин. длина: 1.
Макс. длина: 20
1
     *.12.1.5. Наименование организационно-правовой формы
(csdo:BusinessEntityTypeName)
наименование организационно-правовой формы, в которой зарегистрирован хозяйствующий субъектM.SDE.00090csdo:Name300Type (M.SDT.00056)
Нормализованная строка символов.
Мин. длина: 1.
Макс. длина: 300
0..1
     *.12.1.6. Идентификатор хозяйствующего субъекта
(csdo:BusinessEntityId)
номер (код) записи по реестру (регистру), присвоенный при государственной регистрацииM.SDE.00189csdo:BusinessEntityIdType (M.SDT.00157)
Нормализованная строка символов.
Мин. длина: 1.
Макс. длина: 20
0..1
      а) метод идентификации
(атрибут kindId)
метод идентификации хозяйствующих субъектов-csdo:BusinessEntityIdKindIdType (M.SDT.00158)
Значение идентификатора из справочника методов идентификации хозяйствующих субъектов.
Мин. длина: 1.
Макс. длина: 20
1
     *.12.1.7. Уникальный идентификационный таможенный номер
(csdo:UniqueCustomsNumberId)
уникальный идентификационный номер хозяйствующего субъекта, предназначенный для целей таможенного контроляM.SDE.00135csdo:UniqueCustomsNumberIdType (M.SDT.00089)
Нормализованная строка символов.
Мин. длина: 1.
Макс. длина: 17
0..1
*.12.1.8. Идентификатор налогоплательщика
(csdo:TaxpayerId)
идентификатор хозяйствующего субъекта в реестре налогоплательщиков страны регистрации налогоплательщикаM.SDE.00025csdo:TaxpayerIdType (M.SDT.00025)
Значение идентификатора в соответствии с правилами, принятыми в стране регистрации налогоплательщика.
Мин. длина: 1.
Макс. длина: 20
0..1
     *.12.1.9. Код причины постановки на учет
(csdo:TaxRegistrationReasonCode)
код, идентифицирующий причину постановки хозяйствующего субъекта на налоговый учет в Российской ФедерацииM.SDE.00030csdo:TaxRegistrationReasonCodeType (M.SDT.00030)
Нормализованная строка символов.
Шаблон: \d{9}
0..1
*.12.1.10. Адрес
(ccdo:AddressV4Details)
адрес хозяйствующего субъектаM.CDE.00076ccdo:AddressDetailsV4Type (M.CDT.00079)
Определяется областями значений вложенных элементов
0..*
      *.12.1.10.1. Код вида адреса
(csdo:AddressKindCode)
кодовое обозначение вида адресаM.SDE.00192csdo:AddressKindCodeType (M.SDT.00162)
Значение кода в соответствии со справочником видов адресов.
Мин. длина: 1.
Макс. длина: 20
0..1
      *.12.1.10.2. Код страны
(csdo:UnifiedCountryCode)
кодовое обозначение страныM.SDE.00162csdo:UnifiedCountryCodeType (M.SDT.00112)
Значение двухбуквенного кода страны в соответствии со справочником (классификатором), идентификатор которого определен в атрибуте "Идентификатор справочника (классификатора)".
Шаблон: [A-Z]{2}
0..1
       а) идентификатор справочника (классификатора)
(атрибут codeListId)
обозначение справочника (классификатора), в соответствии с которым указан код-csdo:ReferenceDataIdType (M.SDT.00091)
Нормализованная строка символов.
Мин. длина: 1.
Макс. длина: 20
1
      *.12.1.10.3. Код территории
(csdo:TerritoryCode)
код единицы административно-территориального деленияM.SDE.00031csdo:TerritoryCodeType (M.SDT.00031)
Нормализованная строка символов.
Мин. длина: 1.
Макс. длина: 17
0..1
      *.12.1.10.4. Регион
(csdo:RegionName)
наименование единицы административно-территориального деления первого уровняM.SDE.00007csdo:Name120Type (M.SDT.00055)
Нормализованная строка символов.
Мин. длина: 1.
Макс. длина: 120
0..1
      *.12.1.10.5. Район
(csdo:DistrictName)
наименование единицы административно-территориального деления второго уровняM.SDE.00008csdo:Name120Type (M.SDT.00055)
Нормализованная строка символов.
Мин. длина: 1.
Макс. длина: 120
0..1
      *.12.1.10.6. Город
(csdo:CityName)
наименование городаM.SDE.00009csdo:Name120Type (M.SDT.00055)
Нормализованная строка символов.
Мин. длина: 1.
Макс. длина: 120
0..1
      *.12.1.10.7. Населенный пункт
(csdo:SettlementName)
наименование населенного пунктаM.SDE.00057csdo:Name120Type (M.SDT.00055)
Нормализованная строка символов.
Мин. длина: 1.
Макс. длина: 120
0..1
      *.12.1.10.8. Улица
(csdo:StreetName)
наименование элемента улично-дорожной сети городской инфраструктурыM.SDE.00010csdo:Name120Type (M.SDT.00055)
Нормализованная строка символов.
Мин. длина: 1.
Макс. длина: 120
0..1
      *.12.1.10.9. Номер дома
(csdo:BuildingNumberId)
обозначение дома, корпуса, строенияM.SDE.00011csdo:Id50Type (M.SDT.00093)
Нормализованная строка символов.
Мин. длина: 1.
Макс. длина: 50
0..1
      *.12.1.10.10. Номер помещения
(csdo:RoomNumberId)
обозначение офиса или квартирыM.SDE.00012csdo:Id20Type (M.SDT.00092)
Нормализованная строка символов.
Мин. длина: 1.
Макс. длина: 20
0..1
      *.12.1.10.11. Почтовый индекс
(csdo:PostCode)
почтовый индекс предприятия почтовой связиM.SDE.00006csdo:PostCodeType (M.SDT.00006)
Нормализованная строка символов.
Шаблон: [A-Z0-9][A-Z0-9-]{1,8}[A-Z0-9]
0..1
      *.12.1.10.12. Номер абонентского ящика
(csdo:PostOfficeBoxId)
номер абонентского ящика на предприятии почтовой связиM.SDE.00013csdo:Id20Type (M.SDT.00092)
Нормализованная строка символов.
Мин. длина: 1.
Макс. длина: 20
0..1
      *.12.1.10.13. Адрес в текстовой форме
(csdo:AddressText)
набор элементов адреса, представленных в свободной форме в виде текстаM.SDE.00005csdo:Text1000Type (M.SDT.00071)
Строка символов.
Мин. длина: 1.
Макс. длина: 1000
0..1
     *.12.1.11. Контактный реквизит
(ccdo:CommunicationDetails)
контактный реквизит хозяйствующего субъектаM.CDE.00003ccdo:CommunicationDetailsType (M.CDT.00003)
Определяется областями значений вложенных элементов
0..*
      *.12.1.11.1. Код вида связи
(csdo:CommunicationChannelCode)
кодовое обозначение вида средства (канала) связи (телефон, факс, электронная почта и др.)M.SDE.00014csdo:CommunicationChannelCodeV2Type (M.SDT.00163)
Значение кода в соответствии с перечнем видов средств (каналов) связи.
Мин. длина: 1.
Макс. длина: 20
0..1
      *.12.1.11.2. Наименование вида связи
(csdo:CommunicationChannelName)
наименование вида средства (канала) связи (телефон, факс, электронная почта и др.)M.SDE.00093csdo:Name120Type (M.SDT.00055)
Нормализованная строка символов.
Мин. длина: 1.
Макс. длина: 120
0..1
      *.12.1.11.3. Идентификатор канала связи
(csdo:CommunicationChannelId)
последовательность символов, идентифицирующая канал связи (указание номера телефона, факса, адреса электронной почты и др.)M.SDE.00015csdo:CommunicationChannelIdType (M.SDT.00015)
Нормализованная строка символов.
Мин. длина: 1.
Макс. длина: 1000
1..*
    *.12.2. Сведения об этапе производства
(hccdo:ManufactureStageDetails)
сведения об этапе производстваM.HC.CDE.00769hccdo:ManufactureStageDetailsType (M.HC.CDT.00795)
Определяется областями значений вложенных элементов
1..*
     *.12.2.1. Код этапа производства лекарственного средства
(hcsdo:ManufacturingStageCode)
кодовое обозначение этапа производства лекарственного средстваM.HC.SDE.00026hcsdo:ManufacturingStageCodeType (M.HC.SDT.00006)
Значение кода этапа (стадии) производства в соответствии со справочником (классификатором), идентификатор которого определен в атрибуте "Идентификатор справочника (классификатора)".
Мин. длина: 1.
Макс. длина: 3
0..1
      а) идентификатор справочника (классификатора)
(атрибут codeListId)
обозначение справочника (классификатора), в соответствии с которым указан код-csdo:ReferenceDataIdType (M.SDT.00091)
Нормализованная строка символов.
Мин. длина: 1.
Макс. длина: 20
1
     *.12.2.2. Наименование этапа производства лекарственного средства
(hcsdo:ManufacturingStageName)
наименование этапа производства лекарственного средстваM.HC.SDE.00065csdo:Name500Type (M.SDT.00134)
Нормализованная строка символов.
Мин. длина: 1.
Макс. длина: 500
0..1
  2.4.5. Код АТХ
(hcsdo:ATCCode)
кодовое обозначение лекарственного препарата в соответствии с анатомо-терапевтической-химической классификациейM.HC.SDE.00009hcsdo:ATCCodeType (M.HC.SDT.00004)
Значение кода АТХ в соответствии со справочником (классификатором), идентификатор которого определен в атрибуте "Идентификатор справочника (классификатора)".
Шаблон: [ABCDGHJLMNPRSV]\d{2}[A-Z]{2}\d{2}
0..*
   а) идентификатор справочника (классификатора)
(атрибут codeListId)
обозначение справочника (классификатора), в соответствии с которым указан код-csdo:ReferenceDataIdType (M.SDT.00091)
Нормализованная строка символов.
Мин. длина: 1.
Макс. длина: 20
1
  2.4.6. Наименование лекарственного препарата в соответствии с АТХ классификацией
(hcsdo:ATCName)
наименование лекарственного препарата в соответствии с анатомо-терапевтической-химической классификациейM.HC.SDE.00269csdo:Name250Type (M.SDT.00068)
Нормализованная строка символов.
Мин. длина: 1.
Макс. длина: 250
0..*
  2.4.7. Описание
(csdo:DescriptionText)
описание условий отпуска лекарственного препаратаM.SDE.00002csdo:Text4000Type (M.SDT.00088)
Строка символов.
Мин. длина: 1.
Макс. длина: 4000
0..1
  2.4.8. Сведения о дополнительном признаке лекарственного препарата
(hccdo:DrugAdditionalFeatureDetails)
сведения о дополнительном признаке лекарственного препаратаM.HC.CDE.00848hccdo:DrugAdditionalFeatureDetailsType (M.HC.CDT.00764)
Определяется областями значений вложенных элементов
0..*
   *.1. Код дополнительного признака лекарственного препарата
(hcsdo:DrugAdditionalFeatureCode)
кодовое обозначение дополнительного признака лекарственного препаратаM.HC.SDE.00276csdo:Code10Type (M.SDT.00179)
Нормализованная строка символов.
Мин. длина: 1.
Макс. длина: 10
0..1
   *.2. Наименование дополнительного признака лекарственного препарата
(hcsdo:DrugAdditionalFeatureName)
наименование дополнительного признака лекарственного препаратаM.HC.SDE.00773csdo:Name500Type (M.SDT.00134)
Нормализованная строка символов.
Мин. длина: 1.
Макс. длина: 500
0..1
  2.4.9. Код вида регистрируемого лекарственного препарата
(hcsdo:RegistrationDrugKindCode)
кодовое обозначение вида регистрируемого лекарственного препаратаM.HC.SDE.00429csdo:Code10Type (M.SDT.00179)
Нормализованная строка символов.
Мин. длина: 1.
Макс. длина: 10
0..1
  2.4.10. Наименование вида регистрируемого лекарственного препарата
(hcsdo:RegistrationDrugKindName)
наименование вида регистрируемого лекарственного препаратаM.HC.SDE.00894csdo:Name500Type (M.SDT.00134)
Нормализованная строка символов.
Мин. длина: 1.
Макс. длина: 500
0..1
  2.4.11. Сведения о включении лекарственного препарата в список контролируемых
(hccdo:ControlListDetails)
сведения о включении лекарственного препарата в список контролируемыхM.HC.CDE.00267hccdo:ControlListDetailsType (M.HC.CDT.00249)
Определяется областями значений вложенных элементов
0..*
   *.1. Код страны
(csdo:UnifiedCountryCode)
кодовое обозначение страны, в которой лекарственный препарат включен в список контролируемыхM.SDE.00162csdo:UnifiedCountryCodeType (M.SDT.00112)
Значение двухбуквенного кода страны в соответствии со справочником (классификатором), идентификатор которого определен в атрибуте "Идентификатор справочника (классификатора)".
Шаблон: [A-Z]{2}
1
    а) идентификатор справочника (классификатора)
(атрибут codeListId)
обозначение справочника (классификатора), в соответствии с которым указан код-csdo:ReferenceDataIdType (M.SDT.00091)
Нормализованная строка символов.
Мин. длина: 1.
Макс. длина: 20
1
   *.2. Признак психотропного лекарственного препарата
(hcsdo:PsychotropicDrugIndicator)
признак, определяющий принадлежность лекарственного препарата к перечню психотропных:
1 - психотропный;
0 - не психотропный
M.HC.SDE.00027bdt:IndicatorType (M.BDT.00013)
Одно из двух значений: "true" (истина) или "false" (ложь)
0..1
   *.3. Признак наркотического препарата
(hcsdo:NarcoticDrugIndicator)
признак, определяющий принадлежность лекарственного препарата к перечню наркотических:
1 - наркотический;
0 - не наркотический
M.HC.SDE.00022bdt:IndicatorType (M.BDT.00013)
Одно из двух значений: "true" (истина) или "false" (ложь)
0..1
  2.4.12. Сведения об орфанном лекарственном препарате
(hccdo:OrphanDrugV2Details)
сведения об орфанном лекарственном препаратеM.HC.CDE.00273hccdo:OrphanDrugDetailsV2Type (M.HC.CDT.00253)
Определяется областями значений вложенных элементов
0..*
   *.1. Код страны
(csdo:UnifiedCountryCode)
государство-член, присвоившее лекарственному препарату статус орфанногоM.SDE.00162csdo:UnifiedCountryCodeType (M.SDT.00112)
Значение двухбуквенного кода страны в соответствии со справочником (классификатором), идентификатор которого определен в атрибуте "Идентификатор справочника (классификатора)".
Шаблон: [A-Z]{2}
1
    а) идентификатор справочника (классификатора)
(атрибут codeListId)
обозначение справочника (классификатора), в соответствии с которым указан код-csdo:ReferenceDataIdType (M.SDT.00091)
Нормализованная строка символов.
Мин. длина: 1.
Макс. длина: 20
1
   *.2. Код статуса орфанного лекарственного препарата
(hcsdo:OrphanDrugCode)
кодовое обозначение статуса орфанного лекарственного препаратаM.HC.SDE.00475csdo:Code10Type (M.SDT.00179)
Нормализованная строка символов.
Мин. длина: 1.
Макс. длина: 10
1
  2.4.13. Сведения об активной фармацевтической субстанции, используемой при производстве лекарственного препарата
(hccdo:ActiveIngredientDetails)
сведения об активной фармацевтической субстанции, используемой при производстве лекарственного препаратаM.HC.CDE.00587hccdo:ActiveIngredientDetailsType (M.HC.CDT.00659)
Определяется областями значений вложенных элементов
1..*
   *.1. Торговое наименование лекарственного препарата
(hcsdo:DrugTradeName)
наименование активной фармацевтической субстанцииM.HC.SDE.00013csdo:Name300Type (M.SDT.00056)
Нормализованная строка символов.
Мин. длина: 1.
Макс. длина: 300
1
*.2. Сведения о наименовании лекарственного препарата (средства)
(hccdo:DrugNameDetails)
сведения о международном непатентованном наименовании лекарственного средства или общепринятом, группировочном, химическом наименовании лекарственного препаратаM.HC.CDE.00269hccdo:DrugNameDetailsType (M.HC.CDT.00252)
Определяется областями значений вложенных элементов
0..1
    *.2.1. Код наименования активной фармацевтической субстанции
(hcsdo:DrugCode)
кодовое обозначение международного непатентованного наименования или общепринятого, группировочного, химического наименования активной фармацевтической субстанцииM.HC.SDE.00526hcsdo:DrugCodeType (M.HC.SDT.00211)
Значение кода в соответствии со справочником (классификатором), идентификатор которого определен в атрибуте "Идентификатор справочника (классификатора)".
Мин. длина: 1.
Макс. длина: 10
0..1
     а) идентификатор справочника (классификатора)
(атрибут codeListId)
обозначение справочника (классификатора), в соответствии с которым указан код-csdo:ReferenceDataIdType (M.SDT.00091)
Нормализованная строка символов.
Мин. длина: 1.
Макс. длина: 20
1
    *.2.2. Наименование активной фармацевтической субстанции
(hcsdo:DrugName)
группировочное, общепринятое или химическое наименование активной фармацевтической субстанцииM.HC.SDE.00525csdo:Name500Type (M.SDT.00134)
Нормализованная строка символов.
Мин. длина: 1.
Макс. длина: 500
0..1
   *.3. Сведения о производителе
(hccdo:ManufacturingAuthorizationHolderV2Details)
сведения о производителе активной фармацевтической субстанции, осуществляющем выпускающий контроль качестваM.HC.CDE.00304hccdo:ManufacturingAuthorizationHolderDetailsV2Type (M.HC.CDT.00655)
Определяется областями значений вложенных элементов
1..*
    а) код языка
(атрибут languageCode)
кодовое обозначение языка, в соответствии с которым заполнены сведения-csdo:LanguageCodeType (M.SDT.00051)
Двухбуквенный код языка в соответствии с ISO 639-1.
Шаблон: [a-z]{2}
0..1
    *.3.1. Код страны
(csdo:UnifiedCountryCode)
кодовое обозначение страны регистрации хозяйствующего субъектаM.SDE.00162csdo:UnifiedCountryCodeType (M.SDT.00112)
Значение двухбуквенного кода страны в соответствии со справочником (классификатором), идентификатор которого определен в атрибуте "Идентификатор справочника (классификатора)".
Шаблон: [A-Z]{2}
0..1
     а) идентификатор справочника (классификатора)
(атрибут codeListId)
обозначение справочника (классификатора), в соответствии с которым указан код-csdo:ReferenceDataIdType (M.SDT.00091)
Нормализованная строка символов.
Мин. длина: 1.
Макс. длина: 20
1
    *.3.2. Наименование хозяйствующего субъекта
(csdo:BusinessEntityName)
полное наименование хозяйствующего субъекта или фамилия, имя и отчество физического лица, ведущего хозяйственную деятельностьM.SDE.00187csdo:Name300Type (M.SDT.00056)
Нормализованная строка символов.
Мин. длина: 1.
Макс. длина: 300
0..1
    *.3.3. Краткое наименование хозяйствующего субъекта
(csdo:BusinessEntityBriefName)
сокращенное наименование хозяйствующего субъекта или фамилия, имя и отчество физического лица, ведущего хозяйственную деятельностьM.SDE.00188csdo:Name120Type (M.SDT.00055)
Нормализованная строка символов.
Мин. длина: 1.
Макс. длина: 120
0..1
    *.3.4. Код организационно-правовой формы
(csdo:BusinessEntityTypeCode)
кодовое обозначение организационно-правовой формы, в которой зарегистрирован хозяйствующий субъектM.SDE.00023csdo:UnifiedCode20Type (M.SDT.00140)
Значение кода в соответствии со справочником (классификатором), идентификатор которого определен в атрибуте "Идентификатор справочника (классификатора)".
Мин. длина: 1.
Макс. длина: 20
0..1
     а) идентификатор справочника (классификатора)
(атрибут codeListId)
обозначение справочника (классификатора), в соответствии с которым указан код-csdo:ReferenceDataIdType (M.SDT.00091)
Нормализованная строка символов.
Мин. длина: 1.
Макс. длина: 20
1
    *.3.5. Наименование организационно-правовой формы
(csdo:BusinessEntityTypeName)
наименование организационно-правовой формы, в которой зарегистрирован хозяйствующий субъектM.SDE.00090csdo:Name300Type (M.SDT.00056)
Нормализованная строка символов.
Мин. длина: 1.
Макс. длина: 300
0..1
    *.3.6. Идентификатор хозяйствующего субъекта
(csdo:BusinessEntityId)
номер (код) записи по реестру (регистру), присвоенный при государственной регистрацииM.SDE.00189csdo:BusinessEntityIdType (M.SDT.00157)
Нормализованная строка символов.
Мин. длина: 1.
Макс. длина: 20
0..1
     а) метод идентификации
(атрибут kindId)
метод идентификации хозяйствующих субъектов-csdo:BusinessEntityIdKindIdType (M.SDT.00158)
Значение идентификатора из справочника методов идентификации хозяйствующих субъектов.
Мин. длина: 1.
Макс. длина: 20
1
    *.3.7. Уникальный идентификационный таможенный номер
(csdo:UniqueCustomsNumberId)
уникальный идентификационный номер хозяйствующего субъекта, предназначенный для целей таможенного контроляM.SDE.00135csdo:UniqueCustomsNumberIdType (M.SDT.00089)
Нормализованная строка символов.
Мин. длина: 1.
Макс. длина: 17
0..1
    *.3.8. Идентификатор налогоплательщика
(csdo:TaxpayerId)
идентификатор хозяйствующего субъекта в реестре налогоплательщиков страны регистрации налогоплательщикаM.SDE.00025csdo:TaxpayerIdType (M.SDT.00025)
Значение идентификатора в соответствии с правилами, принятыми в стране регистрации налогоплательщика.
Мин. длина: 1.
Макс. длина: 20
0..1
    *.3.9. Код причины постановки на учет
(csdo:TaxRegistrationReasonCode)
код, идентифицирующий причину постановки хозяйствующего субъекта на налоговый учет в Российской ФедерацииM.SDE.00030csdo:TaxRegistrationReasonCodeType (M.SDT.00030)
Нормализованная строка символов.
Шаблон: \d{9}
0..1
    *.3.10. Адрес
(ccdo:AddressV4Details)
адрес хозяйствующего субъектаM.CDE.00076ccdo:AddressDetailsV4Type (M.CDT.00079)
Определяется областями значений вложенных элементов
0..*
     *.3.10.1. Код вида адреса
(csdo:AddressKindCode)
кодовое обозначение вида адресаM.SDE.00192csdo:AddressKindCodeType (M.SDT.00162)
Значение кода в соответствии со справочником видов адресов.
Мин. длина: 1.
Макс. длина: 20
0..1
     *.3.10.2. Код страны
(csdo:UnifiedCountryCode)
кодовое обозначение страныM.SDE.00162csdo:UnifiedCountryCodeType (M.SDT.00112)
Значение двухбуквенного кода страны в соответствии со справочником (классификатором), идентификатор которого определен в атрибуте "Идентификатор справочника (классификатора)".
Шаблон: [A-Z]{2}
0..1
      а) идентификатор справочника (классификатора)
(атрибут codeListId)
обозначение справочника (классификатора), в соответствии с которым указан код-csdo:ReferenceDataIdType (M.SDT.00091)
Нормализованная строка символов.
Мин. длина: 1.
Макс. длина: 20
1
     *.3.10.3. Код территории
(csdo:TerritoryCode)
код единицы административно-территориального деленияM.SDE.00031csdo:TerritoryCodeType (M.SDT.00031)
Нормализованная строка символов.
Мин. длина: 1.
Макс. длина: 17
0..1
     *.3.10.4. Регион
(csdo:RegionName)
наименование единицы административно-территориального деления первого уровняM.SDE.00007csdo:Name120Type (M.SDT.00055)
Нормализованная строка символов.
Мин. длина: 1.
Макс. длина: 120
0..1
     *.3.10.5. Район
(csdo:DistrictName)
наименование единицы административно-территориального деления второго уровняM.SDE.00008csdo:Name120Type (M.SDT.00055)
Нормализованная строка символов.
Мин. длина: 1.
Макс. длина: 120
0..1
     *.3.10.6. Город
(csdo:CityName)
наименование городаM.SDE.00009csdo:Name120Type (M.SDT.00055)
Нормализованная строка символов.
Мин. длина: 1.
Макс. длина: 120
0..1
     *.3.10.7. Населенный пункт
(csdo:SettlementName)
наименование населенного пунктаM.SDE.00057csdo:Name120Type (M.SDT.00055)
Нормализованная строка символов.
Мин. длина: 1.
Макс. длина: 120
0..1
     *.3.10.8. Улица
(csdo:StreetName)
наименование элемента улично-дорожной сети городской инфраструктурыM.SDE.00010csdo:Name120Type (M.SDT.00055)
Нормализованная строка символов.
Мин. длина: 1.
Макс. длина: 120
0..1
     *.3.10.9. Номер дома
(csdo:BuildingNumberId)
обозначение дома, корпуса, строенияM.SDE.00011csdo:Id50Type (M.SDT.00093)
Нормализованная строка символов.
Мин. длина: 1.
Макс. длина: 50
0..1
     *.3.10.10. Номер помещения
(csdo:RoomNumberId)
обозначение офиса или квартирыM.SDE.00012csdo:Id20Type (M.SDT.00092)
Нормализованная строка символов.
Мин. длина: 1.
Макс. длина: 20
0..1
     *.3.10.11. Почтовый индекс
(csdo:PostCode)
почтовый индекс предприятия почтовой связиM.SDE.00006csdo:PostCodeType (M.SDT.00006)
Нормализованная строка символов.
Шаблон: [A-Z0-9][A-Z0-9-]{1,8}[A-Z0-9]
0..1
     *.3.10.12. Номер абонентского ящика
(csdo:PostOfficeBoxId)
номер абонентского ящика на предприятии почтовой связиM.SDE.00013csdo:Id20Type (M.SDT.00092)
Нормализованная строка символов.
Мин. длина: 1.
Макс. длина: 20
0..1
     *.3.10.13. Адрес в текстовой форме
(csdo:AddressText)
набор элементов адреса, представленных в свободной форме в виде текстаM.SDE.00005csdo:Text1000Type (M.SDT.00071)
Строка символов.
Мин. длина: 1.
Макс. длина: 1000
0..1
    *.3.11. Контактный реквизит
(ccdo:CommunicationDetails)
контактный реквизит хозяйствующего субъектаM.CDE.00003ccdo:CommunicationDetailsType (M.CDT.00003)
Определяется областями значений вложенных элементов
0..*
     *.3.11.1. Код вида связи
(csdo:CommunicationChannelCode)
кодовое обозначение вида средства (канала) связи (телефон, факс, электронная почта и др.)M.SDE.00014csdo:CommunicationChannelCodeV2Type (M.SDT.00163)
Значение кода в соответствии с перечнем видов средств (каналов) связи.
Мин. длина: 1.
Макс. длина: 20
0..1
     *.3.11.2. Наименование вида связи
(csdo:CommunicationChannelName)
наименование вида средства (канала) связи (телефон, факс, электронная почта и др.)M.SDE.00093csdo:Name120Type (M.SDT.00055)
Нормализованная строка символов.
Мин. длина: 1.
Макс. длина: 120
0..1
     *.3.11.3. Идентификатор канала связи
(csdo:CommunicationChannelId)
последовательность символов, идентифицирующая канал связи (указание номера телефона, факса, адреса электронной почты и др.)M.SDE.00015csdo:CommunicationChannelIdType (M.SDT.00015)
Нормализованная строка символов.
Мин. длина: 1.
Макс. длина: 1000
1..*
 2.5. Описание
(csdo:DescriptionText)
описание условий отпуска лекарственного препаратаM.SDE.00002csdo:Text4000Type (M.SDT.00088)
Строка символов.
Мин. длина: 1.
Макс. длина: 4000
0..1
 2.6. Сведения о держателе (заявителе) регистрационного удостоверения
(hccdo:RegistrationCertificateHolderDetails)
сведения об организации - держателе регистрационного удостоверения на лекарственный препарат или о заявителе, подавшем заявление на регистрацию лекарственного препаратаM.HC.CDE.00089hccdo:BusinessEntityExpandedDetailsType (M.HC.CDT.00108)
Определяется областями значений вложенных элементов
0..1
  2.6.1. Код страны
(csdo:UnifiedCountryCode)
кодовое обозначение страны регистрации хозяйствующего субъектаM.SDE.00162csdo:UnifiedCountryCodeType (M.SDT.00112)
Значение двухбуквенного кода страны в соответствии со справочником (классификатором), идентификатор которого определен в атрибуте "Идентификатор справочника (классификатора)".
Шаблон: [A-Z]{2}
0..1
   а) идентификатор справочника (классификатора)
(атрибут codeListId)
обозначение справочника (классификатора), в соответствии с которым указан код-csdo:ReferenceDataIdType (M.SDT.00091)
Нормализованная строка символов.
Мин. длина: 1.
Макс. длина: 20
1
  2.6.2. Наименование хозяйствующего субъекта
(csdo:BusinessEntityName)
полное наименование хозяйствующего субъекта или фамилия, имя и отчество физического лица, ведущего хозяйственную деятельностьM.SDE.00187csdo:Name300Type (M.SDT.00056)
Нормализованная строка символов.
Мин. длина: 1.
Макс. длина: 300
0..1
  2.6.3. Краткое наименование хозяйствующего субъекта
(csdo:BusinessEntityBriefName)
сокращенное наименование хозяйствующего субъекта или фамилия, имя и отчество физического лица, ведущего хозяйственную деятельностьM.SDE.00188csdo:Name120Type (M.SDT.00055)
Нормализованная строка символов.
Мин. длина: 1.
Макс. длина: 120
0..1
  2.6.4. Код организационно-правовой формы
(csdo:BusinessEntityTypeCode)
кодовое обозначение организационно-правовой формы, в которой зарегистрирован хозяйствующий субъектM.SDE.00023csdo:UnifiedCode20Type (M.SDT.00140)
Значение кода в соответствии со справочником (классификатором), идентификатор которого определен в атрибуте "Идентификатор справочника (классификатора)".
Мин. длина: 1.
Макс. длина: 20
0..1
   а) идентификатор справочника (классификатора)
(атрибут codeListId)
обозначение справочника (классификатора), в соответствии с которым указан код-csdo:ReferenceDataIdType (M.SDT.00091)
Нормализованная строка символов.
Мин. длина: 1.
Макс. длина: 20
1
  2.6.5. Наименование организационно-правовой формы
(csdo:BusinessEntityTypeName)
наименование организационно-правовой формы, в которой зарегистрирован хозяйствующий субъектM.SDE.00090csdo:Name300Type (M.SDT.00056)
Нормализованная строка символов.
Мин. длина: 1.
Макс. длина: 300
0..1
  2.6.6. Идентификатор хозяйствующего субъекта
(csdo:BusinessEntityId)
номер (код) записи по реестру (регистру), присвоенный при государственной регистрацииM.SDE.00189csdo:BusinessEntityIdType (M.SDT.00157)
Нормализованная строка символов.
Мин. длина: 1.
Макс. длина: 20
0..1
   а) метод идентификации
(атрибут kindId)
метод идентификации хозяйствующих субъектов-csdo:BusinessEntityIdKindIdType (M.SDT.00158)
Значение идентификатора из справочника методов идентификации хозяйствующих субъектов.
Мин. длина: 1.
Макс. длина: 20
1
  2.6.7. Уникальный идентификационный таможенный номер
(csdo:UniqueCustomsNumberId)
уникальный идентификационный номер хозяйствующего субъекта, предназначенный для целей таможенного контроляM.SDE.00135csdo:UniqueCustomsNumberIdType (M.SDT.00089)
Нормализованная строка символов.
Мин. длина: 1.
Макс. длина: 17
0..1
  2.6.8. Идентификатор налогоплательщика
(csdo:TaxpayerId)
идентификатор хозяйствующего субъекта в реестре налогоплательщиков страны регистрации налогоплательщикаM.SDE.00025csdo:TaxpayerIdType (M.SDT.00025)
Значение идентификатора в соответствии с правилами, принятыми в стране регистрации налогоплательщика.
Мин. длина: 1.
Макс. длина: 20
0..1
  2.6.9. Код причины постановки на учет
(csdo:TaxRegistrationReasonCode)
код, идентифицирующий причину постановки хозяйствующего субъекта на налоговый учет в Российской ФедерацииM.SDE.00030csdo:TaxRegistrationReasonCodeType (M.SDT.00030)
Нормализованная строка символов.
Шаблон: \d{9}
0..1
  2.6.10. Адрес
(ccdo:AddressV4Details)
адрес хозяйствующего субъектаM.CDE.00076ccdo:AddressDetailsV4Type (M.CDT.00079)
Определяется областями значений вложенных элементов
0..*
   *.1. Код вида адреса
(csdo:AddressKindCode)
кодовое обозначение вида адресаM.SDE.00192csdo:AddressKindCodeType (M.SDT.00162)
Значение кода в соответствии со справочником видов адресов.
Мин. длина: 1.
Макс. длина: 20
0..1
   *.2. Код страны
(csdo:UnifiedCountryCode)
кодовое обозначение страныM.SDE.00162csdo:UnifiedCountryCodeType (M.SDT.00112)
Значение двухбуквенного кода страны в соответствии со справочником (классификатором), идентификатор которого определен в атрибуте "Идентификатор справочника (классификатора)".
Шаблон: [A-Z]{2}
0..1
    а) идентификатор справочника (классификатора)
(атрибут codeListId)
обозначение справочника (классификатора), в соответствии с которым указан код-csdo:ReferenceDataIdType (M.SDT.00091)
Нормализованная строка символов.
Мин. длина: 1.
Макс. длина: 20
1
   *.3. Код территории
(csdo:TerritoryCode)
код единицы административно-территориального деленияM.SDE.00031csdo:TerritoryCodeType (M.SDT.00031)
Нормализованная строка символов.
Мин. длина: 1.
Макс. длина: 17
0..1
   *.4. Регион
(csdo:RegionName)
наименование единицы административно-территориального деления первого уровняM.SDE.00007csdo:Name120Type (M.SDT.00055)
Нормализованная строка символов.
Мин. длина: 1.
Макс. длина: 120
0..1
   *.5. Район
(csdo:DistrictName)
наименование единицы административно-территориального деления второго уровняM.SDE.00008csdo:Name120Type (M.SDT.00055)
Нормализованная строка символов.
Мин. длина: 1.
Макс. длина: 120
0..1
   *.6. Город
(csdo:CityName)
наименование городаM.SDE.00009csdo:Name120Type (M.SDT.00055)
Нормализованная строка символов.
Мин. длина: 1.
Макс. длина: 120
0..1
   *.7. Населенный пункт
(csdo:SettlementName)
наименование населенного пунктаM.SDE.00057csdo:Name120Type (M.SDT.00055)
Нормализованная строка символов.
Мин. длина: 1.
Макс. длина: 120
0..1
   *.8. Улица
(csdo:StreetName)
наименование элемента улично-дорожной сети городской инфраструктурыM.SDE.00010csdo:Name120Type (M.SDT.00055)
Нормализованная строка символов.
Мин. длина: 1.
Макс. длина: 120
0..1
   *.9. Номер дома
(csdo:BuildingNumberId)
обозначение дома, корпуса, строенияM.SDE.00011csdo:Id50Type (M.SDT.00093)
Нормализованная строка символов.
Мин. длина: 1.
Макс. длина: 50
0..1
   *.10. Номер помещения
(csdo:RoomNumberId)
обозначение офиса или квартирыM.SDE.00012csdo:Id20Type (M.SDT.00092)
Нормализованная строка символов.
Мин. длина: 1.
Макс. длина: 20
0..1
   *.11. Почтовый индекс
(csdo:PostCode)
почтовый индекс предприятия почтовой связиM.SDE.00006csdo:PostCodeType (M.SDT.00006)
Нормализованная строка символов.
Шаблон: [A-Z0-9][A-Z0-9-]{1,8}[A-Z0-9]
0..1
   *.12. Номер абонентского ящика
(csdo:PostOfficeBoxId)
номер абонентского ящика на предприятии почтовой связиM.SDE.00013csdo:Id20Type (M.SDT.00092)
Нормализованная строка символов.
Мин. длина: 1.
Макс. длина: 20
0..1
   *.13. Адрес в текстовой форме
(csdo:AddressText)
набор элементов адреса, представленных в свободной форме в виде текстаM.SDE.00005csdo:Text1000Type (M.SDT.00071)
Строка символов.
Мин. длина: 1.
Макс. длина: 1000
0..1
  2.6.11. Контактный реквизит
(ccdo:CommunicationDetails)
контактный реквизит хозяйствующего субъектаM.CDE.00003ccdo:CommunicationDetailsType (M.CDT.00003)
Определяется областями значений вложенных элементов
0..*
    *.1. Код вида связи
(csdo:CommunicationChannelCode)
кодовое обозначение вида средства (канала) связи (телефон, факс, электронная почта и др.)M.SDE.00014csdo:CommunicationChannelCodeV2Type (M.SDT.00163)
Значение кода в соответствии с перечнем видов средств (каналов) связи.
Мин. длина: 1.
Макс. длина: 20
0..1
    *.2. Наименование вида связи
(csdo:CommunicationChannelName)
наименование вида средства (канала) связи (телефон, факс, электронная почта и др.)M.SDE.00093csdo:Name120Type (M.SDT.00055)
Нормализованная строка символов.
Мин. длина: 1.
Макс. длина: 120
0..1
    *.3. Идентификатор канала связи
(csdo:CommunicationChannelId)
последовательность символов, идентифицирующая канал связи (указание номера телефона, факса, адреса электронной почты и др.)M.SDE.00015csdo:CommunicationChannelIdType (M.SDT.00015)
Нормализованная строка символов.
Мин. длина: 1.
Макс. длина: 1000
1..*
 2.7. Технологические характеристики записи общего ресурса
(ccdo:ResourceItemStatusDetails)
совокупность технологических сведений о записи общего ресурсаM.CDE.00032ccdo:ResourceItemStatusDetailsType (M.CDT.00033)
Определяется областями значений вложенных элементов
1
  2.7.1. Период действия
(ccdo:ValidityPeriodDetails)
период действия записи общего ресурса (реестра, перечня, базы данных)M.CDE.00033ccdo:PeriodDetailsType (M.CDT.00026)
Определяется областями значений вложенных элементов
0..1
   *.1. Начальная дата и время
(csdo:StartDateTime)
начальная дата и времяM.SDE.00133bdt:DateTimeType (M.BDT.00006)
Обозначение даты и времени в соответствии с серией стандартов ISO 8601
0..1
   *.2. Конечная дата и время
(csdo:EndDateTime)
конечная дата и времяM.SDE.00134bdt:DateTimeType (M.BDT.00006)
Обозначение даты и времени в соответствии с серией стандартов ISO 8601
0..1
  2.7.2. Дата и время обновления
(csdo:UpdateDateTime)
дата и время обновления записи общего ресурса (реестра, перечня, базы данных)M.SDE.00079bdt:DateTimeType (M.BDT.00006)
Обозначение даты и времени в соответствии с серией стандартов ISO 8601
0..1
 

19. Описание структуры электронного документа (сведений) "Сведения регистрационного дела или регистрационного досье на лекарственный препарат" (R.HC.MM.01.003) приведено в таблице 11.

Таблица 11

Описание структуры электронного документа (сведений) "Сведения регистрационного дела или регистрационного досье на лекарственный препарат" (R.HC.MM.01.003)

N п/пОбозначение элементаОписание
123
1Имясведения регистрационного дела или регистрационного досье на лекарственный препарат
2ИдентификаторR.HC.MM.01.003
3Версия1.3.0
4Определениесведения регистрационного дела или регистрационного досье на лекарственный препарат
5Использование-
6Идентификатор пространства именurn:EEC:R:HC:MM:01:DrugRegistrationDocContentDetails:v1.3.0
7Корневой элемент XML-документаDrugRegistrationDocContentDetails
8Имя файла XML-схемыEEC_R_HC_MM_01_DrugRegistrationDocContentDetails_v1.3.0.xsd

20. Импортируемые пространства имен приведены в таблице 12.

Таблица 12

Импортируемые пространства имен

N п/пИдентификатор пространства именПрефикс
123
1urn:EEC:M:ComplexDataObjects:vX.X.Xccdo
2urn:EEC:M:HC:ComplexDataObjects:vZ.Z.Zhccdo
3urn:EEC:M:HC:SimpleDataObjects:vZ.Z.Zhcsdo
4urn:EEC:M:SimpleDataObjects:vX.X.Xcsdo

Символы "X.X.X" и "Z.Z.Z" в импортируемых пространствах имен соответствуют номеру версии базисной модели данных и модели данных предметной области, использованных при разработке в соответствии с настоящим Описанием технической схемы структуры электронного документа (сведений), подлежащей включению в реестр структур электронных документов и сведений.

21. Реквизитный состав структуры электронного документа (сведений) "Сведения регистрационного дела или регистрационного досье на лекарственный препарат" (R.HC.MM.01.003) приведен в таблице 13.

Таблица 13

Реквизитный состав структуры электронного документа (сведений) "Сведения регистрационного дела или регистрационного досье на лекарственный препарат" (R.HC.MM.01.003)

 
Имя реквизитаОписание реквизитаИдентификаторТип данныхМн.
1. Заголовок электронного документа (сведений)
(ccdo:EDocHeader)
совокупность технологических реквизитов электронного документа (сведений)M.CDE.90001ccdo:EDocHeaderType (M.CDT.90001)
Определяется областями значений вложенных элементов
1
 1.1. Код сообщения общего процесса
(csdo:InfEnvelopeCode)
кодовое обозначение сообщения общего процессаM.SDE.90010csdo:InfEnvelopeCodeType (M.SDT.90004)
Значение кода в соответствии с Регламентом информационного взаимодействия.
Шаблон: P\.[A-Z]{2}\.[0-9]{2}\.MSG\.[0-9]{3}
1
 1.2. Код электронного документа (сведений)
(csdo:EDocCode)
кодовое обозначение электронного документа (сведений) в соответствии с реестром структур электронных документов и сведенийM.SDE.90001csdo:EDocCodeType (M.SDT.90001)
Значение кода в соответствии с реестром структур электронных документов и сведений.
Шаблон: R(\.[A-Z]{2}\.[A-Z]{2}\.[0-9]{2})?\.[0-9]{3}
1
 1.3. Идентификатор электронного документа (сведений)
(csdo:EDocId)
строка символов, однозначно идентифицирующая электронный документ (сведения)M.SDE.90007csdo:UniversallyUniqueIdType (M.SDT.90003)
Значение идентификатора в соответствии с ISO/IEC 9834-8.
Шаблон: [0-9a-fA-F]{8}-[0-9a-fA-F]{4}-[0-9a-fA-F]{4}-[0-9a-fA-F]{4}-[0-9a-fA-F]{12}
1
 1.4. Идентификатор исходного электронного документа (сведений)
(csdo:EDocRefId)
идентификатор электронного документа (сведений), в ответ на который был сформирован данный электронный документ (сведения)M.SDE.90008csdo:UniversallyUniqueIdType (M.SDT.90003)
Значение идентификатора в соответствии с ISO/IEC 9834-8.
Шаблон: [0-9a-fA-F]{8}-[0-9a-fA-F]{4}-[0-9a-fA-F]{4}-[0-9a-fA-F]{4}-[0-9a-fA-F]{12}
0..1
 1.5. Дата и время электронного документа (сведений)
(csdo:EDocDateTime)
дата и время создания электронного документа (сведений)M.SDE.90002bdt:DateTimeType (M.BDT.00006)
Обозначение даты и времени в соответствии с серией стандартов ISO 8601
1
 1.6. Код языка
(csdo:LanguageCode)
кодовое обозначение языкаM.SDE.00051csdo:LanguageCodeType (M.SDT.00051)
Двухбуквенный код языка в соответствии с ISO 639-1.
Шаблон: [a-z]{2}
0..1
2. Код страны
(csdo:UnifiedCountryCode)
кодовое обозначение страны, направившей документM.SDE.00162csdo:UnifiedCountryCodeType (M.SDT.00112)
Значение двухбуквенного кода страны в соответствии со справочником (классификатором), идентификатор которого определен в атрибуте "Идентификатор справочника (классификатора)".
Шаблон: [A-Z]{2}
0..1
 а) идентификатор справочника (классификатора)
(атрибут codeListId)
обозначение справочника (классификатора), в соответствии с которым указан код-csdo:ReferenceDataIdType (M.SDT.00091)
Нормализованная строка символов.
Мин. длина: 1.
Макс. длина: 20
1
3. Порядковый номер регистрационного удостоверения лекарственного препарата
(hcsdo:RegistrationNumberId)
порядковый номер регистрационного удостоверения лекарственного препаратаM.HC.SDE.00672hcsdo:RegistrationNumberIdType (M.HC.SDT.00629)
Нормализованная строка символов.
Шаблон: \d{6}
0..1
4. Номер заявления о регистрации лекарственного препарата
(hcsdo:ApplicationId)
номер заявления о регистрации или проведении иных процедур, связанных с регистрацией лекарственного препаратаM.HC.SDE.00260csdo:Id50Type (M.SDT.00093)
Нормализованная строка символов.
Мин. длина: 1.
Макс. длина: 50
0..1
5. Код вида процедуры регистрации
(hcsdo:RegistrationKindCode)
кодовое обозначение вида процедуры регистрацииM.HC.SDE.00425csdo:Code10Type (M.SDT.00179)
Нормализованная строка символов.
Мин. длина: 1.
Макс. длина: 10
0..1
6. Признак согласования документа
(hcsdo:DocAgreementIndicator)
признак, определяющий статус согласования экспертного отчета: 1 - экспертный отчет согласован; 0 - экспертный отчет не согласованM.HC.SDE.00503bdt:IndicatorType (M.BDT.00013)
Одно из двух значений: "true" (истина) или "false" (ложь)
0..1
7. Сведения о документе регистрационного досье (дела)
(hccdo:RegistrationDossierDocDetails)
сведения о документе регистрационного досье (дела)M.HC.CDE.00044hccdo:RegistrationDossierDocDetailsType (M.HC.CDT.00023)
Определяется областями значений вложенных элементов
0..*
 7.1. Признак принадлежности документа к регистрационному досье
(hcsdo:RegistrationFileIndicator)
признак, определяющий принадлежность документа к регистрационному досье:
1 - документ регистрационного досье;
0 - документ регистрационного дела
M.HC.SDE.00527bdt:IndicatorType (M.BDT.00013)
Одно из двух значений: "true" (истина) или "false" (ложь)
0..1
 7.2. Номер документа
(csdo:DocId)
номер документа регистрационного дела (досье)M.SDE.00044csdo:Id50Type (M.SDT.00093)
Нормализованная строка символов.
Мин. длина: 1.
Макс. длина: 50
0..1
 7.3. Наименование документа
(csdo:DocName)
наименование документа регистрационного дела (досье)M.SDE.00108csdo:Name500Type (M.SDT.00134)
Нормализованная строка символов.
Мин. длина: 1.
Макс. длина: 500
0..1
 7.4. Код вида документа регистрационного досье на лекарственный препарат
(hcsdo:DrugRegistrationDocCode)
кодовое обозначение вида документа регистрационного досье на лекарственный препаратM.HC.SDE.00098hcsdo:DrugRegistrationDocCodeType (M.HC.SDT.00022)
Значение кода вида документа в соответствии со справочником (классификатором), идентификатор которого определен в атрибуте "Идентификатор справочника (классификатора)".
Мин. длина: 1.
Макс. длина: 10
0..1
  а) идентификатор справочника (классификатора)
(атрибут codeListId)
обозначение справочника (классификатора), в соответствии с которым указан код-csdo:ReferenceDataIdType
(M.SDT.00091)
Нормализованная строка символов.
Мин. длина: 1.
Макс. длина: 20
1
 7.5. Наименование вида документа регистрационного досье на лекарственный препарат
(hcsdo:DrugRegistrationDocName)
наименование вида документа регистрационного досье на лекарственный препаратM.HC.SDE.00789csdo:Name500Type (M.SDT.00134)
Нормализованная строка символов.
Мин. длина: 1.
Макс. длина: 500
0..1
 7.6. Код вида документа регистрационного дела на лекарственный препарат
(hcsdo:DrugRegistrationFileCode)
кодовое обозначение вида документа регистрационного дела на лекарственный препаратM.HC.SDE.00528hcsdo:DrugRegistrationFileCodeType (M.HC.SDT.00024)
Значение кода вида документа в соответствии со справочником (классификатором), идентификатор которого определен в атрибуте "Идентификатор справочника (классификатора)".
Мин. длина: 1.
Макс. длина: 10
0..1
  а) идентификатор справочника (классификатора)
(атрибут codeListId)
обозначение справочника (классификатора), в соответствии с которым указан код-csdo:ReferenceDataIdType (M.SDT.00091)
Нормализованная строка символов.
Мин. длина: 1.
Макс. длина: 20
1
 7.7. Наименование вида документа регистрационного дела на лекарственный препарат
(hcsdo:DrugRegistrationFileName)
наименование вида документа регистрационного дела на лекарственный препаратM.HC.SDE.00901csdo:Name500Type (M.SDT.00134)
Нормализованная строка символов.
Мин. длина: 1.
Макс. длина: 500
0..1
 7.8. Дата документа
(csdo:DocCreationDate)
дата выдачи документа регистрационного дела (досье)M.SDE.00045bdt:DateType (M.BDT.00005)
Обозначение даты в соответствии с серией стандартов ISO 8601
0..1
 7.9. Дата истечения срока действия документа
(csdo:DocValidityDate)
дата истечения срока действия документа регистрационного дела (досье)M.SDE.00052bdt:DateType (M.BDT.00005)
Обозначение даты в соответствии с серией стандартов ISO 8601
0..1
 7.10. Наименование хозяйствующего субъекта
(csdo:BusinessEntityName)
наименование организации, выдавшей документ регистрационного дела (досье)M.SDE.00187csdo:Name300Type (M.SDT.00056)
Нормализованная строка символов.
Мин. длина: 1.
Макс. длина: 300
0..1
 7.11. Описание элемента документа
(hcsdo:DrugAttributeEnumText)
описание дополнительного признака документаM.HC.SDE.01436hcsdo:AttributeTextType (M.HC.SDT.00215)
Строка символов.
Мин. длина: 1.
Макс. длина: 4000
0..*
  а) код вида элемента документа
(атрибут DrugAttributeKindEnumCode)
кодовое обозначение вида дополнительного признака документа регистрационного дела (досье)-csdo:Code10Type (M.SDT.00179)
Нормализованная строка символов.
Мин. длина: 1.
Макс. длина: 10
0..1
  б) наименование вида элемента документа
(атрибут AttributeKindName)
наименование вида дополнительного признака документа регистрационного дела (досье)-csdo:Name500Type (M.SDT.00134)
Нормализованная строка символов.
Мин. длина: 1.
Макс. длина: 500
0..1
 7.12. Документ в бинарном формате
(hcsdo:DocCopyBinaryText)
документ регистрационного дела (досье) в формате PDFM.HC.SDE.01435csdo:BinaryTextType (M.SDT.00143)
Конечная последовательность двоичных октетов (байтов)
0..1
  а) код формата данных
(атрибут mediaTypeCode)
кодовое обозначение формата данных-csdo:MediaTypeCodeType (M.SDT.00147)
Значение кода в соответствии со справочником форматов данных.
Мин. длина: 1.
Макс. длина: 255
0..1
 7.13. XML-документ
(ccdo:AnyDetails)
документ регистрационного дела (досье) в формате XMLM.CDE.00081ccdo:AnyDetailsType (M.CDT.00086)
Определяется областями значений вложенных элементов
0..1
  7.13.1. XML-документсодержимое XML-документа произвольной структуры-произвольный элемент.
Пространство имен: любое.
Валидация: производится всегда
1..*
 7.14. Последовательность представления досье
(hcsdo:SubmissionSequence)
порядковый номер в последовательности представления досьеM.HC.SDE.00102csdo:Code10Type (M.SDT.00179)
Нормализованная строка символов.
Мин. длина: 1.
Макс. длина: 10
0..1
 7.15. Атрибут операции
(hcsdo:OperationAtribute)
сведения об операции, выполняемой над документом досьеM.HC.SDE.00103csdo:Code20Type (M.SDT.00160)
Нормализованная строка символов.
Мин. длина: 1.
Макс. длина: 20
0..1
 7.16. Наименование активной фармацевтической субстанции
(hcsdo:ActiveSubstanceName)
наименование активной фармацевтической субстанцииM.HC.SDE.00620csdo:Name500Type (M.SDT.00134)
Нормализованная строка символов.
Мин. длина: 1.
Макс. длина: 500
0..1
 7.17. Наименование вспомогательного вещества, входящего в состав лекарственного препарата
(hcsdo:AuxiliarySubstanceName)
наименование вспомогательного вещества, входящего в состав лекарственного препаратаM.HC.SDE.00044csdo:Name500Type (M.SDT.00134)
Нормализованная строка символов.
Мин. длина: 1.
Макс. длина: 500
0..1
 7.18. Наименование фармацевтического продукта
(hcsdo:DrugProductName)
наименование фармацевтического продуктаM.HC.SDE.00252csdo:Name250Type (M.SDT.00068)
Нормализованная строка символов.
Мин. длина: 1.
Макс. длина: 250
0..1
 7.19. Описание показаний к применению
(hcsdo:IndicationText)
описание показания к применениюM.HC.SDE.00079csdo:Text4000Type (M.SDT.00088)
Строка символов.
Мин. длина: 1.
Макс. длина: 4000
0..1
 7.20. Наименование производителя
(hcsdo:ManufacturerName)
наименование производителяM.HC.SDE.00235csdo:Name300Type (M.SDT.00056)
Нормализованная строка символов.
Мин. длина: 1.
Макс. длина: 300
0..1
 7.21. Уникальный идентификатор документа
(hcsdo:DocUUId)
уникальный идентификатор документа регистрационного дела (досье)M.HC.SDE.02010csdo:UniversallyUniqueIdType (M.SDT.90003)
Значение идентификатора в соответствии с ISO/IEC 9834-8.
Шаблон: [0-9a-fA-F]{8}-[0-9a-fA-F]{4}-[0-9a-fA-F]{4}-[0-9a-fA-F]{4}-[0-9a-fA-F]{12}
0..1
 

22. Описание структуры электронного документа (сведений) "Сведения о номере регистрационного удостоверения на лекарственный препарат" (R.HC.MM.01.004) приведено в таблице 14.

Таблица 14

Описание структуры электронного документа (сведений) "Сведения о номере регистрационного удостоверения на лекарственный препарат" (R.HC.MM.01.004)

N п/пОбозначение элементаОписание
123
1Имясведения о номере регистрационного удостоверения на лекарственный препарат
2ИдентификаторR.HC.MM.01.004
3Версия1.3.0
4Определениесведения о номере регистрационного удостоверения на лекарственный препарат
5Использование-
6Идентификатор пространства именurn:EEC:R:HC:MM:01:DrugRegistrationNumberRequestDetails:v1.3.0
7Корневой элемент XML-документаDrugRegistrationNumberRequestDetails
8Имя файла XML-схемыEEC_R_HC_MM_01_DrugRegistrationNumberRequestDetails_v1.3.0.xsd

23. Импортируемые пространства имен приведены в таблице 15.

Таблица 15

Импортируемые пространства имен

N п/пИдентификатор пространства именПрефикс
123
1urn:EEC:M:ComplexDataObjects:vX.X.Xccdo
2urn:EEC:M:HC:ComplexDataObjects:vZ.Z.Zhccdo
3urn:EEC:M:HC:SimpleDataObjects:vZ.Z.Zhcsdo
4urn:EEC:M:SimpleDataObjects:vX.X.Xcsdo

Символы "X.X.X" и "Z.Z.Z" в импортируемых пространствах имен соответствуют номеру версии базисной модели данных и модели данных предметной области, использованных при разработке в соответствии с настоящим Описанием технической схемы структуры электронного документа (сведений), подлежащей включению в реестр структур электронных документов и сведений.

24. Реквизитный состав структуры электронного документа (сведений) "Сведения о номере регистрационного удостоверения на лекарственный препарат" (R.HC.MM.01.004) приведен в таблице 16.

Таблица 16

Реквизитный состав структуры электронного документа (сведений) "Сведения о номере регистрационного удостоверения на лекарственный препарат" (R.HC.MM.01.004)

 
Имя реквизитаОписание реквизитаИдентификаторТип данныхМн.
1. Заголовок электронного документа (сведений)
(ccdo:EDocHeader)
совокупность технологических реквизитов электронного документа (сведений)M.CDE.90001ccdo:EDocHeaderType (M.CDT.90001)
Определяется областями значений вложенных элементов
1
 1.1. Код сообщения общего процесса
(csdo:InfEnvelopeCode)
кодовое обозначение сообщения общего процессаM.SDE.90010csdo:InfEnvelopeCodeType (M.SDT.90004)
Значение кода в соответствии с Регламентом информационного взаимодействия.
Шаблон: P\.[A-Z]{2}\.[0-9]{2}\.MSG\.[0-9]{3}
1
 1.2. Код электронного документа (сведений)
(csdo:EDocCode)
кодовое обозначение электронного документа (сведений) в соответствии с реестром структур электронных документов и сведенийM.SDE.90001csdo:EDocCodeType (M.SDT.90001)
Значение кода в соответствии с реестром структур электронных документов и сведений.
Шаблон: R(\.[A-Z]{2}\.[A-Z]{2}\.[0-9]{2})?\.[0-9]{3}
1
 1.3. Идентификатор электронного документа (сведений)
(csdo:EDocId)
строка символов, однозначно идентифицирующая электронный документ (сведения)M.SDE.90007csdo:UniversallyUniqueIdType (M.SDT.90003)
Значение идентификатора в соответствии с ISO/IEC 9834-8.
Шаблон: [0-9a-fA-F]{8}-[0-9a-fA-F]{4}-[0-9a-fA-F]{4}-[0-9a-fA-F]{4}-[0-9a-fA-F]{12}
1
 1.4. Идентификатор исходного электронного документа (сведений)
(csdo:EDocRefId)
идентификатор электронного документа (сведений), в ответ на который был сформирован данный электронный документ (сведения)M.SDE.90008csdo:UniversallyUniqueIdType (M.SDT.90003)
Значение идентификатора в соответствии с ISO/IEC 9834-8.
Шаблон: [0-9a-fA-F]{8}-[0-9a-fA-F]{4}-[0-9a-fA-F]{4}-[0-9a-fA-F]{4}-[0-9a-fA-F]{12}
0..1
 1.5. Дата и время электронного документа (сведений)
(csdo:EDocDateTime)
дата и время создания электронного документа (сведений)M.SDE.90002bdt:DateTimeType (M.BDT.00006)
Обозначение даты и времени в соответствии с серией стандартов ISO 8601
1
 1.6. Код языка
(csdo:LanguageCode)
кодовое обозначение языкаM.SDE.00051csdo:LanguageCodeType (M.SDT.00051)
Двухбуквенный код языка в соответствии с ISO 639-1.
Шаблон: [a-z]{2}
0..1
2. Номер заявления о регистрации лекарственного препарата
(hcsdo:ApplicationId)
номер заявления о регистрации или проведении иных процедур, связанных с регистрацией лекарственного препаратаM.HC.SDE.00260csdo:Id50Type (M.SDT.00093)
Нормализованная строка символов.
Мин. длина: 1.
Макс. длина: 50
0..1
3. Порядковый номер регистрационного удостоверения лекарственного препарата
(hcsdo:RegistrationNumberId)
порядковый номер регистрационного удостоверения лекарственного препаратаM.HC.SDE.00672hcsdo:RegistrationNumberIdType (M.HC.SDT.00629)
Нормализованная строка символов.
Шаблон: \d{6}
0..1
4. Код страны
(csdo:UnifiedCountryCode)
кодовое обозначение страны, запрашивающей номер регистрационного удостоверения на лекарственный препаратM.SDE.00162csdo:UnifiedCountryCodeType (M.SDT.00112)
Значение двухбуквенного кода страны в соответствии со справочником (классификатором), идентификатор которого определен в атрибуте "Идентификатор справочника (классификатора)".
Шаблон: [A-Z]{2}
0..1
 а) идентификатор справочника (классификатора)
(атрибут codeListId)
обозначение справочника (классификатора), в соответствии с которым указан код-csdo:ReferenceDataIdType (M.SDT.00091)
Нормализованная строка символов.
Мин. длина: 1.
Макс. длина: 20
1
 

25. Описание структуры электронного документа (сведений) "Сведения о рассмотрении заявления и (или) регистрационного досье" (R.HC.MM.01.006) приведено в таблице 17.

Таблица 17

Описание структуры электронного документа (сведений) "Сведения о рассмотрении заявления и (или) регистрационного досье" (R.HC.MM.01.006)

N п/пОбозначение элементаОписание
123
1Имясведения о рассмотрении заявления и (или) регистрационного досье
2ИдентификаторR.HC.MM.01.006
3Версия1.3.0
4Определениесведения о рассмотрении заявления и (или) регистрационного досье
5Использование-
6Идентификатор пространства именurn:EEC:R:HC:MM:01:DrugApprovalApplicationRegistrationDossierDetails:v1.3.0
7Корневой элемент XML-документаDrugApprovalApplicationRegistrationDossierDetails
8Имя файла XML-схемыEEC_R_HC_MM_01_DrugApprovalApplicationRegistrationDossierDetails_v1.3.0.xsd

26. Импортируемые пространства имен приведены в таблице 18.

Таблица 18

Импортируемые пространства имен

N п/пИдентификатор пространства именПрефикс
123
1urn:EEC:M:ComplexDataObjects:vX.X.Xccdo
2urn:EEC:M:HC:ComplexDataObjects:vZ.Z.Zhccdo
3urn:EEC:M:HC:SimpleDataObjects:vZ.Z.Zhcsdo
4urn:EEC:M:SimpleDataObjects:vX.X.Xcsdo

Символы "X.X.X" и "Z.Z.Z" в импортируемых пространствах имен соответствуют номеру версии базисной модели данных и модели данных предметной области, использованных при разработке в соответствии с настоящим Описанием технической схемы структуры электронного документа (сведений), подлежащей включению в реестр структур электронных документов и сведений.

27. Реквизитный состав структуры электронного документа (сведений) "Сведения о рассмотрении заявления и (или) регистрационного досье" (R.HC.MM.01.006) приведен в таблице 19.

Таблица 19

Реквизитный состав структуры электронного документа (сведений) "Сведения о рассмотрении заявления и (или) регистрационного досье" (R.HC.MM.01.006)

 
Имя реквизитаОписание реквизитаИдентификаторТип данныхМн.
1. Заголовок электронного документа (сведений)
(ccdo:EDocHeader)
совокупность технологических реквизитов электронного документа (сведений)M.CDE.90001ccdo:EDocHeaderType (M.CDT.90001)
Определяется областями значений вложенных элементов
1
 1.1. Код сообщения общего процесса
(csdo:InfEnvelopeCode)
кодовое обозначение сообщения общего процессаM.SDE.90010csdo:InfEnvelopeCodeType (M.SDT.90004)
Значение кода в соответствии с Регламентом информационного взаимодействия.
Шаблон: P\.[A-Z]{2}\.[0-9]{2}\.MSG\.[0-9]{3}
1
 1.2. Код электронного документа (сведений)
(csdo:EDocCode)
кодовое обозначение электронного документа (сведений) в соответствии с реестром структур электронных документов и сведенийM.SDE.90001csdo:EDocCodeType (M.SDT.90001) Значение кода в соответствии с реестром структур электронных документов и сведений.
Шаблон: R(\.[A-Z]{2}\.[A-Z]{2}\.[0-9]{2})?\.[0-9]{3}
1
 1.3. Идентификатор электронного документа (сведений)
(csdo:EDocId)
строка символов, однозначно идентифицирующая электронный документ (сведения)M.SDE.90007csdo:UniversallyUniqueIdType (M.SDT.90003)
Значение идентификатора в соответствии с ISO/IEC 9834-8.
Шаблон: [0-9a-fA-F]{8}-[0-9a-fA-F]{4}-[0-9a-fA-F]{4}-[0-9a-fA-F]{4}-[0-9a-fA-F]{12}
1
 1.4. Идентификатор исходного электронного документа (сведений)
(csdo:EDocRefId)
идентификатор электронного документа (сведений), в ответ на который был сформирован данный электронный документ (сведения)M.SDE.90008csdo:UniversallyUniqueIdType (M.SDT.90003)
Значение идентификатора в соответствии с ISO/IEC 9834-8.
Шаблон: [0-9a-fA-F]{8}-[0-9a-fA-F]{4}-[0-9a-fA-F]{4}-[0-9a-fA-F]{4}-[0-9a-fA-F]{12}
0..1
 1.5. Дата и время электронного документа (сведений)
(csdo:EDocDateTime)
дата и время создания электронного документа (сведений)M.SDE.90002bdt:DateTimeType (M.BDT.00006)
Обозначение даты и времени в соответствии с серией стандартов ISO 8601
1
 1.6. Код языка
(csdo:LanguageCode)
кодовое обозначение языкаM.SDE.00051csdo:LanguageCodeType (M.SDT.00051)
Двухбуквенный код языка в соответствии с ISO 639-1.
Шаблон: [a-z]{2}
0..1
2. Сведения о рассмотрении заявления и (или) регистрационного досье
(hccdo:DrugApprovalApplicationDetails)
сведения о рассмотрении заявления и (или) регистрационного досье или сведения об объекте единой базы данныхM.HC.CDE.10050hccdo:DrugApprovalApplicationDetailsType (M.HC.CDT.10050)
Определяется областями значений вложенных элементов
1
 2.1. Номер заявления о регистрации лекарственного препарата
(hcsdo:ApplicationId)
номер заявления о регистрации или проведении иных процедур, связанных с регистрацией лекарственного препаратаM.HC.SDE.00260csdo:Id50Type (M.SDT.00093)
Нормализованная строка символов.
Мин. длина: 1.
Макс. длина: 50
0..1
 2.2. Дата
(csdo:EventDate)
дата заявления на проведение процедур регистрации лекарственного препаратаM.SDE.00131bdt:DateType (M.BDT.00005)
Обозначение даты в соответствии с серией стандартов ISO 8601
0..1
 2.3. Код вида документа регистрационного досье на лекарственный препарат
(hcsdo:DrugRegistrationDocCode)
кодовое обозначение вида заявления на проведение процедур регистрации лекарственного препаратаM.HC.SDE.00098hcsdo:DrugRegistrationDocCodeType (M.HC.SDT.00022)
Значение кода вида документа в соответствии со справочником (классификатором), идентификатор которого определен в атрибуте "Идентификатор справочника (классификатора)".
Мин. длина: 1.
Макс. длина: 10
0..1
  а) идентификатор справочника (классификатора)
(атрибут codeListId)
обозначение справочника (классификатора), в соответствии с которым указан код-csdo:ReferenceDataIdType (M.SDT.00091)
Нормализованная строка символов.
Мин. длина: 1.
Макс. длина: 20
1
 2.4. Порядковый номер регистрационного удостоверения лекарственного препарата
(hcsdo:RegistrationNumberId)
порядковый номер регистрационного удостоверения лекарственного препаратаM.HC.SDE.00672hcsdo:RegistrationNumberIdType (M.HC.SDT.00629)
Нормализованная строка символов.
Шаблон: \d{6}
0..1
 2.5. Сведения о регистрации
(hccdo:CountryDrugRegistrationDetails)
сведения о регистрации лекарственного препаратаM.HC.CDE.00728hccdo:CountryDrugRegistrationDetailsType (M.HC.CDT.00295)
Определяется областями значений вложенных элементов
0..*
  2.5.1. Код страны
(csdo:UnifiedCountryCode)
кодовое обозначение государства-члена, в котором обращается или предполагается обращение лекарственного препаратаM.SDE.00162csdo:UnifiedCountryCodeType (M.SDT.00112)
Значение двухбуквенного кода страны в соответствии со справочником (классификатором), идентификатор которого определен в атрибуте "Идентификатор справочника (классификатора)".
Шаблон: [A-Z]{2}
0..1
   а) идентификатор справочника (классификатора)
(атрибут codeListId)
обозначение справочника (классификатора), в соответствии с которым указан код-csdo:ReferenceDataIdType (M.SDT.00091)
Нормализованная строка символов.
Мин. длина: 1.
Макс. длина: 20
1
  2.5.2. Код роли государства-члена
(hcsdo:CountryKindCode)
кодовое обозначение роли государства-членаM.HC.SDE.00510hcsdo:CountryKindCodeType (M.HC.SDT.00204)
Нормализованная строка символов
0..1
  2.5.3. Торговое наименование лекарственного препарата
(hcsdo:DrugTradeName)
торговое наименование лекарственного препаратаM.HC.SDE.00013csdo:Name300Type (M.SDT.00056)
Нормализованная строка символов.
Мин. длина: 1.
Макс. длина: 300
0..1
  2.5.4. Сведения о наименовании лекарственного препарата (средства)
(hccdo:DrugNameDetails)
сведения о международном непатентованном наименовании лекарственного средства или общепринятом, группировочном, химическом наименовании лекарственного препаратаM.HC.CDE.00269hccdo:DrugNameDetailsType (M.HC.CDT.00252)
Определяется областями значений вложенных элементов
0..1
   *.1. Код наименования активной фармацевтической субстанции
(hcsdo:DrugCode)
кодовое обозначение международного непатентованного наименования или общепринятого, группировочного, химического наименования активной фармацевтической субстанцииM.HC.SDE.00526hcsdo:DrugCodeType (M.HC.SDT.00211)
Значение кода в соответствии со справочником (классификатором), идентификатор которого определен в атрибуте "Идентификатор справочника (классификатора)".
Мин. длина: 1.
Макс. длина: 10
0..1
    а) идентификатор справочника (классификатора)
(атрибут codeListId)
обозначение справочника (классификатора), в соответствии с которым указан код-csdo:ReferenceDataIdType (M.SDT.00091)
Нормализованная строка символов.
Мин. длина: 1.
Макс. длина: 20
1
   *.2. Наименование активной фармацевтической субстанции
(hcsdo:DrugName)
группировочное, общепринятое или химическое наименование активной фармацевтической субстанцииM.HC.SDE.00525csdo:Name500Type (M.SDT.00134)
Нормализованная строка символов.
Мин. длина: 1.
Макс. длина: 500
0..1
  2.5.5. Сведения о лекарственной форме
(hccdo:DosageFormDetails)
сведения о лекарственной формеM.HC.CDE.00398hccdo:DosageFormDetailsType (M.HC.CDT.00598)
Определяется областями значений вложенных элементов
0..1
   *.1. Код лекарственной формы
(hcsdo:DosageFormCode)
кодовое обозначение лекарственной формыM.HC.SDE.00232hcsdo:DosageFormCodeType (M.HC.SDT.00051)
Значение кода лекарственных форм в соответствии со справочником (классификатором), идентификатор которого определен в атрибуте "Идентификатор справочника (классификатора)".
Мин. длина: 1.
Макс. длина: 10
0..1
    а) идентификатор справочника (классификатора)
(атрибут codeListId)
обозначение справочника (классификатора), в соответствии с которым указан код-csdo:ReferenceDataIdType (M.SDT.00091)
Нормализованная строка символов.
Мин. длина: 1.
Макс. длина: 20
1
   *.2. Наименование лекарственной формы
(hcsdo:DosageFormName)
наименование лекарственной формыM.HC.SDE.00874csdo:Name500Type (M.SDT.00134)
Нормализованная строка символов.
Мин. длина: 1.
Макс. длина: 500
0..1
   *.3. Дополнительные признаки лекарственной формы
(hccdo:DosageFormAdditionalFeaturesDetails)
сведения о дополнительных признаках лекарственной формыM.HC.CDE.00325hccdo:DosageFormAdditionalFeaturesDetailsType (M.HC.CDT.00587)
Определяется областями значений вложенных элементов
0..1
    *.3.1. Признак дозированности лекарственной формы
(hcsdo:DosedIndicator)
признак, определяющий дозированность лекарственной формы:
1 - лекарственная форма дозирована;
0 - лекарственная форма не дозирована
M.HC.SDE.00243bdt:IndicatorType (M.BDT.00013)
Одно из двух значений: "true" (истина) или "false" (ложь)
0..1
    *.3.2. Признак применимости лекарственного препарата у детей
(hcsdo:ChildIndicator)
признак, определяющий применимость лекарственного препарата у детей:
1 - применяется у детей;
0 - не применяется у детей
M.HC.SDE.00244bdt:IndicatorType (M.BDT.00013)
Одно из двух значений: "true" (истина) или "false" (ложь)
0..1
    *.3.3. Признак применимости лекарственного препарата в ювенильном периоде
(hcsdo:JuvenileIndicator)
признак, определяющий применимость лекарственного препарата в ювенильном периоде:
1 - применяется в ювенильном периоде;
0 - не применяется в ювенильном периоде
M.HC.SDE.00245bdt:IndicatorType (M.BDT.00013)
Одно из двух значений: "true" (истина) или "false" (ложь)
0..1
    *.3.4. Признак наличия сахара в лекарственном препарате
(hcsdo:SugarIndicator)
признак, определяющий наличие сахара в лекарственном препарате:
1 - сахар присутствует;
0 - сахар отсутствует
M.HC.SDE.00246bdt:IndicatorType (M.BDT.00013)
Одно из двух значений: "true" (истина) или "false" (ложь)
0..1
    *.3.5. Описание вкусоароматической добавки
(hcsdo:TasteAromaAdditiveText)
описание вкусоароматической добавкиM.HC.SDE.00250csdo:Text250Type (M.SDT.00072)
Строка символов.
Мин. длина: 1.
Макс. длина: 250
0..*
    *.3.6. Описание природы растворителя лекарственного препарата
(hcsdo:SolventText)
описание природы растворителя лекарственного препаратаM.HC.SDE.00251csdo:Text1000Type (M.SDT.00071)
Строка символов.
Мин. длина: 1.
Макс. длина: 1000
0..1
    *.3.7. Описание сырьевой части растительного ингредиента
(hcsdo:RawPartMaterialText)
описание сырьевой части растительного ингредиента, входящего в состав лекарственного препаратаM.HC.SDE.00282csdo:Text1000Type (M.SDT.00071)
Строка символов.
Мин. длина: 1.
Макс. длина: 1000
0..1
    *.3.8. Код степени измельченности сырьевой части растительного ингредиента
(hcsdo:DegreeRefinementRawMaterialCode)
кодовое обозначение степени измельченности сырьевой части растительного ингредиента лекарственного препаратаM.HC.SDE.00584csdo:Code10Type (M.SDT.00179)
Нормализованная строка символов.
Мин. длина: 1.
Макс. длина: 10
0..1
    *.3.9. Наименование степени измельченности сырьевой части растительного ингредиента лекарственного препарата
(hcsdo:DegreeRefinementRawMaterialName)
наименование степени измельченности сырьевой части растительного ингредиента лекарственного препаратаM.HC.SDE.00283csdo:Name500Type (M.SDT.00134)
Нормализованная строка символов.
Мин. длина: 1.
Макс. длина: 500
0..1
  2.5.6. Сведения о форме выпуска лекарственного препарата
(hccdo:PackageFormDetails)
сведения о форме выпуска лекарственного препаратаM.HC.CDE.00387hccdo:PackageFormDetailsType (M.HC.CDT.00359)
Определяется областями значений вложенных элементов
0..*
   *.1. Признак нерасфасованной продукции (in bulk)
(hcsdo:InbulkIndicator)
признак нерасфасованной продукции (in bulk):
1 - продукция является нерасфасованной;
0 - продукция не является нерасфасованной
M.HC.SDE.00220bdt:IndicatorType (M.BDT.00013)
Одно из двух значений: "true" (истина) или "false" (ложь)
1
   *.2. Сведения об упакованной единице лекарственного препарата
(hccdo:PackageDetails)
сведения об упакованной единице лекарственного препаратаM.HC.CDE.00201hccdo:PackageDetailsType (M.HC.CDT.00224)
Определяется областями значений вложенных элементов
1..*
    *.2.1. Код лекарственной формы
(hcsdo:DosageFormCode)
кодовое обозначение лекарственной формыM.HC.SDE.00232hcsdo:DosageFormCodeType (M.HC.SDT.00051)
Значение кода лекарственных форм в соответствии со справочником (классификатором), идентификатор которого определен в атрибуте "Идентификатор справочника (классификатора)".
Мин. длина: 1.
Макс. длина: 10
0..1
     а) идентификатор справочника (классификатора)
(атрибут codeListId)
обозначение справочника (классификатора), в соответствии с которым указан код-csdo:ReferenceDataIdType (M.SDT.00091)
Нормализованная строка символов.
Мин. длина: 1.
Макс. длина: 20
1
    *.2.2. Наименование лекарственной формы
(hcsdo:DosageFormName)
наименование лекарственной формыM.HC.SDE.00874csdo:Name500Type (M.SDT.00134)
Нормализованная строка символов.
Мин. длина: 1.
Макс. длина: 500
0..1
    *.2.3. Дополнительные признаки лекарственной формы
(hccdo:DosageFormAdditionalFeaturesDetails)
сведения о дополнительных признаках лекарственной формыM.HC.CDE.00325hccdo:DosageFormAdditionalFeaturesDetailsType (M.HC.CDT.00587)
Определяется областями значений вложенных элементов
0..1
     *.2.3.1. Признак дозированности лекарственной формы
(hcsdo:DosedIndicator)
признак, определяющий дозированность лекарственной формы:
1 - лекарственная форма дозирована;
0 - лекарственная форма не дозирована
M.HC.SDE.00243bdt:IndicatorType (M.BDT.00013)
Одно из двух значений: "true" (истина) или "false" (ложь)
0..1
     *.2.3.2. Признак применимости лекарственного препарата у детей
(hcsdo:ChildIndicator)
признак, определяющий применимость лекарственного препарата у детей:
1 - применяется у детей;
0 - не применяется у детей
M.HC.SDE.00244bdt:IndicatorType (M.BDT.00013)
Одно из двух значений: "true" (истина) или "false" (ложь)
0..1
     *.2.3.3. Признак применимости лекарственного препарата в ювенильном периоде
(hcsdo:JuvenileIndicator)
признак, определяющий применимость лекарственного препарата в ювенильном периоде:
1 - применяется в ювенильном периоде;
0 - не применяется в ювенильном периоде
M.HC.SDE.00245bdt:IndicatorType (M.BDT.00013)
Одно из двух значений: "true" (истина) или "false" (ложь)
0..1
     *.2.3.4. Признак наличия сахара в лекарственном препарате
(hcsdo:SugarIndicator)
признак, определяющий
наличие сахара в лекарственном препарате:
1 - сахар присутствует;
0 - сахар отсутствует
M.HC.SDE.00246bdt:IndicatorType (M.BDT.00013)
Одно из двух значений: "true" (истина) или "false" (ложь)
0..1
     *.2.3.5. Описание вкусоароматической добавки
(hcsdo:TasteAromaAdditiveText)
описание вкусоароматической добавкиM.HC.SDE.00250csdo:Text250Type (M.SDT.00072)
Строка символов.
Мин. длина: 1.
Макс. длина: 250
0..*
     *.2.3.6. Описание природы растворителя лекарственного препарата
(hcsdo:SolventText)
описание природы растворителя лекарственного препаратаM.HC.SDE.00251csdo:Text1000Type (M.SDT.00071)
Строка символов.
Мин. длина: 1.
Макс. длина: 1000
0..1
     *.2.3.7. Описание сырьевой части растительного ингредиента
(hcsdo:RawPartMaterialText)
описание сырьевой части растительного ингредиента, входящего в состав лекарственного препаратаM.HC.SDE.00282csdo:Text1000Type (M.SDT.00071)
Строка символов.
Мин. длина: 1.
Макс. длина: 1000
0..1
     *.2.3.8. Код степени измельченности сырьевой части растительного ингредиента
(hcsdo:DegreeRefinementRawMaterialCode)
кодовое обозначение степени измельченности сырьевой части растительного ингредиента лекарственного препаратаM.HC.SDE.00584csdo:Code10Type (M.SDT.00179)
Нормализованная строка символов.
Мин. длина: 1.
Макс. длина: 10
0..1
     *.2.3.9. Наименование степени измельченности сырьевой части растительного ингредиента лекарственного препарата
(hcsdo:DegreeRefinementRawMaterialName)
наименование степени измельченности сырьевой части растительного ингредиента лекарственного препаратаM.HC.SDE.00283csdo:Name500Type (M.SDT.00134)
Нормализованная строка символов.
Мин. длина: 1.
Макс. длина: 500
0..1
    *.2.4. Сведения о дозировке лекарственного препарата
(hccdo:DrugDosageDetails)
сведения о дозировке лекарственного препаратаM.HC.CDE.00714hccdo:DrugDosageDetailsType (M.HC.CDT.00720)
Определяется областями значений вложенных элементов
0..1
     *.2.4.1. Сведения о единице дозирования лекарственного препарата
(hccdo:DrugDosageUnitDetails)
сведения о единице дозирования лекарственного препаратаM.HC.CDE.00712hccdo:DosageUnitDetailsType (M.HC.CDT.00719)
Определяется областями значений вложенных элементов
0..1
      *.2.4.1.1. Код вида единицы выражения состава лекарственного препарата
(hcsdo:DrugDosageUnitKindCode)
кодовое обозначение вида единицы выражения состава лекарственного препаратаM.HC.SDE.00616csdo:Code2Type (M.SDT.00170)
Нормализованная строка символов. Длина: 2
0..1
      *.2.4.1.2. Наименование вида единицы выражения состава лекарственного препарата
(hcsdo:DosageUnitKindName)
наименование вида единицы выражения состава лекарственного препаратаM.HC.SDE.00617csdo:Name500Type (M.SDT.00134)
Нормализованная строка символов.
Мин. длина: 1.
Макс. длина: 500
0..1
      *.2.4.1.3. Величина единицы дозирования (концентрации)
(hcsdo:DosageUnitMeasure)
величина единицы дозирования (концентрации)M.HC.SDE.00615hcsdo:DosageUnitMeasureType (M.HC.SDT.00719)
Число в десятичной системе счисления
0..1
       а) код единицы измерения дозировки и концентрации
(атрибут SubstanceMeasureCode)
кодовое обозначение единицы измерения дозировки и концентрации-hcsdo:SubstanceMeasureCodeType (M.HC.SDT.00217)
Значение кода единиц измерения дозировки и концентрации в соответствии со справочником (классификатором), идентификатор которого определен в атрибуте "Идентификатор справочника (классификатора)".
Мин. длина: 1.
Макс. длина: 3
0..1
       б) идентификатор справочника (классификатора)
(атрибут codeListId)
обозначение справочника (классификатора), в соответствии с которым указан код-csdo:ReferenceDataIdType (M.SDT.00091)
Нормализованная строка символов.
Мин. длина: 1.
Макс. длина: 20
0..1
       в) наименование единицы измерения дозировки и концентрации
(атрибут SubstanceMeasureName)
наименование единицы измерения дозировки и концентрации-csdo:Name500Type (M.SDT.00134)
Нормализованная строка символов.
Мин. длина: 1.
Макс. длина: 500
0..1
       г) масштаб
(атрибут ScaleNumber)
масштаб величины, представленный в виде показателя степени числа 10-csdo:Number2Type (M.SDT.00096)
Число в десятичной системе счисления.
Макс. кол-во цифр: 2.
Макс. кол-во дроб. цифр: 0
0..1
     *.2.4.2. Сведения об ингредиенте, входящем в состав лекарственного препарата
(hccdo:DrugSubstanceDetails)
сведения об ингредиенте, входящем в состав лекарственного препаратаM.HC.CDE.00264hccdo:DrugSubstanceDetailsType (M.HC.CDT.00243)
Определяется областями значений вложенных элементов
0..*
      *.2.4.2.1. Код функции ингредиента в составе лекарственного препарата
(hcsdo:DrugSubstanceRoleCode)
кодовое обозначение функции ингредиента в составе лекарственного препаратаM.HC.SDE.00437csdo:Code10Type (M.SDT.00179)
Нормализованная строка символов.
Мин. длина: 1.
Макс. длина: 10
0..1
*.2.4.2.2. Наименование функции ингредиента в составе лекарственного препарата
(hcsdo:DrugSubstanceRoleName)
наименование функции ингредиента в составе лекарственного препаратаM.HC.SDE.00678csdo:Name500Type (M.SDT.00134)
Нормализованная строка символов.
Мин. длина: 1.
Макс. длина: 500
0..1
      *.2.4.2.3. Сведения об активной фармацевтической субстанции в составе лекарственного препарата
(hccdo:ActiveSubstanceDetails)
сведения об активной фармацевтической субстанции в составе лекарственного препаратаM.HC.CDE.00030hccdo:ActiveSubstanceDetailsType (M.HC.CDT.00730)
Определяется областями значений вложенных элементов
0..1
       *.2.4.2.3.1. Код активной фармацевтической субстанции
(hcsdo:ActiveSubstanceCode)
кодовое обозначение активной фармацевтической субстанцииM.HC.SDE.00618hcsdo:DrugCodeType (M.HC.SDT.00211)
Значение кода в соответствии со справочником (классификатором), идентификатор которого определен в атрибуте "Идентификатор справочника (классификатора)".
Мин. длина: 1.
Макс. длина: 10
0..1
        а) идентификатор справочника (классификатора)
(атрибут codeListId)
обозначение справочника (классификатора), в соответствии с которым указан код-csdo:ReferenceDataIdType (M.SDT.00091)
Нормализованная строка символов.
Мин. длина: 1.
Макс. длина: 20
1
       *.2.4.2.3.2. Наименование активной фармацевтической субстанции
(hcsdo:ActiveSubstanceName)
наименование активной фармацевтической субстанцииM.HC.SDE.00620csdo:Name500Type (M.SDT.00134)
Нормализованная строка символов.
Мин. длина: 1.
Макс. длина: 500
0..1
      *.2.4.2.4. Сведения о вспомогательном веществе в составе лекарственного препарата
(hccdo:AuxiliarySubstanceDetails)
сведения о вспомогательном веществе в составе лекарственного препаратаM.HC.CDE.00040hccdo:AuxiliarySubstanceDetailsType (M.HC.CDT.00731)
Определяется областями значений вложенных элементов
0..1
       *.2.4.2.4.1. Код вспомогательного вещества, входящего в состав лекарственного препарата
(hcsdo:AuxiliarySubstanceCode)
кодовое обозначение вспомогательного вещества, входящего в состав лекарственного препаратаM.HC.SDE.00607hcsdo:AuxiliarySubstanceCodeType (M.HC.SDT.00014)
Значение кода вспомогательного вещества в соответствии со справочником (классификатором), идентификатор которого определен в атрибуте "Идентификатор справочника (классификатора)".
Мин. длина: 1.
Макс. длина: 10
0..1
        а) идентификатор справочника (классификатора)
(атрибут codeListId)
обозначение справочника (классификатора), в соответствии с которым указан код-csdo:ReferenceDataIdType (M.SDT.00091)
Нормализованная строка символов.
Мин. длина: 1.
Макс. длина: 20
1
       *.2.4.2.4.2. Наименование вспомогательного вещества, входящего в состав лекарственного препарата
(hcsdo:AuxiliarySubstanceName)
наименование вспомогательного вещества, входящего в состав лекарственного препаратаM.HC.SDE.00044csdo:Name500Type (M.SDT.00134)
Нормализованная строка символов.
Мин. длина: 1.
Макс. длина: 500
0..1
       *.2.4.2.4.3. Код функционального назначения вспомогательного вещества
(hcsdo:FunctionalPurposeCode)
кодовое обозначение функционального назначения вспомогательного веществаM.HC.SDE.00611hcsdo:FunctionalPurposeCodeType (M.HC.SDT.00015)
Значение кода функциональных назначений вспомогательных веществ в соответствии со справочником (классификатором), идентификатор которого определен в атрибуте "Идентификатор справочника (классификатора)".
Мин. длина: 1.
Макс. длина: 10
0..1
        а) идентификатор справочника (классификатора)
(атрибут codeListId)
обозначение справочника (классификатора), в соответствии с которым указан код-csdo:ReferenceDataIdType (M.SDT.00091)
Нормализованная строка символов.
Мин. длина: 1.
Макс. длина: 20
1
       *.2.4.2.4.4. Наименование функционального назначения вспомогательного вещества
(hcsdo:FunctionalPurposeName)
наименование функционального назначения вспомогательного веществаM.HC.SDE.00610csdo:Name500Type (M.SDT.00134)
Нормализованная строка символов.
Мин. длина: 1.
Макс. длина: 500
0..1
      *.2.4.2.5. Наименование реагента
(hcsdo:ReagentName)
наименование реагента, входящего в состав лекарственного препаратаM.HC.SDE.00648csdo:Name500Type (M.SDT.00134)
Нормализованная строка символов.
Мин. длина: 1.
Макс. длина: 500
0..1
      *.2.4.2.6. Дозировка (концентрация)
(hcsdo:SubstanceMeasure)
количество вещества, выраженное в единицах массы, объемных или условных (биологических) единицах, либо гомеопатическое разведениеM.HC.SDE.00050hcsdo:DrugSubstanceDimensionalMeasureType (M.HC.SDT.00216)
Число в десятичной системе счисления.
Макс. кол-во цифр: 24.
Макс. кол-во дроб. цифр: 6
0..2
       а) код единицы измерения дозировки и концентрации
(атрибут SubstanceMeasureCode)
кодовое обозначение единицы измерения дозировки и концентрации-hcsdo:SubstanceMeasureCodeType (M.HC.SDT.00217)
Значение кода единиц измерения дозировки и концентрации в соответствии со справочником (классификатором), идентификатор которого определен в атрибуте "Идентификатор справочника (классификатора)".
Мин. длина: 1.
Макс. длина: 3
0..1
       б) идентификатор справочника (классификатора)
(атрибут codeListId)
обозначение справочника (классификатора), в соответствии с которым указан код-csdo:ReferenceDataIdType (M.SDT.00091)
Нормализованная строка символов.
Мин. длина: 1.
Макс. длина: 20
0..1
в) наименование единицы измерения дозировки и концентрации
(атрибут SubstanceMeasureName)
наименование единицы измерения дозировки и концентрации-csdo:Name500Type (M.SDT.00134)
Нормализованная строка символов.
Мин. длина: 1.
Макс. длина: 500
0..1
г) масштаб
(атрибут ScaleNumber)
масштаб величины, представленный в виде показателя степени числа 10-csdo:Number2Type (M.SDT.00096)
Число в десятичной системе счисления.
Макс. кол-во цифр: 2.
Макс. кол-во дроб. цифр: 0
0..1
д) код типа величины дозировки (концентрации)
(атрибут SubstanceMeasureTypeCode)
кодовое обозначение типа величины дозировки (концентрации)-csdo:Code2Type (M.SDT.00170)
Нормализованная строка символов.
Длина: 2
0..1
      *.2.4.2.7. Описание дозировки (концентрации)
(hcsdo:SubstanceText)
описание дозировки (концентрации) ингредиента, входящего в состав лекарственного препаратаM.HC.SDE.00613csdo:Text4000Type (M.SDT.00088)
Строка символов.
Мин. длина: 1.
Макс. длина: 4000
0..1
    *.2.5. Код вида первичной упаковки лекарственного препарата
(hcsdo:DrugPackageKindCode)
кодовое обозначение вида первичной упаковки лекарственного препаратаM.HC.SDE.00714hcsdo:DrugPackageKindCodeType (M.HC.SDT.00892)
Значение кода видов первичных упаковок лекарственных средств в соответствии со справочником (классификатором), идентификатор которого определен в атрибуте "Идентификатор справочника (классификатора)".
Мин. длина: 1.
Макс. длина: 10
0..1
     а) идентификатор справочника (классификатора)
(атрибут codeListId)
обозначение справочника (классификатора), в соответствии с которым указан код-csdo:ReferenceDataIdType (M.SDT.00091)
Нормализованная строка символов.
Мин. длина: 1.
Макс. длина: 20
1
    *.2.6. Наименование вида первичной упаковки лекарственного препарата
(hcsdo:DrugPackageKindName)
наименование вида первичной упаковки лекарственного препаратаM.HC.SDE.00718csdo:Name500Type (M.SDT.00134)
Нормализованная строка символов.
Мин. длина: 1.
Макс. длина: 500
0..1
    *.2.7. Описание материала первичной упаковки лекарственного препарата
(hcsdo:PackageMaterialText)
описание материала, из которого изготовлена первичная упаковка лекарственного препарата с указанием дополнительных свойствM.HC.SDE.00288csdo:Text4000Type (M.SDT.00088)
Строка символов.
Мин. длина: 1.
Макс. длина: 4000
0..1
    *.2.8. Количество в упаковке лекарственного препарата
(hccdo:PackageMeasureDetails)
количество лекарственного препарата в первичной упаковкеM.HC.CDE.00202hccdo:PackageMeasureDetailsType (M.HC.CDT.00220)
Определяется областями значений вложенных элементов
1..*
     *.2.8.1. Количество в упаковке лекарственного препарата
(hcsdo:PackageMeasure)
количество лекарственного препарата в упаковкеM.HC.SDE.00194csdo:UnifiedPhysicalMeasureType (M.SDT.00122)
Число в десятичной системе счисления.
Макс. кол-во цифр: 24.
Макс. кол-во дроб. цифр: 6
0..1
      а) единица измерения
(атрибут measurementUnitCode)
кодовое обозначение единицы измерения-csdo:MeasurementUnitCodeType (M.SDT.00074)
Буквенно-цифровой код.
Шаблон: [0-9A-Z]{2,3}|\d{3,4}
1
      б) идентификатор справочника (классификатора)
(атрибут measurementUnitCodeListId)
идентификатор классификатора единиц измерения-csdo:ReferenceDataIdType (M.SDT.00091)
Нормализованная строка символов.
Мин. длина: 1.
Макс. длина: 20
1
     *.2.8.2. Нижняя граница интервала количества в упаковке лекарственного препарата
(hcsdo:PackageLowerLimitMeasure)
нижняя граница интервала количества в упаковке лекарственного препаратаM.HC.SDE.00185csdo:UnifiedPhysicalMeasureType (M.SDT.00122)
Число в десятичной системе
счисления.
Макс. кол-во цифр: 24.
Макс. кол-во дроб. цифр: 6
0..1
      а) единица измерения
(атрибут measurementUnitCode)
кодовое обозначение единицы измерения-csdo:MeasurementUnitCodeType (M.SDT.00074)
Буквенно-цифровой код.
Шаблон: [0-9A-Z]{2,3}|\d{3,4}
1
      б) идентификатор справочника (классификатора)
(атрибут measurementUnitCodeListId)
идентификатор классификатора единиц измерения-csdo:ReferenceDataIdType (M.SDT.00091)
Нормализованная строка символов.
Мин. длина: 1.
Макс. длина: 20
1
     *.2.8.3. Верхняя граница интервала количества в упаковке лекарственного препарата
(hcsdo:PackageUpperLimitMeasure)
верхняя граница интервала количества в упаковке лекарственного препаратаM.HC.SDE.00184csdo:UnifiedPhysicalMeasureType (M.SDT.00122)
Число в десятичной системе
счисления.
Макс. кол-во цифр: 24.
Макс. кол-во дроб. цифр: 6
0..1
      а) единица измерения
(атрибут measurementUnitCode)
кодовое обозначение единицы измерения-csdo:MeasurementUnitCodeType (M.SDT.00074)
Буквенно-цифровой код.
Шаблон: [0-9A-Z]{2,3}|\d{3,4}
1
      б) идентификатор справочника (классификатора)
(атрибут measurementUnitCodeListId)
идентификатор классификатора единиц измерения-csdo:ReferenceDataIdType (M.SDT.00091)
Нормализованная строка символов.
Мин. длина: 1.
Макс. длина: 20
1
    *.2.9. Срок годности лекарственного препарата
(hcsdo:ShelfLifeDuration)
срок годности лекарственного препаратаM.HC.SDE.00028bdt:DurationType (M.BDT.00021)
Обозначение продолжительности времени в соответствии с серией стандартов ISO 8601
0..1
*.2.10. Торговое наименование лекарственного препарата
(hcsdo:DrugTradeName)
торговое наименование упакованной единицы лекарственного препаратаM.HC.SDE.00013csdo:Name300Type (M.SDT.00056)
Нормализованная строка символов.
Мин. длина: 1.
Макс. длина: 300
0..1
   *.3. Описание промежуточной упаковки лекарственного препарата
(hcsdo:MiddlePackageText)
описание промежуточной упаковки лекарственного препаратаM.HC.SDE.00268csdo:Text1000Type (M.SDT.00071)
Строка символов.
Мин. длина: 1.
Макс. длина: 1000
0..1
*.4. Сведения о комплектующем устройстве в составе вторичной (потребительской) упаковки лекарственного препарата
(hccdo:RegisteredDrugComponentDetails)
сведения о комплектующем устройстве в составе вторичной (потребительской) упаковки лекарственного препаратаM.HC.CDE.00124hccdo:RegisteredDrugComponentDetailsType (M.HC.CDT.00094)
Определяется областями значений вложенных элементов
0..*
    *.4.1. Код комплектующего
(hcsdo:ComponentCode)
кодовое обозначение комплектующего, входящего в упаковку лекарственного препаратаM.HC.SDE.00257hcsdo:ComponentCodeType (M.HC.SDT.00060)
Значение кода комплектующих средств упаковки в соответствии со справочником (классификатором), идентификатор которого определен в атрибуте "Идентификатор справочника (классификатора)".
Мин. длина: 1.
Макс. длина: 6
0..1
     а) идентификатор справочника (классификатора)
(атрибут codeListId)
обозначение справочника (классификатора), в соответствии с которым указан код-csdo:ReferenceDataIdType (M.SDT.00091)
Нормализованная строка символов.
Мин. длина: 1.
Макс. длина: 20
1
    *.4.2. Наименование комплектующего
(hcsdo:ComponentName)
наименование комплектующего, входящего в упаковку лекарственного препаратаM.HC.SDE.00005csdo:Name40Type (M.SDT.00069)
Нормализованная строка символов.
Мин. длина: 1.
Макс. длина: 40
0..1
    *.4.3. Количество комплектующих устройств в составе вторичной (потребительской) упаковки лекарственного препарата
(hcsdo:ComponentQuantity)
количество комплектующих устройств в составе вторичной (потребительской) упаковки лекарственного препаратаM.HC.SDE.00018csdo:Quantity4Type (M.SDT.00097)
Целое неотрицательное число в десятичной системе счисления.
Макс. кол-во цифр: 4
0..1
    *.4.4. Материал изготовления комплектующего устройства
(hcsdo:ComponentMaterialDescriptionText)
описание материала, из которого изготовлено комплектующее устройство, входящее в упаковку лекарственного препаратаM.HC.SDE.00019csdo:Text4000Type (M.SDT.00088)
Строка символов.
Мин. длина: 1.
Макс. длина: 4000
0..1
   *.5. Код вида вторичной (потребительской) упаковки лекарственного препарата
(hcsdo:DrugSecondaryPackageKindCode)
кодовое обозначение вида вторичной (потребительской) упаковки лекарственного препаратаM.HC.SDE.00644hcsdo:DrugSecondaryPackageKindCodeType (M.HC.SDT.00023)
Значение кода видов вторичных (потребительских) упаковок лекарственных средств в соответствии со справочником (классификатором), идентификатор которого определен в атрибуте "Идентификатор справочника (классификатора)".
Мин. длина: 1.
Макс. длина: 10
0..1
    а) идентификатор справочника (классификатора)
(атрибут codeListId)
обозначение справочника (классификатора), в соответствии с которым указан код-csdo:ReferenceDataIdType (M.SDT.00091)
Нормализованная строка символов.
Мин. длина: 1.
Макс. длина: 20
1
   *.6. Наименование вида вторичной (потребительской) упаковки лекарственного препарата
(hcsdo:DrugSecondaryPackageKindName)
наименование вида вторичной (потребительской) упаковки лекарственного препаратаM.HC.SDE.00645csdo:Name500Type (M.SDT.00134)
Нормализованная строка символов.
Мин. длина: 1.
Макс. длина: 500
0..1
   *.7. Количество в упаковке лекарственного препарата
(hccdo:PackageMeasureDetails)
количество лекарственного препарата (упакованных единиц лекарственного препарата) во вторичной упаковкеM.HC.CDE.00202hccdo:PackageMeasureDetailsType (M.HC.CDT.00220)
Определяется областями значений вложенных элементов
0..1
    *.7.1. Количество в упаковке лекарственного препарата
(hcsdo:PackageMeasure)
количество лекарственного препарата в упаковкеM.HC.SDE.00194csdo:UnifiedPhysicalMeasureType (M.SDT.00122)
Число в десятичной системе счисления.
Макс. кол-во цифр: 24.
Макс. кол-во дроб. цифр: 6
0..1
     а) единица измерения
(атрибут measurementUnitCode)
кодовое обозначение единицы измерения-csdo:MeasurementUnitCodeType (M.SDT.00074)
Буквенно-цифровой код.
Шаблон: [0-9A-Z]{2,3}|\d{3,4}
1
     б) идентификатор справочника (классификатора)
(атрибут measurementUnitCodeListId)
идентификатор классификатора единиц измерения-csdo:ReferenceDataIdType (M.SDT.00091)
Нормализованная строка символов.
Мин. длина: 1.
Макс. длина: 20
1
    *.7.2. Нижняя граница интервала количества в упаковке лекарственного препарата
(hcsdo:PackageLowerLimitMeasure)
нижняя граница интервала количества в упаковке лекарственного препаратаM.HC.SDE.00185csdo:UnifiedPhysicalMeasureType (M.SDT.00122)
Число в десятичной системе счисления.
Макс. кол-во цифр: 24.
Макс. кол-во дроб. цифр: 6
0..1
     а) единица измерения
(атрибут measurementUnitCode)
кодовое обозначение единицы измерения-csdo:MeasurementUnitCodeType (M.SDT.00074)
Буквенно-цифровой код.
Шаблон: [0-9A-Z]{2,3}|\d{3,4}
1
     б) идентификатор справочника (классификатора)
(атрибут measurementUnitCodeListId)
идентификатор классификатора единиц измерения-csdo:ReferenceDataIdType (M.SDT.00091)
Нормализованная строка символов.
Мин. длина: 1.
Макс. длина: 20
1
    *.7.3. Верхняя граница интервала количества в упаковке лекарственного препарата
(hcsdo:PackageUpperLimitMeasure)
верхняя граница интервала количества в упаковке лекарственного препаратаM.HC.SDE.00184csdo:UnifiedPhysicalMeasureType (M.SDT.00122)
Число в десятичной системе счисления.
Макс. кол-во цифр: 24.
Макс. кол-во дроб. цифр: 6
0..1
     а) единица измерения
(атрибут measurementUnitCode)
кодовое обозначение единицы измерения-csdo:MeasurementUnitCodeType (M.SDT.00074)
Буквенно-цифровой код.
Шаблон: [0-9A-Z]{2,3}|\d{3,4}
1
     б) идентификатор справочника (классификатора)
(атрибут measurementUnitCodeListId)
идентификатор классификатора единиц измерения-csdo:ReferenceDataIdType (M.SDT.00091)
Нормализованная строка символов.
Мин. длина: 1.
Макс. длина: 20
1
   *.8. Признак наличия набора упакованных единиц во вторичной упаковке лекарственного препарата
(hcsdo:DrugSetIndicator)
признак набора упакованных единиц во вторичной упаковке лекарственного препарата:
1 - лекарственный препарат является набором;
0 - лекарственный препарат не является набором
M.HC.SDE.00619bdt:IndicatorType (M.BDT.00013)
Одно из двух значений: "true" (истина) или "false" (ложь)
1
   *.9. Количество упаковок
(csdo:PackageQuantity)
количество лекарственного препарата (упакованных единиц лекарственного препарата) в промежуточной упаковкеM.SDE.00150csdo:Quantity8Type (M.SDT.00156)
Целое неотрицательное число в десятичной системе счисления.
Макс. кол-во цифр: 8
0..1
  2.5.7. Сведения о производителе
(hccdo:ManufacturingAuthorizationHolderDetails)
сведения о производителе лекарственного препаратаM.HC.CDE.00088hccdo:ManufacturingAuthorizationHolderDetailsType (M.HC.CDT.00654)
Определяется областями значений вложенных элементов
0..*
   а) код языка
(атрибут languageCode)
кодовое обозначение языка, в соответствии с которым заполнены сведения-csdo:LanguageCodeType (M.SDT.00051)
Двухбуквенный код языка в соответствии с ISO 639-1.
Шаблон: [a-z]{2}
0..1
   *.1. Код страны
(csdo:UnifiedCountryCode)
кодовое обозначение страны регистрации хозяйствующего субъектаM.SDE.00162csdo:UnifiedCountryCodeType (M.SDT.00112)
Значение двухбуквенного кода страны в соответствии со справочником (классификатором), идентификатор которого определен в атрибуте "Идентификатор справочника (классификатора)".
Шаблон: [A-Z]{2}
0..1
    а) идентификатор справочника (классификатора)
(атрибут codeListId)
обозначение справочника (классификатора), в соответствии с которым указан код-csdo:ReferenceDataIdType (M.SDT.00091)
Нормализованная строка символов.
Мин. длина: 1.
Макс. длина: 20
1
   *.2. Наименование хозяйствующего субъекта
(csdo:BusinessEntityName)
полное наименование хозяйствующего субъекта или фамилия, имя и отчество физического лица, ведущего хозяйственную деятельностьM.SDE.00187csdo:Name300Type (M.SDT.00056)
Нормализованная строка символов.
Мин. длина: 1.
Макс. длина: 300
0..1
   *.3. Краткое наименование хозяйствующего субъекта
(csdo:BusinessEntityBriefName)
сокращенное наименование хозяйствующего субъекта или фамилия, имя и отчество физического лица, ведущего хозяйственную деятельностьM.SDE.00188csdo:Name120Type (M.SDT.00055)
Нормализованная строка символов.
Мин. длина: 1.
Макс. длина: 120
0..1
   *.4. Код организационно-правовой формы
(csdo:BusinessEntityTypeCode)
кодовое обозначение организационно-правовой формы, в которой зарегистрирован хозяйствующий субъектM.SDE.00023csdo:UnifiedCode20Type (M.SDT.00140)
Значение кода в соответствии со справочником (классификатором), идентификатор которого определен в атрибуте "Идентификатор справочника (классификатора)".
Мин. длина: 1.
Макс. длина: 20
0..1
    а) идентификатор справочника (классификатора)
(атрибут codeListId)
обозначение справочника (классификатора), в соответствии с которым указан код-csdo:ReferenceDataIdType (M.SDT.00091)
Нормализованная строка символов.
Мин. длина: 1.
Макс. длина: 20
1
   *.5. Наименование организационно-правовой формы
(csdo:BusinessEntityTypeName)
наименование организационно-правовой формы, в которой зарегистрирован хозяйствующий субъектM.SDE.00090csdo:Name300Type (M.SDT.00056)
Нормализованная строка символов.
Мин. длина: 1.
Макс. длина: 300
0..1
   *.6. Идентификатор хозяйствующего субъекта
(csdo:BusinessEntityId)
номер (код) записи по реестру (регистру), присвоенный при государственной регистрацииM.SDE.00189csdo:BusinessEntityIdType (M.SDT.00157)
Нормализованная строка символов.
Мин. длина: 1.
Макс. длина: 20
0..1
    а) метод идентификации
(атрибут kindId)
метод идентификации хозяйствующих субъектов-csdo:BusinessEntityIdKindIdType (M.SDT.00158)
Значение идентификатора из справочника методов идентификации хозяйствующих субъектов.
Мин. длина: 1.
Макс. длина: 20
1
   *.7. Уникальный идентификационный таможенный номер
(csdo:UniqueCustomsNumberId)
уникальный идентификационный номер хозяйствующего субъекта, предназначенный для целей таможенного контроляM.SDE.00135csdo:UniqueCustomsNumberIdType (M.SDT.00089)
Нормализованная строка символов.
Мин. длина: 1.
Макс. длина: 17
0..1
   *.8. Идентификатор налогоплательщика
(csdo:TaxpayerId)
идентификатор хозяйствующего субъекта в реестре налогоплательщиков страны регистрации налогоплательщикаM.SDE.00025csdo:TaxpayerIdType (M.SDT.00025)
Значение идентификатора в соответствии с правилами, принятыми в стране регистрации налогоплательщика.
Мин. длина: 1.
Макс. длина: 20
0..1
   *.9. Код причины постановки на учет
(csdo:TaxRegistrationReasonCode)
код, идентифицирующий причину постановки хозяйствующего субъекта на налоговый учет в Российской ФедерацииM.SDE.00030csdo:TaxRegistrationReasonCodeType (M.SDT.00030)
Нормализованная строка символов.
Шаблон: \d{9}
0..1
   *.10. Адрес
(ccdo:AddressV4Details)
адрес хозяйствующего субъектаM.CDE.00076ccdo:AddressDetailsV4Type (M.CDT.00079)
Определяется областями значений вложенных элементов
0..*
    *.10.1. Код вида адреса
(csdo:AddressKindCode)
кодовое обозначение вида адресаM.SDE.00192csdo:AddressKindCodeType (M.SDT.00162)
Значение кода в соответствии со справочником видов адресов.
Мин. длина: 1.
Макс. длина: 20
0..1
    *.10.2. Код страны
(csdo:UnifiedCountryCode)
кодовое обозначение страныM.SDE.00162csdo:UnifiedCountryCodeType (M.SDT.00112)
Значение двухбуквенного кода страны в соответствии со справочником (классификатором), идентификатор которого определен в атрибуте "Идентификатор справочника (классификатора)".
Шаблон: [A-Z]{2}
0..1
     а) идентификатор справочника (классификатора)
(атрибут codeListId)
обозначение справочника (классификатора), в соответствии с которым указан код-csdo:ReferenceDataIdType (M.SDT.00091)
Нормализованная строка символов.
Мин. длина: 1.
Макс. длина: 20
1
    *.10.3. Код территории
(csdo:TerritoryCode)
код единицы административно-территориального деленияM.SDE.00031csdo:TerritoryCodeType (M.SDT.00031)
Нормализованная строка символов.
Мин. длина: 1.
Макс. длина: 17
0..1
    *.10.4. Регион
(csdo:RegionName)
наименование единицы административно-территориального деления первого уровняM.SDE.00007csdo:Name120Type (M.SDT.00055)
Нормализованная строка символов.
Мин. длина: 1.
Макс. длина: 120
0..1
    *.10.5. Район
(csdo:DistrictName)
наименование единицы административно-территориального деления второго уровняM.SDE.00008csdo:Name120Type (M.SDT.00055)
Нормализованная строка символов.
Мин. длина: 1.
Макс. длина: 120
0..1
    *.10.6. Город
(csdo:CityName)
наименование городаM.SDE.00009csdo:Name120Type (M.SDT.00055)
Нормализованная строка символов.
Мин. длина: 1.
Макс. длина: 120
0..1
    *.10.7. Населенный пункт (csdo:SettlementName)наименование населенного пунктаM.SDE.00057csdo:Name120Type (M.SDT.00055)
Нормализованная строка символов.
Мин. длина: 1.
Макс. длина: 120
0..1
    *.10.8. Улица
(csdo:StreetName)
наименование элемента улично-дорожной сети городской инфраструктурыM.SDE.00010csdo:Name120Type (M.SDT.00055)
Нормализованная строка символов.
Мин. длина: 1.
Макс. длина: 120
0..1
    *.10.9. Номер дома
(csdo:BuildingNumberId)
обозначение дома, корпуса, строенияM.SDE.00011csdo:Id50Type (M.SDT.00093)
Нормализованная строка символов.
Мин. длина: 1.
Макс. длина: 50
0..1
    *.10.10. Номер помещения
(csdo:RoomNumberId)
обозначение офиса или квартирыM.SDE.00012csdo:Id20Type (M.SDT.00092)
Нормализованная строка символов.
Мин. длина: 1.
Макс. длина: 20
0..1
    *.10.11. Почтовый индекс
(csdo:PostCode)
почтовый индекс предприятия почтовой связиM.SDE.00006csdo:PostCodeType (M.SDT.00006)
Нормализованная строка символов. Шаблон: [A-Z0-9][A-Z0-9-]{1,8}[A-Z0-9]
0..1
    *.10.12. Номер абонентского ящика
(csdo:PostOfficeBoxId)
номер абонентского ящика на предприятии почтовой связиM.SDE.00013csdo:Id20Type (M.SDT.00092)
Нормализованная строка символов.
Мин. длина: 1.
Макс. длина: 20
0..1
    *.10.13. Адрес в текстовой форме
(csdo:AddressText)
набор элементов адреса, представленных в свободной форме в виде текстаM.SDE.00005csdo:Text1000Type (M.SDT.00071)
Строка символов.
Мин. длина: 1.
Макс. длина: 1000
0..1
   *.11. Контактный реквизит
(ccdo:CommunicationDetails)
контактный реквизит хозяйствующего субъектаM.CDE.00003ccdo:CommunicationDetailsType (M.CDT.00003)
Определяется областями значений вложенных элементов
0..*
    *.11.1. Код вида связи
(csdo:CommunicationChannelCode)
кодовое обозначение вида средства (канала) связи (телефон, факс, электронная почта и др.)M.SDE.00014csdo:CommunicationChannelCodeV2Type (M.SDT.00163)
Значение кода в соответствии с перечнем видов средств (каналов) связи.
Мин. длина: 1.
Макс. длина: 20
0..1
    *.11.2. Наименование вида связи
(csdo:CommunicationChannelName)
наименование вида средства (канала) связи (телефон, факс, электронная почта и др.)M.SDE.00093csdo:Name120Type (M.SDT.00055)
Нормализованная строка символов.
Мин. длина: 1.
Макс. длина: 120
0..1
    *.11.3. Идентификатор канала связи
(csdo:CommunicationChannelId)
последовательность символов, идентифицирующая канал связи (указание номера телефона, факса, адреса электронной почты и др.)M.SDE.00015csdo:CommunicationChannelIdType (M.SDT.00015)
Нормализованная строка символов.
Мин. длина: 1.
Макс. длина: 1000
1..*
   *.12. Сведения о производственной площадке
(hccdo:ManufacturingAreaDetails)
сведения о производственной площадкеM.HC.CDE.00268hccdo:ManufacturingAreaDetailsType (M.HC.CDT.00250)
Определяется областями значений
вложенных элементов
0..*
    *.12.1. Сведения о хозяйствующем субъекте
(hccdo:BusinessEntityExpandedDetails)
сведения о хозяйствующем субъектеM.HC.CDE.00136hccdo:BusinessEntityExpandedDetailsType (M.HC.CDT.00108)
Определяется областями значений вложенных элементов
0..1
     *.12.1.1. Код страны
(csdo:UnifiedCountryCode)
кодовое обозначение страны регистрации хозяйствующего субъектаM.SDE.00162csdo:UnifiedCountryCodeType (M.SDT.00112)
Значение двухбуквенного кода страны в соответствии со справочником (классификатором), идентификатор которого определен в атрибуте "Идентификатор справочника (классификатора)".
Шаблон: [A-Z]{2}
0..1
      а) идентификатор справочника (классификатора)
(атрибут codeListId)
обозначение справочника (классификатора), в соответствии с которым указан код-csdo:ReferenceDataIdType (M.SDT.00091)
Нормализованная строка символов.
Мин. длина: 1.
Макс. длина: 20
1
     *.12.1.2. Наименование хозяйствующего субъекта
(csdo:BusinessEntityName)
полное наименование хозяйствующего субъекта или фамилия, имя и отчество физического лица, ведущего хозяйственную деятельностьM.SDE.00187csdo:Name300Type (M.SDT.00056)
Нормализованная строка символов.
Мин. длина: 1.
Макс. длина: 300
0..1
     *.12.1.3. Краткое наименование хозяйствующего субъекта
(csdo:BusinessEntityBriefName)
сокращенное наименование хозяйствующего субъекта или фамилия, имя и отчество физического лица, ведущего хозяйственную деятельностьM.SDE.00188csdo:Name120Type (M.SDT.00055)
Нормализованная строка символов.
Мин. длина: 1.
Макс. длина: 120
0..1
     *.12.1.4. Код организационно-правовой формы
(csdo:BusinessEntityTypeCode)
кодовое обозначение организационно-правовой формы, в которой зарегистрирован хозяйствующий субъектM.SDE.00023csdo:UnifiedCode20Type (M.SDT.00140)
Значение кода в соответствии со справочником (классификатором), идентификатор которого определен в атрибуте "Идентификатор справочника (классификатора)".
Мин. длина: 1.
Макс. длина: 20
0..1
      а) идентификатор справочника (классификатора)
(атрибут codeListId)
обозначение справочника (классификатора), в соответствии с которым указан код-csdo:ReferenceDataIdType (M.SDT.00091)
Нормализованная строка символов.
Мин. длина: 1.
Макс. длина: 20
1
     *.12.1.5. Наименование организационно-правовой формы
(csdo:BusinessEntityTypeName)
наименование организационно-правовой формы, в которой зарегистрирован хозяйствующий субъектM.SDE.00090csdo:Name300Type (M.SDT.00056)
Нормализованная строка символов.
Мин. длина: 1.
Макс. длина: 300
0..1
     *.12.1.6. Идентификатор хозяйствующего субъекта
(csdo:BusinessEntityId)
номер (код) записи по реестру (регистру), присвоенный при государственной регистрацииM.SDE.00189csdo:BusinessEntityIdType (M.SDT.00157)
Нормализованная строка символов.
Мин. длина: 1.
Макс. длина: 20
0..1
      а) метод идентификации
(атрибут kindId)
метод идентификации хозяйствующих субъектов-csdo:BusinessEntityIdKindIdType (M.SDT.00158)
Значение идентификатора из справочника методов идентификации хозяйствующих субъектов.
Мин. длина: 1.
Макс. длина: 20
1
     *.12.1.7. Уникальный идентификационный таможенный номер
(csdo:UniqueCustomsNumberId)
уникальный идентификационный номер хозяйствующего субъекта, предназначенный для целей таможенного контроляM.SDE.00135csdo:UniqueCustomsNumberIdType (M.SDT.00089)
Нормализованная строка символов.
Мин. длина: 1.
Макс. длина: 17
0..1
     *.12.1.8. Идентификатор налогоплательщика
(csdo:TaxpayerId)
идентификатор хозяйствующего субъекта в реестре налогоплательщиков страны регистрации налогоплательщикаM.SDE.00025csdo:TaxpayerIdType (M.SDT.00025)
Значение идентификатора в соответствии с правилами, принятыми в стране регистрации налогоплательщика.
Мин. длина: 1.
Макс. длина: 20
0..1
     *.12.1.9. Код причины постановки на учет
(csdo:TaxRegistrationReasonCode)
код, идентифицирующий причину постановки хозяйствующего субъекта на налоговый учет в Российской ФедерацииM.SDE.00030csdo:TaxRegistrationReasonCodeType (M.SDT.00030)
Нормализованная строка символов.
Шаблон: \d{9}
0..1
     *.12.1.10. Адрес
(ccdo:AddressV4Details)
адрес хозяйствующего субъектаM.CDE.00076ccdo:AddressDetailsV4Type (M.CDT.00079)
Определяется областями значений вложенных элементов
0..*
      *.12.1.10.1. Код вида адреса
(csdo:AddressKindCode)
кодовое обозначение вида адресаM.SDE.00192csdo:AddressKindCodeType (M.SDT.00162)
Значение кода в соответствии со справочником видов адресов.
Мин. длина: 1.
Макс. длина: 20
0..1
      *.12.1.10.2. Код страны
(csdo:UnifiedCountryCode)
кодовое обозначение страныM.SDE.00162csdo:UnifiedCountryCodeType (M.SDT.00112)
Значение двухбуквенного кода страны в соответствии со справочником (классификатором), идентификатор которого определен в атрибуте "Идентификатор справочника (классификатора)".
Шаблон: [A-Z]{2}
0..1
       а) идентификатор справочника (классификатора)
(атрибут codeListId)
обозначение справочника (классификатора), в соответствии с которым указан код-csdo:ReferenceDataIdType (M.SDT.00091)
Нормализованная строка символов.
Мин. длина: 1.
Макс. длина: 20
1
      *.12.1.10.3. Код территории
(csdo:TerritoryCode)
код единицы административно-территориального деленияM.SDE.00031csdo:TerritoryCodeType (M.SDT.00031)
Нормализованная строка символов.
Мин. длина: 1.
Макс. длина: 17
0..1
      *.12.1.10.4. Регион
(csdo:RegionName)
наименование единицы административно-территориального деления первого уровняM.SDE.00007csdo:Name120Type (M.SDT.00055)
Нормализованная строка символов.
Мин. длина: 1.
Макс. длина: 120
0..1
      *.12.1.10.5. Район
(csdo:DistrictName)
наименование единицы административно-территориального деления второго уровняM.SDE.00008csdo:Name120Type (M.SDT.00055)
Нормализованная строка символов.
Мин. длина: 1.
Макс. длина: 120
0..1
      *.12.1.10.6. Город
(csdo:CityName)
наименование городаM.SDE.00009csdo:Name120Type (M.SDT.00055)
Нормализованная строка символов.
Мин. длина: 1.
Макс. длина: 120
0..1
      *.12.1.10.7. Населенный пункт
(csdo:SettlementName)
наименование населенного пунктаM.SDE.00057csdo:Name120Type (M.SDT.00055)
Нормализованная строка символов.
Мин. длина: 1.
Макс. длина: 120
0..1
      *.12.1.10.8. Улица
(csdo:StreetName)
наименование элемента улично-дорожной сети городской инфраструктурыM.SDE.00010csdo:Name120Type (M.SDT.00055)
Нормализованная строка символов.
Мин. длина: 1.
Макс. длина: 120
0..1
      *.12.1.10.9. Номер дома
(csdo:BuildingNumberId)
обозначение дома, корпуса, строенияM.SDE.00011csdo:Id50Type (M.SDT.00093)
Нормализованная строка символов.
Мин. длина: 1.
Макс. длина: 50
0..1
      *.12.1.10.10. Номер помещения
(csdo:RoomNumberId)
обозначение офиса или квартирыM.SDE.00012csdo:Id20Type (M.SDT.00092)
Нормализованная строка символов.
Мин. длина: 1.
Макс. длина: 20
0..1
      *.12.1.10.11.
Почтовый индекс (csdo:PostCode)
почтовый индекс предприятия почтовой связиM.SDE.00006csdo:PostCodeType (M.SDT.00006)
Нормализованная строка символов. Шаблон: [A-Z0-9][A-Z0-9-]{1,8}[A-Z0-9]
0..1
      *.12.1.10.12. Номер абонентского ящика
(csdo:PostOfficeBoxId)
номер абонентского ящика на предприятии почтовой связиM.SDE.00013csdo:Id20Type (M.SDT.00092)
Нормализованная строка символов.
Мин. длина: 1.
Макс. длина: 20
0..1
      *.12.1.10.13. Адрес в текстовой форме
(csdo:AddressText)
набор элементов адреса, представленных в свободной форме в виде текстаM.SDE.00005csdo:Text1000Type (M.SDT.00071)
Строка символов.
Мин. длина: 1.
Макс. длина: 1000
0..1
     *.12.1.11. Контактный реквизит
(ccdo:CommunicationDetails)
контактный реквизит хозяйствующего субъектаM.CDE.00003ccdo:CommunicationDetailsType
(M.CDT.00003)
Определяется областями значений вложенных элементов
0..*
      *.12.1.11.1. Код вида связи
(csdo:CommunicationChannelCode)
кодовое обозначение вида средства (канала) связи (телефон, факс, электронная почта и др.)M.SDE.00014csdo:CommunicationChannelCodeV2Type (M.SDT.00163)
Значение кода в соответствии с перечнем видов средств (каналов) связи.
Мин. длина: 1.
Макс. длина: 20
0..1
      *.12.1.11.2. Наименование вида связи
(csdo:CommunicationChannelName)
наименование вида средства (канала) связи (телефон, факс, электронная почта и др.)M.SDE.00093csdo:Name120Type (M.SDT.00055)
Нормализованная строка символов.
Мин. длина: 1.
Макс. длина: 120
0..1
      *.12.1.11.3. Идентификатор канала связи
(csdo:CommunicationChannelId)
последовательность символов, идентифицирующая канал связи (указание номера телефона, факса, адреса электронной почты и др.)M.SDE.00015csdo:CommunicationChannelIdType (M.SDT.00015)
Нормализованная строка символов.
Мин. длина: 1.
Макс. длина: 1000
1..*
    *.12.2. Сведения об этапе производства
(hccdo:ManufactureStageDetails)
сведения об этапе производстваM.HC.CDE.00769hccdo:ManufactureStageDetailsType (M.HC.CDT.00795)
Определяется областями значений вложенных элементов
1..*
     *.12.2.1. Код этапа производства лекарственного средства
(hcsdo:ManufacturingStageCode)
кодовое обозначение этапа производства лекарственного средстваM.HC.SDE.00026hcsdo:ManufacturingStageCodeType (M.HC.SDT.00006)
Значение кода этапа (стадии) производства в соответствии со справочником (классификатором), идентификатор которого определен в атрибуте "Идентификатор справочника (классификатора)".
Мин. длина: 1.
Макс. длина: 3
0..1
      а) идентификатор справочника (классификатора)
(атрибут codeListId)
обозначение справочника (классификатора), в соответствии с которым указан код-csdo:ReferenceDataIdType (M.SDT.00091)
Нормализованная строка символов.
Мин. длина: 1.
Макс. длина: 20
1
     *.12.2.2. Наименование этапа производства лекарственного средства
(hcsdo:ManufacturingStageName)
наименование этапа производства лекарственного средстваM.HC.SDE.00065csdo:Name500Type (M.SDT.00134)
Нормализованная строка символов.
Мин. длина: 1.
Макс. длина: 500
0..1
  2.5.8. Сведения о держателе (заявителе) регистрационного удостоверения
(hccdo:RegistrationCertificateHolderDetails)
сведения об организации - держателе регистрационного удостоверения на лекарственный препарат или о заявителе, подавшем заявление на регистрацию лекарственного препаратаM.HC.CDE.00089hccdo:BusinessEntityExpandedDetailsType (M.HC.CDT.00108)
Определяется областями значений вложенных элементов
0..1
   *.1. Код страны
(csdo:UnifiedCountryCode)
кодовое обозначение страны регистрации хозяйствующего субъектаM.SDE.00162csdo:UnifiedCountryCodeType (M.SDT.00112)
Значение двухбуквенного кода страны в соответствии со справочником (классификатором), идентификатор которого определен в атрибуте "Идентификатор справочника (классификатора)".
Шаблон: [A-Z]{2}
0..1
    а) идентификатор справочника (классификатора)
(атрибут codeListId)
обозначение справочника (классификатора), в соответствии с которым указан код-csdo:ReferenceDataIdType (M.SDT.00091)
Нормализованная строка символов.
Мин. длина: 1.
Макс. длина: 20
1
   *.2. Наименование хозяйствующего субъекта
(csdo:BusinessEntityName)
полное наименование хозяйствующего субъекта или фамилия, имя и отчество физического лица, ведущего хозяйственную деятельностьM.SDE.00187csdo:Name300Type (M.SDT.00056)
Нормализованная строка символов.
Мин. длина: 1.
Макс. длина: 300
0..1
   *.3. Краткое наименование хозяйствующего субъекта
(csdo:BusinessEntityBriefName)
сокращенное наименование хозяйствующего субъекта или фамилия, имя и отчество физического лица, ведущего хозяйственную деятельностьM.SDE.00188csdo:Name120Type (M.SDT.00055)
Нормализованная строка символов.
Мин. длина: 1.
Макс. длина: 120
0..1
   *.4. Код организационно-правовой формы
(csdo:BusinessEntityTypeCode)
кодовое обозначение организационно-правовой формы, в которой зарегистрирован хозяйствующий субъектM.SDE.00023csdo:UnifiedCode20Type (M.SDT.00140)
Значение кода в соответствии со справочником (классификатором), идентификатор которого определен в атрибуте "Идентификатор справочника (классификатора)".
Мин. длина: 1.
Макс. длина: 20
0..1
    а) идентификатор справочника (классификатора)
(атрибут codeListId)
обозначение справочника (классификатора), в соответствии с которым указан код-csdo:ReferenceDataIdType (M.SDT.00091)
Нормализованная строка символов.
Мин. длина: 1.
Макс. длина: 20
1
   *.5. Наименование организационно-правовой формы
(csdo:BusinessEntityTypeName)
наименование организационно-правовой формы, в которой зарегистрирован хозяйствующий субъектM.SDE.00090csdo:Name300Type (M.SDT.00056)
Нормализованная строка символов.
Мин. длина: 1.
Макс. длина: 300
0..1
   *.6. Идентификатор хозяйствующего субъекта
(csdo:BusinessEntityId)
номер (код) записи по реестру (регистру), присвоенный при государственной регистрацииM.SDE.00189csdo:BusinessEntityIdType (M.SDT.00157)
Нормализованная строка символов.
Мин. длина: 1.
Макс. длина: 20
0..1
    а) метод идентификации
(атрибут kindId)
метод идентификации хозяйствующих субъектов-csdo:BusinessEntityIdKindIdType (M.SDT.00158)
Значение идентификатора из справочника методов идентификации хозяйствующих субъектов.
Мин. длина: 1.
Макс. длина: 20
1
   *.7. Уникальный идентификационный таможенный номер
(csdo:UniqueCustomsNumberId)
уникальный идентификационный номер хозяйствующего субъекта, предназначенный для целей таможенного контроляM.SDE.00135csdo:UniqueCustomsNumberIdType (M.SDT.00089)
Нормализованная строка символов.
Мин. длина: 1.
Макс. длина: 17
0..1
   *.8. Идентификатор налогоплательщика
(csdo:TaxpayerId)
идентификатор хозяйствующего субъекта в реестре налогоплательщиков страны регистрации налогоплательщикаM.SDE.00025csdo:TaxpayerIdType (M.SDT.00025)
Значение идентификатора в соответствии с правилами, принятыми в стране регистрации налогоплательщика.
Мин. длина: 1.
Макс. длина: 20
0..1
   *.9. Код причины постановки на учет
(csdo:TaxRegistrationReasonCode)
код, идентифицирующий причину постановки хозяйствующего субъекта на налоговый учет в Российской ФедерацииM.SDE.00030csdo:TaxRegistrationReasonCodeType (M.SDT.00030)
Нормализованная строка символов.
Шаблон: \d{9}
0..1
   *.10. Адрес
(ccdo:AddressV4Details)
адрес хозяйствующего субъектаM.CDE.00076ccdo:AddressDetailsV4Type (M.CDT.00079)
Определяется областями значений
вложенных элементов
0..*
    *.10.1. Код вида адреса
(csdo:AddressKindCode)
кодовое обозначение вида адресаM.SDE.00192csdo:AddressKindCodeType (M.SDT.00162)
Значение кода в соответствии со справочником видов адресов.
Мин. длина: 1.
Макс. длина: 20
0..1
    *.10.2. Код страны
(csdo:UnifiedCountryCode)
кодовое обозначение страныM.SDE.00162csdo:UnifiedCountryCodeType (M.SDT.00112)
Значение двухбуквенного кода страны в соответствии со справочником (классификатором), идентификатор которого определен в атрибуте "Идентификатор справочника (классификатора)".
Шаблон: [A-Z]{2}
0..1
     а) идентификатор справочника (классификатора)
(атрибут codeListId)
обозначение справочника (классификатора), в соответствии с которым указан код-csdo:ReferenceDataIdType (M.SDT.00091)
Нормализованная строка символов.
Мин. длина: 1.
Макс. длина: 20
1
    *.10.3. Код территории
(csdo:TerritoryCode)
код единицы административно-территориального деленияM.SDE.00031csdo:TerritoryCodeType (M.SDT.00031)
Нормализованная строка символов.
Мин. длина: 1.
Макс. длина: 17
0..1
    *.10.4. Регион
(csdo:RegionName)
наименование единицы административно-территориального деления первого уровняM.SDE.00007csdo:Name120Type (M.SDT.00055)
Нормализованная строка символов.
Мин. длина: 1.
Макс. длина: 120
0..1
    *.10.5. Район
(csdo:DistrictName)
наименование единицы административно-территориального деления второго уровняM.SDE.00008csdo:Name120Type (M.SDT.00055)
Нормализованная строка символов.
Мин. длина: 1.
Макс. длина: 120
0..1
    *.10.6. Город
(csdo:CityName)
наименование городаM.SDE.00009csdo:Name120Type (M.SDT.00055)
Нормализованная строка символов.
Мин. длина: 1.
Макс. длина: 120
0..1
    *.10.7. Населенный пункт
(csdo:SettlementName)
наименование населенного пунктаM.SDE.00057csdo:Name120Type (M.SDT.00055)
Нормализованная строка символов.
Мин. длина: 1.
Макс. длина: 120
0..1
    *.10.8. Улица
(csdo:StreetName)
наименование элемента улично-дорожной сети городской инфраструктурыM.SDE.00010csdo:Name120Type (M.SDT.00055)
Нормализованная строка символов.
Мин. длина: 1.
Макс. длина: 120
0..1
    *.10.9. Номер дома
(csdo:BuildingNumberId)
обозначение дома, корпуса, строенияM.SDE.00011csdo:Id50Type (M.SDT.00093)
Нормализованная строка символов.
Мин. длина: 1.
Макс. длина: 50
0..1
    *.10.10. Номер помещения
(csdo:RoomNumberId)
обозначение офиса или квартирыM.SDE.00012csdo:Id20Type (M.SDT.00092)
Нормализованная строка символов.
Мин. длина: 1.
Макс. длина: 20
0..1
    *.10.11. Почтовый индекс
(csdo:PostCode)
почтовый индекс предприятия почтовой связиM.SDE.00006csdo:PostCodeType (M.SDT.00006)
Нормализованная строка символов. Шаблон: [A-Z0-9][A-Z0-9-]{1,8}[A-Z0-9]
0..1
    *.10.12. Номер абонентского ящика
(csdo:PostOfficeBoxId)
номер абонентского ящика на предприятии почтовой связиM.SDE.00013csdo:Id20Type (M.SDT.00092)
Нормализованная строка символов.
Мин. длина: 1.
Макс. длина: 20
0..1
    *.10.13. Адрес в текстовой форме
(csdo:AddressText)
набор элементов адреса, представленных в свободной форме в виде текстаM.SDE.00005csdo:Text1000Type (M.SDT.00071)
Строка символов.
Мин. длина: 1.
Макс. длина: 1000
0..1
   *.11. Контактный реквизит
(ccdo:CommunicationDetails)
контактный реквизит хозяйствующего субъектаM.CDE.00003ccdo:CommunicationDetailsType (M.CDT.00003)
Определяется областями значений вложенных элементов
0..*
    *.11.1. Код вида связи
(csdo:CommunicationChannelCode)
кодовое обозначение вида средства (канала) связи (телефон, факс, электронная почта и др.)M.SDE.00014csdo:CommunicationChannelCodeV2Type (M.SDT.00163)
Значение кода в соответствии с перечень видов средств (каналов) связи.
Мин. длина: 1.
Макс. длина: 20
0..1
    *.11.2. Наименование вида связи
(csdo:CommunicationChannelName)
наименование вида средства (канала) связи (телефон, факс, электронная почта и др.)M.SDE.00093csdo:Name120Type (M.SDT.00055)
Нормализованная строка символов.
Мин. длина: 1.
Макс. длина: 120
0..1
    *.11.3. Идентификатор канала связи
(csdo:CommunicationChannelId)
последовательность символов, идентифицирующая канал связи (указание номера телефона, факса, адреса электронной почты и др.)M.SDE.00015csdo:CommunicationChannelIdType (M.SDT.00015)
Нормализованная строка символов.
Мин. длина: 1.
Макс. длина: 1000
1..*
 2.6. Код вида процедуры регистрации
(hcsdo:RegistrationKindCode)
кодовое обозначение вида процедуры регистрацииM.HC.SDE.00425csdo:Code10Type (M.SDT.00179)
Нормализованная строка символов.
Мин. длина: 1.
Макс. длина: 10
0..1
 2.7. Примечание
(csdo:NoteText)
дополнительный поясняющий текстM.SDE.00076csdo:Text4000Type (M.SDT.00088)
Строка символов.
Мин. длина: 1.
Макс. длина: 4000
0..1
 2.8. Сведения об этапе рассмотрения заявления на регистрацию лекарственного препарата
(hccdo:ApplicationStatusDetails)
сведения об этапе рассмотрения заявления на регистрацию лекарственного препаратаM.HC.CDE.00912hccdo:ApplicationStatusDetailsType (M.HC.CDT.00912)
Определяется областями значений вложенных элементов
0..1
  2.8.1. Код этапа рассмотрения заявления на регистрацию лекарственного препарата
(hcsdo:ApplicationStatusCode)
кодовое обозначение этапа рассмотрения заявления на регистрацию лекарственного препаратаM.HC.SDE.00082hcsdo:ApplicationStatusCodeType (M.HC.SDT.00012)
Нормализованная строка символов
0..1
  2.8.2. Наименование этапа рассмотрения заявления на регистрацию лекарственного препарата
(hcsdo:ApplicationStatusName)
наименование этапа рассмотрения заявления на регистрацию лекарственного препаратаM.HC.SDE.00698csdo:Name500Type (M.SDT.00134)
Нормализованная строка символов.
Мин. длина: 1.
Макс. длина: 500
0..1
  2.8.3. Дата
(csdo:EventDate)
дата изменения этапа рассмотрения регистрационного досьеM.SDE.00131bdt:DateType (M.BDT.00005)
Обозначение даты в соответствии с серией стандартов ISO 8601
0..1
 2.9. Код причины невозможности рассмотрения заявления
(hcsdo:ApprovalImpossibilityReasonCode)
кодовое обозначение причины невозможности рассмотрения заявления на проведение процедур, связанных с регистрацией и экспертизой лекарственного препаратаM.HC.SDE.00488csdo:Code2Type (M.SDT.00170)
Нормализованная строка символов. Длина: 2
0..1
 2.10. Сведения о документе регистрационного досье (дела)
(hccdo:RegistrationDossierDocDetails)
сведения о документе регистрационного досье (дела)M.HC.CDE.00044hccdo:RegistrationDossierDocDetailsType (M.HC.CDT.00023)
Определяется областями значений вложенных элементов
0..*
  2.10.1. Признак принадлежности документа к регистрационному досье
(hcsdo:RegistrationFileIndicator)
признак, определяющий принадлежность документа к регистрационному досье:
1 - документ регистрационного досье;
0 - документ регистрационного дела
M.HC.SDE.00527bdt:IndicatorType (M.BDT.00013)
Одно из двух значений: "true" (истина) или "false" (ложь)
0..1
  2.10.2. Номер документа
(csdo:DocId)
номер документа регистрационного дела (досье)M.SDE.00044csdo:Id50Type (M.SDT.00093)
Нормализованная строка символов.
Мин. длина: 1.
Макс. длина: 50
0..1
  2.10.3. Наименование документа
(csdo:DocName)
наименование документа регистрационного дела (досье)M.SDE.00108csdo:Name500Type (M.SDT.00134)
Нормализованная строка символов.
Мин. длина: 1.
Макс. длина: 500
0..1
  2.10.4. Код вида документа регистрационного досье на лекарственный препарат
(hcsdo:DrugRegistrationDocCode)
кодовое обозначение вида документа регистрационного досье на лекарственный препаратM.HC.SDE.00098hcsdo:DrugRegistrationDocCodeType (M.HC.SDT.00022)
Значение кода вида документа в соответствии со справочником (классификатором), идентификатор которого определен в атрибуте "Идентификатор справочника (классификатора)".
Мин. длина: 1.
Макс. длина: 10
0..1
   а) идентификатор справочника (классификатора)
(атрибут codeListId)
обозначение справочника (классификатора), в соответствии с которым указан код-csdo:ReferenceDataIdType (M.SDT.00091)
Нормализованная строка символов.
Мин. длина: 1.
Макс. длина: 20
1
  2.10.5. Наименование вида документа регистрационного досье на лекарственный препарат
(hcsdo:DrugRegistrationDocName)
наименование вида документа регистрационного досье на лекарственный препаратM.HC.SDE.00789csdo:Name500Type (M.SDT.00134)
Нормализованная строка символов.
Мин. длина: 1.
Макс. длина: 500
0..1
  2.10.6. Код вида документа регистрационного дела на лекарственный препарат
(hcsdo:DrugRegistrationFileCode)
кодовое обозначение вида документа регистрационного дела на лекарственный препаратM.HC.SDE.00528hcsdo:DrugRegistrationFileCodeType (M.HC.SDT.00024)
Значение кода вида документа в соответствии со справочником (классификатором), идентификатор которого определен в атрибуте "Идентификатор справочника (классификатора)".
Мин. длина: 1.
Макс. длина: 10
0..1
   а) идентификатор справочника (классификатора)
(атрибут codeListId)
обозначение справочника (классификатора), в соответствии с которым указан код-csdo:ReferenceDataIdType (M.SDT.00091)
Нормализованная строка символов.
Мин. длина: 1.
Макс. длина: 20
1
  2.10.7. Наименование вида документа регистрационного дела на лекарственный препарат
(hcsdo:DrugRegistrationFileName)
наименование вида документа регистрационного дела на лекарственный препаратM.HC.SDE.00901csdo:Name500Type (M.SDT.00134)
Нормализованная строка символов.
Мин. длина: 1.
Макс. длина: 500
0..1
  2.10.8. Дата документа
(csdo:DocCreationDate)
дата выдачи документа регистрационного дела (досье)M.SDE.00045bdt:DateType (M.BDT.00005)
Обозначение даты в соответствии с серией стандартов ISO 8601
0..1
  2.10.9. Дата истечения срока действия документа
(csdo:DocValidityDate)
дата истечения срока действия документа регистрационного дела (досье)M.SDE.00052bdt:DateType (M.BDT.00005)
Обозначение даты в соответствии с серией стандартов ISO 8601
0..1
  2.10.10. Наименование хозяйствующего субъекта
(csdo:BusinessEntityName)
наименование организации, выдавшей документ регистрационного дела (досье)M.SDE.00187csdo:Name300Type (M.SDT.00056)
Нормализованная строка символов.
Мин. длина: 1.
Макс. длина: 300
0..1
  2.10.11. Описание элемента документа
(hcsdo:DrugAttributeEnumText)
описание дополнительного признака документаM.HC.SDE.01436hcsdo:AttributeTextType (M.HC.SDT.00215)
Строка символов.
Мин. длина: 1.
Макс. длина: 4000
0..*
   а) код вида элемента документа
(атрибут DrugAttributeKindEnumCode)
кодовое обозначение вида дополнительного признака документа регистрационного дела (досье)-csdo:Code10Type (M.SDT.00179)
Нормализованная строка символов.
Мин. длина: 1.
Макс. длина: 10
0..1
   б) наименование вида элемента документа
(атрибут AttributeKindName)
наименование вида дополнительного признака документа регистрационного дела (досье)-csdo:Name500Type (M.SDT.00134)
Нормализованная строка символов.
Мин. длина: 1.
Макс. длина: 500
0..1
  2.10.12. Документ в бинарном формате
(hcsdo:DocCopyBinaryText)
документ регистрационного дела (досье) в формате PDFM.HC.SDE.01435csdo:BinaryTextType (M.SDT.00143)
Конечная последовательность двоичных октетов (байтов)
0..1
   а) код формата данных
(атрибут mediaTypeCode)
кодовое обозначение формата данных-csdo:MediaTypeCodeType (M.SDT.00147)
Значение кода в соответствии со справочником форматов данных.
Мин. длина: 1.
Макс. длина: 255
0..1
  2.10.13. XML-документ
(ccdo:AnyDetails)
документ регистрационного дела (досье) в формате XMLM.CDE.00081ccdo:AnyDetailsType (M.CDT.00086)
Определяется областями значений вложенных элементов
0..1
   *.1. XML-документсодержимое XML-документа произвольной структуры-произвольный элемент.
Пространство имен: любое.
Валидация: производится всегда
1..*
  2.10.14. Последовательность представления досье
(hcsdo:SubmissionSequence)
порядковый номер в последовательности представления досьеM.HC.SDE.00102csdo:Code10Type (M.SDT.00179)
Нормализованная строка символов.
Мин. длина: 1.
Макс. длина: 10
0..1
  2.10.15. Атрибут операции
(hcsdo:OperationAtribute)
сведения об операции, выполняемой над документом досьеM.HC.SDE.00103csdo:Code20Type (M.SDT.00160)
Нормализованная строка символов.
Мин. длина: 1.
Макс. длина: 20
0..1
  2.10.16. Наименование активной фармацевтической субстанции
(hcsdo:ActiveSubstanceName)
наименование активной фармацевтической субстанцииM.HC.SDE.00620csdo:Name500Type (M.SDT.00134)
Нормализованная строка символов.
Мин. длина: 1.
Макс. длина: 500
0..1
  2.10.17. Наименование вспомогательного вещества, входящего в состав лекарственного препарата
(hcsdo:AuxiliarySubstanceName)
наименование вспомогательного вещества, входящего в состав лекарственного препаратаM.HC.SDE.00044csdo:Name500Type (M.SDT.00134)
Нормализованная строка символов.
Мин. длина: 1.
Макс. длина: 500
0..1
  2.10.18. Наименование фармацевтического продукта
(hcsdo:DrugProductName)
наименование фармацевтического продуктаM.HC.SDE.00252csdo:Name250Type (M.SDT.00068)
Нормализованная строка символов.
Мин. длина: 1.
Макс. длина: 250
0..1
  2.10.19. Описание показаний к применению
(hcsdo:IndicationText)
описание показания к применениюM.HC.SDE.00079csdo:Text4000Type (M.SDT.00088)
Строка символов.
Мин. длина: 1.
Макс. длина: 4000
0..1
  2.10.20. Наименование производителя
(hcsdo:ManufacturerName)
наименование производителяM.HC.SDE.00235csdo:Name300Type (M.SDT.00056)
Нормализованная строка символов.
Мин. длина: 1.
Макс. длина: 300
0..1
  2.10.21. Уникальный идентификатор документа
(hcsdo:DocUUId)
уникальный идентификатор документа регистрационного дела (досье)M.HC.SDE.02010csdo:UniversallyUniqueIdType (M.SDT.90003)
Значение идентификатора в соответствии с ISO/IEC 9834-8.
Шаблон: [0-9a-fA-F]{8}-[0-9a-fA-F]{4}-[0-9a-fA-F]{4}-[0-9a-fA-F]{4}-[0-9a-fA-F]{12}
0..1
 2.11. Технологические характеристики записи общего ресурса
(ccdo:ResourceItemStatusDetails)
совокупность технологических сведений о записи общего ресурсаM.CDE.00032ccdo:ResourceItemStatusDetailsType (M.CDT.00033)
Определяется областями значений вложенных элементов
0..1
  2.11.1. Период действия
(ccdo:ValidityPeriodDetails)
период действия записи общего ресурса (реестра, перечня, базы данных)M.CDE.00033ccdo:PeriodDetailsType (M.CDT.00026)
Определяется областями значений вложенных элементов
0..1
   *.1. Начальная дата и время
(csdo:StartDateTime)
начальная дата и времяM.SDE.00133bdt:DateTimeType (M.BDT.00006)
Обозначение даты и времени в соответствии с серией стандартов ISO 8601
0..1
   *.2. Конечная дата и время
(csdo:EndDateTime)
конечная дата и времяM.SDE.00134bdt:DateTimeType (M.BDT.00006)
Обозначение даты и времени в соответствии с серией стандартов ISO 8601
0..1
  2.11.2. Дата и время обновления
(csdo:UpdateDateTime)
дата и время обновления записи общего ресурса (реестра, перечня, базы данных)M.SDE.00079bdt:DateTimeType (M.BDT.00006)
Обозначение даты и времени в соответствии с серией стандартов ISO 8601
0..1
 

28. Описание структуры электронного документа (сведений) "Состояние актуализации единого реестра" (R.HC.MM.01.007) приведено в таблице 20.

Таблица 20

Описание структуры электронного документа (сведений) "Состояние актуализации единого реестра" (R.HC.MM.01.007)

N п/пОбозначение элементаОписание
123
1Имясостояние актуализации единого реестра
2ИдентификаторR.HC.MM.01.007
3Версия1.3.0
4Определениесведения для актуализации единого реестра
5Использованиеиспользуется для запроса актуальных или полных (измененных, обновленных) сведений единого реестра
6Идентификатор пространства именurn:EEC:R:HC:MM:01:DrugRegistrationStatusDetails:v1.3.0
7Корневой элемент XML-документаDrugRegistrationStatusDetails
8Имя файла XML-схемыEEC_R_HC_MM_01_DrugRegistrationStatusDetails_v1.3.0.xsd

29. Импортируемые пространства имен приведены в таблице 21.

Таблица 21

Импортируемые пространства имен

N п/пИдентификатор пространства именПрефикс
123
1urn:EEC:M:ComplexDataObjects:vX.X.Xccdo
2urn:EEC:M:HC:ComplexDataObjects:vZ.Z.Zhccdo
3urn:EEC:M:HC:SimpleDataObjects:vZ.Z.Zhcsdo
4urn:EEC:M:SimpleDataObjects:vX.X.Xcsdo

Символы "X.X.X" и "Z.Z.Z" в импортируемых пространствах имен соответствуют номеру версии базисной модели данных и модели данных предметной области, использованных при разработке в соответствии с настоящим Описанием технической схемы структуры электронного документа (сведений), подлежащей включению в реестр структур электронных документов и сведений.

30. Реквизитный состав структуры электронного документа (сведений) "Состояние актуализации единого реестра" (R.HC.MM.01.007) приведен в таблице 22.

Таблица 22

Реквизитный состав структуры электронного документа (сведений) "Состояние актуализации единого реестра" (R.HC.MM.01.007)

 
Имя реквизитаОписание реквизитаИдентификаторТип данныхМн.
1. Заголовок электронного документа (сведений)
(ccdo:EDocHeader)
совокупность технологических реквизитов электронного документа (сведений)M.CDE.90001ccdo:EDocHeaderType (M.CDT.90001)
Определяется областями значений вложенных элементов
1
 1.1. Код сообщения общего процесса
(csdo:InfEnvelopeCode)
кодовое обозначение сообщения общего процессаM.SDE.90010csdo:InfEnvelopeCodeType (M.SDT.90004)
Значение кода в соответствии с Регламентом информационного взаимодействия.
Шаблон: P\.[A-Z]{2}\.[0-9]{2}\.MSG\.[0-9]{3}
1
 1.2. Код электронного документа (сведений)
(csdo:EDocCode)
кодовое обозначение электронного документа (сведений) в соответствии с реестром структур электронных документов и сведенийM.SDE.90001csdo:EDocCodeType (M.SDT.90001)
Значение кода в соответствии с реестром структур электронных документов и сведений.
Шаблон: R(\.[A-Z]{2}\.[A-Z]{2}\.[0-9]{2})?\.[0-9]{3}
1
 1.3. Идентификатор электронного документа (сведений)
(csdo:EDocId)
строка символов, однозначно идентифицирующая электронный документ (сведения)M.SDE.90007csdo:UniversallyUniqueIdType (M.SDT.90003)
Значение идентификатора в соответствии с ISO/IEC 9834-8.
Шаблон: [0-9a-fA-F]{8}-[0-9a-fA-F]{4}-[0-9a-fA-F]{4}-[0-9a-fA-F]{4}-[0-9a-fA-F]{12}
1
 1.4. Идентификатор исходного электронного документа (сведений)
(csdo:EDocRefId)
идентификатор электронного документа (сведений), в ответ на который был сформирован данный электронный документ (сведения)M.SDE.90008csdo:UniversallyUniqueIdType (M.SDT.90003)
Значение идентификатора в соответствии с ISO/IEC 9834-8.
Шаблон: [0-9a-fA-F]{8}-[0-9a-fA-F]{4}-[0-9a-fA-F]{4}-[0-9a-fA-F]{4}-[0-9a-fA-F]{12}
0..1
 1.5. Дата и время электронного документа (сведений)
(csdo:EDocDateTime)
дата и время создания электронного документа (сведений)M.SDE.90002bdt:DateTimeType (M.BDT.00006)
Обозначение даты и времени в соответствии с серией стандартов ISO 8601
1
 1.6. Код языка
(csdo:LanguageCode)
кодовое обозначение языкаM.SDE.00051csdo:LanguageCodeType (M.SDT.00051)
Двухбуквенный код языка в соответствии с ISO 639-1.
Шаблон: [a-z]{2}
0..1
2. Дата и время обновления
(csdo:UpdateDateTime)
дата и время обновления единого реестраM.SDE.00079bdt:DateTimeType (M.BDT.00006)
Обозначение даты и времени в соответствии с серией стандартов ISO 8601
0..1
3. Код страны
(csdo:UnifiedCountryCode)
кодовое обозначение страны, представившей сведения в единый реестрM.SDE.00162csdo:UnifiedCountryCodeType (M.SDT.00112)
Значение двухбуквенного кода страны в соответствии со справочником (классификатором), идентификатор которого определен в атрибуте "Идентификатор справочника (классификатора)".
Шаблон: [A-Z]{2}
0..*
 а) идентификатор справочника (классификатора)
(атрибут codeListId)
обозначение справочника (классификатора), в соответствии с которым указан код-csdo:ReferenceDataIdType (M.SDT.00091)
Нормализованная строка символов.
Мин. длина: 1.
Макс. длина: 20
1
4. Начальная дата и время
(csdo:StartDateTime)
начальная дата и время изменения сведений в едином реестреM.SDE.00133bdt:DateTimeType (M.BDT.00006)
Обозначение даты и времени в соответствии с серией стандартов ISO 8601
0..1
5. Конечная дата и время
(csdo:EndDateTime)
конечная дата и время изменения сведений в едином реестреM.SDE.00134bdt:DateTimeType (M.BDT.00006)
Обозначение даты и времени в соответствии с серией стандартов ISO 8601
0..1
 

".

5. Порядок присоединения к общему процессу "Формирование, ведение и использование единого реестра зарегистрированных лекарственных средств Евразийского экономического союза", утвержденный указанным Решением, изложить в следующей редакции:

"Утвержден

Решением Коллегии

Евразийской экономической комиссии

от 25 октября 2016 г. N 122

(в редакции Решения Коллегии

Евразийской экономической комиссии

от 24 декабря 2025 г. N 140)

ПОРЯДОК ПРИСОЕДИНЕНИЯ К ОБЩЕМУ ПРОЦЕССУ "ФОРМИРОВАНИЕ, ВЕДЕНИЕ И ИСПОЛЬЗОВАНИЕ ЕДИНОГО РЕЕСТРА ЗАРЕГИСТРИРОВАННЫХ ЛЕКАРСТВЕННЫХ СРЕДСТВ ЕВРАЗИЙСКОГО ЭКОНОМИЧЕСКОГО СОЮЗА"

I. Общие положения

1. Настоящий Порядок разработан в соответствии со следующими международными договорами и актами, составляющими право Евразийского экономического союза (далее - Союз):

Договор о Евразийском экономическом союзе от 29 мая 2014 года;

Соглашение о единых принципах и правилах обращения лекарственных средств в рамках Евразийского экономического союза от 23 декабря 2014 года;

Решение Совета Евразийской экономической комиссии от 3 ноября 2016 г. N 78 "О Правилах регистрации и экспертизы лекарственных средств для медицинского применения";

Решение Совета Евразийской экономической комиссии от 3 ноября 2016 г. N 84 "О порядках формирования и ведения единого реестра зарегистрированных лекарственных средств Евразийского экономического союза и информационных баз данных в сфере обращения лекарственных средств";

Решение Коллегии Евразийской экономической комиссии от 6 ноября 2014 г. N 200 "О технологических документах, регламентирующих информационное взаимодействие при реализации средствами интегрированной информационной системы внешней и взаимной торговли общих процессов";

Решение Коллегии Евразийской экономической комиссии от 27 января 2015 г. N 5 "Об утверждении Правил электронного обмена данными в интегрированной информационной системе внешней и взаимной торговли";

Решение Коллегии Евразийской экономической комиссии от 14 апреля 2015 г. N 29 "О перечне общих процессов в рамках Евразийского экономического союза и внесении изменения в Решение Коллегии Евразийской экономической комиссии от 19 августа 2014 г. N 132";

Решение Коллегии Евразийской экономической комиссии от 9 июня 2015 г. N 63 "О Методике анализа, оптимизации, гармонизации и описания общих процессов в рамках Евразийского экономического союза";

Решение Коллегии Евразийской экономической комиссии от 28 сентября 2015 г. N 125 "Об утверждении Положения об обмене электронными документами при трансграничном взаимодействии органов государственной власти государств - членов Евразийского экономического союза между собой и с Евразийской экономической комиссией";

Решение Коллегии Евразийской экономической комиссии от 30 июня 2017 г. N 79 "О Требованиях к электронному виду заявлений и документов регистрационного досье, представляемых при осуществлении регистрации и экспертизы лекарственных препаратов для медицинского применения".

II. Область применения

2. Настоящий Порядок определяет требования к составу и содержанию процедур введения в действие общего процесса "Формирование, ведение и использование единого реестра зарегистрированных лекарственных средств Евразийского экономического союза" (P.MM.01) (далее - общий процесс) и присоединения нового участника к общему процессу, а также требования к осуществляемому при их выполнении информационному взаимодействию.

III. Основные понятия

3. Для целей настоящего Порядка используются понятия, которые означают следующее:

"документы, применяемые при обеспечении функционирования интегрированной системы" - технические, технологические, методические и организационные документы, предусмотренные пунктом 30 Протокола об информационно-коммуникационных технологиях и информационном взаимодействии в рамках Евразийского экономического союза (приложение N 3 к Договору о Евразийском экономическом союзе от 29 мая 2014 года);

"технологические документы" - документы, включенные в типовой перечень технологических документов, регламентирующих информационное взаимодействие при реализации общего процесса, предусмотренный пунктом 1 Решения Коллегии Евразийской экономической комиссии от 6 ноября 2014 г. N 200.

Иные понятия, используемые в настоящем Порядке, применяются в значениях, определенных пунктом 4 Правил информационного взаимодействия при реализации средствами интегрированной информационной системы Евразийского экономического союза общего процесса "Формирование, ведение и использование единого реестра зарегистрированных лекарственных средств Евразийского экономического союза", утвержденных Решением Коллегии Евразийской экономической комиссии от 25 октября 2016 г. N 122 (далее - Правила информационного взаимодействия).

IV. Участники взаимодействия

4. Роли участников взаимодействия при выполнении ими процедур, предусмотренных настоящим Порядком, приведены в таблице 1.

Таблица 1

Роли участников взаимодействия

N п/пНаименование ролиОписание ролиУчастник, выполняющий роль
1Присоединяющийся участник общего процессавыполняет процедуры, предусмотренные настоящим Порядкомуполномоченный орган государства - члена Союза, заинтересованный орган государства-члена
2Администраторкоординирует выполнение процедур, предусмотренных настоящим ПорядкомЕвразийская экономическая комиссия
3Участник общего процессаосуществляет взаимодействие в соответствии с технологическими документами и участвует в тестировании информационного взаимодействия с присоединяющимся участником общего процессауполномоченный орган государства - члена Союза, заинтересованный орган государства-члена, Евразийская экономическая комиссия

V. Введение общего процесса в действие

5. С даты вступления в силу Решения Коллегии Евразийской экономической комиссии от 25 октября 2016 г. N 122 "О технологических документах, регламентирующих информационное взаимодействие при реализации средствами интегрированной информационной системы Евразийского экономического союза общего процесса "Формирование, ведение и использование единого реестра зарегистрированных лекарственных средств Евразийского экономического союза" государства - члены Союза (далее - государства-члены) при координации Евразийской экономической комиссии (далее - Комиссия) приступают к выполнению процедуры введения в действие общего процесса.

6. Для введения в действие общего процесса государствами-членами должны быть выполнены необходимые мероприятия, определенные процедурой присоединения к общему процессу в соответствии с разделом VI настоящего Порядка.

7. На основании рекомендаций комиссии по проведению межгосударственных испытаний интегрированной информационной системы внешней и взаимной торговли Коллегия Комиссии принимает распоряжение о введении в действие общего процесса.

8. Основанием для принятия рекомендации комиссии по проведению межгосударственных испытаний интегрированной информационной системы внешней и взаимной торговли о готовности общего процесса к введению в действие являются результаты тестирования информационного взаимодействия между информационными системами всех государств-членов и Комиссии.

VI. Описание процедуры присоединения

9. После введения в действие общего процесса к нему могут присоединяться новые участники путем выполнения процедуры присоединения к общему процессу.

10. Для присоединения к общему процессу присоединяющимся участником общего процесса должны быть выполнены требования документов, применяемых при обеспечении функционирования интегрированной системы, технологических документов, а также требования законодательства государства-члена, регламентирующие информационное взаимодействие в рамках национального сегмента государства-члена.

11. Выполнение процедуры присоединения нового участника к общему процессу включает в себя:

а) информирование государством-членом Комиссии о присоединении нового участника к общему процессу (с указанием уполномоченного органа, ответственного за обеспечение информационного взаимодействия в рамках общего процесса);

б) внесение в нормативные правовые акты государства-члена изменений, необходимых для выполнения требований технологических документов (в течение 2 месяцев с даты начала выполнения процедуры присоединения);

в) разработку (доработку) при необходимости информационной системы присоединяющегося участника общего процесса, в том числе в части применения средств электронной цифровой подписи (электронной подписи), совместимых с сервисами доверенной третьей стороны национального сегмента государства-члена (в течение 8 месяцев с даты начала выполнения процедуры присоединения);

г) подключение информационной системы присоединяющегося участника общего процесса к национальному сегменту государства-члена, если такое подключение не было осуществлено ранее (в течение 8 месяцев с даты начала выполнения процедуры присоединения);

д) получение присоединяющимся участником общего процесса распространяемых администратором справочников и классификаторов, указанных в Правилах информационного взаимодействия;

е) тестирование информационного взаимодействия между информационными системами присоединяющихся участников общего процесса и участников общего процесса на соответствие требованиям технологических документов (в течение 12 месяцев с даты начала выполнения процедуры присоединения).

12. Присоединяющийся участник общего процесса "Формирование, ведение и использование единого реестра зарегистрированных лекарственных средств Евразийского экономического союза" должен выполнить процедуру присоединения в соответствии с пунктом 11 настоящего Порядка.

13. При условии соблюдения требований и успешном выполнении действий в соответствии с пунктом 11 или 12 настоящего Порядка последующий обмен сведениями между присоединяющимся участниками общего процесса, осуществляется в соответствии с технологическими документами, регламентирующими информационное взаимодействие при реализации общего процесса "Формирование, ведение и использование единого реестра зарегистрированных лекарственных средств Евразийского экономического союза", утвержденными Решением Коллегии Евразийской экономической комиссии от 25 октября 2016 г. N 122.

14. В случае наличия нескольких действующих версий технологических документов общего процесса присоединяющийся участник общего процесса обеспечивает присоединение к самой поздней версии.

VII. Описание процедуры введения в действие новой версии технологических документов

15. С даты вступления в силу решения Коллегии Комиссии об утверждении новой редакции технологических документов, регламентирующей информационное взаимодействие в рамках новой версии общего процесса, государства-члены при координации Комиссии приступают к выполнению процедуры присоединения к новой версии общего процесса (в течение 6 месяцев с даты начала выполнения процедуры присоединения к новой версии общего процесса).

16. Процедура присоединения к новой версии общего процесса завершается участниками общего процесса на основании результатов тестирования информационного взаимодействия между информационными системами участников общего процесса на соответствие требованиям новой редакции технологических документов.

17. Выполнение процедуры присоединения к новой версии общего процесса включает в себя мероприятия из состава указанных в пункте 11 настоящего порядка с учетом срока, определенного для присоединения к новой версии общего процесса в пункте 15 настоящего Порядка. Необходимость выполнения конкретных мероприятий определяется участником общего процесса самостоятельно.

18. После выполнения процедуры присоединения к новой версии общего процесса всеми участниками общего процесса последующий обмен сведениями между ними осуществляется в соответствии с редакцией технологических документов, регламентирующими информационное взаимодействие при реализации новой версии общего процесса.

19. Преобразование ранее сформированных данных в соответствии с требованиями новой редакции технологических документов при необходимости выполняются каждым участником общего процесса самостоятельно (в течение 6 месяцев с даты начала выполнения процедуры присоединения к новой версии общего процесса).".