Приказ Минфина РФ от 28.05.2007 N 47Н

"Об утверждении Административного регламента Федерального казначейства по исполнению государственной функции по ведению реестра государственных контрактов, заключенных от имени Российской Федерации по итогам размещения заказов"
Редакция от 28.05.2007 — Документ утратил силу, см. «Приказ Минфина РФ от 07.07.2010 N 68Н»

Зарегистрировано в Минюсте РФ 15 августа 2007 г. N 9989


МИНИСТЕРСТВО ФИНАНСОВ РОССИЙСКОЙ ФЕДЕРАЦИИ

ПРИКАЗ
от 28 мая 2007 г. N 47н

ОБ УТВЕРЖДЕНИИ АДМИНИСТРАТИВНОГО РЕГЛАМЕНТА ФЕДЕРАЛЬНОГО КАЗНАЧЕЙСТВА ПО ИСПОЛНЕНИЮ ГОСУДАРСТВЕННОЙ ФУНКЦИИ ПО ВЕДЕНИЮ РЕЕСТРА ГОСУДАРСТВЕННЫХ КОНТРАКТОВ, ЗАКЛЮЧЕННЫХ ОТ ИМЕНИ РОССИЙСКОЙ ФЕДЕРАЦИИ ПО ИТОГАМ РАЗМЕЩЕНИЯ ЗАКАЗОВ

В соответствии с пунктом 7 Порядка разработки и утверждения административных регламентов исполнения государственных функций и административных регламентов предоставления государственных услуг, утвержденного Постановлением Правительства Российской Федерации от 11 ноября 2005 г. N 679 (Собрание законодательства Российской Федерации, 2005, N 47, ст. 4933), приказываю:

1. Утвердить прилагаемый Административный регламент Федерального казначейства по исполнению государственной функции по ведению реестра государственных контрактов, заключенных от имени Российской Федерации по итогам размещения заказов, за исключением абзаца шестого пункта 17, который вводится в действие с 1 января 2008 г.

2. Федеральному казначейству (Т.Г. Нестеренко) обеспечить в срок до 1 октября 2007 г. доработку прикладного программного обеспечения в целях реализации Административного регламента Федерального казначейства по исполнению государственной функции по ведению реестра государственных контрактов, заключенных от имени Российской Федерации по итогам размещения заказов.

3. Федеральному казначейству (Т.Г. Нестеренко) обеспечить исполнение Административного регламента Федерального казначейства по исполнению государственной функции по ведению реестра государственных контрактов, заключенных от имени Российской Федерации по итогам размещения заказов.

4. Контроль за исполнением настоящего Приказа возложить на заместителя Министра финансов Российской Федерации Т.А. Голикову.

Министр
А.Л.КУДРИН

Приложение
к Приказу Министерства финансов
Российской Федерации
от 28 мая 2007 г. N 47н

АДМИНИСТРАТИВНЫЙ РЕГЛАМЕНТ
ФЕДЕРАЛЬНОГО КАЗНАЧЕЙСТВА ПО ИСПОЛНЕНИЮ ГОСУДАРСТВЕННОЙ ФУНКЦИИ ПО ВЕДЕНИЮ РЕЕСТРА ГОСУДАРСТВЕННЫХ КОНТРАКТОВ, ЗАКЛЮЧЕННЫХ ОТ ИМЕНИ РОССИЙСКОЙ ФЕДЕРАЦИИ ПО ИТОГАМ РАЗМЕЩЕНИЯ ЗАКАЗОВ

I. Общие положения

1. Административный регламент Федерального казначейства по исполнению государственной функции по ведению реестра государственных контрактов, заключенных от имени Российской Федерации по итогам размещения заказов (далее - Регламент) разработан в целях повышения качества исполнения и доступности результатов исполнения государственной функции по ведению реестра государственных контрактов, заключенных от имени Российской Федерации по итогам размещения заказов (далее - Реестр контрактов), и определяет сроки и последовательность действий (административных процедур) Федерального казначейства, территориальных органов Федерального казначейства территориальных подразделений и должностных лиц, а также порядок взаимодействия Федерального казначейства, территориальных органов Федерального казначейства и их должностных лиц с государственными заказчиками при осуществлении Федеральным казначейством полномочий по ведению Реестра контрактов.

Настоящий Регламент не распространяется на отношения, связанные с ведением реестра контрактов, в который включаются сведения, касающиеся размещения заказов и заключения контрактов, составляющие государственную тайну.

2. Исполнение Федеральным казначейством государственной функции по ведению Реестра контрактов осуществляется на безвозмездной основе в соответствии с:

Федеральным законом от 21 июля 2005 г. N 94-ФЗ "О размещении заказов на поставки товаров, выполнение работ, оказание услуг для государственных и муниципальных нужд" (Собрание законодательства Российской Федерации, 2005, N 30, ст. 3105; 2006, N 1, ст. 18, N 31, ст. 3441; 2007, N 17, ст. 1929);

Федеральным законом от 10 января 2002 г. N 1-ФЗ "Об электронной цифровой подписи" (Собрание законодательства Российской Федерации, 2002, N 2, ст. 127);

Федеральным законом от 27 июля 2006 г. N 149-ФЗ "Об информации, информационных технологиях и о защите информации" (Собрание законодательства Российской Федерации, 2006, N 31, ст. 3448);

Постановлением Правительства Российской Федерации от 30 июня 2004 г. N 329 "О Министерстве финансов Российской Федерации" (Собрание законодательства Российской Федерации, 2004, N 31, ст. 3258);

Постановлением Правительства Российской Федерации от 1 декабря 2004 г. N 703 "О Федеральном казначействе" (Собрание законодательства Российской Федерации, 2004, N 49, ст. 4908);

Распоряжением Правительства Российской Федерации от 20 февраля 2006 г. N 229-р (Собрание законодательства Российской Федерации, 2006, N 9, ст. 1054);

Постановлением Правительства Российской Федерации от 3 марта 2006 г. N 117 "О федеральном органе исполнительной власти, уполномоченным на ведение реестра государственных контрактов, заключенных от имени Российской Федерации по итогам размещения заказов" (Собрание законодательства Российской Федерации, 2006, N 10, ст. 1110);

Постановлением Правительства Российской Федерации от 27 декабря 2006 г. N 807 "Об утверждении Положения о ведении реестров государственных или муниципальных контрактов, заключенных по итогам размещения заказов, и о требованиях к технологическим, программным, лингвистическим, правовым и организационным средствам обеспечения пользования официальным сайтом в сети Интернет, на котором размещаются указанные реестры" (далее - Постановление Правительства Российской Федерации N 807) (Собрание законодательства Российской Федерации, 2007, N 1, ст. 265);

Постановлением Правительства Российской Федерации от 10 марта 2007 г. N 147 "Об утверждении Положения о пользовании официальными сайтами в сети Интернет для размещения информации о размещении заказов на поставки товаров, выполнение работ, оказание услуг для государственных и муниципальных нужд и о требованиях к технологическим, программным, лингвистическим, правовым и организационным средствам обеспечения пользования указанными сайтами" (Собрание законодательства Российской Федерации, 2007, N 12, ст. 1412);

Приказом Федерального казначейства от 10 апреля 2006 г. N 5н "Об утверждении Регламента Федерального казначейства" (зарегистрирован в Министерстве юстиции Российской Федерации 11 мая 2006 г., регистрационный N 7795; Бюллетень нормативных актов федеральных органов исполнительной власти, 2006, N 21);

настоящим Регламентом.

3. Государственную функцию по ведению Реестра контрактов исполняют Федеральное казначейство, управления Федерального казначейства по субъектам Российской Федерации (далее - УФК) и отделения управлений Федерального казначейства по субъектам Российской Федерации (далее - ОФК) на основании представленных государственными заказчиками в УФК и ОФК сведений о государственных контрактах, заключенных от имени Российской Федерации по итогам размещения заказов (далее - контракты), в целях:

расширения возможностей для участия физических и юридических лиц в размещении заказов и стимулирования такого участия;

развития добросовестной конкуренции;

совершенствования деятельности органов государственной власти в сфере размещения заказов;

обеспечения гласности и прозрачности размещения заказов, предотвращения коррупции и других злоупотреблений в сфере размещения заказов.

4. УФК и ОФК принимают от государственных заказчиков документы "Сведения о государственном или муниципальном контракте (его изменении), заключенным государственным или муниципальным заказчиком" по форме согласно приложению N 1 к Положению о ведении реестров государственных или муниципальных контрактов, заключенных по итогам размещения заказов, и о требованиях к технологическим, программным, лингвистическим, правовым и организационным средствам обеспечения пользования официальным сайтом в сети Интернет, на котором размещаются указанные реестры, утвержденному Постановлением Правительства Российской Федерации от 27 декабря 2006 г. N 807, и документы "Сведения об исполнении (о прекращении действия) государственного или муниципального контракта" по форме согласно приложению N 2 к Положению о ведении реестров государственных или муниципальных контрактов, заключенных по итогам размещения заказов, и о требованиях к технологическим, программным, лингвистическим, правовым и организационным средствам обеспечения пользования официальным сайтом в сети Интернет, на котором размещаются указанные реестры, утвержденному Постановлением Правительства Российской Федерации от 27 декабря 2006 г. N 807 (далее - сведения о контракте):

- по месту открытия государственному заказчику лицевого счета получателя средств федерального бюджета;

- в случае, если государственным заказчиком является иной получатель средств федерального бюджета, имеющий право в соответствии с бюджетным законодательством Российской Федерации осуществлять операции со средствами федерального бюджета на счете, открытом ему в учреждении Банка России или кредитной организации (далее - иной получатель), - по признаку нахождения государственного заказчика на территории, обслуживаемой ОФК либо УФК, если на данной территории отсутствует ОФК (далее - территориальному признаку);

- в случае, если государственным заказчиком является получатель средств федерального бюджета, расположенный за пределами Российской Федерации и имеющий право в соответствии с бюджетным законодательством Российской Федерации осуществлять операции со средствами федерального бюджета (далее - иной получатель за пределами Российской Федерации), - в Управление Федерального казначейства по г. Москве;

- в случае, если государственным заказчиком является орган управления государственным внебюджетным фондом Российской Федерации, а также находящееся в его ведении учреждение или организация, - по территориальному признаку.

5. Федеральное казначейство:

осуществляет координацию деятельности УФК;

получает в электронном виде от УФК новые и обновленные реестровые записи, сформированные УФК и ОФК и подлежащие включению в Реестр контрактов;

формирует Реестр контрактов;

размещает Реестр контрактов на официальном сайте Российской Федерации в сети Интернет для размещения информации о размещении заказов на поставки товаров, выполнение работ, оказание услуг для государственных или муниципальных нужд по адресу www.zakupki.gov.ru (далее - Официальный сайт) и обеспечивает свободный и бесплатный доступ к нему.

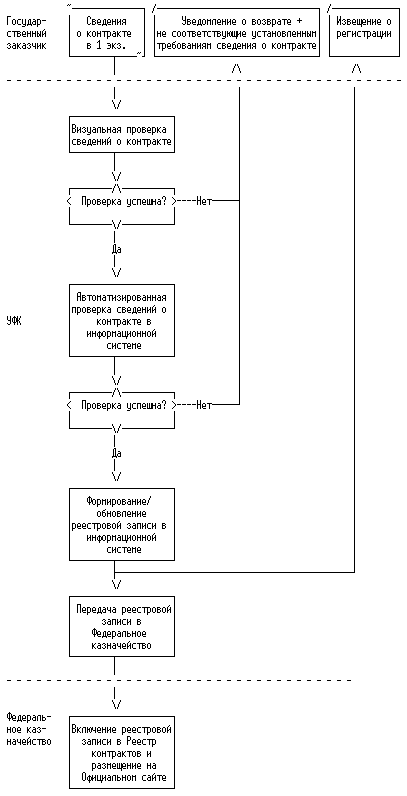
УФК:

осуществляет координацию деятельности ОФК;

взаимодействует с государственными заказчиками по вопросам исполнения государственной функции по ведению Реестра контрактов;

получает в электронном виде от ОФК новые и обновленные реестровые записи, сформированные ОФК;

принимает от государственных заказчиков сведения о контракте и на их основании формирует новые или обновляет существующие реестровые записи;

сообщает государственным заказчикам о результатах обработки сведений о контракте;

направляет в электронном виде в Федеральное казначейство новые и обновленные реестровые записи, полученные от ОФК и сформированные УФК.

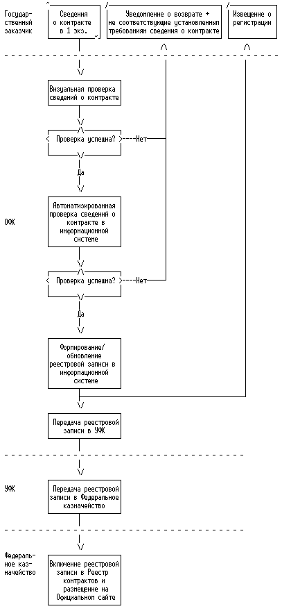
ОФК:

взаимодействует с государственными заказчиками по вопросам исполнения государственной функции по ведению Реестра контрактов;

принимает от государственных заказчиков сведения о контракте и на их основании формирует новые или обновляет существующие реестровые записи;

сообщает государственным заказчикам о результатах обработки сведений о контракте;

направляет в электронном виде в УФК новые и обновленные реестровые записи, сформированные ОФК.

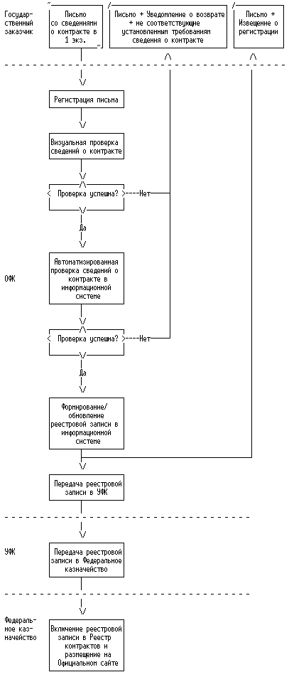
6. Исполнение государственной функции по ведению Реестра контрактов включает в себя следующие административные процедуры:

прием от государственного заказчика документа "Сведения о государственном или муниципальном контракте (его изменении), заключенном государственным или муниципальным заказчиком" по форме согласно приложению N 1 к Положению о ведении реестров государственных или муниципальных контрактов, заключенных по итогам размещения заказов, и о требованиях к технологическим, программным, лингвистическим, правовым и организационным средствам обеспечения пользования официальным сайтом в сети Интернет, на котором размещаются указанные реестры, утвержденному Постановлением Правительства Российской Федерации от 27 декабря 2006 г. N 807 (далее - "Сведения о контракте (его изменении)");

прием от государственного заказчика документа "Сведения об исполнении (о прекращении действия) государственного или муниципального контракта" по форме согласно приложению N 2 к Положению о ведении реестров государственных или муниципальных контрактов, заключенных по итогам размещения заказов, и о требованиях к технологическим, программным, лингвистическим, правовым и организационным средствам обеспечения пользования официальным сайтом в сети Интернет, на котором размещаются указанные реестры, утвержденному Постановлением Правительства Российской Федерации от 27 декабря 2006 г. N 807 (далее - "Сведения об исполнении (прекращении действия) контракта");

проверка наличия в представленных заказчиком Сведениях о контракте (его изменении) и Сведениях об исполнении (прекращении действия) контракта всех показателей, а также их соответствия друг другу;

принятие решения о возможности включения в Реестр контрактов показателей сведений о контракте или о возврате государственному заказчику не соответствующих требованиям настоящего Регламента сведений о контракте;

включение в Реестр контрактов соответствующих показателей сведений о контракте;

размещение Реестра контрактов по форме согласно приложению N 3 к Положению о ведении реестров государственных или муниципальных контрактов, заключенных по итогам размещения заказов, и о требованиях к технологическим, программным, лингвистическим, правовым и организационным средствам обеспечения пользования официальным сайтом в сети Интернет, на котором размещаются указанные реестры, утвержденному Постановлением Правительства Российской Федерации от 27 декабря 2006 г. N 807, на Официальном сайте.

II. Требования к порядку исполнения государственной функции по ведению Реестра контрактов

7. Реестр контрактов содержит сведения о государственных контрактах, заключенных государственными заказчиками от имени Российской Федерации по итогам размещения заказов на поставки товаров, выполнение работ, оказание услуг для государственных нужд.

Реестр контрактов размещается и ежедневно в начале рабочего дня до 10 часов 00 минут по московскому времени приводится Федеральным казначейством в актуальное состояние на Официальном сайте. Доступ к Реестру контрактов осуществляется из раздела "Федеральный реестр государственных контрактов" Официального сайта. Реестр контрактов доступен для свободного просмотра и получения в виде электронного файла в формате таблиц MICROSOFT OFFICE EXCEL по установленной форме на Официальном сайте любым юридическим и физическим лицам, общественным и иным организациям, обратившимся через сеть "Интернет" к Официальному сайту, без взимания платы.

Пользовательский интерфейс Официального сайта позволяет осуществлять поиск сведений о контракте по любой совокупности заданных показателей, предусмотренных в Реестре контрактов.

Конечным результатом исполнения Федеральным казначейством государственной функции по ведению Реестра контрактов является включение реестровой записи в Реестр контрактов и размещение Реестра контрактов на Официальном сайте.

8. Место нахождения Федерального казначейства: г. Москва, ул. Ильинка, д. 9.

Почтовый адрес для направления в Федеральное казначейство обращений по вопросам ведения Реестра контрактов: Федеральное казначейство, ул. Ильинка, д. 9, г. Москва, 109097.

Электронный адрес для направления в Федеральное казначейство электронных обращений по вопросам ведения Реестра контрактов: reestr@roskazna.ru.

Место нахождения экспедиции Федерального казначейства: ул. Ильинка, д. 10, г. Москва, комн. 113 или ул. Ильинка, д. 9, г. Москва, 5-й подъезд.

Часы работы Федерального казначейства (по московскому времени):

Понедельник 9.00 - 18.00

Вторник 9.00 - 18.00

Среда 9.00 - 18.00

Четверг 9.00 - 18.00

Пятница 9.00 - 16.45

Суббота Выходной день

Воскресенье Выходной день.

Часы приема УФК и ОФК сведений о контракте от государственных заказчиков (по местному времени):

Понедельник 10.00 - 15.00

Вторник 10.00 - 15.00

Среда 10.00 - 15.00

Четверг 10.00 - 15.00

Пятница 10.00 - 15.00

Суббота Выходной день

Воскресенье Выходной день.

Часы перерыва во времени приема сведений о контракте от государственных заказчиков (не более 60 минут) УФК и ОФК устанавливаются Приказами УФК и ОФК соответственно.

В предпраздничные дни продолжительность времени приема сведений о контракте от государственных заказчиков УФК и ОФК сокращается на 1 час.

Продолжительность времени приема сведений о контракте от государственных заказчиков УФК или ОФК может быть увеличена приказами УФК или ОФК соответственно.

Часы работы Федерального казначейства, УФК и ОФК, часы приема УФК и ОФК сведений о контракте от государственных заказчиков могут изменяться в соответствии с законодательством Российской Федерации.

Информация по ведению Реестра контрактов размещается на официальном сайте Федерального казначейства информационного портала Федерального казначейства по электронному адресу http://www.roskazna.ru, в разделе "Информация для ГРБС" подраздела "Реестр госконтрактов" и в разделе "Новости".

Телефон справочной службы Федерального казначейства (495) 748-45-61.

Телефон Федерального казначейства для консультаций по вопросам ведения Реестра контрактов (495) 648-35-11.

Место нахождения, почтовые и электронные адреса, контактные телефоны УФК и ОФК размещены на официальном сайте Федерального казначейства по электронному адресу http://www.roskazna.ru.

Реквизиты адресов, телефоны и адреса Интернет-сайтов УФК указаны в приложении N 1 к настоящему Регламенту.

9. Консультации по процедуре ведения Реестра контрактов предоставляются соответственно Федеральным казначейством, УФК или ОФК в случае непосредственного обращения в Федеральное казначейство, УФК или ОФК, обращения по телефону в Федеральное казначейство, УФК или ОФК, при поступлении обращений в Федеральное казначейство, УФК или ОФК в форме электронных сообщений через Интернет или при поступлении в Федеральное казначейство, УФК или ОФК письменных обращений на безвозмездной основе.

При поступлении письменных обращений в Федеральное казначейство, УФК или ОФК ответ на обращение направляется почтой в адрес заявителя в срок, не превышающий 30 дней с момента поступления письменного обращения.

При ответе на обращения в форме электронных сообщений через Интернет в Федеральное казначейство, УФК или ОФК ответ на обращение направляется по электронной почте в адрес заявителя Федеральным казначейством, УФК или ОФК соответственно в срок, не превышающий 5 дней с момента поступления электронного обращения.

При осуществлении непосредственного консультирования должностные лица УФК или ОФК предоставляют информацию:

о входящих номерах, под которыми зарегистрированы в системе делопроизводства соответственно УФК или ОФК письменные обращения по вопросам ведения Реестра контрактов;

о принятом решении по конкретному письменному обращению;

о нормативных актах по вопросам ведения Реестра контрактов (наименование, номер, дата принятия нормативного правового акта);

о процедурах принятия от государственных заказчиков сведений о контрактах, установленных настоящим Регламентом;

о месте размещения на Официальном сайте Реестра контрактов;

о месте размещения соответственно на официальных сайтах Федерального казначейства, УФК или ОФК справочных материалов по вопросам ведения Реестра контрактов;

о месте нахождения, почтовых и электронных адресах и контактных телефонах Федерального казначейства, УФК или ОФК;

о порядке обжалования действий (бездействия) и решений, осуществляемых и принимаемых в ходе исполнения государственной функции.

При осуществлении консультирования по телефону, а также при ответе на электронные обращения должностные лица Федерального казначейства в соответствии с поступившим запросом предоставляют информацию:

о входящих номерах, под которыми зарегистрированы в системе делопроизводства Федерального казначейства письменные обращения по вопросам ведения Реестра контрактов;

о принятом решении по конкретному письменному обращению;

о нормативных актах по вопросам ведения Реестра контрактов (наименование, номер, дата принятия нормативного правового акта);

о процедурах принятия от государственных заказчиков сведений о контрактах, установленных настоящим Регламентом;

о месте размещения на Официальном сайте Реестра контрактов;

о месте размещения на официальном сайте Федерального казначейства справочных материалов по вопросам ведения Реестра контрактов;

о месте нахождения, почтовых и электронных адресах и контактных телефонах Федерального казначейства, УФК или ОФК;

о порядке обжалования действий (бездействия) и решений, осуществляемых и принимаемых в ходе исполнения государственной функции.

При осуществлении консультирования по телефону, а также при ответе на электронные обращения должностные лица УФК или ОФК в соответствии с поступившим запросом предоставляют информацию:

о входящих номерах, под которыми зарегистрированы в системе делопроизводства соответственно УФК или ОФК письменные обращения по вопросам ведения Реестра контрактов;

о принятом решении по конкретному письменному обращению;

о нормативных актах по вопросам ведения Реестра контрактов (наименование, номер, дата принятия нормативного правового акта);

о процедурах принятия от государственных заказчиков сведений о контрактах, установленных настоящим Регламентом;

о месте размещения на Официальном сайте Реестра контрактов;

о месте размещения соответственно на официальных сайтах Федерального казначейства, УФК или ОФК справочных материалов по вопросам ведения Реестра контрактов;

о месте нахождения, почтовых и электронных адресах и контактных телефонах Федерального казначейства, УФК или ОФК;

о порядке обжалования действий (бездействия) и решений, осуществляемых и принимаемых в ходе исполнения государственной функции.

Иные вопросы рассматриваются Федеральным казначейством, УФК или ОФК только на основании соответствующего письменного обращения.

При ответе на телефонные звонки, устные и письменные обращения должностные лица Федерального казначейства, УФК и ОФК отвечают вежливо и корректно.

10. Прием государственных заказчиков в УФК или ОФК проводится в соответствии с установленными часами приема сведений о контракте от государственных заказчиков работниками отделов, положения о которых предусматривают прием, проверку и обработку сведений о контракте, назначенными соответствующими приказами УФК или ОФК соответственно (далее - специалист).

Для ожидания приема государственных заказчиков в УФК и ОФК отводятся специализированные места.

Помещение для приема государственных заказчиков в УФК и ОФК оборудуется стендом с образцами заполненных документов, перечнем нормативно-правовых актов, регулирующих ведение Реестра контрактов, сведениями о режиме работы УФК и ОФК, часами приема государственных заказчиков УФК и ОФК и указанием почтовых и электронных адресов Федерального казначейства, УФК или ОФК соответственно (далее - информационные стенды).

Документарное оформление информационного стенда и поддержание размещенной на информационном стенде информации в актуальном состоянии осуществляется работниками отделов УФК или ОФК, положения о которых предусматривают прием, проверку и обработку сведений о контракте, назначенными ответственными за оформление информационного стенда приказами УФК или ОФК соответственно.

11. Для включения в Реестр контрактов сведений о контракте УФК и ОФК принимают от государственного заказчика в соответствии с пунктом 4 настоящего Регламента следующие документы:

карточку образцов подписей в 1-м экземпляре (форма по КФД 0510022) с указанием образцов подписей лиц, уполномоченных руководителем государственного заказчика на подписание сведений о контракте, подписанную руководителем государственного заказчика (дополнительного заверения карточки образцов подписей не требуется);

"Сведения о контракте (его изменении)", заполненные в соответствии с Указаниями по заполнению формы документа "Сведения о государственном или муниципальном контракте (его изменении), заключенном государственным или муниципальным заказчиком" согласно приложению N 1 к Положению о ведении реестров государственных или муниципальных контрактов, заключенных по итогам размещения заказов, и о требованиях к технологическим, программным, лингвистическим, правовым и организационным средствам обеспечения пользования официальным сайтом в сети Интернет, на котором размещаются указанные реестры, утвержденному Постановлением Правительства Российской Федерации от 27 декабря 2006 г. N 807.

Для обновления включенных в Реестр контрактов реестровых записей УФК и ОФК принимают от государственного заказчика в соответствии с пунктом 4 настоящего Регламента следующие документы:

"Сведения о контракте (его изменении)", заполненные в соответствии с Указаниями по заполнению формы документа "Сведения о государственном или муниципальном контракте (его изменении), заключенном государственным или муниципальным заказчиком" согласно приложению N 1 к Положению о ведении реестров государственных или муниципальных контрактов, заключенных по итогам размещения заказов, и о требованиях к технологическим, программным, лингвистическим, правовым и организационным средствам обеспечения пользования официальным сайтом в сети Интернет, на котором размещаются указанные реестры, утвержденному Постановлением Правительства Российской Федерации от 27 декабря 2006 г. N 807;

"Сведения об исполнении (прекращении действия) контракта", заполненные в соответствии с Указаниями по заполнению формы документа "Сведения об исполнении (о прекращении действия) государственного или муниципального контракта", согласно приложению N 2 к Положению о ведении реестров государственных или муниципальных контрактов, заключенных по итогам размещения заказов, и о требованиях к технологическим, программным, лингвистическим, правовым и организационным средствам обеспечения пользования официальным сайтом в сети Интернет, на котором размещаются указанные реестры, утвержденному Постановлением Правительства Российской Федерации от 27 декабря 2006 г. N 807.

УФК и ОФК по мере поступления принимают к исполнению:

сведения о контракте на бумажном носителе, непосредственно представленные представителем государственного заказчика в соответствующее УФК или ОФК;

сведения о контракте на бумажном носителе, направленные государственным заказчиком по почте в соответствующее УФК или ОФК;

сведения о контракте в электронном виде, направленные государственным заказчиком через систему электронного документооборота Федерального казначейства (далее - СЭД) в соответствующее УФК или ОФК с применением средств электронной цифровой подписи (далее - ЭЦП).

12. Полученные УФК или ОФК от государственного заказчика сведения о контракте проверяются специалистом УФК (ОФК) на соответствие требованиям настоящего Регламента.

В случае не соответствия сведений о контракте, непосредственно представленных представителем государственного заказчика в УФК (ОФК) на бумажном носителе, требованиям настоящего Регламента специалист УФК (ОФК) возвращает не соответствующие требованиям настоящего Регламента сведения о контракте представителю государственного заказчика. При этом показатели сведений о контракте не подлежат включению в Реестр контрактов.

В случае несоответствия сведений о контракте, направленных государственным заказчиком по почте на бумажном носителе, требованиям настоящего Регламента специалист УФК (ОФК) возвращает не соответствующие требованиям настоящего Регламента сведения о контракте в адрес государственного заказчика по почте на бумажном носителе. При этом показатели сведений о контракте не подлежат включению в Реестр контрактов.

В случае несоответствия сведений о контракте, направленных государственным заказчиком через СЭД в электронном виде с применением средств ЭЦП, требованиям настоящего Регламента специалист УФК (ОФК) уведомляет государственного заказчика через СЭД в электронном виде с применением средств ЭЦП о возврате сведений о контракте. При этом показатели сведений о контракте не подлежат включению в Реестр контрактов.

На основании соответствующих требованиям настоящего Регламента сведений о контракте специалистом УФК (ОФК) осуществляется формирование новой или обновление существующей реестровой записи. Новой реестровой записи присваивается уникальный номер, обновленной реестровой записи присваивается порядковый номер изменения. Специалист ОФК направляет сформированные или обновленные специалистами ОФК реестровые записи в электронном виде в вышестоящее УФК. Специалист УФК направляет сформированные или обновленные специалистами УФК и полученные от специалистов ОФК реестровые записи в электронном виде в Федеральное казначейство.

Специалист УФК (ОФК) извещает государственного заказчика о включении сведений о контракте с указанием номера реестровой записи или номера ее изменения способом, аналогичным способу представления государственным заказчиком сведений о контракте.

На основании новых и обновленных реестровых записей, полученных от УФК, Федеральное казначейство формирует Реестр контрактов.

Сформированный Реестр контрактов размещается Федеральным казначейством на Официальном сайте.

Сведения, внесенные в Реестр контрактов, сохраняются в Реестре контрактов в течение трех лет со дня внесения в него показателей соответствующих "Сведений об исполнении (прекращении действия) контракта".

Реестр контрактов хранится в электронном виде в порядке, установленном законодательством об архивном деле в Российской Федерации.

Сведения о контракте хранятся в электронном виде и/или на бумажном носителе в порядке, установленном законодательством об архивном деле в Российской Федерации.

13. УФК или ОФК возвращает государственному заказчику сведения о контракте, при этом показатели сведений о контракте не подлежат включению в Реестр контрактов, в случае:

несоответствия формы представляемых государственным заказчиком сведений о контракте форме согласно приложению N 1 к Положению о ведении реестров государственных или муниципальных контрактов, заключенных по итогам размещения заказов, и о требованиях к технологическим, программным, лингвистическим, правовым и организационным средствам обеспечения пользования официальным сайтом в сети Интернет, на котором размещаются указанные реестры, утвержденному Постановлением Правительства Российской Федерации от 27 декабря 2006 г. N 807, или форме согласно приложению N 2 к Положению о ведении реестров государственных или муниципальных контрактов, заключенных по итогам размещения заказов, и о требованиях к технологическим, программным, лингвистическим, правовым и организационным средствам обеспечения пользования официальным сайтом в сети Интернет, на котором размещаются указанные реестры, утвержденному Постановлением Правительства Российской Федерации от 27 декабря N 807;

отсутствия в представляемых государственным заказчиком сведениях о контракте показателей, предусмотренных приложениями N 1 и 2 к Положению о ведении реестров государственных или муниципальных контрактов, заключенных по итогам размещения заказов, и о требованиях к технологическим, программным, лингвистическим, правовым и организационным средствам обеспечения пользования официальным сайтом в сети Интернет, на котором размещаются указанные реестры, утвержденному Постановлением Правительства Российской Федерации от 27 декабря 2006 г. N 807, обнаруженного специалистом УФК (ОФК) при визуальной и/или автоматизированной проверке сведений о контракте в соответствии с настоящим Регламентом;

несоответствия друг другу показателей в представляемых государственным заказчиком сведениях о контракте, предусмотренных приложениями N 1 и 2 к Положению о ведении реестров государственных или муниципальных контрактов, заключенных по итогам размещения заказов, и о требованиях к технологическим, программным, лингвистическим, правовым и организационным средствам обеспечения пользования официальным сайтом в сети Интернет, на котором размещаются указанные реестры, утвержденному Постановлением Правительства Российской Федерации от 27 декабря 2006 г. N 807, обнаруженного специалистом УФК (ОФК) при визуальной и/или автоматизированной проверке сведений о контракте в соответствии с настоящим Регламентом;

представления организацией сведений о контракте, в которых не указано, что размещение заказов осуществляется от имени Российской Федерации, за счет средств федерального бюджета, внебюджетных средств получателей средств федерального бюджета, бюджета Пенсионного фонда Российской Федерации, внебюджетных средств Пенсионного фонда Российской Федерации, бюджета Федерального фонда обязательного медицинского страхования, внебюджетных средств Федерального фонда обязательного медицинского страхования, бюджета Фонда социального страхования Российской Федерации, внебюджетных средств Фонда социального страхования Российской Федерации;

представления государственным заказчиком сведений о контракте в УФК или ОФК:

- не по месту открытия государственному заказчику лицевого счета получателя средств федерального бюджета;

- не по территориальному признаку в случае, если государственным заказчиком является иной получатель, орган управления государственным внебюджетным фондом Российской Федерации, а также находящееся в его ведении учреждение или организация;

- не в УФК по г. Москве в случае, если государственным заказчиком является иной получатель за пределами Российской Федерации;

несоответствия подписи в сведениях о контракте образцу подписи, имеющемуся в карточке образцов подписей, представленной государственным заказчиком в УФК или ОФК в соответствии с пунктом 11 настоящего Регламента;

неподтверждения подлинности ЭЦП уполномоченного лица государственного заказчика.

14. УФК или ОФК не вправе требовать от государственного заказчика для включения в Реестр контрактов показателей сведений о контракте:

государственный контракт, конкурсную документацию и документацию об аукционе, извещение о проведении торгов, запросы котировок, результаты проведения предварительного отбора, протоколы комиссий по размещению заказов, акты и заключения Федеральной антимонопольной службы, выписки из реестров субъектов естественных монополий, письменные согласия единственного участника размещения заказа на заключение государственного контракта, акты государственной экспертизы в сфере градостроительной деятельности, копии публикаций в официальных печатных изданиях, осуществленных в рамках исполнения законодательства Российской Федерации о размещении заказов для государственных нужд, или иные документы, служащие основанием для государственного заказчика при подготовке сведений о контракте;

соответствия экономического содержания предмета контракта кодам бюджетной классификации Российской Федерации, указанным в сведениях о контракте;

соответствия наименования товара, указанного в Сведениях о контракте, наименованию товара по Общероссийскому классификатору продукции;

соответствия кода товара, указанного в Сведениях о контракте, коду товара по Общероссийскому классификатору продукции;

подтверждения идентичности сведений в государственном контракте, конкурсной документации, извещению о проведении торгов, запросу котировок, результатам предварительного отбора, протоколах комиссий по размещению заказов или иным документам, служащим основанием для государственного заказчика для подготовки сведений о контракте, и сведений о контракте, представленных государственным заказчиком в УФК или ОФК соответственно;

подтверждения выделения государственному заказчику бюджетных ассигнований, лимитов бюджетных обязательств, объемов финансирования расходов федерального бюджета или сметных назначений, соответствующих цене заключенного государственного контракта;

выполнения государственным заказчиком процедур размещения заказов на поставки товаров, выполнение работ, оказание услуг для государственных нужд, установленных Федеральным законом от 21 июля 2005 г. N 94-ФЗ "О размещении заказов на поставки товаров, выполнение работ, оказание услуг для государственных и муниципальных нужд", в том числе в части соответствия даты подведения итогов конкурса или итогов запроса котировок или проведения аукциона дате заключения контракта, сроку исполнения контракта, соответствия способа размещения заказа цене контракта в рублях;

соблюдения государственным заказчиком сроков направления в УФК (ОФК) сведений о контракте;

выполнения иных не установленных настоящим Регламентом требований и условий.

III. Административные процедуры

15. "Сведения о контракте (его изменении)" в зависимости от способа оформления принимается УФК или ОФК в соответствии с пунктом 4 настоящего Регламента по территориальному признаку, в 1-м экземпляре на бумажном носителе непосредственно от представителя государственного заказчика, в 1-м экземпляре на бумажном носителе почтой или в электронном виде с ЭЦП через СЭД в установленные часы работы или приема сведений о контракте от государственных заказчиков соответственно УФК или ОФК.

16. При приеме от представителя государственного заказчика "Сведений о контракте (его изменении)" на бумажном носителе специалист УФК (ОФК) визуально проверяет:

наличие в УФК (ОФК) открытого государственному заказчику лицевого счета получателя средств федерального бюджета, а в случае отсутствия у государственного заказчика лицевого счета получателя средств федерального бюджета, нахождение государственного заказчика на территории, обслуживаемой УФК (ОФК) в соответствии с юридическим адресом государственного заказчика, указанным в карточке образцов подписей, представленной государственным заказчиком;

соответствие формы представляемых государственным заказчиком "Сведений о контракте (его изменении)" форме согласно приложению N 1 к Положению о ведении реестров государственных или муниципальных контрактов, заключенных по итогам размещения заказов, и о требованиях к технологическим, программным, лингвистическим, правовым и организационным средствам обеспечения пользования официальным сайтом в сети Интернет, на котором размещаются указанные реестры, утвержденному Постановлением Правительства Российской Федерации от 27 декабря 2006 г. N 807;

заполнение представленных государственным заказчиком "Сведений о контракте (его изменении)" в соответствии с Указаниями по заполнению формы документа "Сведения о государственном или муниципальном контракте (его изменении), заключенном государственным или муниципальным заказчиком", согласно приложению N 1 к Положению о ведении реестров государственных или муниципальных контрактов, заключенных по итогам размещения заказов, и о требованиях к технологическим, программным, лингвистическим, правовым и организационным средствам обеспечения пользования официальным сайтом в сети Интернет, на котором размещаются указанные реестры, утвержденному Постановлением Правительства Российской Федерации от 27 декабря 2006 г. N 807;

отсутствие исправлений в представленных государственным заказчиком "Сведениях о контракте (его изменении)";

соответствие подписи в "Сведениях о контракте (его изменении)" образцу подписи, имеющемуся в карточке образцов подписей, представленной государственным заказчиком в УФК (ОФК) в соответствии с пунктом 11 настоящего Регламента.

В случае, если дата "Сведений о контракте (его изменении)" не соответствует дате фактического представления в УФК (ОФК), специалист УФК (ОФК) указывает в правом верхнем углу документа "Сведения о контракте (его изменении)" дату фактического представления, свою должность, собственноручную подпись и расшифровку подписи в виде фамилии и инициалов.

В случае успешного выполнения проверки специалист УФК (ОФК) указывает в поле "Отметки уполномоченного органа на ведение реестра контрактов о принятии сведений" "Сведений о контракте (его изменении)" свою должность, собственноручную подпись, расшифровку подписи в виде фамилии и инициалов и текущую дату.

17. Не позднее рабочего дня, следующего за днем принятия от государственного заказчика "Сведений о контракте (его изменении)", специалист УФК (ОФК) вводит в информационную систему показатели прошедших в соответствии с пунктом 16 настоящего Регламента визуальную проверку "Сведений о контракте (его изменении)" и производит автоматизированную проверку показателей "Сведения о контракте (его изменении)" в соответствии с приложением N 2 к настоящему Регламенту.

В случае успешного выполнения автоматизированной проверки в информационной системе на основании введенных специалистом УФК (ОФК) показателей "Сведений о контракте (его изменении)" без указания в кодовой зоне строки "Номер реестровой записи" заголовочной части "Сведений о контракте (его изменении)" уникального номера реестровой записи формируется новая реестровая запись с уникальным номером реестровой записи.

Уникальный номер реестровой записи имеет следующую структуру:

1, 2, 3, 4, 5 - идентификационный код заказчика, присвоенный государственному заказчику в Сводном реестре главных распорядителей, распорядителей и получателей средств федерального бюджета в случае открытия государственному заказчику в Федеральном казначействе или УФК (ОФК) лицевого счета получателя (иного получателя) средств федерального бюджета, или, если государственным заказчиком является иной получатель за пределами Российской Федерации, орган управления государственным внебюджетным фондом Российской Федерации, а также находящееся в его ведении учреждение или организация - идентификационный код заказчика, присваиваемый УФК (ОФК) самостоятельно;

6, 7 - последние две цифры года, в котором показатели сведений о контракте были включены в Реестр контрактов;

8, 9, 10, 11, 12, 13 - порядковый номер реестровой записи, присваиваемый в соответствии со сквозной нумерацией, осуществляемой в пределах календарного года и государственного заказчика в соответствующем УФК (ОФК).

При присвоении уникального номера реестровой записи государственного заказчика, которому в Федеральном казначействе или УФК (ОФК) открыт лицевой счет иного получателя средств федерального бюджета, используется идентификационный код заказчика, присвоенный государственному заказчику в Сводном реестре главных распорядителей, распорядителей и получателей средств федерального бюджета, дополнительно доведенный Федеральным казначейством до УФК (ОФК) по запросу УФК (ОФК) соответственно.

В случае успешного выполнения автоматизированной проверки в информационной системе на основании введенных специалистом УФК (ОФК) показателей "Сведений о контракте (его изменении)" с указанием в кодовой зоне строки "Номер реестровой записи" заголовочной части "Сведения о контракте (его изменении)" уникального номера реестровой записи, присвоенного УФК (ОФК), и указания в строке "Тип сведений" текста "измененные", осуществляется обновление существующей реестровой записи с присвоением порядкового номера изменения.

В случае успешного выполнения автоматизированной проверки специалист УФК (ОФК) не позднее рабочего дня, следующего за днем получения от государственного заказчика "Сведений о контракте (его изменении)" оформляет на бумажном носителе в 2-х экземплярах документ "Извещение о регистрации в органе Федерального казначейства сведений о государственном контракте, заключенном от имени Российской Федерации по итогам размещения заказов" (приложение N 4 к настоящему Регламенту) (далее - "Извещение о регистрации"), указывает в поле "Исполнитель" собственноручную подпись, расшифровку подписи в виде фамилии и инициалов и передает 1-й экземпляр "Извещения о регистрации" представителю государственного заказчика под подпись на 2-м экземпляре "Извещения о регистрации".

При невозможности передачи в указанные сроки представителю государственного заказчика 1-го экземпляра "Извещения о регистрации" специалист УФК (ОФК) не позднее рабочего дня, следующего за днем принятия от государственного заказчика "Сведений о контракте (его изменении)", обеспечивает направление в установленном в УФК (ОФК) для отправки почтовой корреспонденции порядке в адрес государственного заказчика по почте 1-го экземпляра "Извещения о регистрации" и делает отметку о направлении на 2-м экземпляре "Извещения о регистрации" с указанием даты отправки, своей должности, собственноручной подписи, фамилии и инициалов.

2-й экземпляр "Извещения о регистрации" вместе с соответствующими установленным настоящим Регламентом требованиям "Сведениями о контракте (его изменении)" специалист УФК (ОФК) подшивает в отдельное дело с документами государственного заказчика (далее - дело).

18. В случае обнаружения ошибок или несоответствий в "Сведениях о контракте (его изменении)" при проверках, установленных пунктами 16 или 17 настоящего Регламента, специалист УФК (ОФК) не позднее рабочего дня, следующего за днем получения от государственного заказчика "Сведений о контракте (его изменении)", оформляет на бумажном носителе в 2-х экземплярах документ "Уведомление о возврате органом Федерального казначейства сведений о государственном контракте (его изменении, исполнении, прекращении действия), заключенном от имени Российской Федерации по итогам размещения заказа" (приложение N 5 к настоящему Регламенту) (далее - "Уведомление о возврате"), указывает в поле "Исполнитель" свою должность, собственноручную подпись, расшифровку подписи в виде фамилии и инициалов, текущую дату, подписывает "Уведомление о возврате" у начальника отдела УФК (ОФК) (иного уполномоченного лица), положение о котором предусматривает прием, проверку и обработку сведений о контракте, и передает 1-й экземпляр "Уведомления о возврате" с приложением не соответствующего требованиям настоящего Регламента документа "Сведения о контракте (его изменении)" представителю государственного заказчика под подпись на 2-м экземпляре "Уведомления о возврате".

При невозможности передачи в указанные сроки представителю государственного заказчика 1-го экземпляра "Уведомления о возврате" с приложением не соответствующих требованиям настоящего Регламента "Сведений о контракте (его изменении)" специалист УФК (ОФК) не позднее 2-го рабочего дня, следующего за днем принятия от государственного заказчика "Сведений о контракте (его изменении)", обеспечивает направление в установленном в УФК (ОФК) для отправки почтовой корреспонденции порядке в адрес государственного заказчика по почте 1-го экземпляра "Уведомления о возврате" и не соответствующих требованиям настоящего Регламента "Сведений о контракте (его изменении)" и делает отметку о направлении на 2-м экземпляре "Уведомления о возврате" с указанием даты отправки, должности, собственноручной подписи, фамилии и инициалов.

2-й экземпляр "Уведомления о возврате" вместе с копией не соответствующих требованиям настоящего Регламента "Сведений о контракте (его изменении)" специалист УФК (ОФК) подшивает в дело.

19. При получении от государственного заказчика "Сведений о контракте (его изменении)" в электронном виде с ЭЦП специалист УФК (ОФК) в сроки, указанные в пунктах 16 - 18 настоящего Регламента, в порядке, аналогичном установленному в пунктах 16 - 18 настоящего Регламента, осуществляет обработку "Сведений о контракте (его изменении)" в электронном виде, при этом направление государственному заказчику "Уведомления о возврате" или "Извещения о регистрации" осуществляется через СЭД в электронном виде с ЭЦП специалиста УФК (ОФК).

20. При получении по почте от государственного заказчика "Сведений о контракте (его изменении)" на бумажном носителе специалист, ответственный за прием и обработку входящей корреспонденции (далее - ответственный исполнитель), в день получения обеспечивает регистрацию "Сведений о контракте (его изменении)" на бумажном носителе в установленном в УФК (ОФК) для регистрации почтовой корреспонденции порядке и передает их начальнику отдела УФК (ОФК) (иного уполномоченного лица), положение о котором предусматривает прием, проверку и обработку сведений о контракте. Начальник отдела УФК (ОФК) (иное уполномоченное лицо), положение о котором предусматривает прием, проверку и обработку сведений о контракте, в тот же день передает "Сведения о контракте (его изменении)" на бумажном носителе специалисту УФК (ОФК).

Специалист УФК (ОФК) в сроки, указанные в пунктах 16 - 18 настоящего Регламента, в порядке, аналогичном установленному в пунктах 16 - 18 настоящего Регламента, осуществляет обработку "Сведений о контракте (его изменении)" на бумажном носителе, при этом направление государственному заказчику "Уведомления о возврате" или "Извещения о регистрации" осуществляется по почте.

21. "Сведения об исполнении (прекращении действия) контракта" в зависимости от способа оформления принимается УФК или ОФК в соответствии с пунктом 4 настоящего Регламента на бумажном носителе в 1-м экземпляре непосредственно от представителя государственного заказчика, на бумажном носителе в 1-м экземпляре почтой с сопроводительным письмом или в электронном виде с ЭЦП через СЭД в установленные часы работы соответственно УФК или ОФК.

22. При получении от государственного заказчика "Сведений об исполнении (прекращении действия) контракта" на бумажном носителе специалист УФК (ОФК) визуально проверяет:

соответствие формы представляемых государственным заказчиком "Сведений об исполнении (прекращении действия) контракта" форме согласно приложению N 2 к Положению о ведении реестров государственных или муниципальных контрактов, заключенных по итогам размещения заказов, и о требованиях к технологическим, программным, лингвистическим, правовым и организационным средствам обеспечения пользования официальным сайтом в сети Интернет, на котором размещаются указанные реестры, утвержденному Постановлением Правительства Российской Федерации от 27 декабря 2006 г. N 807;

заполнение представленных государственным заказчиком "Сведений об исполнении (прекращении действия) контракта" в соответствии с Указаниями по заполнению формы документа "Сведения об исполнении (о прекращении действия) государственного или муниципального контракта", согласно приложению N 2 к Положению о ведении реестров государственных или муниципальных контрактов, заключенных по итогам размещения заказов, и о требованиях к технологическим, программным, лингвистическим, правовым и организационным средствам обеспечения пользования официальным сайтом в сети Интернет, на котором размещаются указанные реестры, утвержденному Постановлением Правительства Российской Федерации от 27 декабря 2006 г. N 807;

отсутствие исправлений в представленных государственным заказчиком "Сведениях об исполнении (прекращении действия) контракта";

соответствие подписи в "Сведениях об исполнении (прекращении действия) контракта" образцу подписи, имеющемуся в карточке образцов подписей, представленной государственным заказчиком в УФК (ОФК) в соответствии с пунктом 11 настоящего Регламента.

В случае, если дата "Сведений об исполнении (прекращении действия) контракта" не соответствует дате фактического представления в УФК (ОФК), специалист УФК (ОФК) указывает в правом верхнем углу документа "Сведения об исполнении (прекращении действия) контракта" дату фактического представления, свою должность, собственноручную подпись и расшифровку подписи в виде фамилии и инициалов.

В случае успешного выполнения проверки специалист УФК (ОФК) указывает в поле "Отметки уполномоченного органа на ведение реестра контрактов о принятии сведений" "Сведений об исполнении (прекращении действия) контракта" свою должность, собственноручную подпись, расшифровку подписи в виде фамилии и инициалов и текущую дату.

23. Не позднее рабочего дня, следующего за днем принятия от государственного заказчика "Сведений об исполнении (прекращении действия) контракта", специалист УФК (ОФК) вводит в информационную систему показатели прошедших визуальную проверку в соответствии с пунктом 22 настоящего Регламента "Сведений об исполнении (прекращении действия) контракта" и производит автоматизированную проверку показателей "Сведений об исполнении (прекращении действия) контракта" в соответствии с приложением N 3 к настоящему Регламенту.

В случае успешного выполнения автоматизированной проверки в информационной системе на основании введенных специалистом показателей "Сведений об исполнении (прекращении действия) контракта" осуществляется обновление соответствующей реестровой записи с присвоением очередного номера изменения.

В случае успешного выполнения автоматизированной проверки специалист УФК (ОФК) не позднее рабочего дня, следующего за днем получения от государственного заказчика "Сведений об исполнении (прекращении действия) контракта" оформляет на бумажном носителе в 2-х экземплярах "Извещение о регистрации", указывает в поле "Исполнитель" собственноручную подпись, расшифровку подписи в виде фамилии и инициалов и передает 1-й экземпляр "Извещения о регистрации" представителю государственного заказчика под подпись на 2-м экземпляре "Извещения о регистрации".

При невозможности передачи в указанные сроки представителю государственного заказчика 1-го экземпляра "Извещения о регистрации" специалист УФК (ОФК) не позднее рабочего дня, следующего за днем принятия от государственного заказчика документа "Сведения об исполнении (прекращении действия) контракта", обеспечивает направление в установленном в УФК (ОФК) для отправки почтовой корреспонденции порядке в адрес государственного заказчика по почте 1-го экземпляра "Извещения о регистрации" и делает отметку о направлении на 2-м экземпляре "Извещения о регистрации" с указанием даты отправки, своей должности, собственноручной подписи, фамилии и инициалов.

2-й экземпляр "Извещения о регистрации" вместе с соответствующими требованиям настоящего Регламента "Сведениями об исполнении (прекращении действия) контракта" специалист УФК (ОФК) подшивает в дело.

24. В случае обнаружения ошибок и несоответствий в "Сведениях об исполнении (прекращении действия) контракта" при проверках, установленных пунктами 22 или 23 настоящего Регламента, специалист УФК (ОФК) не позднее рабочего дня, следующего за днем получения от государственного заказчика "Сведений об исполнении (прекращении действия) контракта", оформляет на бумажном носителе в 2-х экземплярах "Уведомление о возврате", указывает в поле "Исполнитель" свою должность, собственноручную подпись, расшифровку подписи в виде фамилии и инициалов, текущую дату, подписывает "Уведомление о возврате" у начальника отдела УФК (ОФК) (иного уполномоченного лица), положение о котором предусматривает прием, проверку и обработку сведений о контракте, и передает 1-й экземпляр "Уведомления о возврате" с приложением не соответствующих требованиям настоящего Регламента "Сведений об исполнении (прекращении действия) контракта" представителю государственного заказчика под подпись на 2-м экземпляре "Уведомления о возврате".

При невозможности передачи в указанные сроки представителю государственного заказчика 1-го экземпляра "Уведомления о возврате" с приложением не соответствующих требованиям настоящего Регламента "Сведений об исполнении (прекращении действия) контракта" специалист УФК (ОФК) не позднее 2-го рабочего дня, следующего за днем принятия от государственного заказчика "Сведений об исполнении (прекращении действия) контракта", обеспечивает направление в установленном в УФК (ОФК) для отправки почтовой корреспонденции порядке в адрес государственного заказчика по почте 1-го экземпляра "Уведомления о возврате" и не соответствующих требованиям настоящего Регламента "Сведений об исполнении (прекращении действия) контракта" и делает отметку о направлении на 2-м экземпляре "Уведомления о возврате" с указанием даты отправки, должности, собственноручной подписи, фамилии и инициалов.

2-й экземпляр "Уведомления о возврате" вместе с копией не соответствующих требованиям настоящего Регламента "Сведений об исполнении (прекращении действия) контракта" специалист УФК (ОФК) подшивает в дело.

25. При получении от государственного заказчика "Сведений об исполнении (прекращении действия) контракта" в электронном виде с ЭЦП специалист УФК (ОФК) в сроки, указанные в пунктах 22 - 24 настоящего Регламента, в порядке, аналогичном установленному в пунктах 22 - 24 настоящего Регламента, осуществляет обработку "Сведений об исполнении (прекращении действия) контракта" в электронном виде, при этом направление государственному заказчику "Уведомления о возврате" или "Извещения о регистрации" осуществляется через СЭД в электронном виде с ЭЦП специалиста УФК (ОФК).

26. При получении по почте от государственного заказчика "Сведений об исполнении (прекращении действия) контракта" ответственный исполнитель в день получения обеспечивает регистрацию "Сведений об исполнении (прекращении действия) контракта" на бумажном носителе в установленном в УФК (ОФК) для регистрации почтовой корреспонденции порядке и передает их начальнику отдела УФК (ОФК) (иному уполномоченному лицу), положение о котором предусматривает прием, проверку и обработку сведений о контракте. Начальник отдела УФК (ОФК) (иного уполномоченного лица), положение о котором предусматривает прием, проверку и обработку сведений о контракте, в тот же день передает "Сведения об исполнении (прекращении действия) контракта" на бумажном носителе специалисту УФК (ОФК).

Специалист УФК (ОФК) в сроки, указанные в пунктах 22 - 24 настоящего Регламента, в порядке, аналогичном установленному в пунктах 22 - 24 настоящего Регламента, осуществляет обработку "Сведений об исполнении (прекращении действия) контракта" на бумажном носителе, при этом направление государственному заказчику "Уведомления о возврате" или "Извещения о регистрации" осуществляется по почте.

27. Не позднее 15 часов 00 минут местного времени рабочего дня, следующего за днем принятия от государственного заказчика Сведений о контракте, реестровая запись с присвоенным уникальным номером (обновленная реестровая запись с присвоенным порядковым номером изменения) (далее - реестровые записи) в электронном виде по защищенным каналам связи передается специалистом ОФК в УФК. Специалист ОФК проверяет своевременность доставки реестровых записей до УФК. Специалист УФК проверяет отсутствие искажений при доставке реестровых записей по защищенным каналам связи из ОФК в УФК.

28. Не позднее 17 часов 00 минут местного времени рабочего дня, следующего за днем принятия от государственного заказчика сведений о контракте, реестровые записи, полученные специалистом УФК от специалистов ОФК в электронном виде, и реестровые записи, сформированные в информационной системе специалистами УФК, подписываются ЭЦП уполномоченного сотрудника УФК и передаются специалистом УФК через СЭД в Федеральное казначейство. Специалист УФК проверяет своевременность доставки реестровых записей до Федерального казначейства. Специалист Федерального казначейства проверяет отсутствие искажений при доставке реестровых записей из УФК в Федеральное казначейство.

29. Не позднее 10 часов 00 минут московского времени рабочего дня, следующего за днем получения от УФК в электронном виде с ЭЦП специалистов УФК реестровых записей, указанные записи специалистом Федерального казначейства включаются в Реестр контрактов. Сформированный Реестр контрактов размещается специалистом Федерального казначейства на Официальном сайте. Специалист Федерального казначейства проверяет полноту размещения на Официальном сайте Реестра контрактов, сформированного на основании полученных Федеральным казначейством от специалистов УФК реестровых записей.

30. Решения должностных лиц Федерального казначейства, УФК или ОФК, принятые в рамках исполнения государственной функции по ведению Реестра контрактов, а также их действия или бездействия, могут быть обжалованы в досудебном и судебном порядке.

Контроль деятельности ОФК осуществляет УФК.

Контроль деятельности УФК осуществляет Федеральное казначейство.

Контроль деятельности Федерального казначейства осуществляет Министерство финансов Российской Федерации.

Заявитель может обжаловать действия или бездействие должностных лиц Федерального казначейства:

руководителю Федерального казначейства;

в Министерство финансов Российской Федерации.

Заявитель может обжаловать действия или бездействие должностных лиц УФК:

руководителю УФК;

в Федеральное казначейство;

в Министерство финансов Российской Федерации.

Заявитель может обжаловать действия или бездействие должностных лиц ОФК:

руководителю ОФК;

в вышестоящее УФК;

в Федеральное казначейство;

в Министерство финансов Российской Федерации.

31. Заявитель вправе обратиться с жалобой лично (устно) или направить письменное предложение, заявление или жалобу (далее - письменное обращение).

Должностные лица Федерального казначейства, УФК и ОФК проводят личный прием заявителей.

Места, дни и время приема заявителей должностными лицами Федерального казначейства, УФК и ОФК устанавливаются приказами Федерального казначейства, УФК и ОФК соответственно. Указанная информация размещается на официальных сайтах Федерального казначейства, УФК и ОФК (при наличии официального сайта) соответственно, а также на информационных стендах.

При письменном обращении заявителя срок его рассмотрения не превышает 30 календарных дней со дня регистрации письменного обращения.

В исключительных случаях (в том числе при принятии решения о проведении проверки деятельности УФК или ОФК, направлении Федеральным казначейством запроса в соответствующее УФК о представлении дополнительных документов и материалов), а также в случае направления запроса другим государственным органам и иным должностным лицам для получения необходимых для рассмотрения письменного обращения документов и материалов, руководитель, заместитель руководителя Федерального казначейства, Министр финансов Российской Федерации, его заместитель, иное уполномоченное должностное лицо вправе продлить срок рассмотрения письменного обращения не более чем на 30 календарных дней, уведомив о продлении срока его рассмотрения заявителя.

32. Заявитель в своем письменном обращении в обязательном порядке указывает либо наименование органа, в который направляет письменное обращение, либо фамилию, имя, отчество соответствующего должностного лица, либо должность соответствующего лица, а также свои фамилию, имя, отчество (последнее - при наличии), полное наименование для юридического лица, почтовый адрес, по которому должны быть направлены ответ или уведомление о переадресации письменного обращения, излагает суть предложения, заявления или жалобы, ставит личную подпись и дату.

Дополнительно в письменном обращении могут быть указаны:

наименование УФК или ОФК, должность, фамилия, имя и отчество работника Федерального казначейства, УФК или ОФК, действие (бездействие) которого обжалуется;

суть обжалуемого действия (бездействия);

обстоятельства, на основании которых заявитель считает, что нарушены его права, свободы и законные интересы, созданы препятствия к их реализации либо незаконно возложена какая-либо обязанность;

иные сведения, которые заявитель считает необходимым сообщить.

В случае необходимости в подтверждение своих доводов заявитель прилагает к письменному обращению документы и материалы либо их копии.

По результатам рассмотрения письменного обращения должностным лицом Федерального казначейства, УФК или ОФК принимается решение об удовлетворении требований заявителя либо об отказе в удовлетворении жалобы.

Письменный ответ, содержащий результаты рассмотрения письменного обращения, направляется заявителю.

33. Если в письменном обращении не указаны фамилия заявителя, направившего письменное обращение, и почтовый адрес, по которому должен быть направлен ответ, ответ на письменное обращение не дается.

Федеральное казначейство, УФК или ОФК при получении письменного обращения, в котором содержатся нецензурные либо оскорбительные выражения, угрозы жизни, здоровью и имуществу должностного лица, а также членов его семьи, вправе оставить письменное обращение без ответа по существу поставленных в нем вопросов и сообщить заявителю, направившему письменное обращение, о недопустимости злоупотребления правом.

Если текст письменного обращения не поддается прочтению, ответ на письменное обращение не дается, о чем сообщается заявителю, направившему письменное обращение, если его фамилия и почтовый адрес поддаются прочтению.

Если в письменном обращении заявителя содержится вопрос, на который заявителю многократно давались письменные ответы по существу в связи с ранее направляемыми письменными обращениями, и при этом в письменном обращении не приводятся новые доводы или обстоятельства, руководитель Федерального казначейства, УФК или ОФК, иное уполномоченное на то должностное лицо вправе принять решение о безосновательности очередного письменного обращения и прекращении переписки с заявителем по данному вопросу при условии, что указанное письменное обращение и ранее направляемые письменные обращения направлялись в Федеральное казначейство, одно и то же УФК или ОФК или одному и тому же должностному лицу. О данном решении уведомляется заявитель, направивший письменное обращение.

Если причины, по которым ответ по существу поставленных в письменном обращении вопросов не мог быть дан, в последующем были устранены, заявитель вправе вновь направить письменное обращение в Министерство финансов Российской Федерации, Федеральное казначейство, УФК или ОФК или к соответствующему должностному лицу Министерства финансов Российской Федерации, Федерального казначейства, УФК или ОФК.

Заявители вправе обжаловать решения, принятые в ходе исполнения государственной функции, действия или бездействие должностных лиц Министерства финансов Российской Федерации, Федерального казначейства, УФК или ОФК в судебном порядке.

34. Заявители могут сообщить о нарушении своих прав и законных интересов, неправомерных решениях, действиях или бездействии должностных лиц Федерального казначейства, УФК или ОФК, нарушении положений настоящего Регламента, некорректном поведении или нарушении служебной этики:

по номерам телефонов, указанных в настоящем Регламенте;

на Интернет-сайт и по электронной почте Федерального казначейства, УФК или ОФК.

Сообщение заявителя должно содержать следующую информацию:

фамилию, имя, отчество гражданина (наименование юридического лица), которым подается сообщение, его место жительства или пребывания;

наименование органа, должность, фамилию, имя и отчество работника Федерального казначейства, УФК или ОФК (при наличии информации), решение, действие (бездействие) которого нарушает права и законные интересы заявителя;

суть нарушенных прав и законных интересов, противоправного решения, действия (бездействия);

сведения о способе информирования заявителя о принятых мерах по результатам рассмотрения его сообщения.

35. Федеральное казначейство в пределах своих полномочий обеспечивает рассмотрение жалоб граждан и организаций, поступивших непосредственно в адрес Федерального казначейства, принятых или направленных ему по принадлежности, в соответствии с Регламентом Федерального казначейства, утвержденным Приказом Федерального казначейства от 10.04.2006 N 5н.

36. Ответственным за прием и рассмотрение жалоб по вопросу ведения Реестра контрактов на действия/бездействия работников УФК (ОФК) в Федеральном казначействе (далее - ответственный контролер) является заместитель начальника Управления внутреннего контроля и аудита, в должностной регламент которого включены соответствующие полномочия (телефон (495) 748-45-75, факс (495) 748-45-20).

Часы работы ответственного контролера (по московскому времени):

Понедельник 9.00 - 18.00

Вторник 9.00 - 18.00

Среда 9.00 - 18.00

Четверг 9.00 - 18.00

Пятница 9.00 - 16.45

Суббота Выходной день

Воскресенье Выходной день.

Часы перерыва на обед ответственного контролера:

Понедельник 12.00 - 12.45

Вторник 12.00 - 12.45

Среда 12.00 - 12.45

Четверг 12.00 - 12.45

Пятница 12.00 - 12.45.

В предпраздничные дни продолжительность времени работы ответственного контролера сокращается на 1 час.

37. Предоставление выписок из Реестра контрактов осуществляется в случаях, предусмотренных законодательством Российской Федерации, на основании письменных обращений любых юридических и физических лиц, поступивших в УФК или ОФК, сформировавшее соответствующую реестровую запись.

УФК (ОФК) в течение 10 дней со дня получения письменного обращения, оформленного в соответствии с пунктом 32 настоящего Регламента, получает с Официального сайта выписку из Реестра контрактов (приложение N 6 к настоящему Регламенту) в виде электронного файла в формате таблиц MICROSOFT OFFICE EXCEL. Указанная выписка на бумажном носителе оформляется подписью руководителя (иного уполномоченного лица) УФК (ОФК) и оттиском печати УФК (ОФК) и заказным письмом направляется адресату письменного обращения.

Плата за предоставление выписки из Реестра контрактов не взимается.

Приложение N 1
к Административному регламенту
Федерального казначейства
по исполнению государственной
функции по ведению реестра
государственных контрактов,
заключенных от имени
Российской Федерации
по итогам размещения заказов

РЕКВИЗИТЫ АДРЕСОВ, ТЕЛЕФОНЫ И АДРЕСА ИНТЕРНЕТ-САЙТОВ УПРАВЛЕНИЙ ФЕДЕРАЛЬНОГО КАЗНАЧЕЙСТВА ПО СУБЪЕКТАМ РОССИЙСКОЙ ФЕДЕРАЦИИ

Управление Федерального казначейства по Республике Адыгея (Адыгея)

Адрес: 385000, Республика Адыгея, г. Майкоп,

Телефон: 8-8772-52-48-00, 57-05-00

Адрес сайта: adygeya.roskazna.ru

Управление Федерального казначейства по Республике Алтай

Адрес: 649000, г. Горно-Алтайск, ул. Чаптынова, 4

Телефон: 8-38822-4-27-01

Адрес сайта: altay.roskazna.ru

Управление Федерального казначейства по Республике Башкортостан

Адрес: 450076, г. Уфа, ул. Гоголя, 62

Телефон: 8-3472-51-50-99

Адрес сайта: ufa.roskazna.ru

Управление Федерального казначейства по Республике Бурятия

Адрес: 670010, г. Улан-Удэ, ул. Толстого, 3

Телефон: 8-3012-22-27-95

Адрес сайта: buryatia.roskazna.ru

Управление Федерального казначейства по Республике Дагестан

Адрес: 367015, Республика Дагестан, г. Махачкала, ул. Ярагского, 93

Телефон: 8-8722-67-24-81

Адрес сайта: dagestan.roskazna.ru

Управление Федерального казначейства по Республике Ингушетия

Адрес: 386103, г. Магас, ул. А. Горчханова, 7

Телефон: 8-8734-55-14-56

Адрес сайта: ufk14.roskazna.ru

Управление Федерального казначейства по Кабардино-Балкарской Республике

Адрес: 360000, г. Нальчик, ул. Ногмова, 37

Телефон: 8-8662-42-29-48

Адрес сайта: kabardino-balkaria.roskazna.ru

Управление Федерального казначейства по Республике Калмыкия

Адрес: 358000, г. Элиста, ул. Ленина, 242

Телефон: 8-84722-5-59-73

Адрес сайта: kalmykia.roskazna.ru

Управление Федерального казначейства по Карачаево-Черкесской Республике

Адрес: 369000, г. Черкесск, ул. Красноармейская, 70а

Телефон: 8-87822-5-00-21

Адрес сайта: karachaevocherkessia.roskazna.ru

Управление Федерального казначейства по Республике Карелия

Адрес: 185035, г. Петрозаводск, ул. Куйбышева, 21

Телефон: 8-8142-76-50-44

Адрес сайта: karelia.roskazna.ru

Управление Федерального казначейства по Республике Коми

Адрес: 167031, г. Сыктывкар, ул. Орджоникидзе, 61а

Телефон: 8-8212-44-75-65

Адрес сайта: komi.roskazna.ru

Управление Федерального казначейства по Республике Марий Эл

Адрес: 424000, г. Йошкар-Ола, ул. К. Маркса, 85

Телефон: 8-8362-68-48-00

Адрес сайта: mariy-el.roskazna.ru

Управление Федерального казначейства по Республике Мордовия

Адрес: 430005, г. Саранск, ул. Коммунистическая, 33/1

Телефон: 8-8342-28-10-01, 47-52-80

Адрес сайта: mordovia.roskazna.ru

Управление Федерального казначейства по Республике Саха (Якутия)

Адрес: 677000, г. Якутск, ул. Дзержинского, 22/7

Телефон: 8-4112-45-37-67

Адрес сайта: yakutia.roskazna.ru

Управление Федерального казначейства по Республике Северная Осетия - Алания

Адрес: 362008, г. Владикавказ, ул. Коцоева, 24

Телефон: 8-8672-75-06-27

Адрес сайта: alania.roskazna.ru

Управление Федерального казначейства по Республике Татарстан

Адрес: 420094, г. Казань, ул. Короленко, 58а

Телефон: 8-843-516-97-00

Адрес сайта: tatarstan.roskazna.ru

Управление Федерального казначейства по Республике Тыва

Адрес: 667000, г. Кызыл, ул. Красноармейская, 76а

Телефон: 8-39422-3-59-78

Адрес сайта: ufk12.roskazna.ru

Управление Федерального казначейства по Удмуртской Республике

Адрес: 426003, г. Ижевск, ул. Карла Либкнехта, 8

Телефон: 8-3412-48-08-01

Адрес сайта: udmurtia.roskazna.ru

Управление Федерального казначейства по Республике Хакасия

Адрес: 655017, г. Абакан, ул. Советская, 41

Телефон: 8-3902-22-11-66

Адрес сайта: hakasia.roskazna.ru

Управление Федерального казначейства по Чеченской Республике

Адрес: 364020, г. Грозный, ул. Гаражная, 2

Телефон: 8-8712-22-33-63

Адрес сайта: chechnya.roskazna.ru

Управление Федерального казначейства по Чувашской Республике

Адрес: 428004, г. Чебоксары, Президентский бульвар, 6

Телефон: 8-8352-62-10-44

Адрес сайта: chuvashia.roskazna.ru

Управление Федерального казначейства по Алтайскому краю

Адрес: 656049, г. Барнаул, Красноармейский пр., 9

Телефон: 8-3852-39-22-01, 39-22-61

Адрес сайта: altay.roskazna.ru

Управление Федерального казначейства по Краснодарскому краю

Адрес: 350000, г. Краснодар, ул. Карасунская, 155

Телефон: 8-861-268-50-47

Адрес сайта: www.kubufk.ru

Управление Федерального казначейства по Красноярскому краю

Адрес: 660021, г. Красноярск, пр. Мира, 103

Телефон: 8-3912-23-75-00

Адрес сайта: krasnoyarsk.roskazna.ru

Управление Федерального казначейства по Приморскому краю

Адрес: 690091, г. Владивосток, ул. Светланская, д. 69

Телефон: 8-4232-20-50-26

Адрес сайта: vladivostok.roskazna.ru

Управление Федерального казначейства по Ставропольскому краю

Адрес: 355002, г. Ставрополь, ул. Артема, 20

Телефон: 8-8652-37-29-20

Адрес сайта: stv.roskazna.ru

Управление Федерального казначейства по Хабаровскому краю

Адрес: 680000, г. Хабаровск, ул. Дзержинского, д. 41

Телефон: 8-4212-32-65-58

Адрес сайта: habarovsk.roskazna.ru

Управление Федерального казначейства по Амурской области

Адрес: 675000, г. Благовещенск, ул. Ленина, 108, подъезд 1

Телефон: 8-4162-44-28-02

Адрес сайта: amur.roskazna.ru

Управление Федерального казначейства по Архангельской области

Адрес: 163000, г. Архангельск, ул. Карла Либкнехта, дом 2

Телефон: 8-8182-65-10-83

Адрес сайта: arhangelsk.roskazna.ru

Управление Федерального казначейства по Астраханской области

Адрес: 414057, г. Астрахань, ул. Н. Островского, д. 130а

Телефон: 8-8512-34-08-38

Адрес сайта: astrahan.roskazna.ru

Управление Федерального казначейства по Белгородской области

Адрес: 308010, г. Белгород, пр. Б. Хмельницкого, д. 139

Телефон: 8-4722-34-40-96, 34-56-41

Адрес сайта: belgorod.roskazna.ru

Управление Федерального казначейства по Брянской области

Адрес: 241037, г. Брянск, ул. Красноармейская, 158

Телефон: 8-4832-41-16-55, 41-23-58

Адрес сайта: bryansk.roskazna.ru

Управление Федерального казначейства по Владимирской области

Адрес: 600000, г. Владимир, Октябрьский пр., д. 3

Телефон: 8-492232-31-42, 32-52-69

Адрес сайта: vladimir.roskazna.ru

Управление Федерального казначейства по Волгоградской области

Адрес: 400131, г. Волгоград, ул. Коммунистическая, 28-а

Телефон: 8-8442-33-30-83, 33-30-28

Адрес сайта: volgograd.roskazna.ru

Управление Федерального казначейства по Вологодской области

Адрес: 160000, г. Вологда, ул. Предтеченская, 10

Телефон: 8-8172-75-35-72, 72-21-66

Адрес сайта: vologodskaya.roskazna.ru

Управление Федерального казначейства по Воронежской области

Адрес: 394006, г. Воронеж, ул. Куцыгина, 15 а

Телефон: 8-4732-69-70-00, 69-70-01

Адрес сайта: 31vrn.roskazna.ru

Управление Федерального казначейства по Ивановской области

Адрес: 153038, г. Иваново, пр. Строителей, д. 21

Телефон: 8-4932-56-53-02, 56-54-48

Адрес сайта: ivanovskaya.roskazna.ru

Управление Федерального казначейства по Иркутской области

Адрес: 664003, г. Иркутск, ул. Фурье, д. 1

Телефон: 8-3952-26-87-05, 26-88-26

Адрес сайта: irkutsk.roskazna.ru

Управление Федерального казначейства по Калининградской области

Адрес: 236000, г. Калининград, ул. Зоологическая, 27-а

Телефон: 8-4012-99-06-61, 99-06-46

Адрес сайта: kaliningrad.roskazna.ru

Управление Федерального казначейства по Калужской области

Адрес: 248009, г. Калуга, Грабцевское шоссе, 39

Телефон: 8-4842-54-50-85, 54-50-59

Адрес сайта: kaluga.roskazna.ru

Управление Федерального казначейства по Камчатской области

Адрес: 683003, г. Петропавловск-Камчатский, ул. Ленинградская, д. 89

Телефон: 8-4152-41-98-05, 41-98-56, 46-81-40

Адрес сайта: kamchatka.roskazna.ru

Управление Федерального казначейства по Кемеровской области

Адрес: 650993, г. Кемерово, ул. Мичурина, 54

Телефон: 8-3842-71-90-01, 58-74-00, 71-90-94, 58-60-86

Адрес сайта: kemerovskaya.roskazna.ru

Управление Федерального казначейства по Кировской области

Адрес: 610019, г. Киров, ул. Карла Либкнехта, 69

Телефон: 8-8332-65-11-22, 35-35-35, 65-16-07

Адрес сайта: kirov.roskazna.ru

Управление Федерального казначейства по Костромской области

Адрес: 156961, г. Кострома, ул. Красноармейская, 8

Телефон: 8-4942-35-66-44, 35-66-44

Адрес сайта: kostroma.roskazna.ru

Управление Федерального казначейства по Курганской области

Адрес: 640018, г. Курган, ул. Савельева, 23, а/я 1724

Телефон: 8-3522-41-75-16, 41-29-43

Адрес сайта: kurgan.roskazna.ru

Управление Федерального казначейства по Курской области

Адрес: 305000, г. Курск, ул. М. Горького, д. 8

Телефон: 8-4712-56-60-93, 70-00-42

Адрес сайта: kursk.roskazna.ru

Управление Федерального казначейства по Ленинградской области

Адрес: 196066, г. Санкт-Петербург, ул. Варшавская, 63, корп. 1, а/я 144

Телефон: 8-812-375-37-52, 374-17-08

Адрес сайта: leningrad.roskazna.ru

Управление Федерального казначейства по Липецкой области

Адрес: 398600, г. Липецк, ул. Интернациональная, 5а, корп. "Б"

Телефон: 8-4742-42-03-03, 42-03-73

Адрес сайта: lipetsk.roskazna.ru

Управление Федерального казначейства по Магаданской области

Адрес: 685050, г. Магадан, ул. Пролетарская, 25, корп. 1

Телефон: 8-413262-66-53, 2-66-93

Адрес сайта:

Управление Федерального казначейства по Московской области

Адрес: 115114, г. Москва, ул. Дербеневская, 5

Телефон: 8-495-235-01-16, 235-15-11

Адрес сайта: mo.roskazna.ru

Управление Федерального казначейства по Мурманской области

Адрес: 183010, г. Мурманск, пр. Кирова, 18/4

Телефон: 8-8152-25-42-29, 23-17-17

Адрес сайта: murmansk.roskazna.ru

Управление Федерального казначейства по Нижегородской области

Адрес: 603082, г. Нижний Новгород, Кремль, кор. 1

Телефон: 8-8312-39-05-36, 39-05-36

Адрес сайта: nizhegorodskaya.roskazna.ru

Управление Федерального казначейства по Новгородской области

Адрес: 173000, г. Великий Новгород, ул. Ильменская, 1

Телефон: 8-8162-73-19-90, 63-61-62

Адрес сайта: novgorod.roskazna.ru

Управление Федерального казначейства по Новосибирской области

Адрес: 630011, г. Новосибирск-11, ул. Кирова, 3/1

Телефон: 8-3832-18-00-40, 18-08-07

Адрес сайта: novosibirsk.roskazna.ru

Управление Федерального казначейства по Омской области

Адрес: 644043, г. Омск, ул. Красногвардейская, 9

Телефон: 8-3812-25-16-55, 25-04-60

Адрес сайта: omsk.roskazna.ru

Управление Федерального казначейства по Оренбургской области

Адрес: 460000, г. Оренбург, ул. Ленинская, 23

Телефон: 8-3532-78-68-00, 77-23-63

Адрес сайта: orenburg.roskazna.ru

Управление Федерального казначейства по Орловской области

Адрес: 302030, г. Орел, ул. Московская, 38

Телефон: 8-4862-55-25-96, 55-59-55

Адрес сайта: orel.roskazna.ru

Управление Федерального казначейства по Пензенской области

Адрес: 440008, г. Пенза, ул. Ставского, 11

Телефон: 8-8412-54-15-10, 54-18-77, 54-15-10

Адрес сайта: penza.roskazna.ru

Управление Федерального казначейства по Пермской области

Адрес: 614990, г. Пермь, ГСП, Комсомольский пр-т, 22

Телефон: 8-3422-12-10-33, 12-22-05, 12-17-84

Адрес сайта: perm.roskazna.ru

Управление Федерального казначейства по Псковской области

Адрес: 180000, г. Псков, ул. Гоголя, д. 55/78

Телефон: 8-8112-16-39-39, 19-62-01, 16-08-62, 19-62-32

Адрес сайта: pskov.roskazna.ru

Управление Федерального казначейства по Ростовской области

Адрес: 344019, г. Ростов-на-Дону, пл. Свободы, 7/2

Телефон: 8-863-244-09-64, 244-09-55

Адрес сайта: rostov.roskazna.ru

Управление Федерального казначейства по Рязанской области

Адрес: 390000, г. Рязань, ул. Петрова, д. 3

Телефон: 8-4912-28-94-89, 29-64-20

Адрес сайта: ryazan.roskazna.ru

Управление Федерального казначейства по Самарской области

Адрес: 443110, г. Самара, ул. Ново-Садовая, д. 24 "А"

Телефон: 8-846-334-52-50, 265-79-02, 334-52-50

Адрес сайта: samara.roskazna.ru

Управление Федерального казначейства по Саратовской области

Адрес: 410056, г. Саратов, Ильинская площадь, 1/6

Телефон: 8-8452-333-11-01 (моковск),

51-80-20, 51-79-72

Адрес сайта: saratov.roskazna.ru

Управление Федерального казначейства по Сахалинской области

Адрес: 693000, г. Южно-Сахалинск, ул. Карла Маркса, д. 20

Телефон: 8-4242-74-28-76, 74-28-74, 42-46-75, 42-36-25

Адрес сайта: sahalin.roskazna.ru

Управление Федерального казначейства по Свердловской области

Адрес: 620142, г. Екатеринбург, ул. Фурманова, 34

Телефон: 8-343-359-90-01, 359-90-50

Адрес сайта: sverdlovsk.roskazna.ru

Управление Федерального казначейства по Смоленской области

Адрес: 214000, г. Смоленск, ул. Докучаева, д. 7

Телефон: 8-4812-32-79-11, 38-99-61

Адрес сайта: smolensk.roskazna.ru

Управление Федерального казначейства по Тамбовской области

Адрес: 392000, г. Тамбов, ул. К. Маркса, 132

Телефон: 8-4752-72-45-23, 71-53-09

Адрес сайта: tambov.roskazna.ru

Управление Федерального казначейства по Тверской области

Адрес: 170036, г. Тверь, С.-Петербургское шоссе, 53а

Телефон: 8-4822-55-26-24, 42-87-47, 55-07-32

Адрес сайта: tver.roskazna.ru

Управление Федерального казначейства по Томской области

Адрес: 634029, г. Томск, пр. Фрунзе, д. 22

Телефон: 8-3822-53-30-16, 53-30-15

Адрес сайта: tomsk.roskazna.ru

Управление Федерального казначейства по Тульской области

Адрес: 300041, г. Тула, ул. Сойфера, д. 18

Телефон: 8-4872-36-50-56, 36-51-85

Адрес сайта: tula.roskazna.ru

Управление Федерального казначейства по Тюменской области

Адрес: 625000, г. Тюмень, ул. Урицкого, 36

Телефон: 8-3452-59-01-00, 46-88-55

Адрес сайта: tumen.roskazna.ru

Управление Федерального казначейства по Ульяновской области

Адрес: 432063, г. Ульяновск, ул. Гончарова, 50/1

Телефон: 8-8422-42-75-00, 42-75-01, 42-75-25

Адрес сайта: www.simtreas.ru

Управление Федерального казначейства по Челябинской области

Адрес: 454080, г. Челябинск, ул. Тернопольская, 4

Телефон: 8-3512-65-73-00, 65-73-01

Адрес сайта: chelyabinsk.roskazna.ru

Управление Федерального казначейства по Читинской области

Адрес: 672002, г. Чита, ул. Профсоюзная, 17

Телефон: 8-3022-26-23-58, 32-54-23

Адрес сайта: chita.roskazna.ru

Управление Федерального казначейства по Ярославской области

Адрес: 150000, г. Ярославль, ул. Свободы, 46

Телефон: 8-4852-72-19-69, 72-16-35, 72-19-69

Адрес сайта: yaroslavl.roskazna.ru

Управление Федерального казначейства по г. Москве

Адрес: 109240, г. Москва, ул. Верхняя Радищевская, 11, стр. 1

Телефон: 8-495-915-04-98, 915-04-98

Адрес сайта: moscow.roskazna.ru

Управление Федерального казначейства по г. Санкт-Петербургу

Адрес: 197101, г. Санкт-Петербург, ул. Котовского, 1/10

Телефон: 8-812-230-60-32, 235-10-00

Адрес сайта: piter.roskazna.ru

Управление Федерального казначейства по Еврейской автономной области

Адрес: 679016, ЕАО, г. Биробиджан, ул. Миллера, 1

Телефон: 8-426224-14-90, 4-14-60

Адрес сайта: birabidzhan.roskazna.ru

Управление Федерального казначейства по Агинскому Бурятскому автономному округу

Адрес: 687000, Читинская обл., Агинский р-н, п. Агинское, ул. Калинина, 2

Телефон: 8-302393-49-91, 3-47-72

Адрес сайта: a-b.roskazna.ru

Управление Федерального казначейства по Коми-Пермяцкому автономному округу

Адрес: 619000, г. Кудымкар, ул. М. Горького, 33

Телефон: 8-342604-17-18, 4-17-18

Адрес сайта: k-p.roskazna.ru

Управление Федерального казначейства по Корякскому автономному округу

Адрес: 688000, пгт Палана, ул. Ленина, 23а

Телефон: 8-415433-24-02, 3-24-11

Адрес сайта: koryakskiy.roskazna.ru

Управление Федерального казначейства по Ненецкому автономному округу

Адрес: 166004, Архангельская обл., г. Нарьян-Мар, ул. Ленина, 34

Телефон: 8-818534-21-23, 4-12-80

Адрес сайта: nenetskiy.roskazna.ru

Управление Федерального казначейства по Таймырскому (Долгано-Ненецкому) автономному округу

Адрес: 647000, г. Дудинка, ул. Советская, 6а

Телефон: 8-391-11-2-41-35, 3-26-69, 2-1252

Адрес сайта: taymir.roskazna.ru

Управление Федерального казначейства по Усть-Ордынскому Бурятскому автономному округу

Адрес: 669001, Иркутская обл., п. Усть-Ордынский, ул. Чумакова, 1 "д"

Телефон: 8-395413-20-30, 2-29-46

Адрес сайта: ufk86.roskazna.ru

Управление Федерального казначейства по Ханты-Мансийскому автономному округу - Югре

Адрес: 628012, Тюменская обл., г. Ханты-Мансийск, ул. Карла Маркса, 12

Телефон: 8-346712-25-51, 2-25-52

Адрес сайта: hantymansiysk.roskazna.ru

Управление Федерального казначейства по Чукотскому автономному округу

Адрес: 689000, Чукотский АО, г. Анадырь, ул. Южная, 6

Телефон: 8-427222-43-41, 2-43-41

Адрес сайта: chukotka.roskazna.ru

Управление Федерального казначейства по Эвенкийскому автономному округу

Адрес: 648000, Красноярский край, Эвенкийский АО, пгт Тура, ул. 50 лет Октября, д. 32

Телефон: 8-391-13-2-21-19, 2-23-45, 2-23-45

Адрес сайта: evenkiyskiy.roskazna.ru

Управление Федерального казначейства по Ямало-Ненецкому автономному округу

Адрес: 629008, Ямало-Ненецкий АО, г. Салехард, ул. Республики, д. 43

Телефон: 8-349223-80-00, 3-81-20

Адрес сайта: yamalo-nenetskiy.roskazna.ru

Приложение N 2
к Административному регламенту
Федерального казначейства
по исполнению государственной
функции по ведению реестра
государственных контрактов,
заключенных от имени
Российской Федерации
по итогам размещения заказов

УСЛОВИЯ ВЫПОЛНЕНИЯ АВТОМАТИЗИРОВАННОЙ ПРОВЕРКИ ПОКАЗАТЕЛЕЙ ДОКУМЕНТА "СВЕДЕНИЯ О ГОСУДАРСТВЕННОМ ИЛИ МУНИЦИПАЛЬНОМ КОНТРАКТЕ (ЕГО ИЗМЕНЕНИИ), ЗАКЛЮЧЕННОМ ГОСУДАРСТВЕННЫМ ИЛИ МУНИЦИПАЛЬНЫМ ЗАКАЗЧИКОМ"

Указание даты заполнения в заголовочной части документа "Сведения о контракте (его изменении)" в текстовом формате в виде цифрового двузначного числа месяца, буквенного названия месяца на русском языке заглавными или строчными буквами и цифрового четырехзначного числа года;

указание даты заполнения в заголовочной части документа "Сведения о контракте (его изменении)" в кодовой зоне в формате "день, месяц, год" (00.00.0000, например, 28.10.2006);

соответствие даты заполнения в заголовочной части документа "Сведения о контракте (его изменении)" в текстовом формате и в кодовой зоне;

непревышение даты заполнения в заголовочной части документа "Сведения о контракте (его изменении)" даты текущего рабочего дня;

соответствие наименования государственного заказчика в строке "Наименование заказчика" в заголовочной части документа "Сведения о контракте (его изменении)" полному наименованию государственного заказчика в Сводном реестре главных распорядителей, распорядителей и получателей средств федерального бюджета в случае открытия государственному заказчику в Федеральном казначействе или УФК (ОФК) лицевого счета получателя (иного получателя) средств федерального бюджета, или, если государственным заказчиком является иной получатель за пределами Российской Федерации, орган управления государственным внебюджетным фондом Российской Федерации, а также находящееся в его ведении учреждение или организация - полному наименованию государственного заказчика, указанному в представленной государственным заказчиком в УФК (ОФК) карточке образцов подписей;

соответствие кода в кодовой зоне строки "Наименование заказчика" заголовочной части документа "Сведения о контракте (его изменении)" коду, присвоенному государственному заказчику в Сводном реестре главных распорядителей, распорядителей и получателей в случае открытия государственному заказчику лицевого счета получателя средств федерального бюджета, или, если государственным заказчиком является орган управления государственным внебюджетным фондом Российской Федерации, а также находящееся в его ведении учреждение или организация - идентификационному коду заказчика, присвоенному УФК (ОФК) самостоятельно при первом обращении государственного заказчика в УФК (ОФК);

соответствие идентификационного номера налогоплательщика государственного заказчика в кодовой зоне строки "ИНН" заголовочной части документа "Сведения о контракте (его изменении)" идентификационному номеру налогоплательщика государственного заказчика в справочнике корреспондентов УФК (ОФК), заполненном на основании представленного государственным заказчиком в УФК (ОФК) для открытия лицевого счета получателя средств федерального бюджета свидетельства о постановке на учет в налоговом органе, а в случае отсутствия у государственного заказчика лицевого счета получателя средств федерального бюджета представленной государственным заказчиком в УФК (ОФК) карточки образцов подписей;

соответствие кода причины постановки на учет в налоговом органе государственного заказчика в кодовой зоне строки "КПП" заголовочной части документа "Сведения о контракте (его изменении)" коду причины постановки на учет в налоговом органе государственного заказчика в справочнике корреспондентов УФК (ОФК), заполненном на основании представленной государственным заказчиком в УФК (ОФК) карточки образцов подписей;

указание в строке "Тип сведений" заголовочной части документа "Сведения о контракте (его изменении)" текста "первичные", если представление сведений о контракте государственным заказчиком осуществляется в первый раз, или "измененные", если нет;

указание в подстроке "Российская Федерация, субъект Российской Федерации, муниципальное образование" строки "Источник финансирования контракта" заголовочной части документа "Сведения о контракте (его изменении)" текста "Российская Федерация";

указание в подстроке "Наименование бюджета" строки "Источник финансирования контракта" заголовочной части документа "Сведения о контракте (его изменении)" текста "федеральный бюджет", "бюджет Пенсионного фонда Российской Федерации", "бюджет Федерального фонда обязательного медицинского страхования" или "бюджет Фонда социального страхования Российской Федерации" (неуказание текста возможно только при выполнении условия указания текста в подстроке "Вид внебюджетных средств" строки "Источник финансирования контракта" заголовочной части документа "Сведения о контракте (его изменении)");

указание в кодовой зоне подстроки "Наименование бюджета" строки "Источник финансирования контракта" заголовочной части документа "Сведения о контракте (его изменении)" кода 01, 04, 05 или 06 (неуказание кода возможно только при выполнении условия указания соответствующего кода в кодовой зоне подстроки "Вид внебюджетных средств" строки "Источник финансирования контракта" заголовочной части документа "Сведения о контракте (его изменении)");

одновременное заполнение или одновременное незаполнение подстроки "Наименование бюджета" и кодовой зоны подстроки "Наименование бюджета" строки "Источник финансирования контракта" заголовочной части документа "Сведения о контракте (его изменении)";

соответствие текста в подстроке "Наименование бюджета" и кода в кодовой зоне подстроки "Наименование бюджета" строки "Источник финансирования контракта" заголовочной части документа "Сведения о контракте (его изменении)";

указание в подстроке "Вид внебюджетных средств" строки "Источник финансирования контракта" заголовочной части документа "Сведения о контракте (его изменении)" текста "внебюджетные средства получателей средств федерального бюджета", "внебюджетные средства Пенсионного фонда Российской Федерации", "внебюджетные средства Федерального фонда обязательного медицинского страхования" или внебюджетные средства Фонда социального страхования Российской Федерации" (неуказание текста возможно только при выполнении условия указания текста в подстроке "Наименование бюджета" строки "Источник финансирования контракта" заголовочной части документа "Сведения о контракте (его изменении)");

указание в кодовой зоне подстроки "Вид внебюджетных средств" строки "Источник финансирования контракта" заголовочной части документа "Сведения о контракте (его изменении)" кода 11, 14, 15 или 16 (неуказание кода возможно только при выполнении условия указания соответствующего кода в кодовой зоне подстроки "Наименование бюджета" строки "Источник финансирования контракта" заголовочной части документа "Сведения о контракте (его изменении)");

одновременное заполнение или одновременное незаполнение подстроки "Вид внебюджетных средств" и кодовой зоны подстроки "Вид внебюджетных средств" строки "Источник финансирования контракта" заголовочной части документа "Сведения о контракте (его изменении)";

соответствие текста в подстроке "Вид внебюджетных средств" и кода в кодовой зоне подстроки "Вид внебюджетных средств" строки "Источник финансирования контракта" заголовочной части документа "Сведения о контракте (его изменении)";

указание в строке "Способ размещения заказа" заголовочной части документа "Сведения о контракте (его изменении)" текста "открытый конкурс"; "открытый аукцион", "открытый аукцион в электронном виде"; "торги на товарных биржах"; "запрос котировок"; "предварительный отбор и запрос котировок при чрезвычайных ситуациях"; "единственный поставщик (исполнитель, подрядчик)"; "изменение контракта";

указание в кодовой зоне строки "Способ размещения заказа" заголовочной части документа "Сведения о контракте (его изменении)" кода 1, 2, 3, 4, 5, 6, 7 или 8;

соответствие текста в строке "Способ размещения заказа" и кода в кодовой зоне строки "Способ размещения заказа" заголовочной части документа "Сведения о контракте (его изменении)";

не указание в кодовой зоне строки "Способ размещения заказа" заголовочной части документа "Сведения о контракте (его изменении)" кода 8, если в строке "Тип сведений" заголовочной части документа "Сведения о контракте (его изменении)" указано "первичные";

указание в кодовой зоне строки "Дата проведения аукциона (подведения итогов конкурса, итогов запроса котировок или итогов торгов на товарной бирже)" заголовочной части документа "Сведения о контракте (его изменении)" даты в формате "день, месяц, год" (00.00.0000), для иных способов размещения заказа кодовая зона строки "Дата проведения аукциона (подведения итогов конкурса, итогов запроса котировок или итогов торгов на товарной бирже)" не заполняется;

непревышение даты в кодовой зоне строки "Дата проведения аукциона (подведения итогов конкурса, итогов запроса котировок или итогов торгов на товарной бирже)" заголовочной части документа "Сведения о контракте (его изменении)" даты заполнения в заголовочной части документа "Сведения о контракте (его изменении)" в кодовой зоне;

указание в строке "Реквизиты документа, подтверждающего основание заключения контракта" заголовочной части документа "Сведения о контракте (его изменении)" текста;

указание в кодовой зоне строки "Дата заключения контракта" заголовочной части документа "Сведения о контракте (его изменении)" даты в формате "день, месяц, год" (00.00.0000);

непревышение даты в кодовой зоне строки "Дата заключения контракта" заголовочной части документа "Сведения о контракте (его изменении)" даты заполнения в заголовочной части документа "Сведения о контракте (его изменении)" в кодовой зоне;

указание в кодовой зоне строки "Номер контракта" заголовочной части документа "Сведения о контракте (его изменении)" текста;

наличие в информационной системе соответствующего в части номера реестровой записи документа "Сведения о контракте (его изменении)", если в строке "Тип сведений" заголовочной части документа "Сведения о контракте (его изменении)" указано "измененные";

указание в кодовой зоне строки "Цена контракта в рублях" заголовочной части документа "Сведения о контракте (его изменении)" нуля, целого положительного числа или дробного положительного числа в формате (0.00);

указание в кодовой зоне строки "Код валюты контракта по ОКВ" заголовочной части документа "Сведения о контракте (его изменении)" цифрового кода валюты контракта в соответствии с Общероссийским классификатором валют;

указание в кодовой зоне строки "Срок исполнения контракта" заголовочной части документа "Сведения о контракте (его изменении)" даты в формате "месяц, год" (00.0000);

превышение даты в кодовой зоне строки "Срок исполнения контракта" заголовочной части документа "Сведения о контракте (его изменении)" даты в кодовой зоне строки "Дата заключения контракта" заголовочной части документа "Сведения о контракте (его изменении)";

указание в кодовой зоне строки "Номер реестровой записи" заголовочной части документа "Сведения о контракте (его изменении)" уникального номера реестровой записи, присвоенного УФК (ОФК), если в строке "Тип сведений" указано "измененные". Уникальный номер реестровой записи не указывается, если в строке "Тип сведений" указано "первичные";

заполнение раздела I документа "Сведения о контракте (его изменении)" в случае заполнения подстроки "Наименование бюджета" и кодовой зоны подстроки "Наименование бюджета" строки "Источник финансирования контракта" заголовочной части документа "Сведения о контракте (его изменении)";

указание в графе 1 раздела I документа "Сведения о контракте (его изменении)" 20-значного кода бюджетной классификации расходов бюджетов Российской Федерации;

указание в графах 2 - 7 раздела I документа "Сведения о контракте (его изменении)" целого числа или дробного числа в формате (0.00);

указание в графе 8 раздела I документа "Сведения о контракте (его изменении)" кода 1, если в графе 1 раздела I "Сведения о контракте (его изменении)" указан 20-значный код классификации источников внутреннего финансирования дефицита федерального бюджета Российской Федерации, или незаполнения графы 8 раздела I документа "Сведения о контракте (его изменении)" если в графе 1 раздела I документа "Сведения о контракте (его изменении)", указан 20-значный код классификации расходов бюджетов Российской Федерации;

непревышение года, указанного в дате в кодовой зоне строки "Дата заключения контракта" заголовочной части документа "Сведения о контракте (его изменении)" первого года оплаты контракта, указанного в разделе I документа "Сведения о контракте (его изменении)";

указание в строке "Итого" раздела I документа "Сведения о контракте (его изменении)" итоговых сумм планируемых платежей на соответствующие годы по всем кодам бюджетной классификации Российской Федерации в виде целого числа или дробного числа в формате (0.00);

заполнение раздела II документа "Сведения о контракте (его изменении)" в случае заполнения подстроки "Вид внебюджетных средств" и кодовой зоны подстроки "Вид внебюджетных средств" строки "Источник финансирования контракта" заголовочной части документа "Сведения о контракте (его изменении)";

указание в графе 1 раздела II документа "Сведения о контракте (его изменении)" 3-значного кода экономической классификации расходов бюджетов Российской Федерации;

непревышение года, указанного в дате в кодовой зоне строки "Дата заключения контракта" заголовочной части документа "Сведения о контракте (его изменении)" первого года оплаты контракта, указанного разделе II документа "Сведения о контракте (его изменении)";

указание в графах 2 - 7 раздела II документа "Сведения о контракте (его изменении)" целого числа или дробного числа в формате (0.00);

указание в строке "Итого" раздела II документа "Сведения о контракте (его изменении)" итоговых сумм планируемых платежей на соответствующие годы по всем кодам бюджетной классификации Российской Федерации в виде целого числа или дробного числа в формате (0.00);

равенство числа в кодовой зоне строки "Цена контракта в рублях" заголовочной части документа "Сведения о контракте (его изменении)" и итоговых сумм планируемых платежей на соответствующие годы по всем кодам бюджетной классификации Российской Федерации, указанных в строке "Итого" разделов I и II документа "Сведения о контракте (его изменении)";

указание в графе 1 раздела III документа "Сведения о контракте (его изменении)" целого числа;

указание в графе 2 раздела III документа "Сведения о контракте (его изменении)" текста;

указание в графе 3 раздела III документа "Сведения о контракте (его изменении)" шестизначного кода в соответствии с Общероссийским классификатором продукции или незаполнение указанной графы;

указание в графе 4 раздела III документа "Сведения о контракте (его изменении)" национального кодового буквенного обозначения единицы измерения товаров, поименованных в графе 2 раздела III документа "Сведения о контракте (его изменении)", в соответствии с Общероссийским классификатором единиц измерения или незаполнение указанной графы;

указание в графе 5 раздела III документа "Сведения о контракте (его изменении)" целого числа или дробного числа в формате (0.00) или незаполнение указанной графы;

указание в графе 6 раздела III документа "Сведения о контракте (его изменении)" целого или дробного числа в формате (0.00) или незаполнение указанной графы;

одновременное заполнение или одновременное незаполнение граф 3 - 6 раздела III документа "Сведения о контракте (его изменении)";

указание в графе 7 раздела III документа "Сведения о контракте (его изменении)" целого числа или дробного числа в формате (0.00);

указание в строке "Итого" графы 7 раздела III документа "Сведения о контракте (его изменении)" целого числа или дробного числа в формате (0.00);

равенство числа в строке "Итого" графы 7 и суммы чисел в графе 7 раздела III документа "Сведения о контракте (его изменении)";

равенство числа в строке "Итого" графы 7 раздела III документа "Сведения о контракте (его изменении)" и числа в кодовой зоне строки "Цена контракта в рублях" заголовочной части документа "Сведения о контракте (его изменении)";

указание в графе 1 раздела IV документа "Сведения о контракте (его изменении)" целого числа;

указание в графе 2 раздела IV документа "Сведения о контракте (его изменении)" текста;

указание в графе 3 раздела IV документа "Сведения о контракте (его изменении)" краткого или полного наименования страны на русском языке заглавными или строчными буквами в соответствии с Общероссийским классификатором стран мира;

указание в графе 4 раздела IV документа "Сведения о контракте (его изменении)" цифрового кода страны в соответствии с Общероссийским классификатором стран мира;

соответствие графы 3 и графы 4 раздела IV документа "Сведения о контракте (его изменении)";

указание в графе 5 раздела IV документа "Сведения о контракте (его изменении)" текста;

указание в графе 6 раздела IV документа "Сведения о контракте (его изменении)" целого числа;

указание в графе 7 раздела IV документа "Сведения о контракте (его изменении)" целого числа или незаполнение графы 7 раздела IV документа "Сведения о контракте (его изменении)";

указание в графе 8 раздела IV документа "Сведения о контракте (его изменении)" числа 1, 2 или 3 или незаполнение графы 8 раздела IV документа "Сведения о контракте (его изменении)";

указание в строке "Руководитель" документа "Сведения о контракте (его изменении)" текста;

указание даты подписания документа "Сведения о контракте (его изменении)" не ранее даты, указанной в заголовочной части документа "Сведения о контракте (его изменении)".

Приложение N 3
к Административному регламенту
Федерального казначейства
по исполнению государственной
функции по ведению реестра
государственных контрактов,
заключенных от имени
Российской Федерации
по итогам размещения заказов

УСЛОВИЯ ВЫПОЛНЕНИЯ АВТОМАТИЗИРОВАННОЙ ПРОВЕРКИ ПОКАЗАТЕЛЕЙ ДОКУМЕНТА "СВЕДЕНИЯ ОБ ИСПОЛНЕНИИ (О ПРЕКРАЩЕНИИ ДЕЙСТВИЯ) ГОСУДАРСТВЕННОГО ИЛИ МУНИЦИПАЛЬНОГО КОНТРАКТА"

Указание даты заполнения в заголовочной части документа "Сведения об исполнении (о прекращении действия) контракта" в текстовом формате в виде цифрового двузначного числа месяца, буквенного названия месяца на русском языке заглавными или строчными буквами и цифрового четырехзначного числа года;

указание даты заполнения в заголовочной части документа "Сведения об исполнении (о прекращении действия) контракта" в кодовой зоне в формате "день, месяц, год" (00.00.0000, например, 28.10.2006);

соответствие даты заполнения в заголовочной части документа "Сведения об исполнении (о прекращении действия) контракта" в текстовом формате и в кодовой зоне;

непревышение даты заполнения в заголовочной части документа "Сведения об исполнении (о прекращении действия) контракта" даты текущего рабочего дня;

соответствие наименования государственного заказчика в строке "Наименование заказчика" в заголовочной части документа "Сведения об исполнении (о прекращении действия) контракта" полному наименованию государственного заказчика в Сводном реестре главных распорядителей, распорядителей и получателей средств федерального бюджета в случае открытия государственному заказчику в Федеральном казначействе или УФК (ОФК) лицевого счета получателя (иного получателя) средств федерального бюджета, или, если государственным заказчиком является иной получатель за пределами Российской Федерации, орган управления государственным внебюджетным фондом Российской Федерации, а также находящееся в его ведении учреждение или организация - полному наименованию государственного заказчика, указанному в представленной государственным заказчиком в УФК (ОФК) карточке образцов подписей;

соответствие кода в кодовой зоне строки "Наименование заказчика" заголовочной части документа "Сведения об исполнении (о прекращении действия) контракта" коду, присвоенному государственному заказчику в Сводном реестре главных распорядителей, распорядителей и получателей в случае открытия государственному заказчику лицевого счета получателя (иного получателя) средств федерального бюджета или, если государственным заказчиком является иной получатель за пределами Российской Федерации, орган управления государственным внебюджетным фондом Российской Федерации, а также находящееся в его ведении учреждение или организация, - идентификационному коду заказчика, присвоенному УФК (ОФК) самостоятельно при первом обращении государственного заказчика в УФК (ОФК);

соответствие идентификационного номера налогоплательщика государственного заказчика в кодовой зоне строки "ИНН" заголовочной части документа "Сведения об исполнении (о прекращении действия) контракта" идентификационному номеру налогоплательщика государственного заказчика в справочнике корреспондентов УФК (ОФК), заполненном на основании представленного государственным заказчиком в УФК (ОФК) для открытия лицевого счета получателя средств федерального бюджета свидетельства о постановке на учет в налоговом органе, а в случае отсутствия у государственного заказчика лицевого счета получателя средств федерального бюджета представленной государственным заказчиком в УФК (ОФК) карточки образцов подписей;

соответствие кода причины постановки на учет в налоговом органе государственного заказчика в кодовой зоне строки "КПП" заголовочной части документа "Сведения об исполнении (о прекращении действия) контракта" коду причины постановки на учет в налоговом органе государственного заказчика в справочнике корреспондентов УФК (ОФК), заполненном на основании представленного государственным заказчиком в УФК (ОФК) карточки образцов подписей;

указание в кодовой зоне строки "Дата заключения контракта" заголовочной части документа "Сведения об исполнении (о прекращении действия) контракта" даты в формате "день, месяц, год" (00.00.0000);

непревышение даты в кодовой зоне строки "Дата заключения контракта" заголовочной части документа "Сведения об исполнении (о прекращении действия) контракта" даты заполнения в заголовочной части документа "Сведения об исполнении (о прекращении действия) контракта" в кодовой зоне;

указание в кодовой зоне строки "Номер контракта" заголовочной части документа "Сведения об исполнении (о прекращении действия) контракта" текста;

наличие в информационной системе соответствующего в части номера реестровой записи документа "Сведения о контракте (его изменении)";

указание в графе 1 раздела I документа "Сведения об исполнении (о прекращении действия) контракта" даты в формате "день, месяц, год" (00.00.0000);

непревышение даты в графе 1 раздела I документа "Сведения об исполнении (о прекращении действия) контракта" даты заполнения в заголовочной части документа "Сведения об исполнении (о прекращении действия) контракта" в кодовой зоне;

указание в графе 1 раздела II документа "Сведения об исполнении (о прекращении действия) контракта" целого числа или дробного числа в формате (0.00);

указание в графе 2 раздела II документа "Сведения об исполнении (о прекращении действия)" даты в формате "день, месяц, год" (00.00.0000) или незаполнение указанной графы;

непревышение даты в графе 2 раздела II документа "Сведения об исполнении (о прекращении действия) контракта" даты заполнения в заголовочной части документа "Сведения об исполнении (о прекращении действия) контракта" в кодовой зоне;

указание в графе 3 раздела II документа "Сведения об исполнении (о прекращении действия)" текста;

указание показателей или в разделе I или в разделе II документа "Сведения об исполнении (о прекращении действия) контракта" (одновременное заполнение раздела I и раздела II не допускается);

указание в строке "Руководитель" документа "Сведения об исполнении (о прекращении действия) контракта" текста;

указание даты подписания документа "Сведения об исполнении (о прекращении действия) контракта" не ранее даты, указанной в заголовочной части документа "Сведения об исполнении (о прекращении действия) контракта".

Приложение N 4
к Административному регламенту
Федерального казначейства
по исполнению государственной
функции по ведению реестра
государственных контрактов,
заключенных от имени
Российской Федерации
по итогам размещения заказов

ОБРАЗЕЦ

ИЗВЕЩЕНИЕ О РЕГИСТРАЦИИ В ОРГАНЕ ФЕДЕРАЛЬНОГО КАЗНАЧЕЙСТВА СВЕДЕНИЙ О ГОСУДАРСТВЕННОМ КОНТРАКТЕ, ЗАКЛЮЧЕННОМ ОТ ИМЕНИ РОССИЙСКОЙ ФЕДЕРАЦИИ ПО ИТОГАМ РАЗМЕЩЕНИЯ ЗАКАЗОВ

от "__" __________ 200_ г.

    Коды
Наименование заказчика   Дата  
Наименование органа
Федерального казначейства
  по РПБС  

Дата сведений о контракте "__" _________ ____

Дата заключения контракта "__" _________ ____

Дата исполнения (прекращения действия) контракта "__" _______ ____

Номер контракта ______________________

Цена контракта ___________________ рублей

Номер реестровой записи ____________________________

Дата регистрации сведений о заключении (изменении, исполнении, прекращении действия) государственного контракта "__" _______ ____

Номер изменения ___________________

Ответственный исполнитель          
  (подпись)   (расшифровка подписи)   (телефон)
           
      от "__" ___________ 200_ г.

Приложение N 5
к Административному регламенту
Федерального казначейства
по исполнению государственной
функции по ведению реестра
государственных контрактов,
заключенных от имени
Российской Федерации
по итогам размещения заказов

ОБРАЗЕЦ

УВЕДОМЛЕНИЕ О ВОЗВРАТЕ ОРГАНОМ ФЕДЕРАЛЬНОГО КАЗНАЧЕЙСТВА СВЕДЕНИЙ О ГОСУДАРСТВЕННОМ КОНТРАКТЕ (ЕГО ИЗМЕНЕНИИ, ИСПОЛНЕНИИ, ПРЕКРАЩЕНИИ ДЕЙСТВИЯ), ЗАКЛЮЧЕННОГО ОТ ИМЕНИ РОССИЙСКОЙ ФЕДЕРАЦИИ ПО ИТОГАМ РАЗМЕЩЕНИЯ ЗАКАЗА

от "__" ___________ 200_ г.

    Коды
Наименование заказчика   Дата  
Наименование органа
Федерального казначейства
  по РПБС  

Дата сведений о контракте "__" _________ ____

Дата заключения контракта "__" _________ ____

Номер контракта ______________________

Номер реестровой записи (при его наличии) ________________________

N п/п Причина возврата
   
   
   
Начальник отдела          
  (подпись)   (расшифровка подписи)   (телефон)
           
      от "__" ___________ 200_ г.
           
Ответственный исполнитель          
  (подпись)   (расшифровка подписи)   (телефон)
           
      от "__" ___________ 200_ г.

Приложение N 6
к Административному регламенту
Федерального казначейства
по исполнению государственной
функции по ведению реестра
государственных контрактов,
заключенных от имени
Российской Федерации
по итогам размещения заказов

ОБРАЗЕЦ

ВЫПИСКА ИЗ РЕЕСТРА КОНТРАКТОВ ПО РОССИЙСКОЙ ФЕДЕРАЦИИ

Номер реестровой записи Номер изменения Дата последнего изменения записи Заказчик Источник финансирования контракта Способ размещения заказа Номер извещения о проведении торгов Дата проведения аукциона (подведения итогов конкурса, или итогов запроса котировок, или итогов торгов на товарной бирже) Реквизиты документа, подтверждающего основание заключения контракта Контракт
наименование ИНН КПП дата номер
1 2 3 4 5 6 7 8 9 10 11 12 13
                         
Предмет контракта Информация о поставщиках (исполнителях, подрядчиках) по контракту
наименование товаров, работ, услуг код продукции по ОКП единица измерения по ОКЕИ цена за единицу, рублей количество сумма, рублей наименование юридического лица (ф.и.о. физического лица) место нахождения (место жительства) ИНН КПП статус телефон (факс)
14 15 16 17 18 19 20 21 22 23 24 25
                       
Дата исполнения контракта Прекращение действия контракта
по контракту фактически фактически оплачено заказчиком, рублей дата основание и причина
26 27 28 29 30
         

Приложение N 7
к Административному регламенту
Федерального казначейства
по исполнению государственной
функции по ведению реестра
государственных контрактов,
заключенных от имени
Российской Федерации
по итогам размещения заказов

БЛОК-СХЕМА ПОСЛЕДОВАТЕЛЬНОСТИ ДЕЙСТВИЙ ПРИ ИСПОЛНЕНИИ ГОСУДАРСТВЕННОЙ ФУНКЦИИ ПО ВЕДЕНИЮ РЕЕСТРА КОНТРАКТОВ (СВЕДЕНИЯ О КОНТРАКТЕ ПРЕДСТАВЛЯЮТСЯ ПРЕДСТАВИТЕЛЕМ ГОСУДАРСТВЕННОГО ЗАКАЗЧИКА НАРОЧНО В ОФК)

Приложение N 8
к Административному регламенту
Федерального казначейства
по исполнению государственной
функции по ведению реестра
государственных контрактов,
заключенных от имени
Российской Федерации
по итогам размещения заказов

БЛОК-СХЕМА ПОСЛЕДОВАТЕЛЬНОСТИ ДЕЙСТВИЙ ПРИ ИСПОЛНЕНИИ ГОСУДАРСТВЕННОЙ ФУНКЦИИ ПО ВЕДЕНИЮ РЕЕСТРА КОНТРАКТОВ (СВЕДЕНИЯ О КОНТРАКТЕ ПРЕДСТАВЛЯЮТСЯ ПРЕДСТАВИТЕЛЕМ ГОСУДАРСТВЕННОГО ЗАКАЗЧИКА НАРОЧНО В УФК)

Приложение N 9
к Административному регламенту
Федерального казначейства
по исполнению государственной
функции по ведению реестра
государственных контрактов,
заключенных от имени
Российской Федерации
по итогам размещения заказов

БЛОК-СХЕМА ПОСЛЕДОВАТЕЛЬНОСТИ ДЕЙСТВИЙ ПРИ ИСПОЛНЕНИИ ГОСУДАРСТВЕННОЙ ФУНКЦИИ ПО ВЕДЕНИЮ РЕЕСТРА КОНТРАКТОВ (СВЕДЕНИЯ О КОНТРАКТЕ НАПРАВЛЯЮТСЯ ГОСУДАРСТВЕННЫМ ЗАКАЗЧИКОМ ПО ПОЧТЕ В ОФК)

Приложение N 10
к Административному регламенту
Федерального казначейства
по исполнению государственной
функции по ведению реестра
государственных контрактов,
заключенных от имени
Российской Федерации
по итогам размещения заказов

БЛОК-СХЕМА ПОСЛЕДОВАТЕЛЬНОСТИ ДЕЙСТВИЙ ПРИ ИСПОЛНЕНИИ ГОСУДАРСТВЕННОЙ ФУНКЦИИ ПО ВЕДЕНИЮ РЕЕСТРА КОНТРАКТОВ (СВЕДЕНИЯ О КОНТРАКТЕ НАПРАВЛЯЮТСЯ ГОСУДАРСТВЕННЫМ ЗАКАЗЧИКОМ ПО ПОЧТЕ В УФК)

Приложение N 11
к Административному регламенту
Федерального казначейства
по исполнению государственной
функции по ведению реестра
государственных контрактов,
заключенных от имени
Российской Федерации
по итогам размещения заказов

БЛОК-СХЕМА ПОСЛЕДОВАТЕЛЬНОСТИ ДЕЙСТВИЙ ПРИ ИСПОЛНЕНИИ ГОСУДАРСТВЕННОЙ ФУНКЦИИ ПО ВЕДЕНИЮ РЕЕСТРА КОНТРАКТОВ (СВЕДЕНИЯ О КОНТРАКТЕ ПРЕДСТАВЛЯЮТСЯ ГОСУДАРСТВЕННЫМ ЗАКАЗЧИКОМ ЧЕРЕЗ СЭД В ЭЛЕКТРОННОМ ВИДЕ В ОФК)

Приложение N 12
к Административному регламенту
Федерального казначейства
по исполнению государственной
функции по ведению реестра
государственных контрактов,
заключенных от имени
Российской Федерации
по итогам размещения заказов

БЛОК-СХЕМА ПОСЛЕДОВАТЕЛЬНОСТИ ДЕЙСТВИЙ ПРИ ИСПОЛНЕНИИ ГОСУДАРСТВЕННОЙ ФУНКЦИИ ПО ВЕДЕНИЮ РЕЕСТРА КОНТРАКТОВ (СВЕДЕНИЯ О КОНТРАКТЕ ПРЕДСТАВЛЯЮТСЯ ГОСУДАРСТВЕННЫМ ЗАКАЗЧИКОМ ЧЕРЕЗ СЭД В ЭЛЕКТРОННОМ ВИДЕ В УФК)